Switch inductor generators for special vehicles
- Authors: Ryabykh E.A.1, Maleev R.A.1, Akimov A.V.1
-
Affiliations:
- Moscow Polytechnic University
- Issue: Vol 17, No 3 (2023)
- Pages: 287-294
- Section: Electrotechnical facilities and systems
- URL: https://journals.eco-vector.com/2074-0530/article/view/340855
- DOI: https://doi.org/10.17816/2074-0530-340855
- ID: 340855
Cite item
Abstract
BACKGROUND: This paper discusses switch inductor generators for special vehicles. A generator is the main source of current that provides consumers with power in all operating modes of the engine, as well as charges an electrical battery. The main requirements that are imposed on generators are defined, such as high reliability and durability, corresponding to the service life of an internal combustion engine, as well as manufacturability, low cost and simple maintenance. It is shown that these requirements are most satisfied by switch inductor generators.
AIMS: Study of switch inductor generators in order to determine their main characteristics and parameters.
METHODS: The calculation of the idling characteristic is based on the circuit equivalent to the magnetic circuit of the inductor machine. The Blondel diagram is used to calculate the current-velocity characteristic.
RESULTS: A review and analysis of switch inductor generators of various design has been carried out. In recent years, anisotropic magnets have been used to increase the power of the generator and reduce its dimensions and weight, which, basically, are mortised to a rotor. The main characteristics and parameters of inductor generators are considered. A characteristic feature of an inductor machine, in comparison with conventional synchronous alternating current machines, is that there is a decrease in the electromotive force generated by the generator at high degrees of saturation, therefore, in inductor machines, the saturation level should be lower than in conventional synchronous ones.
CONCLUSIONS: In this paper, a switch inductor generator with a nominal voltage of 14 V and a maximal recoil current of 72 A was calculated according to a well-known method. As a result of the calculation, the main design parameters of the machine were determined, the calculation of the magnetic circuit of the electric machine was carried out and on the basis of which the idling characteristic was constructed. The calculation of the current-velocity characteristic was carried out using the Blondel diagram.
Full Text
ВВЕДЕНИЕ
К современным автомобилям предъявляются жёсткие требования по обеспечению высокой надёжности всех компонентов электрического и электронного оборудования, в том числе, систем электроснабжения. Системы электроснабжения должны обеспечивать высокое качество электрической энергии и бесперебойное питание всех электрических потребителей, в том числе АБ, при любых режимах работы ДВС и движения транспортного средства (ТС).
В любом современном ТС имеется достаточно большое количество различных электрических и электронных систем, а также приборов и агрегатов, находящихся в сложной взаимосвязи между собой. Системы электрического и электронного оборудования должны обеспечивать надёжное функционирование всех систем ТС, автоматизацию рабочих процессов ДВС и автомобиля в целом, безопасность движения, а также комфортабельные условия для водителя и его пассажиров.
Для нормального функционирования ТС в комплекс электрического и электронного оборудования должны обязательно входить следующие системы:
- система пуска двигателя внутреннего сгорания;
- системы электроснабжения;
- система зажигания (для бензиновых двигателей внутреннего сгорания);
- система управления двигателем;
- системы управления трансмиссией и ходовой частью;
- система освещения;
- системы контрольно-измерительного оборудования;
- система бортовой диагностики;
- система комфорта;
- система вспомогательного электрооборудования;
- система активной и пассивной безопасности;
- электропроводка, включая can-шины.
Система пуска ДВС включает в себя АБ, электростартер, реле блокировки стартера, средства облегчения пуска. Система электроснабжения состоит из: генератора, регулятора напряжения и АБ. Основным назначением системы зажигания является воспламенение рабочей смеси в цилиндрах двигателя в соответствии с порядком работы цилиндров, обеспечивая при этом оптимальный угол опережения зажигания и требуемую энергию искры.
Количество потребителей электроэнергии, а также их мощность постоянно увеличивается на современных ТС, так как к ним предъявляются все более жёсткие требования по повышению надёжности, безопасности движения и повышению комфортабельности ТС. Кроме того, на современных ТС происходит постоянное увеличение количества разнообразных электрических и электронных изделий, количество которых постоянно растёт практически в геометрической прогрессии. Поэтому происходит постоянный рост мощности генераторных установок.
На ТС в генераторных установках применяются различные электрические машины. В первоначальный период машиностроения основное применение находили генераторы постоянного тока, которые имели большое количество недостатков: наличие щеточно-коллекторного узла, низкую надёжность, необходимость ухода в эксплуатации, а также невозможность обеспечения высокой мощности вследствие ограничений щеточно-коллекторного узла. Поэтому на смену генераторам постоянного тока пришли генераторы переменного тока — вентильные синхронные генераторы с клювообразным ротором и контактно-щёточным узлом. Однако, наличие контактно-щёточного узла снижает надёжность машины и требует ухода при эксплуатации. В последние годы большое внимание уделяется бесконтактным электрическим машинам, которые имеют достаточно высокий срок службы и не требуют ухода в процессе эксплуатации. Широкое применение находят вентильно-индукторные машины, в частности, индукторные генераторы, ввиду простоты их конструкции и высокой надёжности.
ЦЕЛЬ РАБОТЫ
Цель работы — исследование вентильных индукторных генераторов с целью определения их основных характеристик и параметров.
МЕТОДЫ И СРЕДСТВА ПРОВЕДЕНИЯ ИССЛЕДОВАНИЙ
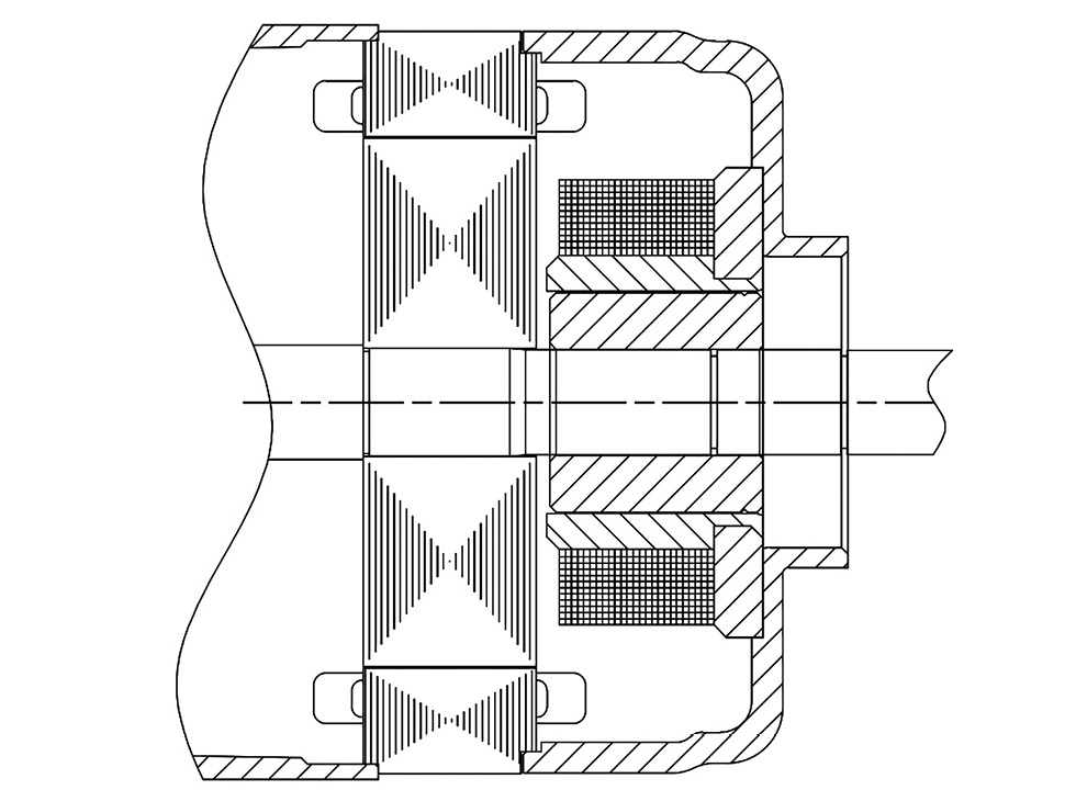
Любая индукторная машина представляет собой синхронный генератор переменного тока с электромагнитным или магнитным возбуждением. Рассмотрим индукторный генератор с односторонним электромагнитным возбуждением, представленным на рис. 1 [1].
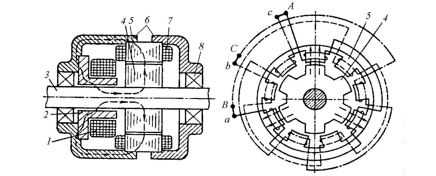
Рис. 1. Конструктивная схема генератора индукторного типа: 1 — обмотка возбуждения; 2 — магнитная система индуктора (втулка с фланцем); 3 — вал; 4 — ротор; 5 — статор; 6 — крышки; 7 — обмотка статора; 8 — подшипник.
Fig. 1. Design scheme of an inductor–type generator: 1 — an excitation winding; 2 — a magnetic inductor system (a bushing with flange); 3 — a shaft; 4 — s rotor; 5 — a stator; 6 — covers; 7 — a stator winding; 8 — a bearing.
Конструктивно генератор состоит из следующих основных узлов: ротор, статор, передняя крышка и задняя крышка. Ротор представляет собой стальной вал — 4, на котором напрессован шихтованный пакет из пластин электротехнической стали выполненный в виде 6-ти лучевой звёздочки. Статор состоит из железа статора — 5 и обмотки якоря. Железо статора представляет собой шихтованный пакет электротехнической стали, выполненный в виде 9-ти лучевой звёздочки. На каждый зубец статора надевается катушка якорной обмотки, выполненной из круглого медного эмалированного провода. Индуктор электрической машины или системы возбуждения представляет собой обмотку возбуждения — 1, намотанную на пластмассовый каркас, который установлен на стальную втулку с фланцем, закреплённую на задней крышке машины. Характерной особенностью машины является то, что задняя крышка выполняется из магнитопроводящего материала – низколегированной стали [2].
При протекании тока по обмотке возбуждения возникает магнитный поток, который проходит через втулку с фланцем, вал, пластины железа ротора, пластины железа статора и заднюю крышку машины. При вращении ротора к каждому зубцу статора подходит зубец или впадина ротора, что приводит к возникновению пульсирующего магнитного потока через зубцы статора, в результате чего в обмотке статора наводится переменная ЭДС.
На рис. 1 представлена конструкция индукторного генератора с односторонним электромагнитным возбуждением.
Наибольшее распространение получили трёхфазные электрические машины, в которых наводимая ЭДС, а, следовательно, и напряжение сдвинуты относительно друг друга на электрический угол 120° (рис. 2). Каждая фаза обозначается большими латинскими буквами A, B, C, а выводы обмоток маленькими латинскими буквами a, b, c (рис. 2). Фазные обмотки расположены на различных зубцах статора [3].
Рис. 2. Изменение трёхфазного напряжения по времени.
Fig. 2. Time-domain three-phase voltage change.
При соединении фазных обмоток в звезду начало обмоток выводится в цепь нагрузки, а концы всех фаз соединяют в общий узел, который называется нулём и который может выводится отдельно. В большинстве случаев индукторные машины работают в цепях постоянного напряжения, поэтому переменное напряжение, наводимое в фазах необходимо выпрямлять. Таким образом, выводы всех обмоток соединяются с выпрямителем, в качестве которых, как правило, применяются трёхфазные двухполпериодные схемы выпрямления. При соединении фазных обмоток в треугольник вывод каждой фазы соединяется с началом другой фазы, вывод которой соединяется с началом следующей фазы. Точки соединения фаз соединяются с выпрямителем, также выполненном в виде трёхфазной двухполупериодной схемы [4].
На рис. 2 представлен процесс изменения напряжения от времени.
В зависимости от соединения фазных обмоток в звезду или треугольник, меняется соотношение между линейными и фазными как напряжениями, так и токами. При соединении фаз в звезду, линейное напряжение Uл будет больше фазного напряжения в , чем фазное напряжение Uф, а линейный ток Iл будет равен фазному току Iф, поэтому соединение в треугольник применяется в тех случаях, когда необходимо увеличить напряжение генератора [1, 2, 4].
Важнейшими характеристиками электрической машины являются: характеристика холостого хода (рис. 3) и токоскоростная характеристика (рис. 4). Характеристика холостого хода определяется зависимостью ЭДС Еd вырабатываемой генератором от тока возбуждения Iв, при постоянной частоте вращения и отсутствия тока нагрузки [5].
Рис. 3. Характеристика холостого хода индукторного генератора.
Fig. 3. Idling characteristics of an inductor generator.
Рис. 4. Токоскоростная характеристика индукторного генератора.
Fig. 4. Current-velocity characteristic of an inductor generator.
При относительно небольших токах возбуждения наблюдается линейная зависимость между током возбуждения Iв и ЭДС Еd, так как с ростом тока возбуждения растёт и магнитный поток возбуждения. При относительно высоких токах возбуждения наступает насыщение магнитной системы вследствие увеличения магнитного сопротивления стальных участках магнитопровода из-за снижения магнитной проницаемости (кривая 1). При достаточно больших степенях насыщения магнитной системы происходит снижение магнитного потока и уменьшение ЭДС вследствие значительного насыщения зубцов статора и ротора (кривая 2) [6].
Основной выходной характеристикой генератора, является токоскоростная характеристика (рис. 4), которая представляет собой зависимость тока отдаваемого генератора Id от частоты вращения ротора n при максимальном токе возбуждения Iв max и номинальном напряжения генератора Uном. Фактически, токоскоростная характеристика показывает максимальные возможности генератора по отдачи тока потребителям. При каждой частоте вращения генератор не может отдать ток большей величины, чем соответствующей данной токоскоростной характеристике. В случае, если будут включены дополнительные потребители электроэнергии, то напряжение генератора станет ниже номинального, а при включении меньшего количества потребителей электроэнергии начинает работать регулятор напряжения, который автоматически снижает ток возбуждения, обеспечивая тем самым постоянство напряжения [2, 3].
На графике токоскоростной характеристики можно выделить несколько характерных точек. Частота начала отдачи n0 — частота вращения генератора, при которой он вырабатывает номинальное напряжение. Следующей характерной точкой является расчётный режим, который определяется путём проведения касательной из начала координат к токоскоростной характеристике, в этой точке генератор отдаёт расчётный ток Udр, при частоте вращения nр. Проведённое исследование показывает, что при этом режиме работы генератор развивает максимальный электромагнитный момент. В соответствии с теорией электрических машин (формула Арнольда) размеры электрической машины зависят именно от максимального электромагнитного момента. Кроме того, при этом режиме работы происходит максимальный нагрев обмоток статора генератора. Третьей характерной точкой токоскоростной характеристики, является режим максимальной частоты вращения nmax, при котором генератор отдаёт максимальный ток Idmax [2].
На рис. 5, а, b представлены регулировочные характеристики, с помощью которых определяются параметры регулятора напряжения. Рис. 5, а представляет собой рабочие характеристики системы электроснабжения в зависимости от частоты вращения ротора. Для обеспечения постоянства напряжения генератора, регулятор напряжения должен автоматически уменьшать ток возбуждения. На рис. 5, b представлена зависимость тока возбуждения Iв от тока нагрузки I. Чем выше ток нагрузки генератора, тем должен быть больше ток возбуждения генератора, чтобы компенсировать падение напряжения в якоре и реакцию якоря, для обеспечения постоянства напряжения генератора. Регулятор напряжения обеспечивает постоянство напряжения генератора, при изменении частоты вращения от начала отдачи nо до максимальной частоты вращения nmax и при изменении тока нагрузки от нуля до максимального значения [4].
Рис. 5. Графики зависимостей регулировочных характеристик: a — частоты вращения; b — тока возбуждения.
Fig. 5. Graphs of the dependencies of the adjustment characteristics: a — rotational velocity; b — excitation current.
Образование электромагнитного потока в индукторной машине основано на взаимодействии полей якоря и возбуждения, связанных благодаря модуляции магнитной проводимости воздушного зазора. Эта модуляция обеспечивается тем, что зубцовые зоны выполнятся с открытыми пазами [1].
Необходимый для взаимодействия постоянной и переменной составляющих тока вид модуляции (число максимумов проводимости, определяемых совпадением осей зубцов статора и ротора) зависит от соотношения чисел зубцов — их кратности υ. Для того чтобы уравновесить силы одностороннего магнитного притяжения в районе максимума проводимости, число этих максимумов должно быть не менее двух [6].
В данной работе был проведён расчёт вентильного-индукторного генератора с номинальным напряжением 14 В, максимальным током отдачи 72А по известной методике [5]. В результате расчёта были определены основные конструктивные параметры машины, которые представлены в таблице 1.
Таблица 1. Основные конструктивные параметры индукторного генератора
Table 1. Main design parameters of the inductor generator
Диаметр расточки статора Da, мм | 86 | Длина пакета статора la, мм | 28 | Число фаз, m | 3 | Число зубцов статора, Z1 | 9 | Число зубцов ротора, Z2 | 6 |
Ширина зубца статора bz1, мм | 13,2 | Ширина зубца ротора bz2, мм | 13,2 | Высота зубца статора hz1, мм | 11 | Высота зубца ротора hz2, мм | 14 | Ширина катушки обмотки статора bk, мм | 8 |
Часть высоты зубца статора под катушкой обмотки h1, мм | 8 | Часть высоты зубца статора свободной от катушки h2, мм | 3 | Ширина паза статора по расточке bn1’, мм | 16,8 | Ширина паза статора по спинке bn1’’, мм | 31,6 | Воздушный зазор между зубцами статора и пазами ротора bm, мм | 16 |
Высота магнита hm, мм | 11 | Длина магнита lm, мм | 25 | Число витков фазной обмотки Wф | 60 | Число витков обмотки возбуждения W0в | 510 | Ширина катушки возбуждения lk, мм | 29 |
Магнитная цепь индукторного генератора представлена на рис. 6, на основе которой была рассчитана и построена характеристика холостого хода (рис. 7).
Рис. 6. Продольный разрез магнитной цепи индукторного генератора.
Fig. 6. Longitudinal section of the magnetic circuit of the inductor generator.
Рис. 7. Характеристика холостого хода с учетом всего спектра гармонических составляющих.
Fig. 7. Idling characteristic that considers the entire spectrum of harmonic components.
Расчёт токоскоростной характеристики проводился с использованием диаграммы Блонделя (рис. 8).
Рис. 8. Векторная диаграмма индукторного вентильного генератора.
Fig. 8. Vector diagram of a switch inductor generator.
Результаты расчётов представлены на рис. 9.
Рис. 9. Токоскоростная характеристика индукторного генератора.
Fig. 9. Current-velocity characteristic of the inductor generator.
ЗАКЛЮЧЕНИЕ
Определена основная функция генератора, которая является основным источником тока, обеспечивающим питание потребителей на всех режимах работы двигателя, а также зарядку АБ. Определены основные требования, которые предъявляются к генераторам такие как, высокая надёжность и долговечность, которые должны соответствовать сроку службы ДВС, а также технологичность, невысокая себестоимость и простое техническое обслуживание.
Был проведён расчёт вентильного-индукторного генератора с номинальным напряжением 14 В, максимальным током отдачи 72А по известной методике. В результате расчёта были определены основные конструктивные параметры машины. Проведён расчёт магнитной цепи электрической машины и на основе которого построена характеристика холостого хода. Расчёт токоскоростной характеристики проводился с использованием диаграммы Блонделя.
ДОПОЛНИТЕЛЬНО
Вклад авторов. Е.А. Рябых — поиск публикаций по теме статьи, написание текста рукописи, редактирование текста рукописи, создание изображений; Р.А. Малеев — экспертная оценка, утверждение финальной версии; А.В. Акимов — поиск публикаций по теме статьи. Авторы подтверждают соответствие своего авторства международным критериям ICMJE (все авторы внесли существенный вклад в разработку концепции, проведение исследования и подготовку статьи, прочли и одобрили финальную версию перед публикацией).
Конфликт интересов. Авторы декларируют отсутствие явных и потенциальных конфликтов интересов, связанных с публикацией настоящей статьи.
Источник финансирования. Авторы заявляют об отсутствии внешнего финансирования при проведении исследования.
ADDITIONAL INFORMATION
Authors’ contribution. E.A. Ryabykh — search for publications on the topic of the article, writing the text of the manuscript, editing the text of the manuscript, creating images; R.A. Maleev — expert evaluation, approval of the final version; A.V. Akimov — search for publications on the topic of the article. The authors attest that they meet the ICMJE international criteria for authorship (all authors made substantial contributions to the conceptualization, research, and preparation of the article, and read and ap-proved the final version before publication).
Competing interests. The authors declare that they have no competing interests.
Funding source. This study was not supported by any external sources of funding.
About the authors
Evgeniy A. Ryabykh
Moscow Polytechnic University
Author for correspondence.
Email: fczl98@bk.ru
ORCID iD: 0000-0001-7112-1019
SPIN-code: 4843-6000
Postgraduate of the Electrical Equipment and Industrial Electronics Department
Russian Federation, MoscowRuslan A. Maleev
Moscow Polytechnic University
Email: 19rusmal@gmail.com
ORCID iD: 0000-0003-3430-6406
SPIN-code: 7801-3294
Associate Professor, Cand. Sci. (Tech.), Professor of the Electrical Equipment and Industrial Electronics Department
Russian Federation, MoscowAndrey V. Akimov
Moscow Polytechnic University
Email: a.akimov5@mail.ru
ORCID iD: 0009-0002-6010-8817
SPIN-code: 8238-8598
Associate Professor, Cand. Sci. (Tech.), Associate Professor of the Electrical Equipment and Industrial Electronics Department
Russian Federation, MoscowReferences
- Akimov SV, Chizhkov YuP. Electrical equipment of cars: a textbook for universities. Moscow: ZAO KZhI “Za rulem”; 2001. (In Russ).
- Afanasyev AA, Efimov VV. Numerical and analytical model of an inductor electric generator with combined excitation. Trudy Akademii elektrotekhnicheskikh nauk Chuvashskoy Respubliki. 2002;2:54–62. (In Russ).
- Balagurov VA, Galteev FF. Electric generators with permanent magnets. Moscow: Energoatomizdat; 1988. (In Russ).
- Afanasyev AA. Analytical calculation of a magnetoelectric brushless motor. Vestnik Chuvashskogo universiteta. 2020;1:26–39. (In Russ).
- Akimov SV, Kopylova LV. Calculation of output characteristics of auto-tractor inductor generators: tutorial. Moscow: MAMI; 1987. (In Russ).
- Zubkov YuV, Chebotkov EG. Identification of parameters of a synchronous generator with excitation from permanent magnets using the method of numerical simulation of the magnetic field. Vestnik SamGTU. Tekhnicheskie nauki. 2015;3(47):136–141. (In Russ).
Supplementary files












