On the issue of contactless alternators on movable objects
- Authors: Ryabykh E.A.1, Maleev R.A.1, Akimov A.V.1
-
Affiliations:
- Moscow Polytechnic University
- Issue: Vol 18, No 1 (2024)
- Pages: 53-62
- Section: Electrotechnical facilities and systems
- URL: https://journals.eco-vector.com/2074-0530/article/view/625880
- DOI: https://doi.org/10.17816/2074-0530-625880
- ID: 625880
Cite item
Abstract
BACKGROUND: This article discusses automotive inductor alternators of domestic and foreign production with different power and design. A comparative analysis of inductor alternators according to the main electromagnetic parameters and design is carried out. Based on the results of the comparative analysis, conclusions are drawn about the competitiveness of domestic inductor alternators and their superiority over foreign analogues.
AIM: Research and comparative analysis of tractor inductor alternators in order to determine the optimal design, as well as the main characteristics and parameters.
METHODS: The calculation of the magnetic circuit and the idling characteristic is based on the method of successive approximations using iterations. A well-known method with the Blondel diagram is used to calculate the current-speed curve.
RESULTS: A review and comparative analysis of automotive inductor alternators of domestic and foreign production, with various magnetic systems and design, is carried out. The advantages and disadvantages of the magnetic circuit of inductor alternators of both domestic and foreign production are determined and given in comparative tables and current-speed curves. The optimal design of the inductor alternator with the most effective technical and economic indicators was chosen to perform the calculation.
CONCLUSIONS: The calculation of the magnetic circuit and idling characteristics of the 11.3701 three-phase single-pole, single-pack inductor generator with a classical toothed zone and a two-half-period rectifier is carried out. The calculation of the current-velocity curve was performed using the well-known method with the Blondel diagram and the method of successive approximations using iterations.
Full Text
INTRODUCTION
Permanent magnet generators offer several advantages, including technological simplicity, low losses, and savings on winding copper. These generators do not require a separate power supply. However, their disadvantages include the complexity of voltage regulation at variable rotational speeds and loads.
To enhance the reliability and durability of tractor electrical equipment from 2000–3000 operating hours to 4000–5000 operating hours, three approaches were considered: developing new DC generators, using alternating current generators with permanent magnets, and employing generators with electromagnetic excitation [1].
Initial attempts to develop generators with permanent magnets (such as GT1A; 573.00017, etc.) failed to meet the layout and electrical requirements for advanced tractor generators. Therefore, a solution was found by creating a brushless generator with electromagnetic excitation, which increased reliability and durability. Consequently, the generator durability mainly depended on the bearing assembly. The goal was to design a generator that was efficient, simple, and technologically advanced [2].
Brushless generators with electromagnetic excitation can feature either a winding on the rotor, known as a generator with a rotating rectifier, or nor rotor winding at all. The latter type is reliable and cost-effective, encompassing alternators and inductors.
In alternators, induction at each stator point varies in magnitude and direction, resembling synchronous machines with contact rings. claw pole rotor is an example, though it has higher design and manufacturing costs.
Inductors or pulsation-type generators vary in magnetic induction magnitude at the stator bore without changing direction. Although they utilize magnetic flux less efficiently, they allow for simpler and more reliable designs [3].
Inductor machines are divided into:
- with axial flow (homopolar);
- with radial flow (salient-pole).
Radial flow designs are simpler in design since all windings are located on the stator, eliminating the need to conduct the excitation flow through the shaft and covers, but they require more winding material. The main consumption of winding material is in the field winding (proportional to the square of the center line of the winding length).
Axial-flow generators bring the field winding closer to the machine axis, thus reducing the average winding length and material consumption.
This configuration maximizes the stator bore to accommodate the stator winding, increasing the armature core volume and the machine’s electromagnetic power, allowing for a smaller housing for the same power.
These advantages favor brushless generators with axial flow [6].
AXIAL-FLOW INDUCTOR GENERATORS COME IN THE FOLLOWING VERSIONS: TWO-PACK AND SINGLE-PACK.
In two-pack generators, the excitation winding is placed between two stator and rotor packs. The two-pack generator design is structurally and technologically complex, primarily owing to heat dissipation challenges with the field winding in alternators lacking open-circuit ventilation.
Single-pack generators are structurally simpler. They allow for a shorter excitation winding by bringing it closer to the machine axis. In these generators, the excitation winding is located in the generator cover, which provides favorable cooling conditions.
Tractor generators feature a closed design, where the magnetic circuit is largely integrated with structural parts, optimizing weight efficiency [5].
The performance of inductor generators largely depends on selecting the right parameters for the tooth zone.
Two types of tooth zones are used:
- classic;
- combed.
The combed toothed zone increases frequency, reducing the weight of the working winding. Studies suggest optimal machine utilization with the ratio:
,
where τ is the pole pitch and δ is the width of the one-sided air gap.
Design and technological considerations favor δ = 0.35 ÷ 0.4 mm, leading to τ = 15 ÷25 mm. Owing to size constraints on the outer diameter, the classic tooth zone is optimal. Although the combed zone increases frequency, it balances this with a more favorable time-varying magnetic conductivity curve between the rotor and stator teeth. In comparison with the combed tooth zone, the amplitude of the magnetic flux pulsation increases (the ratio of the variable component of the idling flow in the stator tooth to the constant component). Homopolar machines can be designed as both single-phase and multi-phase systems. The choice of optimal phase number relates to the rectifier circuit and other requirements, with a three-phase system being more convenient for voltage regulation. This system allows for high armature winding utilization and self-limit current through full-wave current rectification [4].
Based on the above, a three-phase homopolar inductor generator with a single-pack design and a classical toothed zone, with a full-wave rectifier has been selected as the optimal tractor generator.
The generator has 16 poles. Power is supplied to the consumers through a built-in rectifier assembled in a bridge circuit with nine diodes. The bearings are designed to allow additional lubrication through special oilers.
Given the complexities of voltage regulation at variable rotational speeds and loads, brushless generators with permanent magnets are used where a wide range of output voltage changes is allowed. These generators maintain voltage stability through parametric regulation. Initially produced in the USSR with models like G30, G46, and G303, the AB introduction on tractors increased the need for forced voltage regulation owing to stricter output voltage requirements. This led to the development of generators with parametric voltage regulation, such as the GT-1A, as well as generators with controlled rectifiers like Ducati in Italy) [5].
Analysis of tractor generator designs. Choosing the optimal type of generator (generators with electromagnetic excitation)
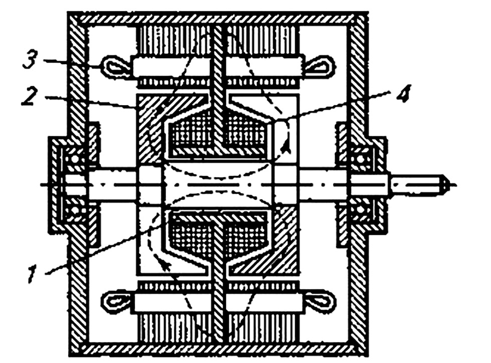
Inductor generators manufactured by Niehoff (USA) (Fig. 1) are homopolar pulsation generators featuring an externally closed magnetic flux.
Fig. 1. A schematic section of the Niehoff alternator: 1 — an excitation winding; 2 — rectifier diods; 3 — a front cap; 4 — a housing; 5 — a pack of a stator with winding; 6 — a rear cap; 7 — a bushing; 8 — a rotor.
Рис. 1. Схематический разрез генератора Niehoff: 1 — обмотка возбуждения, 2 — диоды выпрямителя, 3 —передняя крышка, 4 — корпус, 5 — пакет статора с обмоткой, 6 — задняя крышка, 7 — втулка, 8 — ротор.
Most inductor generators belong to this type and are widely used abroad. For example, the Niehoff produces a series of inductor machines for 6, 12, 24, and 32 V, all sharing a robust design suitable for harsh operating conditions, such as exposure to dust, dirt, sand, water, fuel and lubricant vapors, and a wide range of ambient temperature changes. These generators feature a tubular housing with a stator package inside. The toothed zone resembles the G306 generator, with rotor teeth beveled at an angle of 45° to the middle of the package to minimize magnetic noise and improve voltage shape, although this design reduces power by 30%.
The excitation winding, fixed in the front cover of the generator, enters the inner cavity of the rotor package, allowing the magnetic flux (main) to bypass the shaft and enhance weight efficiency of the generator.
The generator is air-cooled by its own fan, supported by ventilation windows in the covers.
The A-2-125 series generator combines standard generators connected to each other by an intermediate locking ring and a cam coupling. The generator consists of two stators with a 3-phase winding, steel covers with two rectifier assemblies connected in parallel, and two rotors with inductor sprockets connected through cam engagement and an intermediate rubber gasket. The excitation winding of the generator has a low resistance (R = 1.6 ohms) when cold.
Inductor generators from Gallo (Italy) are salient-pole pulsation generators with an externally closed magnetic flux.
Their Condor supergenerator is a multipolar inductor machine for heavy-duty trucks, characterized by an even tooth pitch in the stator and rotor (Guye machine). The machine has a relatively small outer diameter.
Its design is akin to DC generators, featuring a tubular body with four poles, similar to those of DC generators, supporting both excitation and stator windings in special grooves. There are two excitation coils at each pole: serial and shunt. All serial coils are connected in parallel, while shunt coils in series.
A disadvantage is that the output voltage is stabilized when the load changes only by the magnetizing effect of the serial winding, which is not highly effective.
Motorola (USA) produces inductor generators with a rotating rectifier.
This company’s machines are designed for heavy-duty applications. They were produced as SB series models.
The distinct feature of this generator series is the presence of a transformer, where the secondary winding is fixed to the rotor shaft and rotates with it. This set-up allows the voltage from the secondary winding to be applied to a rectifier that rotates alongside the rotor. The rectifier voltage is then supplied to the excitation winding located between the pole halves. A high-frequency alternating voltage is supplied to the primary winding of the transformer by a high-frequency generator within the voltage regulator (VR). This system includes a five-position switch that enables adjustments to the voltage level of the regulator. The maximum speed is 6000 min-1.
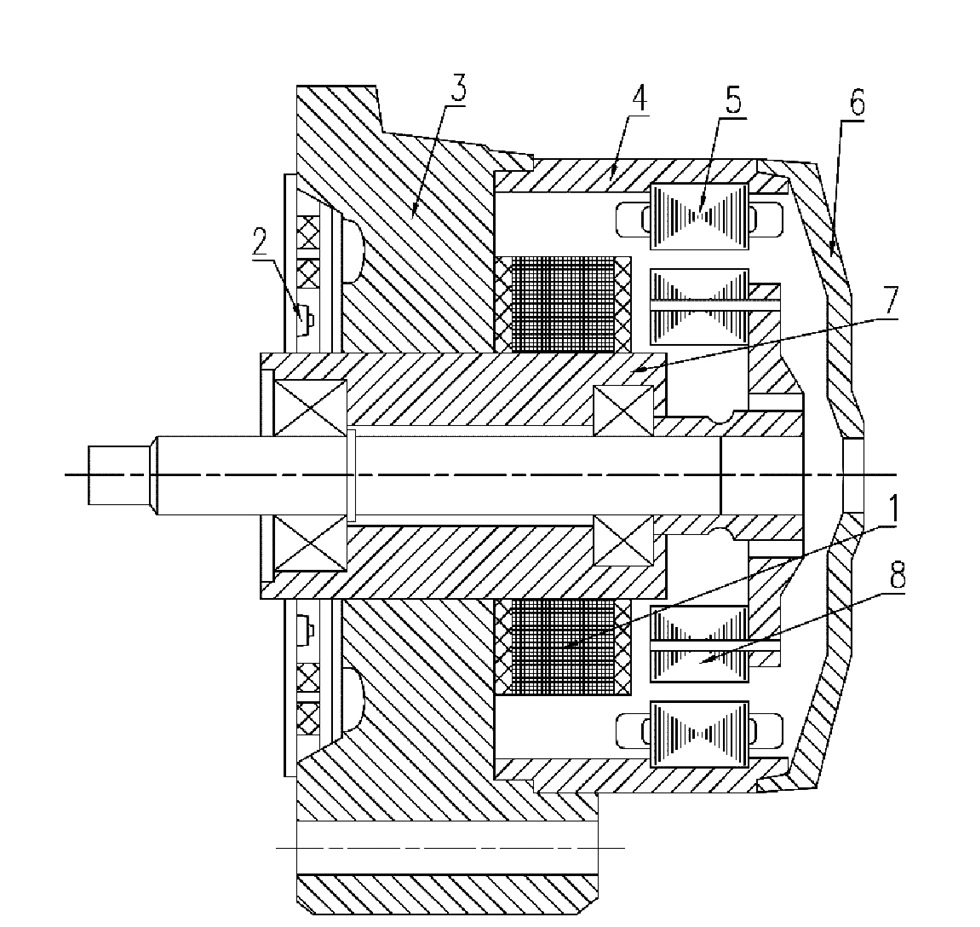
BOSCH (Germany) produces generators with a rotating rectifier, such as the T4 model (Fig. 2). The service life of these generators is determined by the service life of the bearings, which is approximately 300,000 km.
Fig. 2. Design of an alternator with a rotating rectifier: 1 — permanent magnets of a subexciter inductor; 2 — a winding of a subexciter armature; 3 — rectifying and controlling devices; 4 — an excitation winding of an exciter inductor; 5 — a winding of an exciter armature; 6 — rotating rectifiers; 7 — an excitation winding of an inductor of the main alternator; 8 — a winding of an armature of the main alternator; 9 — a centrifugal fan.
Рис. 2. Конструкция генератора с вращающимся выпрямителем: 1 — постоянные магниты индуктора подвозбудителя; 2 — обмотка якоря подвозбудителя; 3 — выпрямительное и регулирующее устройства; 4 — обмотка возбуждения индуктора возбудителя; 5 — обмотка якоря возбудителя; 6 — вращающиеся выпрямители; 7 — обмотка возбуждения индуктора основного генератора; 8 — обмотка якоря основного генератора; 9 — центробежный вентилятор.
The generator features an exciter designed as a synchronous machine. The armature winding of the exciter, along with a rectifier and a regulating device, is securely attached to the machine body. The winding of the exciter rotor supplies power to the generator’s excitation winding through a rotating rectifier, located between the claw pole tips.
AXIAL ALTERNATIVE SINGLE-PACK ELECTRIC MACHINES (GENERATORS WITH A CLAW POLE ROTOR)
Axial generators from Delco Remy (USA) incorporate a claw pole magnetic system to emulate traditional automotive generator designs.
Electric machines of this type have been manufactured by Delco Remy (USA) since the 1950s, beginning with the Delcotron model featuring claw poles and a cantilever rotor. This design includes a built-in rectifier, VR, and an oil cooling system connected to the common lubrication system of the internal combustion engine. In the future, the company abandoned the cantilever rotor design and implemented exhaust ventilation.
Fig. 3. Section of the Delco Remy 30 Si 400 alternator: 1 — a needle bearing; 2 — a shaft; 3 — a rear cap; 4 — poles; 5 — an excitation winding; 6 — a stator; 7 — a stator winding; 8 — a front cap; 9 — a magnetic conducting bushing; 10 — a front bearing.
Рис. 3. Разрез генератора Delco Remy серии 30-si тип 400: 1 — игольчатый подшипник; 2 — вал; 3 — задняя крышка; 4 — полюса; 5 — обмотка возбуждения; 6 — статор; 7 — обмотка статора; 8 — передняя крышка; 9 — магнитопроводящая втулка; 10 — передний подшипник.
Figure 3 shows a sketch of the magnetic circuit of one of the generators of the Delco Remy series 30-si type 400 model 1117481, 12V, 90A. The generator features a built-in rectifier, a transformer–rectifier unit, and an integrated VR. The generator’s 16-pole excitation system features pole halves attached to an aluminum alloy ring; one half is secured to the rotor shaft, while the other is supported by an aluminum ring. Inside the resulting claw-shaped structure, a magnetic conductive sleeve is pressed onto the shaft.
Marshall (Netherlands) produces the A 14/30 Fred axial generator, which operates at Uh = 14 V and Ih = 30 A. It features shortened claws, with the excitation winding suspended from the rotor’s pole halves using aluminum holders (Fig. 4).
Fig. 4. Magnetic system of the Marshall Fred A 14/30 alternator: 1 — a bushing of an excitation winding; 2 — a pole tip; 3 — a stator winding; 4 — the excitation winding.
Рис. 4. Магнитная система генератора А 14/30 Fred Marshall: 1 — втулка обмотки возбуждения; 2 — полюсный наконечник; 3 — обмотка статора; 4 — обмотка возбуждения.
The magnetic flux under each half claw pole rotor pulsates in magnitude but not direction, making these generators transitional models between inductor and alternator machines. This design boosts magnetic flux by 50% compared generators with contact rings, achieving weight-efficient parameters typical of rotating field winding generators.
Table 1 presents a comparative analysis of Delco Remy, Marshall, Motorola, and Bosch inductor generators.
Table 1. Comparative analysis of inductor alternators
Generator parameters | Type of generator | |||
Delco Remy 30 Si 400 | Marshall Fred | Motorola 8 SB 2001-R | Bosch T4 | |
Rated voltage, V | 14 | 14 | 14 | 28 |
Maximum power, W | 1200 | 445 | 1250 | 1700 |
Design power, W | 800 | 310 | 750 | 1100 |
Speed in design mode, min-1 | 2000 | 2200 | — | — |
Generator weight without pulley, kg | 13,5 | 3,45 | 11 | 21 |
Specific utilization factor in the design mode, W/kg∙min-1 | 32 | 41 | 45 | 21 |
Specific maximum power, W/kg | 88 | 129 | 114 | 82 |
Generators with a controlled rectifier manufactured by Ducati (Italy) manufactures generators with controlled rectifiers designed for various power outputs in both single-phase and three-phase voltage systems. These generators utilize a controlled rectifier with thyristors using a VR. Table 2 presents a comparative analysis of the Ducati inductor generator with its domestic analogs “G303” and “GT-1A”.
The current-speed characteristics of the generators discussed above, both domestic and foreign production, are shown in Fig. 5 and 6.
Fig. 5. Current-speed curves of alternators: 1 — the Niehoff A-2-125; 2 — the G-309 (15.3701); 3 — the Niehoff A-81-1; 4 — the Gallo Condor; 5 — the G-306 (13.3701); 6 — the Ducati E-35.14.34.01.
Рис. 5. Токоскоростные характеристики генераторов: 1 — Niehoff А-2-125; 2 — Г-309 (15.3701); 3 — Niehoff А-81-1; 4 — Gallo Condor; 5 — Г-306 (13.3701); 6 — Ducati Е-35.14.34.01.
Fig. 6. Current-speed curves of alternators: 1 — the Motorola 8SB2001-R; 2 — the Delco Remy 30 Si 400; 3 — the Bosch T4; 4 — the Marshall Fred A-14/30.
Рис. 6. Токоскоростные характеристики: 1 — Motorola 8SB2001-R; 2 — Delco Remy; 3 — Bosch T-4; 4 — Fred А-14/30.
Table 2. Properties of alternators
Generator parameters | Value | ||
G303 | GT-1A | Ducati E-35.14.34 | |
Rated voltage, V | 12 | 12 | 12 |
Rated power, W | 180 | 300 | 325 |
Design power, W | — | — | 225 |
Speed corresponding to the rated speed of the internal combustion engine, min-1 | 3000 | 4000 | — |
Maximum speed, min-1 | 400 | 4700 | 5000 |
Weight without pulley, kg | 4,3 | 7 | 2,94 |
Specific power, W/kg | 42 | 43 | 110,5 |
Specific utilization factor in the design mode, W∙min∙103/kg | — | — | 32 |
Outer diameter of the stator, mm | 116,5 | 130 | 112 |
Electric loading, A/mm | 280 | 93 | 497 |
Weight of active materials, kg | 1,8 | 4,1 | 1,6 |
Weight of winding copper, kg | 0,38 | 0,43 | 0,23
|
RESEARCH ON GENERATOR 11.3701
The inductor generator model 11.3701 is designed to serve as an electricity source in the electrical systems of industrial tractors. Table 2 highlights the characteristics of domestically produced inductor generators, comparing them with foreign counterparts. Table 3 presents a comparative analysis of inductor generator 11.3701 with a foreign-made analog Delco Remy 30–52 min400 model, and a perspective sample.
Table 3. Comparative analysis of a prospective domestic prototype with a foreign alternative
Generator parameters | Results of the experiment | According to the TU | Perspective sample | Delco Remy 30-52 min400 |
Rated voltage, V | 28 | 28 | 28 | 25/12,5 |
Maximum power, W | 2772 | — | 5000 | 975 |
Maximum current, A | 99 | — | 178 | 78 |
Rated load current, A | 72 | 72 | 120 | 67 |
Rotation speed, at design load current, min-1 | 2250 | 2500 | 4000 | 2200 |
Generation start speed, min-1 | 1500 | 1500 | 2500 | 900 |
Generator life, operating hours (85%) | 8000 | 8000 | 8000 | — |
Generator weight, kg | 24 | 25 | 25 | 13,5 |
Diameter of the stator bore, cm | 14,2 | — | 14,2 | 11,6 |
Length of the stator iron package, cm | 4 | — | 4 | 2,5 |
Design power, W | 2016 | — | 3360 | 840 |
Specific maximum power, W/kg | 115,5 | — | 200 | 72 |
Generator utilization factor, W/(kg∙rpm)∙103 | 37,3 | — | 33,6 | 28,2 |
Utilization factor of active materials, W/(kg∙rpm)∙103 | 51,5 | — | 48,2 | — |
Utilization factor of winding copper, W/(kg∙min-1) | 273,1 | — | 256,1 | — |
Utilization factor of the design stator volume, W/(kg∙min-1)∙103 | 1,1 | — | 1,04 | 1,1 |
Reliability indicators | ||||
Time to failure, operating hours | 5000 | 5000 | 5000 | - |
Warranty period, year | 2 | 2 | 2 | - |
Warranty service life, operating hours | 4000 | 4000 | 4000 | - |
11.3701 generator meets the highest international standards in terms of technical performance. It is proposed to increase its design speed from 2000 to 4000 min-1 and its maximum power from 2772 to 5000 Watts. This enhancement would add only 1 kg to its weight, resulting in a higher maximum utilization factor for the generator. Table 4 shows the calculated current-speed characteristics of inductor generator 11.3701, determined using the well-known technique of the Blondel diagram [3]. The calculation was performed using the method of successive approximations using iterations (Fig. 7).
Figure 8 shows the calculated current-speed characteristic of inductor generator 11.3701.
Fig. 7. The ΔЕ=f (n) curves.
Рис. 7. Зависимость ΔЕ = f (n).
Fig. 8. The current-speed curve of the 11.3701 alternator.
Рис. 8. Токоскоростная характеристика индукторного генера- тора 11.3701.
Table 4. Results of calculation of the magnetic circuit of the 11.3701 alternator
Iф | 5 | 5 | 10 | 10 | 20 | 20 | 30 | 30 | 40 | 40 |
Iн = Iф/0.48-1.53 | 8,9 | 8,9 | 19,3 | 19,3 | 40,1 | 40,1 | 61 | 61 | 81,8 | 81,8 |
n | 1500 | 2000 | 1500 | 2500 | 2000 | 3000 | 2500 | 3500 | 4000 | 5000 |
Uф | 22,5 | 22,5 | 22,8 | 22,8 | 23,2 | 23,2 | 23,4 | 23,4 | 23,5 | 23,5 |
f = 0.1n | 150 | 200 | 150 | 200 | 200 | 300 | 250 | 350 | 400 | 500 |
Iфf | 750 | 1000 | 1500 | 2000 | 4000 | 6000 | 7500 | 10500 | 16000 | 20000 |
Eaq = 5.52∙10-3 Iфf | 4,14 | 5,52 | 8,28 | 11,04 | 22,08 | 33,12 | 41,4 | 57,96 | 88,32 | 110,4 |
Ead = 0.966∙10-3 Iфf | 0,724 | 0,866 | 1,45 | 1,932 | 3,864 | 5,796 | 7,245 | 10,143 | 15,456 | 19,32 |
Eg = 1.5∙10-3 Iфf | 1,125 | 1,5 | 2,25 | 3 | 6 | 9 | 11,25 | 15,75 | 24 | 30 |
Es + Eaq | 5,265 | 7,02 | 10,53 | 14,04 | 28,08 | 42,12 | 52,65 | 73,71 | 112,32 | 140,4 |
Ea = 0.033Iф | 0,165 | 0,165 | 0,33 | 0,33 | 0,66 | 0,66 | 0,99 | 0,99 | 1,32 | 1,32 |
Uф + Ea | 22,66 | 22,66 | 23,13 | 23,13 | 23,86 | 23,86 | 24,39 | 24,39 | 24,82 | 24,82 |
tgψ | 0,23 | 0,309 | 0,455 | 0,607 | 1,1768 | 1,765 | 2,158 | 3,0221 | 4,5253 | 5,6567 |
ψ | 13° | 17°10 | 24°30 | 31°20 | 49°40 | 60°30 | 65°10 | 71°40 | 77°30 | 80° |
sinψ | 0,22 | 0,295 | 0,414 | 0,52 | 0,7623 | 0,870 | 0,907 | 0,9492 | 0,9763 | 0,9848 |
cosψ | 0,97 | 0,955 | 0,91 | 0,8542 | 0,6472 | 0,492 | 0,42 | 0,3145 | 0,2164 | 0,1734 |
Egsinψ | 0,25 | 0,442 | 0,933 | 1,56 | 4,5736 | 7,833 | 10,20 | 14,95 | 23,431 | 29,544 |
Uфcosψ | 21,9 | 21,5 | 20,74 | 19,475 | 15,015 | 11,42 | 9,828 | 7,3593 | 5,0854 | 4,0796 |
Eadsinψ | 0,16 | 0,285 | 0,601 | 1,0046 | 2,9455 | 5,201 | 6,574 | 9,6277 | 15,089 | 19,026 |
Eaqcosψ | 4,03 | 5,27 | 7,534 | 9,4303 | 14,29 | 16,30 | 17,38 | 18,228 | 19,112 | 19,165 |
∑Uф | 26,3 | 27,5 | 29,81 | 31,47 | 39,82 | 40,76 | 44 | 50,165 | 62,7186 | 71,815 |
Fb | 1974 | 1974 | 1974 | 1974 | 1974 | 1974 | 1974 | 1974 | 1974 | 1974 |
Fd = 17,026Iф sinψ | 19,15 | 25,13 | 70,61 | 88,53 | 259,6 | 296,3 | 463,5 | 484,8 | 664,9 | 670,8 |
Fb-Fd | 1954 | 1948 | 1903 | 1885 | 1717 | 1677 | 1510 | 1489 | 1309 | 1303 |
Ig = Fb-Fd\1290 | 1,52 | 1,51 | 1,47 | 1,46 | 1,33 | 1,3 | 1,17 | 1,15 | 1,01 | 1,01 |
Eф1 | 31,8 | 31,8 | 31,3 | 31,2 | 30,8 | 30,6 | 30,2 | 30 | 29,9 | 29,9 |
Eфn | 23,25 | 31,8 | 23,47 | 39 | 30,8 | 45,9 | 97,75 | 52,2 | 60 | 74,75 |
ΔE | +3,12 | -4,3 | +5,4 | -7,5 | +6 | -5,2 | +6,25 | -2 | +2,7 | -2,95 |
CONCLUSION
A comprehensive review and analysis of automotive inductor generators, both domestic and foreign, with various magnetic systems and designs, was carried out. The advantages and disadvantages of these magnetic circuits are outlined in comparative tables and current-speed characteristics. In calculating the optimal design, the most effective inductor generator with superior technical and economic indicators was selected.
The magnetic circuit and idling characteristics of a three-phase homopolar, single-pack inductor generator 11.3701, featuring a classical toothed zone and a full-wave rectifier, were also calculated. The current-velocity characteristic was assessed using the Blondel diagram through successive approximations.
ADDITIONAL INFORMATION
Authors’ contribution. E.A. Ryabykh — search for publications on the topic of the article, writing the text of the manuscript, editing the text of the manuscript, creating images; R.A. Maleev — expert opinion, approval of the final version. A.V. Akimov — search for publications on the topic of the article. All authors made a substantial contribution to the conception of the work, acquisition, analysis, interpretation of data for the work, drafting and revising the work, final approval of the version to be published and agree to be accountable for all aspects of the work.
Competing interests. The authors declare that they have no competing interests.
Funding source. This study was not supported by any external sources of funding.
ДОПОЛНИТЕЛЬНАЯ ИНФОРМАЦИЯ
Вклад авторов. Е.А. Рябых — поиск публикаций по теме статьи, написание текста рукописи, редактирование текста рукописи, создание изображений; Р.А. Малеев — экспертная оценка, утверждение финальной версии; А.В. Акимов — поиск публикаций по теме статьи. Авторы подтверждают соответствие своего авторства международным критериям ICMJE (все авторы внесли существенный вклад в разработку концепции, проведение исследования и подготовку статьи, прочли и одобрили финальную версию перед публикацией).
Конфликт интересов. Авторы декларируют отсутствие явных и потенциальных конфликтов интересов, связанных с публикацией настоящей статьи.
Источник финансирования. Авторы заявляют об отсутствии внешнего финансирования при проведении исследования.
About the authors
Evgeniy A. Ryabykh
Moscow Polytechnic University
Author for correspondence.
Email: fczl98@bk.ru
ORCID iD: 0000-0001-7112-1019
SPIN-code: 4843-6000
Postgraduate of the Electrical Equipment and Industrial Electronics Department
Russian Federation, 38 Bolshaya Semenovskaya street, 107023 MoscowRuslan A. Maleev
Moscow Polytechnic University
Email: 19rusmal@gmail.com
ORCID iD: 0000-0003-3430-6406
SPIN-code: 7801-3294
Associate Professor, Cand. Sci. (Engineering), Professor of the Electrical Equipment and Industrial Electronics Department
Russian Federation, 38 Bolshaya Semenovskaya street, 107023 MoscowAndrey V. Akimov
Moscow Polytechnic University
Email: a.akimov5@mail.ru
ORCID iD: 0009-0002-6010-8817
SPIN-code: 8238-8598
Associate Professor, Cand. Sci. (Engineering), Associate Professor of the Electrical Equipment and Industrial Electronics Department
Russian Federation, 38 Bolshaya Semenovskaya street, 107023 MoscowReferences
- Ryabykh EA, Maleev RA, Akimov AV. Switched inductor generators for special purpose vehicles. Izvestiya MGTU «MAMI». 2023;17(3):287–294. EDN: GXYPIB doi: 10.17816/2074-0530-340855
- Akimov SV, Chizhkov YuP. Electrical equipment of cars. Moscow: Za rulem; 2001.
- Akimov SV, Kopylova LV. Calculation of output characteristics of automotive and tractor inductor generators. Мoscow: MAMI; 1987.
- Chernov AE, Akimov AV. Comparative analysis of the energy capabilities of excitation systems for tractor generators. Tractors and Agricultural Machinery. 2017;84(1):46–53. doi: 10.17816/0321-4443-66274
- Chernov AE, Akimov AV. Automated test bench for the study of automobile and bus generator sets. Izvestiya MGTU «MAMI». 2014. Т. 1, №2. C. 5–12. EDN: SXGXIL
- Fesenko MN, Kopylova LV, Korotkov VI. Theory, design and calculation of automotive electrical equipment. Moscow: Mashinostroenie; 1992.
Supplementary files











