A temporary bypass used in end-to-end anastomosis of major vessels without stopping blood flow in the segment under repair
- Authors: Trunin E.M.1, Smirnov A.A.1, Nazarova M.A.1, Begishev O.B.1, Tatarkin V.V.1, Shulga V.P.1, Ovsepyan A.L.2, Stepanova V.A.1, Sizov P.A.1
-
Affiliations:
- North-Western State Medical University named after I.I. Mechnikov
- Saint Petersburg Electrotechnical University LETI
- Issue: Vol 11, No 3 (2019)
- Pages: 57-64
- Section: Original study article
- Submitted: 16.01.2019
- Accepted: 01.09.2019
- Published: 18.11.2019
- URL: https://journals.eco-vector.com/vszgmu/article/view/10888
- DOI: https://doi.org/10.17816/mechnikov201911357-64
- ID: 10888
Cite item
Full Text
Abstract
The authors developed an original set of tools and a method of carrying out end-to-end anastomosis on major vessels, without stopping blood circulation in the vascular segment being repaired. The proposed set of tools includes 10 tubes (temporary vascular grafts) made of medical silicone with external diameters from 8 to 26 mm. The length of each tube is not less than 10 cm, and the wall thickness is 1.2 mm. A spiral notch with a step of 1.2 mm is made on the outer surface of the tubes, to a depth of 1 mm. The set of tools also includes a set of metal hollow half — cylinders with a through hole made in the middle, designed to extract the temporary shunt of the appropriate diameter. Before the formation of a vascular anastomosis, a silicone tube is selected, the outer diameter of which corresponds to the inner diameter of the damaged vessel. It is necessary to cut off a length of the tube, so that 2–3 cm of it could be introduced into the lumen of the proximal and distal segments of the damaged vessel. A stay-suture is laid in the center of the temporary bypass, on a site of its wall between two neighboring spiral notches. The ends of the temporary bypass, pre-filled with saline solution, are introduced into the distal and proximal ends of the divided vessel and are firmly fixed in the lumen of the vessel with two elastic bands. After placing the temporary bypass in the lumen of the damaged vessel, the blood flow is restored. Using the intraluminar temporary shunt as a scaffold, the edges of the vessel are approximated and stitched to its entire circumference, tying the first and last stitches of this seam. The last additional suture is placed in the area of the stay-suture overlying the wall of the temporary vascular shunt and is not tightened. A half-cylinder is placed above the untightened vascular suture and a stay-suture is placed at its opening. After that, tightly pressing the metal hollow half-cylinder to the vascular wall, and applying traction to the ends of the stay-suture the mechanical destruction of the silicone tube along the line of the spiral incision ensues. As a result, the tube is transformed into a double silicone rod, which is pulled through a through hole in the metal half-cylinder floor. After the extraction of the tube, the anastomosis is completed by tying a knot on the provisional suture. To simulate the proposed method, 10 operations were performed using a closed experimental circuit that completely simulates the real situation of restoring a damaged major vessel. The time of the operation, the technical features of the intervention, as well as the volume of “blood loss”, which was estimated by reducing the volume of blood circulating in the experimental circuit, were evaluated. Experimental testing with the use of a model simulating the situation of restoring a damaged major vessel, demonstrated the effectiveness of the developed method of applying a vascular end-to-end anastomosis with the use of a destructible temporary bypass; the average time of the operation was 10 minutes, and the volume of blood loss did not exceed 5 ml. The proposed set of tools and method can be effectively used in case of major vessels injury. The technique completely excludes the need for interrupting blood flow through the sutured vessel; it allows to reduce the volume of blood loss in vascular trauma, minimizes the time of ischemia in the area of blood supply to the damaged artery or venous stagnation of the drained segment (when suturing a vein), as well as to facilitate the imposition of a vascular suture to surgeons who do not have sufficient qualification in vascular surgery.
Full Text
Введение
Известно, что временное шунтирование при повреждении магистральной артерии позволяет сократить время ишемии кровоснабжаемого травмированной артерией участка тела или органа. Методику используют при транспортировке пострадавшего в специализированное отделение сосудистой хирургии или при вынужденном ожидании прибытия в лечебное учреждение сосудистого хирурга, когда в оперирующей бригаде нет специалиста, способного произвести необходимую реконструкцию. Временный сосудистый шунт также с успехом применяют интраоперационно при множественном повреждении магистральных сосудов, производя их последовательную реконструкцию. Однако в некоторых случаях, при недоступности ангиохирурга, сосудистый шов при травме приходится накладывать хирургам общего профиля или даже травматологам, что происходило при массовых огнестрельных повреждениях магистральных сосудов среди военнослужащих ограниченного контингента советских войск в Афганистане. Известны ситуации, когда даже высококвалифицированному сосудистому хирургу не хватает времени для предотвращения критической ишемии. Например, при утрате участка общей сонной артерии время формирования аутовенозной вставки или вшивания в дефект артерии синтетического эндопротеза даже в опытных руках превышает время возникновения критической ишемии полушария головного мозга. В описанных ситуациях временный сосудистый шунт позволяет снизить опасность некроза тканей в зоне кровоснабжения травмированного магистрального сосуда. В то же время при использовании временного шунта время ишемизации в зоне кровоснабжения травмированной артерии в момент проведения реконструкции не сокращается. Временный шунт, изготовленный из отрезка жесткой синтетической трубки, не может служить каркасом при наложении сосудистого шва, так как должен быть извлечен из просвета сосуда через значительный по размерам дефект сосудистой стенки. В то же время не вызывает сомнений, что шов на каркасе существенно снижает опасность сужения просвета в зоне анастомоза при проведении операции малоопытным специалистом. Несмотря на вышеуказанные преимущества, сроки функционирования большинства временных протезов невелики, их использование сопровождается большим количеством тромбозов и ампутаций конечности, высок уровень летальности, что, в свою очередь, определяет стремление хирурга к внедрению первичных реконструктивных методик [1].
До настоящего времени для восстановления непрерывности сосуда чаще выполняют циркулярный и боковой сосудистые швы. Для уменьшения ишемии в основном используют эндоваскулярные протезы в виде малоэластичных синтетических трубок. Главным требованием при наложении сосудистого шва является полное прерывание кровотока в зоне его наложения. Невыполнение этого условия ведет к возникновению технических трудностей при наложении сосудистого анастомоза, что увеличивает время манипуляции, а кроме того, способствует образованию дефектов шва, приводящих к тромбообразованию. В свою очередь, длительное прерывание кровотока по восстанавливаемому сосуду вызывает ишемию и может стать причиной последующего некроза тканей в зоне его кровоснабжения [2].
В случае одномоментного повреждения нескольких магистральных сосудов целесообразно применение временных сосудистых шунтов с целью поддержания кровотока в сосуде, ожидающем «очереди» на реконструкцию, тем самым предотвращается ишемизация кровоснабжаемой области и осуществляется профилактика осложнений при недостаточном коллатеральном кровообращении [3].
Все эти мероприятия, за исключением временного шунтирования, требуют наличия специальных навыков и инструментов. Общим недостатком вышеперечисленных методик является необходимость прекращения кровотока в зоне пересеченного сосуда хотя бы на 3 мин, что создает благоприятные условия для возникновения необратимой ишемии тканей [4].
Предлагавшиеся ранее рассасывающиеся временные сосудистые шунты, которые позволяли накладывать шов без прекращения кровотока по магистральному сосуду и служили каркасом для наложения шва, не нашли широкого применения из-за того, что при плановой деградации такого шунта формировались значительные по размеру фрагменты, которые становились причиной тромбоэмболических осложнений.
Таким образом, существует необходимость создания устройства, которое может служить каркасом для облегчения наложения сосудистого шва в сложных условиях без сужения просвета сосуда и одновременно позволит накладывать сосудистый шов без остановки кровообращения.
Цель исследования — создать набор инструментов и способ, облегчающий наложение анастомоза по типу «конец в конец» на магистральных сосудах, исключающий остановку кровообращения в сшиваемом сегменте, и применить этот метод на экспериментальной установке.
Задачи исследования:
1) создать набор инструментов для наложения анастомоза по типу «конец в конец» на магистральных сосудах;
2) произвести экспериментальное наложение анастомоза по типу «конец в конец» на магистральных сосудах в условиях, имитирующих реальную обстановку устранения повреждения магистрального сосуда;
3) оценить преимущества и недостатки применения разработанного набора инструментов при повреждениях магистральных сосудов.
Материалы и методы
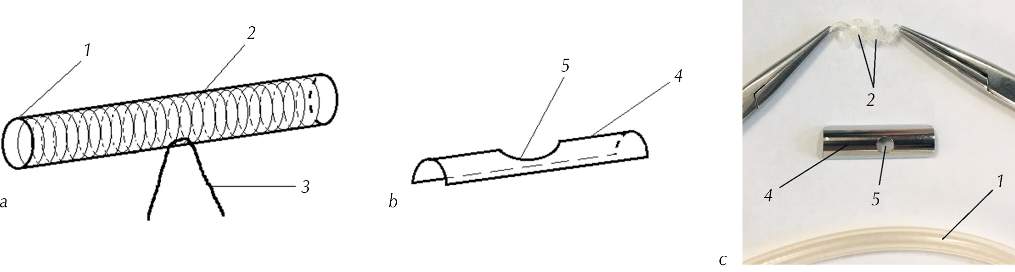
Набор инструментов. Предложенный набор инструментов для наложения сосудистого анастомоза по типу «конец в конец» на магистральных сосудах включает в себя 10 трубок (временных шунтов) из медицинского силикона с внешними диаметрами от 8 до 26 мм, диаметр каждой из которых больше диаметра предыдущей на 2 мм. Длина каждой трубки — не менее 10 см, а толщина стенки — 1,2 мм. По внешней поверхности трубок нанесена спиралевидная насечка с шагом 1,2 мм, на глубину 1 мм (рис. 1). В набор инструментов также входят металлические полые полуцилиндры со сквозным отверстием посередине, предназначенным для извлечения временного шунта соответствующего диаметра (см. рис. 1).
Рис. 1. Трубка из медицинского силикона и металлический полый полуцилиндр с отверстием для извлечения указанной трубки (временный сосудистый шунт): a, b — эскизы; c — фотография. 1 — отрезок трубки из медицинского силикона; 2 — спиралевидные витки с шагом витка 1,2 мм, глубиной 1 мм; 3 — шов-держалка; 4 — металлический полый полуцилиндр; 5 — отверстие для извлечения трубки
Fig. 1. Medical silicone tube and a hollow metal half-cylinder with a hole for the extraction of the above mentioned tube (temporary vascular shunt): a, b — sketches; c — photo. 1 — a segment of the medical silicone tube; 2 — spiral coils, with a coil spacing of 1.2 mm, a depth of 1 mm; 3 — stay-suture; 4 — hollow metal half-cylinder; 5 — a hole for the tube extraction
Краткое описание способа. Перед началом формирования сосудистого анастомоза подбирают силиконовую трубку, внешний диаметр которой соответствует внутреннему диаметру поврежденного сосуда. Отсекают участок трубки (временный сосудистый шунт) такой длины, чтобы она на 2–3 см могла быть введена в просвет приводящего и отводящего отрезков поврежденного сосуда (итоговая длина временного шунта — 4–6 см). В центре временного шунта, на участок его стенки между двумя соседними спиралевидными насечками, накладывают сквозной шов прочным нерассасывающимся шовным материалом, например капроном 2–0. Концы временного шунта, предварительно заполненного изотоническим раствором натрия хлорида, вводят в дистальный и проксимальный концы пересеченного сосуда и прочно фиксируют шунт в просвете сосуда двумя эластичными турникетами. После размещения временного шунта в просвете поврежденного сосуда восстанавливают кровоток. На временном шунте, используя его каркасные свойства, сшивают сосуд циркулярным атравматическим сосудистым швом практически на весь его диаметр, завязывая первый и последний стежки этого шва. Последний дополнительный шов (например, Z-образный) непрерывного сосудистого шва располагают в зоне шва-держалки, наложенного на стенку временного сосудистого шунта, его не затягивают. Над незатянутым сосудистым швом помещают полуцилиндр, в его отверстие проводят шов-держалку (рис. 2). После этого, плотно прижимая металлический полый полуцилиндр к сосудистой стенке над незатянутым сосудистым швом, производят тракцию концов шва-держалки. За счет этого приложения силы начинается механическое разрушение силиконовой трубки по линии спиральной насечки по принципу «домино», в результате чего трубка трансформируется в двойной силиконовый тяж, который извлекают (вытягивают) через сквозное отверстие в металлическом полом полуцилиндре. После извлечения трубки анастомоз завершают, завязывая узел на провизорном Z-образном шве.
Рис. 2. Вид временного шунта при завершении выполнения анастомоза «конец в конец», с наложенным металлическим упором с отверстием в области анастомоза до (a), и во время (b) выполнения тракции (полусхематично): 1 — отрезок трубки из медицинского силикона; 2 — спиралевидные витки, с шагом витка 1,2 мм, глубиной 1 мм; 3 — шов-держалка; 4 — металлический полый полуцилиндр; 5 — отверстие для извлечения трубки; 6 — пересеченный сосуд; 7 — двойной силиконовый тяж, образующийся при механическом разрушении трубки
Fig. 2. The temporary shunt at the end of the end-to-end anastomosis with an overlying metal stop with a hole in the area of the anastomosis prior to (a), and during (b) the process of traction (schematically): 1 — segment of the medical silicone tube; 2 — spiral coils, with a spacing of the coil of 1.2 mm, a depth of 1 mm; 3 — stay-suture; 4 — hollow metal cylinder; 5 — hole for tube extraction; 6 — divided vessel; 7 — double silicone strand formed during mechanical destruction of the tube
При моделировании вышеописанного способа применения предложенного временного шунта мы использовали разработанный нами набор инструментов, фрагмент бедренной артерии свиньи, фибринолизированную кровь человека, общехирургический набор инструментов, шовный материал Prolen 4/0, компрессор, аккумулятор, набор ПХВ-трубок, а также набор медных проводников. Формирование временного шунта выполняли в экспериментальной операционной кафедры оперативной и клинической хирургии с топографической анатомией. Было выполнено 10 операций с применением замкнутого экспериментального контура, имитирующего реальную обстановку устранения повреждения магистрального сосуда. Оценивали время выполнения операции, технические особенности вмешательства, а также объем «кровопотери», который определяли по уменьшению объема крови, циркулирующей в экспериментальном контуре.
Результаты
Для моделирования предлагаемого способа был собран замкнутый контур, состоящий из компрессора, ПХВ-трубок, соединенных с емкостью объемом 500 мл с фибринолизированной человеческой кровью, аккумулятора, двух фрагментов бедренной артерии свиньи, соединенных согласно описанной методике с временным шунтом, а периферическими концами — с приводящей и отводящей ПХВ-трубками контура (рис. 3).
Рис. 3. Замкнутый контур для экспериментального моделирования способа наложения анастомоза по типу «конец в конец»: 1 — полый полуцилиндр с отверстием, через которое проведена лигатура, наложенная провизорно на один из центральных витков временного сосудистого шунта; 2 — два фрагмента бедренной артерии свиньи, соединенные посередине временным шунтом; 3 — ПХВ-трубки; 4 — компрессор; 5 — аккумулятор
Fig. 3. Closed circuit for the experimental modeling of the proposed method of applying end-to-end anastomosis: 1 — hollow half-cylinder with a hole through which the ligature is passed, superimposed provisionally on one of the central turns of the temporary vascular bypass; 2 — two fragments of the porcine femoral artery, connected in the middle by a temporary bypass; 3 — PVC tubes; 4 — compressor; 5 — battery
В центре временного шунта, между двумя соседними спиралевидными насечками, наложен сквозной шов-держалка прочным нерассасывающимся шовным материалом (капрон 2–0) (см. рис. 1, 4).
Рис. 4. Один из центральных витков временного сосудистого шунта прошит нитью, трубка введена в просвет частей пересеченной бедренной артерии свиньи
Fig. 4. One of the central coils of the temporary vascular bypass is stitched with a thread; the tube is inserted into the lumen of the parts of the divided porcine femoral artery
Концы шва-держалки проведены через центральное отверстие полого полуцилиндра и фиксированы зажимом (см. рис. 2, 3). После введения временного шунта в проксимальный и дистальный отрезки сосуда шунт фиксировали с помощью эластичных турникетов, после чего в просвете дистальных краев частей артерии, предназначенной для сшивания, герметично фиксировали капроновыми лигатурами ПХВ-трубки контура. После завершения герметизации экспериментального контура создавали в его просвете циркуляцию крови при давлении около 120 мм рт. ст., для чего включали компрессор. После этого начинали накладывать непрерывный циркулярный сосудистый шов проленом 4/0, располагая первый стежок рядом с местом выхода шва-держалки, фиксирующей один из центральных витков временного шунта. Накладывали циркулярный сосудистый шов по большей части окружности поперечного сечения сшиваемых артерий, завершая его с противоположной стороны вышеупомянутого шва-держалки (рис. 5). Начальный и конечный витки непрерывного шва фиксировали узлами.
Рис. 5. Этап завершения наложения сосудистого шва: 1 — полый полуцилиндр с отверстием; 2 — бедренная артерия свиньи; 3 — ПХВ-трубка, фиксированная в просвете капроновой лигатурой; 4 — шов-держалка; 5 — эластичный турникет; 6 — лигатура, наложенная на один из центральных витков временного сосудистого шунта
Fig. 5. Final stage of the vascular suture: 1 — hollow half-cylinder with a hole; 2 — porcine femoral artery; 3 — PVC tube fixed in the lumen by means of a capron ligature; 4 — stay-suture; 5 — elastic band/tape; 6 — a stay-suture applied to one of the central coils of the temporary vascular bypass
На неушитый участок окружности восстанавливаемого сосуда накладывали провизорный узловой проленовый Z-образный шов, после чего полый полуцилиндр с отверстием плотно прижимали к стенке сосуда и выполняли тракцию за концы шва-держалки. В результате происходило разрушение временного шунта по принципу домино с извлечением трубки из просвета сосуда в виде двойного тяжа (рис. 6).
Рис. 6. Процесс разрушения временного шунта и извлечения двойного силиконового тяжа из просвета сосуда
Fig. 6. The process of a temporary shunt destruction and its extraction of a double silicone strand from the vessel lumen
Поскольку в течение всего времени выполнения каждого эксперимента по контуру непрерывно циркулировала фибринолизированная человеческая кровь, во время извлечения трубки из просвета сосуда и до момента завязывания провизорного Z-образного шва кровь неизбежно истекала из контура. Средний объем потери крови из замкнутого экспериментального контура составил 3 мл, среднее время выполнения операции — 10 мин. Каких-либо технических трудностей при выполнении операции отмечено не было.
Таблица 1 / Table 1
Результаты выполнения операций формирования сосудистого анастомоза по типу «конец в конец» с использованием временного сосудистого шунта в условиях замкнутого экспериментального контура
Results of end-to-end type vascular anastomosis formation using a temporary vascular bypass in a closed experimental circuit
№ | Время выполнения | Объем кровопотери, мл | Технические трудности |
1 | 10ʹ15ʹʹ | 3 | – |
2 | 11ʹ28ʹʹ | 4 | – |
3 | 9ʹ41ʹʹ | 2 | – |
4 | 9ʹ23ʹʹ | 1 | – |
5 | 9ʹ37ʹʹ | 3 | – |
6 | 9ʹ05ʹʹ | 5 | – |
7 | 8ʹ53ʹʹ | 5 | – |
8 | 9ʹ18ʹʹ | 2 | – |
9 | 8ʹ45ʹʹ | 3 | – |
10 | 8ʹ32ʹʹ | 2 | – |
Выводы
- Разработанный набор инструментов позволяет формировать сосудистый анастомоз по типу «конец в конец» без остановки кровообращения в сшиваемом сегменте.
- Способ наложения сосудистого анастомоза по типу «конец в конец» с применением разрушаемого временного шунта, опробованный на экспериментальной модели, имитирующей обстановку устранения повреждения магистрального сосуда, оказался эффективным: среднее время выполнения операции составило 10 мин.
- Предложенный набор инструментов и метод могут успешно применяться при травме магистральных сосудов. Методика полностью исключает прерывание кровотока по сшиваемому сосуду, она позволяет уменьшить объем кровопотери при сосудистой травме, минимизировать время ишемии в зоне кровоснабжения поврежденной артерии или венозного застоя из дренируемого сегмента (при сшивании вены), а также облегчить наложение сосудистого шва хирургам, не имеющим достаточной квалификации в сосудистой хирургии.
Перспективы дальнейшей разработки темы
С помощью трехмерного моделирования будет математически рассчитана оптимальная конфигурация разработанного временного шунта, которая при известном материале (медицинский силикон) будет определяться всего двумя переменными: глубиной винтовой насечки трубки (s) и шагом винтовой насечки (t) (рис. 7).
Рис. 7. Технический эскиз временного шунта: s — глубина винтовой насечки трубки; t — шаг винтовой насечки
Fig. 7. Technical sketch of the temporary bypass: s — depth of the tube’s screw notch; t —spacing of the screw notch
В свою очередь, состояние временного шунта можно описать двумя уравнениями с теми же переменными s и t: одно из этих уравнений описывает прочность трубки при внешнем воздействии, а второе — способность разрушаться при определенном механическом воздействии (тракция за один из центральных витков, приводящая к разрушению по принципу домино). Для решения этой задачи планируется создать трехмерную модель временного шунта с целью определения оптимальной конфигурации изделия.
About the authors
Evgeniy M. Trunin
North-Western State Medical University named after I.I. Mechnikov
Email: etrunin@mail.ru
Заведующий кафедрой оперативной клинической хирургии с топографической анатомией, д.м.н., профессор
Russian Federation, 41, Kirochnaya street, Saint-Petersburg, 191015Aleksandr A. Smirnov
North-Western State Medical University named after I.I. Mechnikov
Email: savmeda@yandex.ru
ORCID iD: 0000-0002-2661-3759
SPIN-code: 3149-4081
MD, PhD, Associate Professor of the Department of operative and clinical surgery with topographic anatomy
Project manager, editor of the international periodic scientific and practical peer-reviewed journal "BALTIC FORUM OF CONTEMPORARY ENDOCRINOLOGY"
Russian Federation, 41, Kirochnaya street, Saint-Petersburg, 191015Maria A. Nazarova
North-Western State Medical University named after I.I. Mechnikov
Email: nazarovamariia@mail.ru
ORCID iD: 0000-0003-3755-363X
Russian Federation, 41, Kirochnaya street, Saint-Petersburg, 191015
Oleg B. Begishev
North-Western State Medical University named after I.I. Mechnikov
Email: olegbegishev@yandex.ru
ORCID iD: 0000-0001-9687-5992
Russian Federation, 41, Kirochnaya street, Saint-Petersburg, 191015
Vladislav V. Tatarkin
North-Western State Medical University named after I.I. Mechnikov
Email: vlad1k2@yandex.ru
ORCID iD: 0000-0002-9599-3935
SPIN-code: 5008-4677
Russian Federation, 41, Kirochnaya street, Saint-Petersburg, 191015
Vladimir P. Shulga
North-Western State Medical University named after I.I. Mechnikov
Email: vshulga@mail.ru
Russian Federation, 41, Kirochnaya street, Saint-Petersburg, 191015
Artur L. Ovsepyan
Saint Petersburg Electrotechnical University LETI
Email: aqturovsepyan@gmail.com
ORCID iD: 0000-0002-4050-214X
Russian Federation, 5, Professor Popov street, Saint-Petersburg, 197376
Victoria A. Stepanova
North-Western State Medical University named after I.I. Mechnikov
Email: victoria.stepanova.97@mail.ru
ORCID iD: 0000-0001-7469-5755
Russian Federation, 41, Kirochnaya street, Saint-Petersburg, 191015
Pavel A. Sizov
North-Western State Medical University named after I.I. Mechnikov
Author for correspondence.
Email: dunkfree12@gmail.com
ORCID iD: 0000-0001-9886-1850
Russian Federation, 41, Kirochnaya street, Saint-Petersburg, 191015
References
- Штейнле А.В., Дудузинский К.Ю., Ефтеев Л.А., и др. Временное протезирование при ранениях магистральных сосудов конечностей (аналитический обзор) // Сибирский медицинский журнал (г. Томск). – 2008. – Т. 23. − № 4-2. – С. 120−129. [Shteinle AV, Doudouzinski KYu, Yefteyev LA, et al. Temporal prosthetics in wounds of the extremities main vessels. Siberian medical journal. 2008;23(4-2):120-129. (In Russ.)]
- Сорока В.В. Ранения сосудов: от мастерства к науке. – СПб.: Береста; 2013. – 448 с. [Soroka VV. Raneniya sosudov: ot masterstva k nauke. Saint Petersburg: Beresta; 2013. 448 р. (In Russ.)]
- Трунин Е.М., Михайлов А.П., Данилов А.М., и др. Лечение повреждений магистральных сосудов шеи // Вестник Санкт-Петербургского университета. Серия «Медицина». − 2007. − № 4. − С. 82−88. [Trunin EM, Mikhailov AP, Danilov AM, et al. Treatment of main neck vessel injuries. Vestnik Sankt-Peterburgskogo universiteta. 2007;(4):82-88. (In Russ.)]
- Патент РФ на изобретение RU 2667876. Трунин Е.М., Назарова М.А., Шульга В.П., и др. Способ и набор инструментов для наложения сосудистого анастомоза по типу «конец в конец» на магистральных сосудах. [Patent RUS No 2667876. Trunin EM, Nazarova MA, Shul’ga VP, et al. Sposob i nabor instrumentov dlya nalozheniya sosudistogo anastomoza po tipu “konets-v-konets” na magistral’nykh sosudakh. (In Russ.)]. Доступно по: https://patentinform.ru/inventions/reg-2667876.html. Ссылка активна на 12.08.2019.
Supplementary files










