Synrift clayey rocks: bulk chemical composition and position on discriminant paleogeodynamic diagrams
- Authors: Maslov A.V.1,2, Podkovyrov V.N.3, Kotova L.N.3
-
Affiliations:
- Zavaritsky Institute of Geology and Geochemistry, Ural Branch, Russian Academy of Sciences
- Institute of Geology – Subdivision of the Ufa Federal Research Centre, Russian Academy of Sciences
- Institute of Precambrian Geology and Geochronology, Russian Academy of Sciences
- Issue: Vol 64, No 6 (2019)
- Pages: 618-633
- Section: Articles
- URL: https://journals.eco-vector.com/0016-7525/article/view/14348
- DOI: https://doi.org/10.31857/S0016-7525646618-633
- ID: 14348
Cite item
Full Text
Abstract
The paper analyzes the bulk chemical composition and distribution of the fields of syn-rift clayey rocks on a number of discriminant paleogeodynamic diagrams. It is shown that, in general, there are significant variations in the bulk chemical composition for syn-rift clayey rocks. Thus, for example, the average SiO2 content varies from 44.74 to 66.42 wt. %, the average content of Al2O3 varies from 16.62 to 29.92 wt. %, and the K2Oaver are in the range 0.24 ... 5.77 wt. %. Based on the distribution of the figurative points of the syn-rift clayey rocks of various objects/riftogenous structures in the F1–F2 diagram, it can be assumed that the sources of fine aluminosilicoclastic were magmatic and sedimentary rocks of a wide range of compositions. The substantial overlap of the fields of various objects in the classification diagrams [(Na2O + K2O)/Al2O3]–[(Fe2O3tot + MgO)/SiO2] and K/Al–Mg/Al indicates, in general, the similarity of the compositions of the syn-rift fine-grained clastic rocks of various types of riftogenic structures. The localization of the composition fields of the clayey rocks of different riftogenous structures on such discriminant paleogeodynamic diagrams as K2O/Na2O–SiO2/Al2O3 and SiO2–K2O/Na2O suggests that they do not allow correctly distinguishing between syn-rift clayey rocks and fine-grained rosks of other geodynamic environments. The position of the syn-rift clayey rocks fields presented in our database on the diagram DF1–DF2 has its own characteristics. In most cases, they occupy a particular position in the areas characterizing collision and rifting environments, and a number of fields are located in all three classification areas of this diagram. A significant part of the midpoints of the syn-rift clayey rocks is localized in the DF1–DF2 diagram in the collision field. It seems that all of the above indicates that the DF1–DF2 diagram also does not allow us to obtain a correct information about the geodynamic nature of terrigenous associations.
Full Text
ВВЕДЕНИЕ
Настоящая статья продолжает серию публикаций о валовом химическом составе терригенных пород и положении образуемых их фигуративными точками полей на различных дискриминантных диаграммах, позволяющих, по мнению значительного числа специалистов, более или менее корректно реконструировать палеогеодинамические обстановки формирования осадочных последовательностей (Маслов и др., 2013, 2015, 2016а, 2016б, 2018).
Для интерпретации обстановок формирования осадочных образований в последней трети XX–начале XXI вв. активно привлекаются данные о валовом химическом составе песчаников и глинистых пород. В начале 1980-х гг. был разработан ряд дискриминантных диаграмм, прочно вошедших в практику региональных исследований. Так, в публикации (Maynard et al., 1982) для разграничения отложений активных и пассивных континентальных окраин предложена диаграмма K2O/Na2O–SiO2/Al2O3. В основу построений Дж. Мейнарда с соавторами положено представление о том, что многократно рециклированные, зрелые терригенные образования, свойственные областям со спокойной тектоникой (внутренние области платформ и пассивные континентальные окраины), характеризуются преобладанием K2O над Na2O и SiO2 над Al2O3. Присущие областям активной тектоники незрелые породы (граувакки и им подобные образования), напротив, характеризуются относительно небольшими величинами K2O/Na2O и SiO2/Al2O3.
В целях идентификации геодинамических обстановок накопления палеозойских граувакк Австралии были созданы диаграммы (Fe2O3*+MgO)–K2O/Na2O, (Fe2O3*+MgO)–Al2O3/SiO2 и др. (Bhatia, 1983), а несколько позднее появилась диаграмма SiO2–K2O/Na2O (Roser, Korsch, 1986). На диаграммах М. Бхатиа отчетливо выражена тенденция изменения валовых химических составов терригенных пород от океанических островных дуг к приконтинентальным, и далее — к породам континентальных окраин разных типов: снижение TiO2 и Fe2O3*+MgO, а также Al2O3/SiO2 и рост K2O/Na2O и Аl2О3/(СаО+Na2O). Примерно такой же принцип положен и в основу диаграммы SiO2–K2O/Na2O.
В 2013 г. опубликована дискриминантная диаграмма DF1–DF2 для терригенных пород с высоким (63%–95%) и низким (35%–63%) содержанием SiO2adj1 (Verma, Armstrong-Altrin, 2013). Эталонными объектами при ее разработке послужили неоген-четвертичные отложения известных тектонических обстановок (Курило-Камчатская, Японская, Филиппинская, Тонга и другие островные дуги; рифты Мексики, Калифорнии, Бразилии, Испании, Китая, Монголии и др.; коллизионные зоны Непала, Индии, Италии, Сербии и др.). Для диаграммы с 63% < (SiO2)adj < 95% «проценты соответствия» для образцов из островодужных, рифтогенных и коллизионных обстановок варьировали в пределах 94–96%, 79–85% и 83–88%. Для диаграммы с (SiO2)adj от 35% до 63% для тех же обстановок «проценты соответствия» равны ~90%, 75–92% и 96–100% (Verma, Armstrong-Altrin, 2013).
В настоящей статье мы рассматриваем валовый химический состав синрифтовых/выполняющих рифтогенные структуры глинистых пород. Знакомство с большим числом публикаций последних лет, посвященных этому типу осадочных образований, показывает, что в них представлены данные: 1) только по составу синрифтовых песчаников (Evans, 1990; Cullers, Berendsen, 1998; Vdačný et al., 2013; Elzien et al., 2014 и др.) (ситуация 1); 2) по составу синрифтовых песчаников и ассоциирующих с ними глинистых пород (Condie et al., 2001; Cullers, Podkovyrov, 2002; Ngueutchoua et al., 2017 и др.) (ситуация 2); 3) только по составу синрифтовых тонкозернистых обломочных пород (Harris, 2000; Ghandour et al., 2003; Paikaray et al., 2008; Ghosh, Sarkar, 2010 и др.) (ситуация 3). Первая ситуация рассмотрена в работе (Маслов и др., 2018), анализ второй содержится в статье, направленной в печать, третья обсуждается в данной публикации.
ОБЪЕКТЫ ИССЛЕДОВАНИЯ
Приводимые ниже сведения основаны на собранном нами банке данных о валовом химическом составе глинистых пород 17 осадочных последовательностей (рис. 1), выполняющих различные типы рифтовых структур. Основным инструментом исследований, как и ранее (Маслов и др., 2018), являлся анализ положения полей фигуративных точек составов глинистых пород (аргиллитов/глинистых сланцев/метапелитов) (учтено более 500 полных химических анализов), представляющих интракратонные рифты2 (объекты №№ 2, 70, 78, 80, 84 и 87; здесь и далее приведены номера объектов в нашем банке данных. Они же показаны на иллюстрациях. Общее число объектов в банке данных больше, чем обсуждается в данной работе), рифты, сформированные на ранних этапах распада суперконтинентов (объекты №№ 47, 74, 76, 79, 81, 83, 86 и 88), пулл-апарт бассейны (№ 75) и рифтовые структуры, так или иначе связанные с процессами субдукции (№ 77) и коллапсом орогенов (№ 82) на таких дискриминантных палеогеодинамических диаграммах, как K2O/Na2O–SiO2/Al2O3 (Maynard et al., 1982), SiO2–K2O/Na2O (Roser, Korsch, 1986) и DF1–DF2 (Verma, Armstrong-Altrin, 2013).
Рис. 1. Рифтогенные структуры, аналитические данные для глинистых пород которых рассмотрены в настоящей работе, географическая основа по (Verma, Armstrong-Altrin, 2013) с некоторыми изменениями. Объект № 2 – серия Юинта Маунтин; № 47 – формация Тину; № 70 – серии Асу Ривер и Кросс Ривер; № 74 – формации Бир Магхара и Сафа; № 75 – осадочное выполнение бассейна Сатпура; № 76 – то же бассейна Конго; № 77 – нижний миоцен, Юго-Западная Япония; № 78 – осадочное выполнение бассейна Олите; № 79 – то же бассейна Кришна-Годавари; № 80 – нижний виндий, долина р. Сон; № 81 – верхний триас-нижняя юра гор Пелоритани; № 82 – эоцен-олигоцен Фракийского бассейна; № 83 – средний триас-верхняя юра Внутренних Доменов запада Центрального Средиземноморья; № 84 – нижний виндий, Юго-Восточный Раджастан; № 86 – формация Джонни; № 87 – формация Тадкешвар; № 88 – средний-верхний триас Рифского сектора Магрибской цепи.
К рассматриваемым далее образованиям относятся глинистые породы: 1) неопротерозойской серии Юинта Маунтин, США (объект № 2) (Condie et al., 2001); 2) ордовикской (тремадок) формации Тину, Южная Мексика (№ 47) (Murphy et al., 2005); 3) серий Асу Ривери Кросс Ривер Нижнего трога Бенуэ, Юго-Восточная Нигерия (№ 70) (Adeigbe, Jimoh, 2013); 4) формаций Бир Магхара и Сафа, байос-бат, Северный Синай, Египет (№ 74) (Ghandour et al., 2003); 5) осадочного выполнения бассейна Сатпура, пермь-триас, Центральная Индия (№ 75) (Ghosh, Sarkar, 2010); 6) бассейна Конго, нижний мел, Западная Африка (№ 76) (Harris, 2000); 7) основания разреза Японского моря, нижний миоцен, Юго-Западная Япония (№ 77) (Ishiga et al., 1999); 8) бассейна Олите, альб, Северо-Восточная Испания (№ 78) (Lopez et al., 2005); 9) бассейна Кришна-Годавари, Бенгальский залив, Индия (№ 79) (Mazumdar et al., 2015); 10) нижнего виндия, палеопротерозой?-мезопротерозой, долина р. Сон, Центральная Индия (№ 80) (Paikaray et al., 2008); 11) верхнего триаса-нижней юры гор Пелоритани, Северо-Восточная Сицилия, Южная Италия (№ 81) (Perri et al., 2011); 12) Фракийского бассейна, эоцен-олигоцен, Северо-Восточная Греция (№ 82) (Perri et al., 2015); 13) среднего триаса-верхней юры Внутренних Доменов запада Центральносредиземноморского региона (№ 83) (Perri, Ohta, 2014); 14) нижнего виндия, палеопротерозой?-мезопротерозой, Юго-Восточный Раджастан, Индия (№ 84) (Raza et al., 2002); 15) неопротерозойской формации Джонни, Юго-Восточная Калифорния (№ 86) (Schoenborn, Fedo, 2011); 16) формации Тадкешвар, нижний эоцен, бассейн Камбей, Индия (№ 87) (Pundaree et al., 2015); 17) Рифского сектора Магрибской цепи, средний-верхний триас, Морокко (объект № 88) (Zaghloul et al., 2010). Средние, минимальные и максимальные содержания основных породообразующих оксидов в синрифтовых глинистых породах перечисленных объектов приведены в таблице.
Таблица. Средние. минимальные и максимальные содержания (мас.%) основных породообразующих оксидов в синрифтовых глинистых породах различных объектов
Компоненты | Объекты | ||||||||
2 | 47 | 70 | 74 | 75 | 76 | 77 | 78 | 79 | |
SiO2 | 62.98±4.13 56.03–69.79 | 65.69±3.01 61.91–69.49 | 60.26±2.47 55.78–65.41 | 59.44±6.95 41.65–69.68 | 63.60±2.64 56.98–67.97 | 61.55±3.31 55.04–66.06 | 66.09±3.38 57.61–69.83 | 61.08±5.09 52.71–69.05 | 59.16±1.79 55.47–64.54 |
TiO2 | 1.06±0.09 0.97–1.29 | 1.16±0.17 0.97–1.39 | 1.11±0.21 0.58–1.82 | 1.78±0.56 0.50–2.70 | 0.98±0.23 0.72–1.61 | 0.79±0.04 0.71–0.86 | 0.86±0.21 0.62–1.40 | 1.05±0.10 0.90–1.24 | 1.62±0.16 1.31–2.29 |
А12O3 | 21.99±2.69 16.46–26.85 | 18.51±3.26 15.84–22.29 | 22.47±3.27 15.49–32.41 | 24.50±6.69 9.00–36.00 | 21.59±3.99 15.68–28.92 | 16.62±2.95 12.97–21.18 | 17.40±1.66 13.79–20.06 | 28.81±4.28 22.20–36.63 | 18.91±0.86 15.99–20.63 |
Fe2O3общ | 6.60±1.73 3.12–8.92 | 8.05±2.10 5.29–10.78 | 8.34±2.58 4.65–14.52 | 6.74±4.07 2.42–18.70 | 7.06±2.87 0.76–12.97 | 8.05±1.38 5.63–10.11 | 8.20±3.51 4.11–16.08 | 4.17±2.35 1.67–11.13 | 12.40±1.15 9.66–15.51 |
MnO | 0.02±0.01 0.01–0.04 | 0.04±0.02 0.01–0.05 | 0.06±0.04 0.01–0.13 | 0.06±0.03 0.03–0.15 | 0.10±0.09 0.02–0.45 | 0.12±0.02 0.10–0.15 | 0.07±0.02 0.04–0.13 | 0.03±0.02 0.01–0.06 | 0.07±0.04 0.02–0.20 |
MgO | 2.02±0.84 0.94–3.31 | 1.13±0.25 0.79–1.45 | 1.98±0.56 0.47–2.66 | 1.23±0.52 0.50–2.50 | 2.04±1.09 0.52–4.15 | 4.97±0.84 3.79–6.80 | 2.27±0.63 1.49–3.26 | 0.76±0.19 0.55–1.22 | 3.08±0.61 1.98–4.48 |
CaO | 0.23±0.17 0.05–0.58 | 0.47±0.28 0.16–0.86 | 0.99±0.99 0.05–4.48 | 4.84±6.43 0.40–23.00 | 0.61±0.34 0.19–1.47 | 2.21±0.54 1.19–2.88 | 0.53±0.41 0.24–1.84 | 0.44±0.19 0.17–0.91 | 1.35±0.49 0.36–3.63 |
Na2O | 0.74±0.56 0.07–1.83 | 0.06±0.05 0.02–0.15 | 1.06±0.67 0.05–2.56 | 0.93±0.35 0.10–1.90 | 0.43±0.51 0.06–2.20 | 2.14±0.55 1.31–2.93 | 1.41±0.60 0.53–2.41 | 0.38±0.09 0.23–0.54 | 0.75±0.20 0.29–1.50 |
K2O | 4.26±1.11 2.67–6.49 | 4.55±1.14 3.19–5.93 | 3.22±0.80 1.20–4.44 | 1.09±0.45 0.30–1.90 | 3.50±1.07 1.55–5.20 | 3.22±0.27 2.89–3.87 | 3.00±0.70 1.07–3.89 | 2.98±0.49 2.40–3.97 | 2.49±0.24 1.92–3.13 |
P2O5 | 0.11±0.05 0.05–0.23 | 0.31±0.08 0.23–0.41 | 0.50±0.95 0.08–3.71 | 0.01 | 0.10±0.13 0.02–0.69 | 0.34±0.15 0.19–0.66 | 0.19±0.13 0.08–0.49 | 0.11±0.06 0.05–0.29 | 0.18±0.05 0.06–0.32 |
n | 14 | 5 | 20 | 24 | 30 | 16 | 14 | 14 | 98 |
Компоненты | Объекты | PAAS | |||||||
80 | 81 | 82 | 83 | 84 | 86 | 87 | 88 | ||
SiO2 | 66.42±2.28 61.16–69.92 | 63.99±3.54 53.63–69.48 | 60.69±3.36 55.18–69.03 | 63.33±3.69 53.63–69.80 | 64.42±3.86 60.18–69.88 | 64.19±3.19 55.91–68.69 | 44.74±1.79 42.56–46.91 | 62.53±2.66 56.50–67.10 | 62.80 |
TiO2 | 0.78±0.16 0.49–1.20 | 0.86±0.10 0.65–1.13 | 0.94±0.17 0.64–1.28 | 0.91±0.11 0.63–1.17 | 0.73±0.14 0.61–1.02 | 1.28±1.14 0.70–5.82 | 8.80±1.60 4.88–10.85 | 0.94±0.07 0.82–1.14 | 1.00 |
А12O3 | 19.14±2.13 13.93–22.92 | 20.64±1.92 17.81–25.37 | 18.85±3.93 11.01–31.65 | 20.41±1.87 14.01–25.37 | 19.47±2.51 14.62–22.63 | 18.62±2.80 12.74–22.82 | 29.92±8.68 21.26–41.71 | 21.13±1.50 18.23–23.81 | 18.90 |
Fe2O3общ | 5.75±1.11 2.52–7.84 | 7.12±1.21 5.52–10.89 | 8.49±3.29 3.99–19.72 | 7.28±1.36 3.09–10.89 | 7.09±2.46 4.56–13.03 | 7.36±1.79 3.80–10.74 | 8.68±5.51 1.62–16.36 | 7.40±1.06 4.70–9.52 | 7.15 |
MnO | 0.04±0.02 0.02–0.10 | 0.01±0.01 0.01–0.07 | 0.17±0.21 0.03–1.07 | 0.04±0.05 0.01–0.21 | 0.05±0.01 0.03–0.07 | 0.05±0.06 0.01–0.26 | 0.07±0.07 0.01–0.25 | 0.05±0.03 0.02–0.13 | – |
MgO | 2.33±1.25 1.17–6.82 | 1.57±0.31 1.17–2.69 | 4.88±2.51 1.32–13.40 | 2.40±1.49 1.09–12.15 | 2.71±1.46 0.40–4.55 | 2.18±1.01 0.71–5.06 | 5.78±2.48 2.98–9.17 | 2.68±0.59 1.67–4.53 | 2.20 |
CaO | 1.28±0.41 0.87–2.92 | 0.05±0.05 0.01–0.21 | 1.26±0.45 0.41–1.99 | 0.27±0.22 0.01–0.96 | 0.22±0.07 0.14–0.32 | 0.43±0.53 0.01–1.80 | 1.33±0.80 0.37–2.98 | 0.29±0.17 0.08–0.89 | 1.30 |
Na2O | 0.53±0.10 0.31–0.74 | 0.30±0.11 0.15–0.61 | 1.15±0.61 0.14–2.97 | 0.33±0.19 0.14–0.90 | 0.19±0.07 0.07–0.30 | 0.64±0.57 0.06–2.08 | 0.28±0.07 0.16–0.45 | 0.52±0.24 0.19–0.90 | 1.20 |
K2O | 3.68±1.28 1.60–6.98 | 5.41±0.82 3.63–7.35 | 3.44±1.04 1.40–5.58 | 4.95±1.00 2.80–7.35 | 5.06±0.97 3.66–6.35 | 5.77±1.32 4.42–9.25 | 0.24±0.21 0.07–0.65 | 4.36±1.19 2.80–6.35 | 3.70 |
P2O5 | 0.06±0.04 0.01–0.18 | 0.04±0.02 0.02–0.09 | 0.14±0.06 0.05–0.28 | 0.07±0.05 0.01–0.29 | 0.08±0.01 0.05–0.09 | 0.16±0.13 0.03–0.52 | 0.08±0.04 0.05–0.18 | 0.10±0.06 0.02–0.29 | 0.16 |
n | 49 | 29 | 26 | 105 | 9 | 22 | 14 | 23 | |
Примечания. Содержания всех оксидов приведены к 100% сухого вещеста. n – количество проб в выборке. Прочерк – нет данных.
В данной работе, как и ранее, нами использована систематика рифтов Дж. Шенгёра (Sengör, 1995; Sengör, Natal’in, 2001), сочетающая
геометрический, кинематический и динамический подходы (рис. 2). В рамках первого выделяются небольшие рифты, рифтовые звезды, цепочки, кластеры и сети. К наиболее крупным категориям структур в рамках кинематического подхода относятся внутриплитные рифты (категория k1), рифты на дивергентных (k2), консервативных (k3) и конвергентных границах плит (k4), а также тройные их сочленения (k5). В свою очередь, рифты на дивергентных границах плит включают структуры, образованные вследствие сводообразования (k21, рифтовые долины Восточной Африки), и те, что не связаны с предрифтовым сводообразованием (k22, трог Солтон, Южная Калифорния). Рифты на консервативных границах плит объединяют структуры, сформированные в транстенсивных обстановках (k31), пулл-апарт бассейны (k32) и клинораздвиги (k33). Рифты на конвергентных границах ассоциируют либо с зонами субдукции (k41), либо с зонами континентальной коллизии (k42). Первые включают рифты, связанные с вулканическими дугами, испытывающими растяжение (k411, трог Окинава, Идзу-Бонинская дуга), рифты «нейтральных» дуг (k412) и структуры, локализованные в дугах, находящихся на стадии сжатия (k413). К рифтам, приуроченным к зонам континентальной коллизии, принадлежат импактогены (k421, Верхнерейнский грабен, рифты Осло и Викинг), структуры, образованные в интраконтинентальных поясах столкновения (k422), и зоны деформаций, напоминающие поверхность паковых льдов (k423, регион Эгейского моря, Анатолийское плоскогорье) (Sengör, Natal’in, 2001).
ПОЛОЖЕНИЕ СИНРИФТОВЫХ ГЛИНИСТЫХ ПОРОД НА КЛАССИФИКАЦИОННЫХ ДИАГРАММАХ
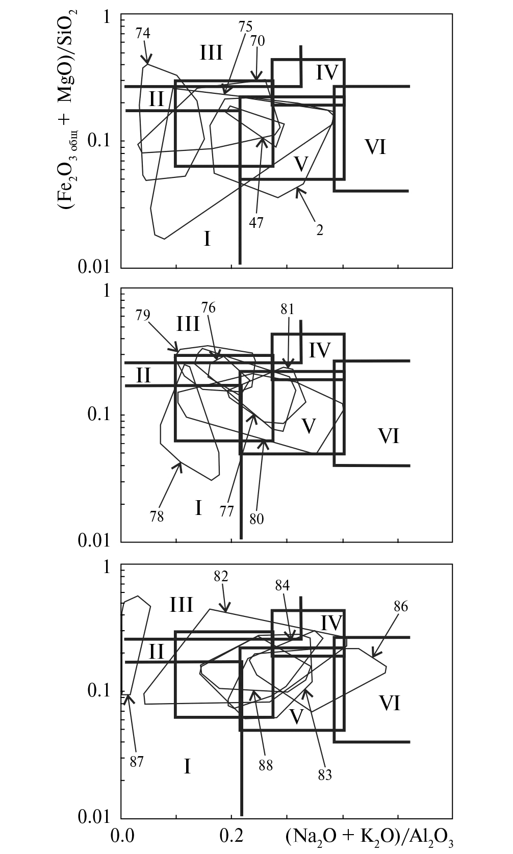
На классификационной диаграмме для глинистых пород [(Na2O+K2O)/Al2O3]–[(Fe2O3общ + MgO)/SiO2] (диаграмма НКМ–ФМ, (Юдович, Кетрис, 2000)) поля составов перечисленных выше объектов сосредоточены в основном в областях I (преимущественно каолинитовые глины), II (преимущественно смектитовые с примесью каолинита и гидрослюды глины), IV (хлорит-гидрослюдистые глины) и V (хлорит-смектит-гидрослюдистые глины) (рис. 3). При этом наблюдается значительное перекрытие большинства полей, что указывает на сходство составов синрифтовых глинистых пород различного возраста, выполняющих различные типы рифтогенных структур. Небольшое количество фигуративных точек глинистых пород различных объектов присутствует в областях III (преимущественно хлоритовые с примесью Fe-гидрослюд глины) и VI (гидрослюдистые со значительной примесью дисперсных полевых шпатов глины, объект № 86). Глинистые образования формации Тадкешвар (№ 87), «протолитом» для которых выступали породы основного и/или ультраосновного состава, что следует из свойственных им высоких содержаний Fe2O3 (среднее – 8.68%), MgO (среднее – 5.78%) и TiO2 (среднее – 8.80%) и низких концентраций SiO2 (среднее – 44.74%), характеризуются значениями (Na2O+K2O)/Al2O3 < 0.1 и занимают на этой и ряде других диаграмм обособленную позицию.
Рис. 2. Систематика рифтов по (Sengör, 1995; Sengör, Natal’in, 2001) с некоторыми упрощениями. Серой заливкой показаны категории рифтов, о глинистых породах осадочного заполнения которых идет речь в данной работе.
Рис. 3. Положение полей состава глинистых пород различных рифтогенных структур на диаграмме [(Na2O + K2O)/Al2O3]–[(Fe2O3* + MgO)/SiO2]. Номера полей здесь и далее соответствуют рассматриваемым в данной работе объектам, см. рис. 1. I–VI – области глин разного состава (I – преимущественно каолинитовых; II – преимущественно смектитовых с примесью каолинита и гидрослюды; III – преимущественно хлоритовых с примесью Fe-гидрослюд; IV – хлорит-гидрослюдистых; V – хлорит-смектит-гидрослюдистых; VI – гидрослюдистых со значительной примесью дисперсных полевых шпатов).
Рис. 4. Положение полей состава синрифтовых глинистых пород на диаграмме K/A–Mg/Al (пунктирными линиями здесь и далее показаны поля, образованные породами, подвергшимися воздействию процессов К-метасоматоза).
Распределение полей состава синрифтовых глинистых пород на классификационной диаграмме K/Al–Mg/Al (Turgeon, Bramsack, 2006) (рис. 4) позволяет сделать вывод, что подавляющее большинство их принадлежит гидрослюдистым глинам с той или иной примесью хлорита и каолинита. Более или менее существенная доля первого при крайне низком содержании полевых шпатов характерна, по всей видимости, для глинистых пород нижнеэоценовой формации Тадкешвар, тогда как второго – для байос-батских отложений Северного Синая (№ 74) и отчасти эоцен-олигоценовых отложений Фракийского бассейна (№ 82).
ОБЩИЕ ОСОБЕННОСТИ ВАЛОВОГО ХИМИЧЕСКОГО СОСТАВА СИНРИФТОВЫХ ГЛИНИСТЫХ ПОРОД
Средние содержания оксида кремния в синрифтовых глинистых породах, представленных в нашей выборке, варьируют от 44.74 до 66.42 мас.% (в среднем постархейском глинистом сланце, PAAS (Тейлор, МакЛеннан, 1988)), содержание SiO2 62.80 мас.%). В глинистых породах формации Тадкешвар среднее содержание TiO2 составляет 8.80 мас.%; в тонкозернистых обломочных породах остальных 16 объектов параметр TiO2сред. изменяется от 0.73 до 1.78 мас.%. Минимальное среднее содержание Al2O3 (16.62 мас.%) присуще глинистым породам нижнего мела бассейна Конго (№ 76), максимальное (29.92 мас.%) характерно для тонкозернистых обломочных пород формации Тадкешвар (№ 87); содержание оксида алюминия в PAAS равно 18.90 мас.%. Величина Fe2O3общварьирует от 4.17 мас.% (№ 78) до 12.40 мас.% (№79). Существенные вариации характерны для средних содержаний MgO и CaO(соответственно 0.76–5.78 мас.% и 0.05 – 4.84 мас.%). Это же свойственно Na2O (0.06–2.14 мас.%; в PAAS – 1.20 мас.%) и K2O (0.24–5.77 мас.%; в PAAS – 3.70 мас.%). Сопоставление средних содержаний основных породообразующих оксидов в синрифтовых глинистых породах с содержанием их в PAAS приведено на рис. 5.
Одним из принципиальных вопросов при интерпретации валовых химических составов тонкозернистых обломочных пород является вопрос о влиянии на них калиевого метасоматоза. Последний ведет, как правило, к существенному завышению содержаний K2O, и, соответственно, искажению индикаторных отношений (Na2O+K2O)/Al2O3, K/Al, K2Oобр./K2OPAAS, K2O/Na2O), величин разнообразных дискриминантных функций и др. (Fedo et al., 1995 и др.). Для разграничения глинистых пород, затронутых и не затронутых процессами К-метасоматоза, часто используется диаграмма K2O/Na2O–SiO2/Al2O3 (Bolnar et al., 2005), на которой породы с признаками влияния К-метасоматоза локализованы в области значений K2O/Na2O > 20, а близкие к 8–10 величины SiO2/Al2O3рассматриваются как свидетельство воздействия на глинистые породы процессов окремнения.
В имеющейся в нашем распоряжении выборке синрифтовых глинистых пород в соответствии с приведенными выше критериями, несомненно преобразованными процессами калиевого метасоматоза являются отложения формации Тину и глинистые сланцы нижнего виндия Юго-восточного Раджастана (№№ 47 и 84) (рис. 6), а тонкозернистые обломочные породы объектов 2, 75, 70, 81, 83, 86 и 88, по всей видимости, изменены указанными процессами в той или иной степени. В целом же этот вопрос сложнее, чем представляется, так как присутствие в тонкозернистых обломочных породах обломочного (тонкорастертого) калиевого полевого шпата ведет во многих ситуациях к существенному росту величины K2O/Na2O.
Рис. 5. Содержания основных породообразующих оксидов в синрифтовых глинистых породах, нормированные к PAAS.
Рис. 6. Положение полей фигуративных точек состава синрифтовых глинистых пород на диаграмме K2O/Na2O–SiO2/Al2O3. Серый фон – область значений K2O/Na2O и SiO2/Al2O3, позволяющих предполагать, по представлениям (Bolnar et al., 2005), воздействие на породы процессов калиевого метасоматоза и окремнения.
ИСТОЧНИКИ МАТЕРИАЛА ДЛЯ СИНРИФТОВЫХ ГЛИНИСТЫХ ПОРОД (РЕКОНСТРУКЦИЯ ПО ВАЛОВОМУ ХИМИЧЕСКОМУ СОСТАВУ)
На диаграмме F1–F2 (Roser, Korsch, 1988), позволяющей судить о составе пород-источников тонкозернистой алюмосиликокластики, можно видеть в целом два типа распределения полей состава глинистых пород различных рифтогенных структур (рис. 7). Первый характеризуется приуроченностью подавляющей части фигуративных точек индивидуальных проб того или иного объекта к одной области названной диаграммы. Так, например, поля синрифтовых глинистых пород Северного Синая и бассейна Кришна-Годавари (№№ 74 и 79) тяготеют к области составов, источником тонкой алюмосиликокластики для которой выступали основные магматические породы. Поля тонкозернистых обломочных образований серий Асу Ривер и Кросс Ривер Нижнего трога Бенуэ и альбских аргиллитов бассейна Олите (№№ 70 и 77) приурочены к области составов диаграммы F1–F2, считающейся сложенной продуктами разрушение магматических пород среднего состава, тогда как поле глинистых пород нижнего эоцена бассейна Камбей (№ 87) расположено в области значений F1 и F2, свойственных составам, сформированным за счет размыва осадочных источников.
Рис. 7. Положение полей глинистых пород различных рифтогенных структур на диаграмме F1–F2.
Второй тип распределения полей состава глинистых пород различных рифтогенных структур – расположение их в нескольких областях диаграммы, что предполагает существование в областях размыва существенно более пестрых по составу ассоциаций пород-источников тонкой алюмосиликокластики. Так, например, фигуративные точки глинистых пород перми и триаса бассейна Сатпура (№ 75) распределены в областях, источниками тонкой алюмосиликокластики для которых выступали, по всей видимости, магматические породы основного, среднего и кислого состава. Точки глинистых пород нижнего виндия долины р. Сон (№ 80) присутствуют во всех четырех областях диаграммы F1–F2. Это же свойственно тонкозернистым обломочным образованиям среднего триаса-верхней юры запада Центральносредиземноморского региона (№ 83).
ПОЛОЖЕНИЕ ПОЛЕЙ СОСТАВА СИНРИФТОВЫХ ГЛИНИСТЫХ ПОРОД НА РЯДЕ ДИСКРИМИНАНТНЫХ ПАЛЕОГЕОДИНАМИЧЕСКИХ ДИАГРАММ
Диаграмма Мейнарда с соавторами. Одной из первых дискриминантных палеогеодинамических диаграмм, в которой использована информация о валовом химическом составе песчаников и глинистых пород, является диаграмма K2O/Na2O–SiO2/Al2O3 (Maynard et al., 1982). Для ее разработки были привлечены данные о химическом составе современных глубоководных песков и ассоциирующих с ними пелитовых осадков различных островодужных обстановок (сдвиговых, преддуговых, задуговых, континентальных и выдвинутых в океан дуг и др.). Учтены также данные о составе древних граувакковых песчаников. Очевидно, что использовать эту диаграмму для расшифровки палеогеодинамических обстановок формирования синрифтовых глинистых пород, по всей видимости, нельзя, так как степень неопределенности полученных результатов может быть весьма высокой. Тем не менее мы показали расположение на диаграмме K2O/Na2O–SiO2/Al2O3 (в рисовке (Roser, Korsch, 1986; Hassan et al., 1999; Ghosh, Sarkar, 2010)) средних точек состава глинистых пород, выполняющих различные рифтогенные структуры (рис. 8). Точки 16-ти из 17 объектов локализованы на ней в области составов, характерных для обстановок пассивных континентальных окраин, и только средняя точка глинистых пород нижнего эоцена бассейна Камбей (№ 87) оказалась в области составов, отвечающих обстановкам активных континентальных окраин, хотя, по данным (Pundaree et al., 2015), указанный бассейн считается принадлежащим к категории интракратонных рифтов.
Следует подчеркнуть, что в распределении средних точек тонкозернистых обломочных пород в области составов пассивной континентальной окраины нет какой-либо определенной закономерности. Так, например, глинистые породы рифтовых структур ранних стадий раскрытия океанических бассейнов могут характеризоваться как весьма высокими (~76, № 47), так и достаточно низкими (~1.2 и 1.5, №№ 74 и 76) величинами K2O/Na2Oсред. Это же свойственно глинистым породам интракратонных рифтов (K2O/Na2Oмин. ~3.0, объект № 70; K2O/Na2Oмакс. = 26.6, объект № 84).
Рис. 8. Положение средних точек глинистых пород различных рифтогенных структур на диаграмме K2O/Na2O–SiO2/Al2O3. 1 – интракратонные рифты; 2 – рифтовые структуры ранних стадий раскрытия океанических бассейнов; 3 – пулл-апарт структуры; 4 – рифтовые структуры ранних стадий формирования краевых морей; 5 – рифтогенные структуры, формирующиеся на стадии коллапса орогенов. Цифры в квадратиках и других значках соответствуют номерам рассматриваемых в данной работе объектов.
Рис. 9. Положение полей фигуративных точек глинистых пород различных рифтогенных структур на диаграмме SiO2–K2O/Na2O.
Рис. 10. Положение полей фигуративных точек состава синрифтовых глинистых пород различных объектов на диаграмме DF1–DF2: (а) – породы с содержанием SiO2 > 63%, (б) и (в) – породы с содержанием SiO2 < 63%.
Диаграмма Розера и Корша. На диаграмме SiO2–K2O/Na2O (Roser, Korsch, 1986) поля индивидуальных точек синрифтовых глинистых пород распределены во всех трех ее областях (составы, характерные для пассивных континентальных окраин; составы, свойственные обстановкам активных континентальных окраин; то же, присущее приостроводужным бассейнам осадконакопления) (рис. 9). Значительная часть полей (например, поля объектов №№ 2, 70, 74, 75, 76, 77, 78 и 79) охватывает несколько областей данной диаграммы. В некоторых случаях (№№ 70, 74, 77, 79) индивидуальные точки состава глинистых пород присутствуют во всех трех классификационных областях диаграммы SiO2–K2O/Na2O, т.е. если находиться на формальных позициях, в составе одной естественной совокупности тонкозернистых обломочных пород, выполняющей ту или иную рифтогенную структуру, присутствуют образования, имеющие валовый химический состав, характерный как для отложений пассивных и активных континентальных окраин, так и океанических островных дуг. Поверить в реальность такой ситуации весьма трудно, и, следовательно, вывод из сказанного может быть только один – диаграмма SiO2–K2O/Na2O не позволяет корректно разграничить синрифтовые глинистые породы и тонкозернистые обломочные образования других геодинамических обстановок, так как она, так же как и диаграмма K2O/Na2O–SiO2/Al2O3, построена преимущественно на основе данных по валовому химическому составу граувакковых песчаниково-аргиллитовых последовательностей, сформированных в приостроводужных обстановках. Аналитических же данных по различным субобстановкам пассивных окраин в работе (Roser, Korsch, 1986) в целом немного, не разделена на них и область составов соответствующих глинистых пород.
Диаграмма Верма и Армстронга-Алтрина. В начале 2000-х гг. С. Верма и Дж. Армстронг-Алтрин с коллегами провели целую серию специальных исследований, в результате которых был предложен ряд новых подходов к построению дискриминантных палеогеодинамических диаграмм как для магматических, так и для осадочных пород (Armstrong-Altrin, Verma, 2005; Verma et al., 2006; Agrawal et al., 2008; Verma, 2010; Verma, Agrawal, 2011 и др.). Одной из разработанных в результате этих работ диаграмм явилась диаграмма DF1–DF2 для терригенных пород с высоким (63–95 мас.%)3 и низким (35–63 мас.%)4 содержанием SiO2adj (Verma, Armstrong-Altrin, 2013). На ней впервые показана область составов, свойственных рифтогенным обстановкам.
Положение полей синрифтовых глинистых пород из нашего банка данных на этой диаграмме весьма своеобразно. Ни на диаграмме для пород с высоким содержанием SiO2 (рис. 10а), ни на диаграмме для пород с содержанием SiO2 < 63 мас.% (рис. 10б, в) практически ни одно из полей, за исключением поля тонкозернистых обломочных пород нижнего мела бассейна Конго (№ 76), не расположено полностью в области составов, свойственных, по представлениям (Verma, Armstrong-Altrin, 2013), для рифтогенных обстановок. В подавляющем большинстве случаев образующие те или иные поля индивидуальные фигуративные точки состава глинистых пород распределяются между областями, характеризующими коллизионные и рифтогенные обстановки. Фигуративные точки, образующие поля двух объектов (№№ 74 и 77), расположены во всех трех классификационных областях диаграммы DF1–DF2. Точки глинистых пород нижнего эоцена формации Тадкешвар (№ 87) сосредоточены как в области, типичной для составов терригенных пород коллизионных обстановок, так и в области составов, характерных для островодужных пород. На диаграммах K2O/Na2O–SiO2/Al2O3 и SiO2–K2O/Na2O последние также занимают, как мы видели выше, обособленное положение, располагаясь соответственно в полях активных континентальных окраин и океанических островных дуг.
Рис. 11. Средние точки состава синрифтовых глинистых пород различных структур (номера в квадратиках) на диаграмме DF1–DF2: (а) – породы с содержанием SiO2 > 63%, (б) – породы с содержанием SiO2 < 63%. 1 – линии с торцевыми ограничениями – величины стандартного отклонения.
Не «спасает ситуацию» и обращение к анализу распределения на указанных диаграммах средних точек состава синрифтовых глинистых пород (рис. 11). Большинство таких точек локализовано на диаграмме DF1–DF2 в области составов, характерных для коллизионных обстановок. Средние точки объектов №№ 76, 78, 79 и 86 расположены в области составов, типичных для терригенных пород рифтогенных обстановок, но при этом тяготеют к линии, разделяющей области рифтогенных и коллизионных осадочных образований. Средняя точка глинистых пород нижнего эоцена бассейна Камбей и здесь попадает в область составов, свойственных островодужным обстановкам (см. рис. 11б).
ОБСУЖДЕНИЕ МАТЕРИАЛОВ И ЗАКЛЮЧЕНИЕ
Анализу процессов осадконакопления в рифтовых структурах различных типов посвящено множество публикаций (Логачев, 1968, 1977 и др.; Милановский, 1976, 1983 и др.; Грачев, 1987; Казьмин, 1987; Маслов, 1994; Леонов, 2001; Леонов, Волож, 2004; Чамов, 2016; Illies, Greiner, 1978; McKenzie, 1978; Crossley, 1984; Quinlan, 1987; Rosendahl, 1987; Morley, 1989; Ingersoll et al., 1990; Woelk, Hinze, 1991; Schlishe, 1991; Van Schmus, 1992; Ziegler, 1994; Continental…, 1995; Sengör, 1995; Arribas et al., 2003, 2007; Ziegler,Cloetingh, 2004; Corti, 2009 и др.). Формирование осадочного выполнения рифтовых бассейнов тесно связано с тектоническими процессами, контролирующими объем и архитектуру аккомодационного пространства, и является в существенной степени процессом сравнительно быстрым, неравновесным и незавершенным, что ведет к появлению пестрых по петрографическому (Zuffa et al., 1980; Hiscott et al., 1990; Ingersoll et al., 1990; Garzanti et al., 2001; Ziegler et al., 2001; Wilson et al., 2001; Arribas et al., 2003, 2007 и др.) и валовому химическому составу осадочных образований (Маслов и др., 2018 и др.). К сожалению, последняя проблема не получила широкого освещения в геологической литературе. Связано это с тем, что долгое время информация о валовом химическом составе осадочных пород в отличие от аналогичных сведений для магматических образований не считалась в какой-либо степени важной для анализа процессов формирования осадочного выполнения различных типов бассейнов. Такие данные стали накапливаться только в последние 15–20 лет.
Выполненный нами (Маслов и др., 2018) анализ валового химического состава и особенностей распределения полей синрифтовых песчаников (ситуация 1, см. выше) на ряде широко используемых в настоящее время классификационных и дискриминантных палеогеодинамических диаграмм позволил установить следующее. Поля синрифтовых песчаников характеризуются широким разбросом значений log(SiO2/Al2O3) и log(Na2O/K2O); некоторые из них не соответствуют типовым областям песчаников классификационной диаграммы (Петтиджон и др., 1976). Распределение полей составов и средних точек синрифтовых песчаниковых ассоциаций на диаграмме F1–F2 (Bhatia, 1983; Bhatia, Crook, 1986) позволяет сделать вывод о формировании их преимущественно за счет размыва богатых кварцем осадочных пород и кислых магматических образований. На диаграммах М. Бхатиа и К. Крука, а также Б. Розера и Р. Корша и поля, и средние точки составов синрифтовых песчаников в основном расположены в области составов терригенных пород, характерных для пассивных континентальных окраин. На диаграмме С. Верма и Дж. Армстронга-Алтрина DF1–DF2 поля песчаников ~80% объектов из нашего банка данных локализованы в области составов, отнесенной названными авторами к категории «свойственных рифтогенным обстановкам».
Сопоставление валового химического состава синрифтовых песчаников и ассоциирующих с ними глинистых пород (ситуация 2) и анализ распределения образуемых ими естественных полей на диаграммах log(SiO2/Al2O3)–log(Na2O/K2O), SiO2–K2O/Na2O и DF1–DF2 показали, что представленные в нашем банке данных песчаники принадлежат преимущественно к грауваккам, лититам, аркозам и субаркозам. Существенно меньше среди них сублититов и кварцевых аренитов. Заметную долю в проанализированной выборке, так же как и в рассмотренном выше случае собственно синрифтовых песчаников, составляют псаммиты со значениями log(Na2O/K2O) < -1.0, не вписывающиеся в типовые поля песчаников на классификационной диаграмме Ф.Дж. Петтиджона с соавторами. Это подтверждает сделанный ранее на основе минералого-петрографических исследований вывод о том, что осадочное выполнение рифтогенных структур представлено относительно незрелыми песчаниками, обломочный каркас которых сформирован за счет размыва разнообразных по составу магматических и осадочных образований. Синрифтовые глинистые породы сложены более зрелым материалом, источниками которого, как это следует из положения их фигуративных точек на диаграмме F1–F2 (Roser, Korsch, 1988), выступали преимущественно осадочные образования. Установлено, что распределение полей синрифтовых песчаников и глинистых пород на диаграмме SiO2–K2O/Na2O (Roser, Korsch, 1986) не имеет каких-либо выраженных индивидуальных особенностей. Фигуративные точки терригенных пород рифтогенных структур локализованы на ней преимущественно в областях состава, характерных для пассивных и активных континентальных окраин. На диаграмме DF1–DF2 большинство естественных полей синрифтовых псаммитов и ассоциирующих с ними глинистых пород расположено в областях составов, характерных для рифтогенных и коллизионных обстановок, т.е. выполняющие различные типы рифтогенных структур песчано-глинистые породы несут в своем валовом химическом составе признаки обеих обстановок. Однако нам такая ситуация представляется маловероятной.
Рис. 12. Положение полей фигуративных точек состава терригенных образований (песчаники и глинистые породы), выполняющих различных рифтогенные структуры, на диаграмме DF1–DF2 (SiO2 > 63 мас. %) (а) и распределение на такой же диаграмме средних точек состава синрифтовых песчаников и тонкозернистых обломочных образований (б).
В рассматриваемой нами в настоящей работе ситуации 3 положение точек состава индивидуальных образцов синрифтовых глинистых пород на классификационных диаграммах [(Na2O+K2O)/Al2O3]–[(Fe2O3общ+MgO)/SiO2] и K/Al–Mg/Al показывает, что они сложены преимущественно каолинитом, смектитом, хлоритом и гидрослюдами. Существенное перекрытие полей тонкозернистых обломочных пород различных объектов указывает на сходство составов синрифтовых глинистых пород различных типов рифтогенных структур. В целом для синрифтовых глинистых пород присущи значительные вариации валового химического состава. Так, например, средние содержания SiO2 варьируют от 44.74 до 66.42 мас.%, среднее содержание Al2O3 меняется от 16.62 до 29.92 мас.%, а значения параметра K2Oсред. находятся в пределах 0.24…5.77 мас.%. В проанализированной нами выборке синрифтовых глинистых образований, несомненно преобразованными процессами калиевого метасоматоза являются породы формации Тину и глинистые сланцы нижнего виндия Юго-Восточного Раджастана; глинистые породы ряда других объектов (№№ 2, 75, 70, 81 и др.) изменены указанными процессами в той или иной степени. Исходя из распределения фигуративных точек состава синрифтовых глинистых пород различных объектов на диаграмме F1–F2, можно считать, что источниками тонкой алюмосиликокластики для них являлись магматические породы широкого спектра составов и осадочные образования. На диаграмме K2O/Na2O–SiO2/Al2O3 Дж. Мейнарда с соавторами подавляющее число средних точек состава синрифтовых глинистых пород расположено в области составов, характерных для обстановок пассивных континентальных окраин. На диаграмме SiO2–K2O/Na2O поля индивидуальных точек синрифтовых глинистых пород распределены во всех трех ее классификационных областях, при этом значительная часть полей охватывает две или три области. В такой ситуации формально можно считать, что в составе одной естественной совокупности рифтогенных тонкозернистых обломочных пород присутствуют образования, имеющие валовый химический состав, характерный как для отложений пассивных и активных континентальных окраин, так и океанических островных дуг. Это, однако, достаточно маловероятно, и, следовательно, следует думать, что диаграмма SiO2–K2O/Na2O, так же как и диаграмма K2O/Na2O–SiO2/Al2O3, не позволяет корректно разграничить синрифтовые глинистые породы и тонкозернистые обломочные образования других геодинамических обстановок. Положение полей представленных в нашем банке данных синрифтовых глинистых пород на диаграмме DF1–DF2 (Verma, Armstrong-Altrin, 2013) также своеобразно. В большинстве случаев они занимают то или иное положение в областях, характеризующих коллизионные и рифтогенные обстановки, а ряд полей расположен во всех трех классификационных областях диаграммы. Существенная доля средних точек синрифтовых глинистых пород локализована здесь в области составов, характерных для коллизионных обстановок. Представляется, что все сказанное свидетельствует о том, что и диаграмма DF1–DF2 не позволяет получить корректное суждение о геодинамической природе терригенных ассоциаций.
Такой же вывод можно сделать исходя из анализа характера распределения на диаграмме DF1–DF2 полей состава рифтогенных песчаников (ситуация 1), рифтогенных песчаников и глинистых пород (ситуация 2), а также собственно синрифтовых тонкозернистых осадочных образований (ситуация 3) (рис. 12а), локализованных между областями составов, характерных для рифтогенных и коллизионных обстановок. В последней области сосредоточено и порядка 40% средних точек состава синрифтовых терригенных образований (рис. 12б).
Благодарности
Авторы искренне признательны Н.С. Глушковой, подготовившей иллюстрации к статье.
Источник финансирования
Исследования проведены при финансовой поддержке РНФ (грант № 16-17-10192).
1 (SiO2)adj – содержание оксида кремния после пересчета основных породообразующих оксидов на безводную основу.
2 При отнесении рифтогенных структур к тем или иным категориям их систематики, предложенной в работах Дж. Шенгёра, мы опираемся на представления исследовавших их авторов, хотя могут существовать и иные точки зрения.
3 Здесь DF1 = −0.263ln(TiO2/SiO2adj + 0.604ln(Al2O3/SiO2)adj − 1.725ln(Fe2O3общ/SiO2)adj + 0.660ln(MnO/SiO2)adj + 2.191ln(MgO/SiO2)adj + 0.144ln(CaO/SiO2)adj − 1.304ln(Na2O/SiO2)adj + 0.054ln(K2O/SiO2)adj − 0.330ln(P2O5/SiO2)adj + 1.588, а DF2 = −1.196ln(TiO2/SiO2)adj + 1.064ln(Al2O3/SiO2)adj + 0.303ln(Fe2O3общ/SiO2)adj + 0.436ln(MnO/SiO2)adj + 0.838ln(MgO/SiO2)adj − 0.407ln(CaO/SiO2)adj + 1.021ln(Na2O/SiO2)adj − 1.706ln(K2O/SiO2)adj − 0.126ln(P2O5/SiO2)adj – 1.068.
4 В данном случае DF1 = 0.608ln(TiO2/SiO2)adj − 1.854ln(Al2O3/SiO2)adj + 0.299ln(Fe2O3общ/SiO2)adj − 0.550ln(MnO/SiO2)adj + 0.120ln(MgO/SiO2)adj + 0.194ln(CaO/SiO2)adj− 1.510ln(Na2O/SiO2)adj + 1.941ln(K2O/SiO2)adj + 0.003ln(P2O5/SiO2)adj – 0.294, а DF2 = −0.554ln(TiO2/SiO2)adj − 0.995ln(Al2O3/SiO2)adj + 1.765ln(Fe2O3общ/SiO2)adj − 1.391ln(MnO/SiO2)adj − 1.034ln(MgO/SiO2)adj + 0.225ln(CaO/SiO2)adj + 0.713ln(Na2O/SiO2)adj + 0.330ln(K2O/SiO2)adj + 0.637ln(P2O5/SiO2)adj – 3.631.
About the authors
A. V. Maslov
Zavaritsky Institute of Geology and Geochemistry, Ural Branch, Russian Academy of Sciences; Institute of Geology – Subdivision of the Ufa Federal Research Centre, Russian Academy of Sciences
Author for correspondence.
Email: amas2004@mail.ru
Russian Federation, Yekaterinburg; Ufa
V. N. Podkovyrov
Institute of Precambrian Geology and Geochronology, Russian Academy of Sciences
Email: vpodk@mail.ru
Russian Federation, St. Petersburg
L. N. Kotova
Institute of Precambrian Geology and Geochronology, Russian Academy of Sciences
Email: l.n.kotova@ipgg.ru
Russian Federation, St. Petersburg
References
- Грачев А.Ф. (1987) Рифтовые зоны Земли. Л.: Недра, 247 с.
- Казьмин В.Г. (1987) Рифтовые структуры Восточной Африки - раскол континента и зарождение океана. М.: Наука, 205 с.
- Леонов Ю.Г. (2001) Континентальный рифтогенез: современные представления, проблемы и решения. Геотектоника (2) 5-18.
- Леонов Ю.Г., Волож Ю.А. (ред.) Осадочные бассейны: методика изучения, строение и эволюция (2004) М.: Научный мир, 526 с.
- Логачев Н.А. (1968) Осадочные и вулканогенные формации Байкальской рифовой зоны. Байкальский рифт. М.: Наука, 72-101.
- Логачев Н.А. (1977) Вулканогенные и осадочные формации рифтовых зон Восточной Африки. М.: Наука, 183 с.
- Маслов А.В. (1994) Осадочные комплексы в разрезах рифтогенных структур. Екатеринбург: ИГГ УрО РАН, 162 с.
- Маслов А.В., Мизенс Г.А., Подковыров В.Н., Гареев Э.З., Сорокин А.А., Смирнова Ю.Н., Сокур Т.М. (2013) Синорогенные псаммиты: основные черты литохимии. Литология и полезные ископаемые (1), 70-96.
- Маслов А.В., Мизенс Г.А., Подковыров В.Н., Ножкин А.Д., Сокур Т.М., Малиновский А.И., Сорокин А.А., Смирнова Ю.Н., Гареев Э.З., Дмитриева Н.В., Крупенин М.Т., Летникова Е.Ф. (2015) Синорогенные глинистые породы: особенности валового химического состава и палеотектоника. Геохимия (6), 512-538.
- Maslov A.V., Mizens G.A., Podkovyrov V.N., Nozhkin A.D., Sokur T.M., Malinovskii A.I., Sorokin A.A., Smirnova Yu.N.,. Gareev E.Z, Dmitrieva N.V., Krupenin M.T., Letnikova E.F. (2015) Synorogenic clay rocks: specifics of bulk composition and paleotectonics. Geochem. Int. 53(6), 510-533.
- Маслов А.В., Подковыров В.Н., Гареев Э.З., Котова Л.Н. (2016б) Валовый химический состав песчаников и палеогеодинамические реконструкции. Литосфера (6), 33-55.
- Маслов А.В., Подковыров В.Н., Гареев Э.З., Сергеева Н.Д. (2018) Синрифтовые песчаники: особенности валового химического состава и положение на дискриминантных палеогеодинамических диаграммах. Геодинамика и тектонофизика 9(1), 59-80.
- Маслов А.В., Подковыров В.Н., Мизенс Г.А., Ножкин А.Д., Фазлиахметов А.М., Малиновский А.И., Худолей А.К., Котова Л.Н., Купцова А.В., Гареев Э.З., Зайнуллин Р.И. (2016а) Дискриминантные палеогеодинамические диаграммы для терригенных пород: опыт сопоставления. Геохимия (7), 579-595.
- Maslov A.V., Podkovyrov V.N., Mizens G.A., Nozhkin A.D., Fazliakhmetov A.M., Malinovsky A.I., Khudoley A.K., Kotova L.N., Kuptsova A.V., Gareev E.Z., Zainullin R.I. (2016a) Tectonic setting discrimination diagrams for terrigenous rocks: a comparison. Geochem. Int. 54(7), 569-583.
- Милановский Е.Е. (1976) Рифтовые зоны континентов. М.: Недра, 280 с.
- Милановский Е.Е. (1983) Рифтогенез в истории Земли (рифтогенез на древних платформах). М.: Недра, 280 с.
- Петтиджон Ф.Дж., Поттер П., Сивер Р. (1976) Пески и песчаники. М.: Мир, 534 с.
- Тейлор С.Р., МакЛеннан С.М. (1988) Континентальная кора: ее состав и эволюция. М.: Мир, 384 с.
- Чамов Н.П. (2016) Строение и развитие Среднерусско-Беломорской провинции в неопротерозое. М.: ГЕОС, 233 с.
- Юдович Я.Э., Кетрис М.П. (2000) Основы литохимии. СПб.: Наука, 479 с.
- Adeigbe O.C., Jimoh Y.A. (2013) Geochemical Fingerprints; Implication for Provenance, Tectonic and Depositional Settings of Lower Benue Trough Sequence, Southeastern Nigeria. J. Environm. Earth Sci. 3(10).
- Agrawal S., Guevara M., Verma S.P. (2008) Tectonic discrimination of basic and ultrabasic rocks through log-transformed ratios of immobile trace elements. Int. Geol. Rev. 50, 1057-1079.
- Armstrong-Altrin J.S., Verma S.P. (2005) Critical evaluation of six tectonic setting discrimination diagrams using geochemical data of Neogene sediments from known tectonic settings. Sediment. Geol. 177, 115-129.
- Arribas J., Alonso A., Mas R., Tortosa A., Rodas M., Barrenechea J.F., Alonso-Azcarate J., Artigas R. (2003) Sandstone petrography of continental depositional sequences of an intraplate rift basin: Western Cameros basin (North Spain). J. Sed. Res. 73, 309-327.
- Arribas J., Critelli S., Johnsson M.J. (Eds) (2007) Sedimentary Provenance and Petrogenesis: Perspectives from Petrography and Geochemistry. Geol. Soc. Am. Spec. Paper (420), 396 p.
- Bhatia M.R. (1983) Plate tectonics and geochemical composition of sandstones. J. Geol. 91, 611-627.
- Bhatia M.R., Crook K.A.W. (1986) Trace element characteristics of graywackes and tectonic setting discrimination of sedimentary basins. Contrib. Mineral. Petrol. 92, 181-193.
- Continental rifts: evolution, structure, tectonics (1995) Olsen K.H. (Ed.). Elsevier, 465 p.
- Condie K.C., Lee D., Farmer G.L. (2001) Tectonic setting and provenance of the Neoproterozoic Uinta Mountain and Big Cottonwood groups, northern Utah: constraints from geochemistry, Nd isotopes, and detrital modes. Sediment. Geol. 141-142, 443-464.
- Corti G. (2009) Continental rift evolution: from rift initiation to incipient break-up in the Main Ethiopian Rift, East Africa. Earth-Sci. Rev. 96, 1-53.
- Crossley R. (1984) Controls of sedimentation in the Malawi Rift Valley, Central Africa. Sediment. Geol. 40, 33-50.
- Cullers R.L., Berendsen P. (1998) The provenance and chemical variation of sandstones associated with the Mid-Continent Rift System, U.S.A. Europ. J. Mineralogy 10, 987-1002.
- Cullers R.L., Podkovyrov V.N. (2002) The source and origin of terrigenous sedimentary rocks in the Mesoproterozoic Ui group, southeastern Russia. Precam. Res. 117, 157-183.
- Elzien S.M., Farah A.A., Alhaj A.B., Mohamed A.A., Al-Imam O.A.O., Hussein A.H., Khalid M.K., Hamed B.O., Alhaj A.B. (2014) Geochemistry of Merkhiyat Sandstones, Omdurman Formation, Sudan: Implication of depositional environment, provenance and tectonic setting. Intern. J. Geology, Agriculture and Environmental Sciences 2(3), 10-15.
- Evans A.L. (1990) Miocene sandstone provenance relations in the Gulf of Suez: insights into synrift unroofing and uplift history. Am. Ass. Petrol. Geol. Bull. 74, 1386-1400.
- Fedo C.M., Nesbitt H.W., Young G.M. (1995) Unraveling the Effects of Potassium Metasomatism in Sedimentary Rocks and Paleosols, with Implications for Weathering Conditions and Provenance. J. Geol. 23, 921-924.
- Garzanti E., Vezzoli G., Ando S., Castiglioni G. (2001) Petrology of rifted-margin sand (Red Sea and Gulf of Aden, Yemen). J. Geol. 109, 277-297.
- Ghandour I.M., Masuda H., Maejima W. (2003) Mineralogical and chemical characteristics of Bajocian-Bathonian shales, G. Al-Maghara, North Sinai, Egypt: Climatic and environmental significance. Geochemical J. 37, 87-108.
- Ghosh S., Sarkar S. (2010) Geochemistry of Permo-Triassic mudstone of the Satpura Gondwana basin, central India: Clues for provenance. Chem. Geol. 277, 78-100.
- Harris N.B. (2000) Evolution of the Congo rift basin, West Africa: an inorganic geochemical record in lacustrine shales. Basin Res. 12, 425-445.
- Hassan S., Ishiga H., Roser B.P., Dozen K., Naka T. (1999) Geochemistry of Permian-Triassic shales in the Salt Range, Pakistan: implications for provenance and tectonism at the Gondwana margin. Chem. Geol. 158, 293-314.
- Hiscott R.N., Wilson R.C.L., Gradstein F.M., Pujalte V., Garcia-Mondejar J., Boudreau R.R., Wishart H.A. (1990) Comparative stratigraphy and subsidence history of Mesozoic rift basins of North Atlantic. Am. Ass. Petrol. Geol. Bull. 74, 60-76.
- Illies J.H., Greiner G. (1978) Rhinegraben and the Alpine system. Geol. Soc. Am. Bull. 89, 770-782.
- Ingersoll R.V., Cavazza W., Baldridge W.S., Shaficullah M. (1990) Cenozoic sedimentation and paleotectonics of north-central New Mexico: Implication for initiation and evolution of the Rio Grande rift. Geol. Soc. Am. Bull. 102, 1280-1296.
- Ishiga H., Dozen K., Sampei Y. (1999) Geochemical constraints on marine invasion and provenance change related to the opening of the Japan Sea: an example from the Lower Miocene shales in the Hoda section, Shimane Peninsula, SW Japan. J. Asian Earth Sci. 17, 443-457.
- Lopez J.M.G., Bauluz B., Fernandez-Nieto C., Oliete A.Y. (2005) Factors controlling the trace-element distribution in fine-grained rocks: the Albian kaolinite-rich deposits of the Oliete Basin (NE Spain). Chem. Geol. 214, 1-19.
- Maynard J.B., Valloni R., Ho Shing Ju. (1982) Composition of modern deep-sea sands from arc-related basin. J. Geol. Soc. Am. Spec. Publs. (10), 551-561.
- Mazumdar A., Kocherla M., Carvalho M.A., Peketi A., Joshi R.K., Mahalaxmi P., Joao H.M., Jisha R. (2015) Geochemical characterization of the Krishna-Godavari and Mahanadi offshore basin (Bay of Bengal) sediments: A comparative study of provenance. Marine and Petroleum Geol. 60, 18-33.
- McKenzie D.P. (1978) Some remarks on the development of continental basins. Earth Planet. Sci. Lett. 40, 25-32.
- Morley C.K. (1989) Extension, detachments, and sedimentation in continental rifts (with particular reference to East Africa). Tectonics 8, 1175-1192.
- Murphy J.B., Keppie J.D., Braid J.F., Nance R.D. (2005) Geochemistry of the Tremadocian Tiñu Formation (Southern Mexico): Provenance in the Underlying ~1 Ga Oaxacan Complex on the Southern Margin of the Rheic Ocean. Int. Geol. Rev. 47, 887-900.
- Ngueutchoua G., Ngantchu L.D., Youbi M., Ngos S., Beyala V.K.K., Yifomju K.P., Tchamgoué J.C. (2017) Geochemistry of Cretaceous Mudrocks and Sandstones from Douala Sub-Basin, Kumba Area, South West Cameroon: Constraints on Provenance, Source Rock Weathering, Paleo-Oxidation Conditions and Tectonic Environment. Int. J. Geosciences 8, 393-424.
- Perri F., Caracciolo L., Cavalcante F., Corrado S., Critelli S., Muto F., Dominici R. (2015) Sedimentary and thermal evolution of the Eocene-Oligocene mudrocks from the southwestern Thrace Basin (NE Greece). Basin Res. 28, 319-339.
- Perri F., Critelli S., Mongelli G., Cullers R.L. (2011) Sedimentary evolution of the Mesozoic continental redbeds using geochemical and mineralogical tools: the case of Upper Triassic to Lowermost Jurassic Monte di Gioiosa mudrocks (Sicily, southern Italy). Int. J. Earth Sci. (Geol. Rundsch.) 100, 1569-1587.
- Perri F., Ohta T. (2014) Paleoclimatic conditions and paleoweathering processes on Mesozoic continental redbeds fromWestern-Central Mediterranean Alpine Chains.Palaeogeography. Palaeoclimatology. Palaeoecology 395, 144-157.
- Pundaree N., Krishna A.K., Subramanyam K.S.V., Sawant S.S., Kavitha S., Kalpana M.S., Patil D.J., Dayal A.M. (2015) Early Eocene carbonaceous shales of Tadkeshwar Formation, Cambay basin, Gujarat, India: Geochemical implications, petrogenesis and tectonics. Marine and Petroleum Geol. 68, 258-268.
- Quinlan C. (1987) Models of subsidence mechanisms in intra-cratonic basins and their applicability to North America examples. Sedimentary basins and basin forming mechanisms. Beaumont C., Tankard A. (Eds). Can. Soc. Petrol. Geol. Memoir. 12, 463-481.
- Raza M., Casshyap S.M., Khan A. (2002) Geochemistry of Mesoproterozoic Lower Vindhyan Shales from Chittaurgarh, Southeastern Rajasthan and its Bearing on Source Rock Composition, Palaeoweathering Conditions and Tectono-sedimentary Environments. J. Geol. Soc. India 60, 505-518.
- Rosendahl B.R. (1987) Architecture of continental rifts with special reference to East Africa. Ann. Rev. Earth Planet. Sci. 15, 445-503.
- Roser B.P., Korsch R.J. (1986) Determination of tectonic setting of sandstone-mudstone suites using SiO2 content and K2O/Na2O ratio. J. Geol. 94, 635-650.
- Roser B.P., Korsch R.J. (1988) Provenance signatures of sandstone-mudstone suites determined using discriminant function analysis of major-element data. Chem. Geol. 67, 119-139.
- Schlishe R.W. (1991) Half-graben basin filling models: new constrains on continental extentional basin development. Basin Res. 3, 123-141.
- Schoenborn W.A., Fedo C.M. (2011) Provenance and paleoweathering reconstruction of the Neoproterozoic Johnnie Formation, southeastern California. Chem. Geol. 285, 231-255.
- Sengör A.M.C. (1995) Sedimentation and tectonics of fossil rifts. Tectonics of Sedimentary Basins. Busby C.J., Ingersoll R.V. (Eds). Oxford: Blackwell, 53-117.
- Sengör A.M.C., Natal’in B.A. (2001) Rifts of the world. Mantle plumes: their Identification through Time. Ernst R.E., Buchan K.L. (Eds). Geol. Soc. Am. Spec. Pap. 352, 389-482.
- Turgeon S., Brumsack H.-J. (2006) Anoxic vs dysoxic events reflected in sediment geochemistry during the Cenomanian-Turonian Boundary Event (Cretaceous) in the Umbria-Marche basin of central Italy. Chem. Geol. 234, 321-339.
- Van Schmus W.R. (1992) Tectonic setting of the Midcontinent Rift system. Tectonophysics 213, 1-15.
- Verma S.P. (2010) Statistical evaluation of bivariate, ternary and discriminant function tectonomagmatic discrimination diagrams. Turkish J. Earth Sci. 19(2), 185-238.
- Verma S.P., Agrawal S. (2011) New tectonic discrimination diagrams for basic and ultrabasic volcanic rocks through log-transformed ratios of high field strength elements and implications for petrogenetic processes. Rev. Mex. Cienc. Geol. 28, 24-44.
- Verma S.P., Armstrong-Altrin J.S. (2013) New multi-dimensional diagrams for tectonic discrimination of siliciclastic sediments and their application to Precambrian basins. Chem. Geol. 355, 117-133.
- Verma S.P., Guevara M., Agrawal S. (2006) Discriminating four tectonic settings: five new geochemical diagrams for basic and ultrabasic volcanic rocks based on log-ratio transformation of major-element data. J. Earth Syst. Sci. 115, 485-528.
- Vdačný M., Vozárová A., Vozár J. (2013) Geochemistry of the Permian sandstones from the Malužiná Formation in the Malé Karpaty Mts (Hronic Unit, Western Carpathians, Slovakia): implications for source-area weathering, provenance and tectonic setting. Geologica Carpathica 64 (1), 23-38.
- Wilson R.C.L., Whitmarsh R.B., Taylor B., Froitzheim N. (Eds) (2001) Non-volcanic Rifting of Continental Margins: A Comparison of Evidence from Land and Sea. Geol. Soc. (London). Spec. Publ. 187, 585 p.
- Woelk T.S., Hinze W.J. (1991) Model of the Midcontinent Rift System in northeastern Kansas. Geology 19, 277-280.
- Zaghloul M.N., Critelli S., Perri F., Mongelli G., Perrone V., Sonnino M., Tucker M., Aiello M., Ventimiglia C. (2010) Depositional systems, composition and geochemistry of Triassic rifted-continental margin redbeds of the Internal Rif Chain, Morocco. Sedimentology 57, 312-350.
- Ziegler P.A. (1994) Cenozoic rift system of western and central Europe: an overview. Geologie en Mijnbouw 73, 99-127.
- Ziegler P.A., Cavazza W., Robertson A.H.F., Crasquin-Soleau S. (Eds) (2001) PeriThethyan Rift/Wrench Basins and Passive Margins. Museum National D’Histoire Naturelle. Memoires T. 186. Peri-Tethys Memoir. 6, 763 p.
- Ziegler P.A., Cloetingh S.A.P.L. (2004) Dynamic processes controlling evolution of rifted basins. Earth-Sci. Rev. 64, 1-50.
- Zuffa G.G., Gaudio W., Rovito S. (1980) Detrital mode evolution of the rifted continental margin Longobucco sequence (Jurassic), Calabrian Arc, Italy. J. Sed. Petrol. 50, 51-61.
Supplementary files














