Ecological and reclamation method of tillage
- Authors: Tarasenko B.F.1, Drobot V.A.1, Sokolova V.A.2, Orekhovskaya A.A.3
-
Affiliations:
- Kuban State Agrarian University named after I.T. Trubilina
- Military Academy of Communications. Marshal of the Soviet Union S.M. Budyonny
- Belgorod State Agrarian University named after V.Ya. Gorina
- Issue: Vol 89, No 5 (2022)
- Pages: 319-324
- Section: Environmentally friendly technologies and equipment
- Submitted: 21.04.2022
- Accepted: 03.08.2022
- Published: 07.03.2023
- URL: https://journals.eco-vector.com/0321-4443/article/view/106584
- DOI: https://doi.org/10.17816/0321-4443-106584
- ID: 106584
Cite item
Abstract
BACKGROUND: The steppe regions of the North Caucasus, the Volga region and the Central Chernozem regions of insufficient and unstable humidification are exposed to strong winds, which destroy and blow out the soil, cause dust storms, damage crops and often destroy them over large areas. It was found that the main foci of dust storms were areas plowed by ordinary dump tools. In this regard, the non-fall (flat-cut) tillage widely used in Northern Kazakhstan and Western Siberia with the preservation of most of the crop residues on the soil surface has acquired great importance. At the same time, tillage with chisel cultivators or plows, as well as rippers-slits with pointed loosening paws, allows to reduce the total energy consumption by 1.3-1.5 times, and also improves the agrophysical properties of the soil and increases crop yields.
AIM: The present study deals with a development of soil-free soil protection technology that contributes to the accumulation of moisture and increase yield.
METHODS: The method includes non-tillage tillage together with the cutting of cracks and the formation of cavities. The device consists of a hinged frame with support wheels and working bodies. The non-shaft working bodies are installed in a staggered order and contain C-shaped racks with chisels fixed at the end and flat-cut trapezoidal semi-paws on the sides. Drainers are fixed behind the racks, trapezoidal semi-paws in the front part are fixed pivotally on axes rigidly fixed on the sides of the rack, and in the rear part they have a kinematic connection with the mechanism of the swinging washer, connected, in turn, with the power take-off shaft of the power means.
RESULTS: The working process of the method of accumulation of moisture in the soil is carried out as follows: after harvesting the previous crop, peeling is performed, and then furrows are cut with simultaneous non-shaft loosening, while at a depth of 30–60 cm rectangular cross–section cavities are created, and the walls of the cavities are rammed. Due to this, meltwater enters through the furrows and collects in the cavities of a large volume and is retained due to the rammed walls for a long time. The use of large volume cavities will increase the amount of accumulated moisture, which will contribute to an increase in the amount of harvest.
CONCLUSION: An improved method is proposed. The novelty of the method lies in the fact that the cavities are formed to a depth of 30 to 60 cm due to low-frequency vibrations at a frequency of 1 stroke per second of planar trapezoidal semi-paws from the sides of the rack, and the sealing of the walls of the cavities is carried out by exposure to high-frequency vibrations with a frequency of 250 Hz using roller elements. The use of large volume cavities will increase the volume of accumulated moisture, which will contribute to an increase in the amount of harvest.
Full Text
ВВЕДЕНИЕ
Важнейшая задача аграрного сектора экономики РФ – обеспечение продовольственной безопасности страны, основы ее суверенитета, экономической и социальной устойчивости. Увеличение производства зерна зерновых колосовых культур – одна из важнейших задач развития сельского хозяйства. От ее решения зависит удовлетворение растущих потребностей населения в продуктах питания и развитие отрасли животноводства. Многочисленные исследования показывают, что использование различных способов обработки почвы направлено на изменение строения и агрегатного состава верхнего пахотного слоя и влияет на глубину заделки семян, что в свою очередь сказывается на полноте всходов растений. Таким образом, регулированием строения и структурного состава почвы, можно воздействовать на весь комплекс условий жизни растений: тепловой, водный, пищевой почвенные режимы.
Степные районы Северного Кавказа, Поволжья и области Центрально-Черноземной являются зонвми недостаточного и неустойчивого увлажнения, а также подвержены действию сильных ветров, которые разрушают и выдувают почву, вызывают пыльные бури, повреждают посевы и нередко уничтожают их на больших площадях. Установлено, что основными очагами возникновения пыльных бурь оказываются площади, вспаханные обыкновенными отвальными орудиями. В связи с этим приобрела большое значение широко применяемая в Северном Казахстане и Западной Сибири безотвальная (плоскорезная) обработка почвы с сохранением большей части пожнивных остатков на поверхности почвы. При этом обработка почвы чизельными культиваторами или плугами, а также рыхлителями-щелевателями со стрельчатыми рыхлящими лапами позволяет в 1,3–1,5 раза уменьшить общие энергозатраты, а также улучшает агрофизические свойства почвы и повышает урожайность культур. В настоящее время в КубГАУ [1–4] проводятся исследования и разрабатываются безотвальные почвозащитные технологии, включающие в себя лущение стерни на глубину 8–10 см и рыхление на глубину 20–25 см в сочетании с предпосевной обработкой почвы в различных вариантах. В целом показано, что применение безотвальных технологий позволяет снизить расход топлива на 13,4–27,8 кг/га, металла – на 11,6–12,9 кг/га и затрат труда – на 0,9–1,33 чел.-ч/га.
Однако возникает необходимость совершенствования приемов обработки почвы с целью обеспечения эколого-мелиоративного подхода при возделывании зерновых колосовых.
Для реализации цели нами поставлены следующие задачи исследования: кратко проанализировать аналоги и осуществить усовершенствование эколого-мелиоративного способа обработки почвы.
КРАТКИЙ АНАЛИЗ АНАЛОГОВ
Краткий анализ литературных источников показывает следующее. У «Устройства для безотвальной обработки почвы» [5] рабочий орган представляет собой стойку с загнутым концом, на котором установлено долото, а к задней части стойки крепится лапа. Для лучшего качества выполнения работы долото имеет заточку, а с целью увеличения ресурса его использования – напайку из металлокерамического сплава. Долота представляют собой эллиптические пластины, установленные на косом срезе загнутого конца стойки. Лапа выполнена полукруглой формы, имеет верхнюю заточку, а в торце задней части изготовлены ворошители. «Устройство для безотвальной обработки почвы» [6], рабочими органами которого являются стойки с ножами, установленными с возможностью вращения. Ножи представляют собой плоские диски с заточенной кромкой и съемными разнообразной формы лопастями. Для улучшения качественных показателей обработки почвы лопасти снабжены ворошителями в виде кусков цепи. «Устройство для щелевания» [7] основой, которого является рама с установленным на ней брусом, представляющим собой две параллельные пластины, установленные жестко и имеющие трапецеидальную форму. В образованный пластинами паз установлена пластинчатая стойка, на которой расположен нож в виде чизельной лапы. К ножу с тыльной стороны крепится кротователь, имеющий цилиндрическую торпедообразную форму. Стойка, благодаря параллелограммному механизму и кинематической связи посредством шестерен со штоком, имеет возможность вращения посредством силового гидроцилиндра. «Орудие для противоэрозионного щелевания почвы» [8] включает в себя раму с установленными на ней последовательно ножом-щелерезом и рабочим органом для поделки канальцев в прищелевых валиках, имеющим механизм привода, рабочий орган которого выполнен в виде лопатки изогнутой формы. Выпуклость лопатки направлена в сторону, противоположную направлению движения. Лопатка закреплена на раме шарнирно с возможностью колебаний в поперечной плоскости относительно направления движения. Механизм привода рабочего органа является кривошипно-рычажным.
Можно указать на следующие недостатки, представленных разработок: быстро затупляющиеся долота, снижающие эксплуатационную надежность; пластинчатая форма, которая влечет повышение энергозатрат. При кротовании щели заиливаются и обсыпаются, из-за чего влага остается на поверхности. Малый объем полостей и низкое качество их стенок из-за отсутствия уплотненного слоя по контуру.
СУЩНОСТЬ ТЕХНИЧЕСКОГО РЕШЕНИЯ ЗАДАЧИ
В связи, с вышесказанным, для снижения затрат энергии, повышения плотности стенок полостей в нижней части и увеличения сечения полости путем придания ему прямоугольной формы нами предложен усовершенствованный «Способ накопления влаги в почве и устройство для его осуществления» [9]. Прием основан на накоплении талых вод при безотвальной обработке почвы.
Способ включает безотвальную обработку почвы одновременно с нарезанимем щелей и образованием полостей. При этом образование полостей производят на глубину от 30 до 60 см за счет низкочастотных колебаний при частоте 1 ход в секунду плоскорезных трапецеидальных полулап с боков стойки. Уплотнение стенок полостей осуществляют путем воздействия высокочастотных колебаний с частотой 250 Гц при помощи роликовых элементов.
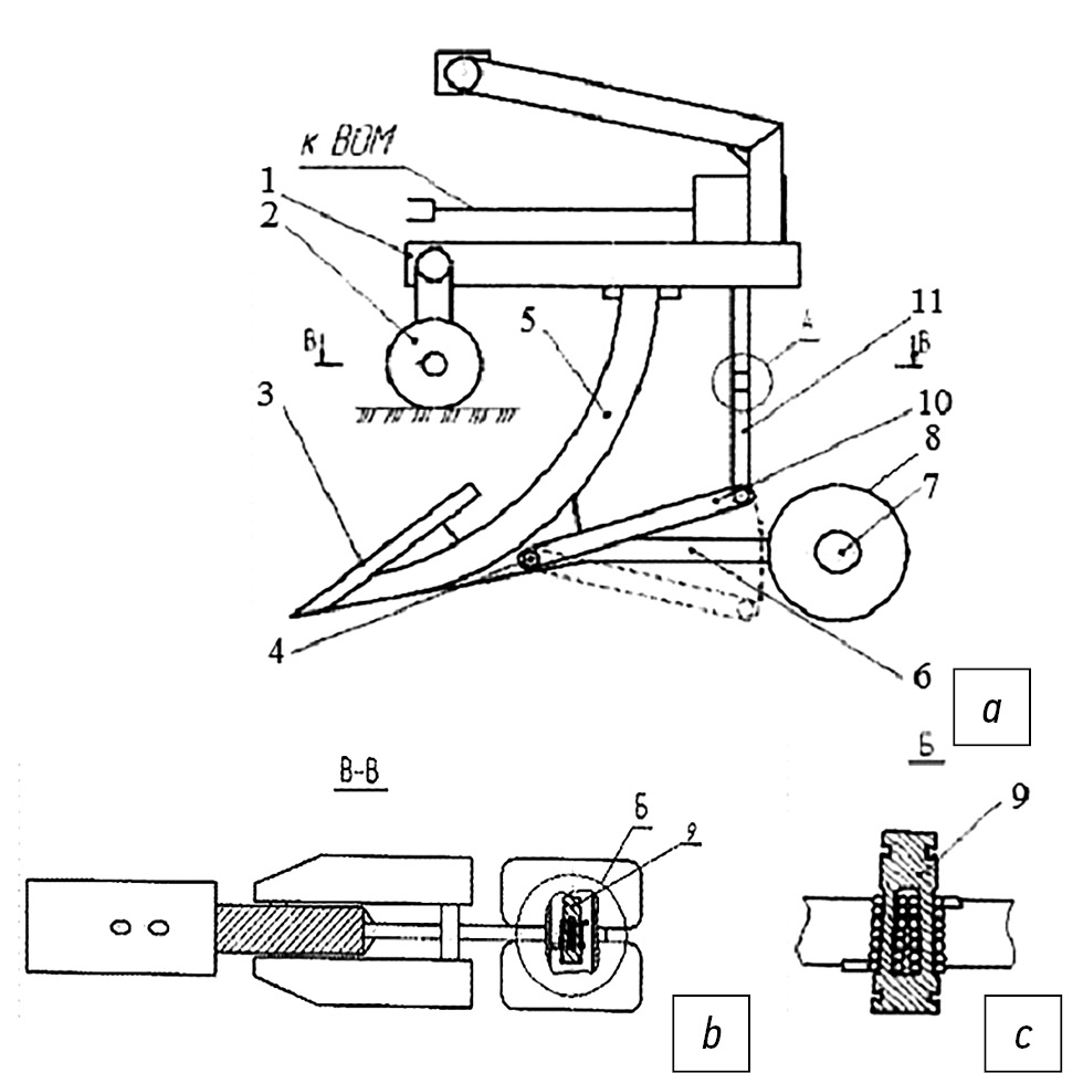
Устройство для накопления влаги в почве (рис. 1) состоит из навесной рамы 1 с опорными колесами 2. На раме 1 в шахматном порядке установлены безотвальные рабочие органы, содержащие выполненные в виде С-образной стойки с закрепленными на конце долотами 3 и плоскорезными трапецеидальными полулапами 4 по бокам стойки 5. Стойка выполнена из трубного профиля. Сзади стоек 5 зафиксированы дренеры, выполненные в виде кронштейнов 6 с осями-вибраторами 7 с надетыми на них двумя шарнирными роликовыми элементами 8. При этом в осях 7 вмонтированы вибраторы 9, запитанные от электросистемы энергетического средства (на схеме не отображается). Полулапы 4 в передней части закреплены шарнирно на осях 10, жестко зафиксированных по бокам стоек 5, а их задняя часть кинематически связана с механизмом качающейся шайбы 11, связанной кинематически, в свою очередь, с валом отбора мощности энергетического средства.
Рис. 1. Схема устройства для накопления влаги в почве: a – вид сбоку, b – вид сверху, c – разрез Б.
Рабочий процесс способа накопления влаги в почве осуществляют следующим образом: после уборки урожая предшествующей культуры производят лущение, а затем производят поделку борозд с одновременным безотвальным рыхлением, при этом на глубине 30–60 см создаются полости прямоугольного сечения, образованные за счет низкочастотных колебаний двух трапецеидальных полулап, причем стенки полостей утрамбованы высокочастотными колебаниями поперечной оси с роликовыми элементами. Благодаря этому талая вода через борозды поступает и собирается в полостях большего объема и удерживается благодаря утрамбованным стенкам длитель- ное время.
Работа устройства осуществляется следующим образом. При движении устройства по полю рабочие органы заглублены в почву. При этом, стойки 5 производят нарезание водопоглощающих щелей. Трапецеидальные полулапы 4, колеблясь (совершая низкочастотные колебания 1 ход в секунду) относительно осей 10, под действием механизма качающейся шайбы 11, приводимого от вала отбора мощности энергетического средства, образуют прямоугольные полости, а, вибрирующими (совершающими высокочастотные колебания 250 Гц) с помощью электровибратора 9, двумя шарнирными роликами 8 утрамбовывают стенки полости, особенно с боков и в нижней части полости. При движении ролики 8 проворачиваются, обеспечивая снижение затрат энергии.
ВЫВОДЫ
Поставленные задачи выполнены. Предложен усовершенствованный способ. Новизна способа заключается в том, что образование полостей производят на глубину от 30 до 60 см за счет низкочастотных колебаний при частоте 1 ход в секунду плоскорезных трапецеидальных полулап с боков стойки, а уплотнение стенок полостей осуществляют путем воздействия высокочастотных колебаний с частотой 250 Гц при помощи роликовых элементов.
Использование полостей большего объема позволит увеличить объём накопленной влаги, которая будет способствовать увеличению количества урожая.
ДОПОЛНИТЕЛЬНАЯ ИНФОРМАЦИЯ
Вклад авторов. Б.Ф. Тарасенко ― поиск публикаций по теме статьи, написание текста рукописи; В.А. Дробот ― редактирование текста рукописи; В.А. Соколова ― редактирование текста рукописи, создание изображений; А.А. Ореховская ― экспертная оценка, утверждение финальной версии. Все авторы подтверждают соответствие своего авторства международным критериям ICMJE (все авторы внесли существенный вклад в разработку концепции, проведение исследования и подготовку статьи, прочли и одобрили финальную версию перед публикацией).
Конфликт интересов. Авторы декларируют отсутствие явных и потенциальных конфликтов интересов, связанных с публикацией настоящей статьи.
Источник финансирования. Авторы заявляют об отсутствии внешнего финансирования при проведении исследования.
ADDITIONAL INFORMATION
Authors’ contribution. B.F. Tarasenko ― search for publications, writing the text of the manuscript; V.A. Drobot ― editing the text of the manuscript; V.A. Sokolova ― editing the text of the manuscript, creating images; A.A. Orekhovskaya ― expert opinion, approval of the final version. All authors confirm that their authorship meets the international ICMJE criteria (all authors made a substantial contribution to the conception of the work, acquisition, analysis, interpretation of data for the work, drafting and revising the work, final approval of the version to be published and agree to be accountable for all aspects of the work).
Competing interests. The authors declare no any transparent and potential conflict of interests in relation to this article publication.
Funding source. This study was not supported by any external sources of funding.
About the authors
Boris F. Tarasenko
Kuban State Agrarian University named after I.T. Trubilina
Email: b.tarasenko@inbox.ru
ORCID iD: 0000-0001-9957-5979
SPIN-code: 7415-7870
Professor, Dr. Sci. (Tech.), Professor of the Department of Machine Repair and Materials Science
Russian Federation, KrasnodarVictor A. Drobot
Kuban State Agrarian University named after I.T. Trubilina
Email: viktor.drobot.85@mail.ru
ORCID iD: 0000-0002-3136-6481
SPIN-code: 7889-3176
Associate Professor, Cand. Sci. (Tech.); Associate Professor of the Faculty of Hydromelioration
Russian Federation, KrasnodarVictoria A. Sokolova
Military Academy of Communications. Marshal of the Soviet Union S.M. Budyonny
Email: sokolova_vika@inbox.ru
ORCID iD: 0000-0001-6880-445X
SPIN-code: 5116-5102
Associate Professor, Cand. Sci. (Tech.); Lecturer of the of Technical Support for Communications and Automation Department
Russian Federation, Saint PetersburgAlexandra A. Orekhovskaya
Belgorod State Agrarian University named after V.Ya. Gorina
Author for correspondence.
Email: orehovskaja_aa@bsaa.edu.ru
ORCID iD: 0000-0001-8149-7191
Cand. Sci. (Agricul.), Head of the Department for Work with Grants and Research & Educational Centers
Russian Federation, Belgorod region, Maisky settlementReferences
- Tarasenko BF, Drobot VA. Ecological and ameliorative methods of soil preparation: monograph. Krasnodar: KubGAU; 2021. (in Russ).
- Tarasenko BF, Drobot VA. New field installation for dynamometry and the results of evaluation of tractive resistance of soil cultivating working organ. Tractors and agricultural machinery. 2014;81(12):10–12. (in Russ). doi: 10.17816/0321-4443-65471
- Oskin SV, Tarasenko BF, Drobot VA. Use of simulation modeling for optimization of configuration of soil cultivating units in the process of grain farming. Tractors and agricultural machinery. 2015;82(7):24–26. (in Russ). doi: 10.17816/0321-4443-66037
- Tarasenko BF, Drobot VA, Tsybulevsky VV, et al. Optimization of chisel bit parameters. Selskiy mekhanizator. 2019;3:4–6. (in Russ).
- Patent RUS № 2468558 / 10.12.2012. Byul. № 34. Tarasenko BF, Tsybulevskiy VV, Morgunov SA. Ustroystvo dlya bezotvalnoy obrabotki pochvy. Available from: https://new.fips.ru/iiss/document.xhtml?faces-redirect=true&id=7779cbbb2901b45a94d8cfce0148d90a (in Russ).
- Patent RUS № 2404558 / 27.11.2010. Byul. № 33. Tarasenko BF, Medovnik AN, Drobot VA, et al. Ustroystvo dlya bezotvalnoy obrabotki pochvy. Available from: https://new.fips.ru/iiss/document.xhtml?faces-redirect=true&id=936471c9d2ff1f798dd8b56f077804a1 (in Russ).
- Patent RUS № 2457645 / 10.08.2012. Byul. № 22. Tarasenko BF, Chebotarev MI, Tsybulevskiy VV, et al. Ustroystvo dlya shchelevaniya pochvy. Available from: https://new.fips.ru/iiss/document.xhtml?faces-redirect=true&id=b73ff20c9482a7179861e893cbf26a63 (in Russ).
- Avtorskoe Svidetelstvo SSSR № 1020011 / 30.05.1983 Byul. № 42. Tsimmerman AE, Shutov YuI. Orudie dlya protivoerozionnogo shchelevaniya pochvy. Available from: https://patents.su/3-1020011-orudie-dlya-protivoehrozionnogo-shhelevaniya-pochvy.html (in Russ).
- Patent RUS № 2518254 / 10.06.2014. Byul. № 16. Tarasenko BF, Maslov GG, Chebotarev MI, et al. Sposob nakopleniya vlagi v pochve i ustroystvo dlya ego osushchestvleniya. Available from: https://new.fips.ru/iiss/document.xhtml?faces-redirect=true&id=358743af52eca93dbc2759c5a4249857 (in Russ).
Supplementary files




