The unit for improvement of degenerated mountainside sections
- Authors: Bideev S.I.1, Gulueva L.R.1
-
Affiliations:
- North Caucasian Research Institute of Highland and Piedmont Agriculture of the Vladikavkaz Scientific Center of the Russian Academy of Sciences
- Issue: Vol 89, No 6 (2022)
- Pages: 431-438
- Section: Economics, organization and technology of production
- Submitted: 23.08.2022
- Accepted: 14.10.2022
- Published: 03.04.2023
- URL: https://journals.eco-vector.com/0321-4443/article/view/109960
- DOI: https://doi.org/10.17816/0321-4443-109960
- ID: 109960
Cite item
Abstract
BACKGROUND: The results of R&D works on the laboratory prototype of a small disk harrow aimed for operation at mountainsides and capable to improve labor capacity and yield capacity of highland forage lands by 15–20% are presented.
AIMS: The developed laboratory prototype of a module of a mountain tractor-drawn small disk harrow for operation at sections of highland and piedmont areas capable to eliminate weed infestation of soil; to increase fertility and yield capacity of forage lands, to ensure stability of grass areas against deflation and erosion.
METHODS: The technical examination of the laboratory prototype of the machine was carried out at the highland station of North Caucasian Research Institute of Highland and Piedmont Agriculture in Dargvas village, Republic of North Ossetia-Alania at the altitude of 1540 meters above the sea level and at the slope angle of up to 12°. The properties of the testing conditions and the functional properties of unit operation were determined. The technical examination of the scientific documentation of the laboratory prototype of a module of a mountain tractor-drawn small disk harrow for cultivation of soil of highland grass areas was carried out in compliance with the GOST 33687-2015 standard. The subject of the study includes operating tools (the disks), distance between neighboring disks, disk curvature radius, disk diameter as well as the design of operating tools mounting at the frame of a small disk harrow.
RESULTS: The laboratory prototype of a small disk harrow for soil cultivation at sections of highland and piedmont areas was developed and produced on the basis of a minitractor. The small disk harrow is represented as a tractor-drawn unit with inline arrangement of 9 spherical disks mounted to individual struts. The design of the mountain small disk harrow is provided with the capability of the unit to switch from the right-to-left mountainside operation mode to the left-to-right mountainside operation mode when turning and with the optional mounting of press wheels.
CONCLUSIONS: Practical use of the module of a small disk harrow ensures reduction of generating processes ofmountainside sections, increases yield capacity of forage lands, ensures stability against water erosion and wind erosion as well as increases environmental stability and efficiency of grassland farming.
Keywords
Full Text
ВВЕДЕНИЕ
Известно, что земли в горной и предгорной зонах Северной Осетии обладают такими свойствами как: склоновость, повышенная влажность, мелкоконтурность земельных угодий, наличие мелких и крупных камней на поверхности и в пахотном слое. Все это является огромным препятствием для механизированных работ в горном луговодстве и предъявляет повышенные требования как к качеству выполнения технологического процесса, так и к надежности сельскохозяйственной техники [1, 2].
Так, например, камни, находящиеся в почве и на ее поверхности, способствуют поломкам при работе сельскохозяйственной техники, снижая производительность и надежность ее работы [3, 4]. В связи с этим бороны, у которых рабочие органы-диски расположены на одной оси, и дискаторы, рабочие органы-диски которых имеют индивидуальное крепление к стойке, имеющей защиту от перегрузок, позволяющие производить обработку участков с каменистой почвой, являются наиболее производительными почвообрабатывающими средствами [5, 6]. Известно, что при использовании дискаторов происходит интенсивная обработка почвы, измельчение и заделка пожнивных и растительных остатков, поэтому дискаторы используются также при обработке залежных земель, разделке дернины и пластов почвы после вспашки, а также подготовке почвы под посев.
Кроме того, дискаторы показывают неплохую производительность в условиях повышенной влажности и густой растительности. Основное предназначение данного вида сельхозоборудования – подготовка земли к посевной без предварительной вспашки [7, 8].
На российском рынке сельхозяйственной техники встречаются дискаторы, которые могут быть использованы для работы с любыми тракторами. Среди известных серий оборудования прицепные дискаторы БДМ 4*2 ПКС и БДМ 5*2 ПКС, например, подходят для работы с тракторами 3–4 тягового класса, мощностью от 130 до 170 л.с. Данные дискаторы громоздкие, крупногабаритные: масса дискатора в комплекте составляет около 800–1400 килограммов на 1 метр обрабатываемой поверхности, что неприемлемо для горной зоны.
Однако малогабаритных маневренных серийных образцов дискаторов для мелкоконтурных участков, которые могут дисковать участки горных лугов и пастбищ, нет. Поэтому создание подобного блок-модуля для дискования в настоящее время является актуальным [9].
С учетом вышесказанного группой механизации СКНИИГПСХ ВНЦ РАН разработан лабораторный образец блок-модуля для обработки (дискования) почвы.
Целью исследований являлась разработка лабораторного образеца блок-модуля горного минидискатора для обработки почв на участках горных и предгорных склонов, который позволит устранить засоренность почвы, повысить плодородие и урожайность кормовых угодий, обеспечить устойчивость лугов и пастбищ к дефляции и эрозии.
Объектом исследования является технология и конструкция лабораторного образца блок-модуля минидискатора горной модификации для обработки (дискования) почв склоновых лугов и пастбищ с уклоном до 12 ° на базе минитрактора, конструкция которого адаптирована для работ к горному агроландшафту с деградированными почвами.
Предметом исследований являлись конструкция, технология, эксплуатационные и агротехнические параметры лабораторного образца минидискатора для обработки почв горных участков с уклоном до12 ° различного механического состава, на базе минитрактора.
Научная новизна. Впервые на базе минитрактора Феншоу-180 разработан лабораторный образец малогабаритного блок-модуля минидискатора для обработки (дискования) почв различного механического состава склоновых участков кормовых угодий горной зоны Северного Кавказа с уклоном до 12 °, позволяющий устранить засоренность почвы, повысить плодородие и урожайность кормовых угодий, обеспечить устойчивость лугов и пастбищ к дефляции и эрозии [10].
МАТЕРИАЛЫ И МЕТОДЫ
Техническая экспертиза научной документации лабораторного образца блок-модуля навесного минидискатора для обработки почв склоновых участков кормовых угодий горной зоны Северной Осетии различного механического состава с уклоном до 12 ° проводилась согласно государственным стандартам для сельхозмашин и орудий для поверхностной обработки почвы.
По ГОСТ 20915-85 определяются такие свойства почвы как: влажность, твердость, масса растительных остатков, рельеф и микрорельеф поля, характеристика дернового покрова. Нагрузка на почву и глубина обработки регулируются гидравлическим устройством трактористом из кабины.
Результаты испытания лабораторного образца блок-модуля минидискатора должны соответствовать требованиям технических условий (ТУ). Регулировка глубины обработки осуществлялась посредством изменения угла атаки дисков. Спроектированный минидискатор представляет собой навесную конструкцию с однорядным расположением сферических дисков в количестве 9 шт., установленных на индивидуальных стойках. В конструкции предусмотрена возможность установки прикатывающих катков.
Отличительная особенность горного дискового дискатора в том, что в процессе работающие диски движутся поступательно вместе с рамой машины, одновременно вращаясь под действием реакции почвы. Причем реакция почвы направлена вверх поперек склона, что снижает сползание агрегата вниз по склону под действием силы тяжести агрегата. Такой необходимости для равнинных дискаторов нет, поэтому они сбалансированы парными рабочими батареями дисковых органов. Дискаторы, в отличие от поступательно движущихся лемешных рабочих органов, меньше забиваются растительными остатками. Конструкция агрегата максимально облегчена для снижения антропогенного воздействия на дернину лугов и пастбищ горной зоны. В технологическую схему входят две операции: 1 – подрыв и рыхление верхнего слоя почвы участка на определенную глубину обработки; 2 – разрушение комков почвы и их прикатывание по ширине захвата агрегата.
Главным отличием конструкции горного минидискатора от равнинной серийной модификации является способность конструкции переключаться при развороте из положения работы на склоне справа-налево в положение для работы на склоне слева-направо. При этом положение рабочих органов дискатора относительно склона создает поперечную реакцию, направленную вверх по склону, что способствует стабилизации движения агрегата по склону и снижает его сползание вниз по склону.
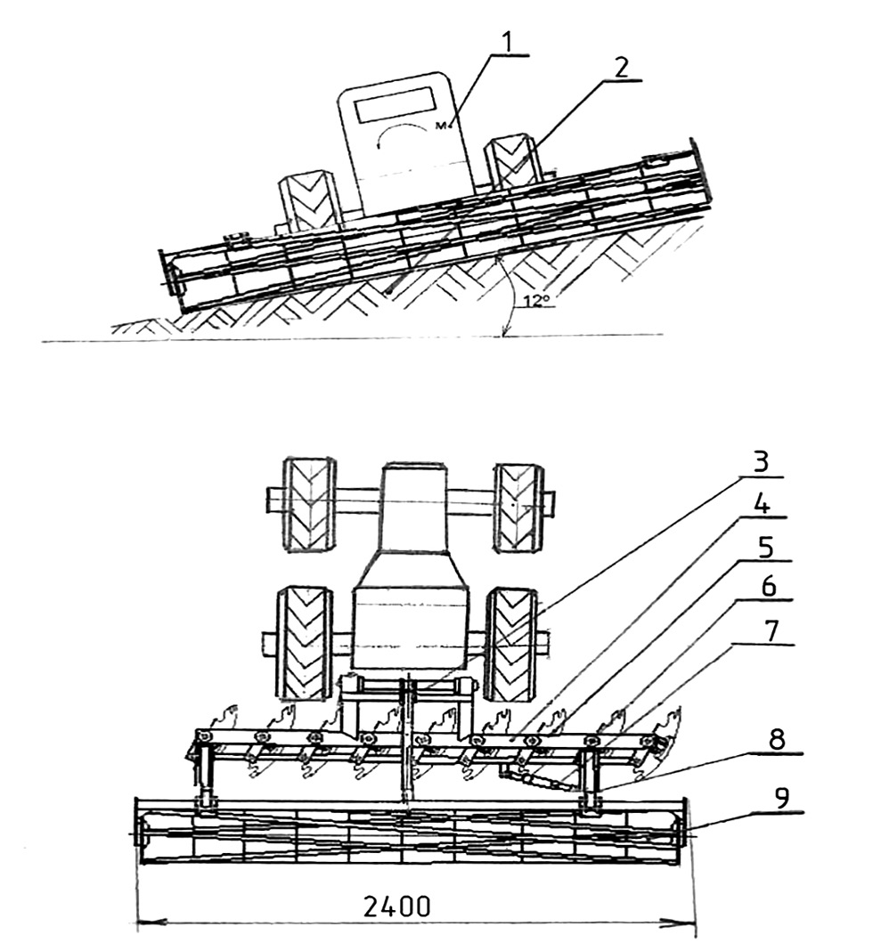
Малогабаритный дискатор агрегатируется с китайским минитрактором Феншоу-180. В технологическое оборудование малогабаритного дискатора входят следующие узлы: навесная рама, секция дисковых борон, закрепленных к раме чизельного культиватора КЧГ-2,4; устройство, исключающее забивание режущих дисков, что положительно сказывается на производительности труда; приспособление для регулировки давления на почву и прикатывающие катки при необхо- димости [11].
Рабочими органами устройства являются сферические диски, расположенные в один ряд. Используемые диски могут иметь гладкую форму или быть с вырезами различной конфигурации. Ряд рабочих органов установлен на несущей раме блок-модуля под необходимым углом к движению. В ходе движения диски режут поверхностный слой почвы, рыхлят и перемешивают [12]. Принципиальная схема горного минидискатора изображена на рис. 1.
Рис. 1. Принципиальная схема горного минидискатора: 1 – минитрактор; 2 – почва; 3 – навеска агрегата; 4 – рама минидискатора; 5 – диск; 6 – соединение диска с рамой; 7 – гидроцилиндр; 8 – кронштейн прикатывающего устройства; 9 – прикатывающее устройство.
Установка рабочих органов (дисков) предусматривает возможность их разворота на 180 ° при переходе обработки правого склона к левому по ходу движения агрегата. Положение рабочих органов минидискатора изображено на рис. 2: а – на склоне 12 ° при движении справа-налево; b – на склоне слева-направо. Рабочие органы переводятся из положения правосклонного в левосклонное направление с помощью специального реечного механизма, расположенного внутри профильной трубы рамы (рис. 2). (Реечное устройство авторы планируют запатентовать, поэтому подробное описание не приводится.)
Рис. 2. Положение рабочих органов минидискатора на склонах: a) движение агрегата по склону слева-направо; b) движение агрегата по склону справа-налево; 1 – кронштейн крепления диска; 2 – диск дискатора; 3 – рама минидискатора; 4 – гайка крепления кронштейна; 5 – крепление диска к стойке; 6 – поверхность склона почвы.
Конструкция установки рабочих органов на раме минидискатора для горной зоны. Условие разворота дисков на 180 ° обеспечивается конструктивными размерами d=D; гдe d – расстояние между вертикальными осями поворота их на 180 °; D – диаметр диска горного минидискатора.
Диски – основные рабочие органы спроектированного минидискатора. Из конструктивных соображений диаметр диска выбирают минимальным из расчетных с учетом условий работы [6, 15]:
,
где а – глубина обработки, k – коэффициент, учитывающий степень забиваемости междискового пространства пожнивными остаткам.
Коэффициент k борон, предназначенных для обработки лугов и пастбищ, колеблется в пределах 4...6.
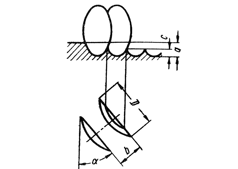
Угол α (угол атаки) – угол между плоскостью вращения диска и линией направления движения. Угол атаки может изменяться от 0 до 21 ° в зависимости от вида почвы и рельефных особенностей участка [13]. Известно, что отдельное самостоятельное крепление каждого диска позволяет более качественно бороться с сорняками, перемешивая грунт с растительными остатками. Между значением диаметра диска D, глубиной его обработки а, расстоянием между соседними дисками b и высотой гребня с существует следующая зависимость (рис. 3).
Рис. 3. Профиль дна борозды дискового минидискатора: D – диаметр диска, мм; а – глубина обработки, мм; b – расстояние между смежными дисками, мм; с – высота гребня, мм.
Отсюда
. (1)
Для борон при малых значениях угла α условие с < а может приводить к чрезмерному уменьшению расстояния между дисками одной батареи. Для лущильников с ≤0,5а [9].
Заточку лезвия обычно производят со стороны внешней поверхности диска; изготавливают диски также и с внутренней заточкой, которая целесообразна при обработке тяжелых почв. В данном случае угол заточки i=10÷20°. Угол зазора εа, который образован направлением поступательного движения орудия с линией, возникающей в сечении конуса заточки плоскостью, соответствует поверхности поля, у плугов и лущильников должен всегда иметь только положительное значение, так как в случае εа < 0 будет происходить смятие почвы, а в результате – увеличение тягового усилия с нарушением устойчивости хода агрегата.
Для дисковых борон может быть возможно применение углов εа < 0 [15], однако при этом не должно происходить соприкосновение выпуклой стороны дисков с почвой. Вместе с тем, между диаметром и радиусом кривизны диска должна быть выдержана зависимость:
. (2)
Значения φ для каждой группы дисков данны в таблице [15].
Таблица 1. Влияние обработки почвы дискатором на развитие травостоя деградированного пастбища горной зоны
Table 1. The influence of soil cultivation with a disk harrow on establishment of grass stand at a degenerated highland grass area
Пастбищный участок | Высота травостоя, см | Плотность травы, шт/м2 | Хозяйственно-ботанические группы, % | Урожай | |||
злаковые | бобовые | разнотравье | Сухой массы, ц/га | Корм. единиц, тыс/га | |||
Исходный | 27,5 | 720 | 18,0 | 1,2 | 80,8 | 9,8 | 0,41 |
После дискования | 51,2 | 2170 | 39,4 | 5,6 | 55,0 | 27,6 | 1,32 |
Для увеличения прочности диски часто изготавливают с кольцевыми гофрами в центральной части. Вырезные диски используются в тяжелых боронах для работ на болотных и луговых участках. Данные диски осуществляют бóльшее количество разрезов почвы по сравнению с дисками со сплошным лезвием. Дно борозды при этом остается неровным. Вырезы (обычно 6–12), имеющие форму равносторонних треугольников или полукругов, уменьшают рабочую прочность дисков. Размеры вырезных дисков выбирают так же, как и дисков со сплошным лезвием.
Испытания лабораторного образца проводились на деградированных пастбищных участках горного опорного пункта с. Даргавс (РСО – Алания, Центральный Кавказ). Бессистемное использование пастбищных угодий привело к изреживанию травостоя (65–70% покрытия почвы), повышению плотности почвы до 1,47–1,60 г/см3, на которой сформировался разнотравно-злаковый травостой с редким проявлением бобовых компонентов (табл. 1).
Травостой исходного участка состоял из 80,8% низкорослого разнотравья и 18% злаков, который представлялся корневищными злаками: мятлик луговой (Poa pratensis); овсяница красная (Festuca rubra); пырей ползучий (Elytrigia repens); тысячелистник обыкновенный (Achillea millefolium); василик луговой (Centaurea jacca); одуванчик лекарственный (Taraxacum officiale); клевер ползучий (Trifolium repens) и др.
Урожай изреженной сухой массы в период пастбищной спелости составил 9,8 ц/га, кормовых единиц – 0,41 тыс/га. Такая продуктивность позволяет содержать в летний пастбищный период (150 дней) 2,3 головы молодняка овец.
Проведенное ранней весной дискование разработанным агрегатом на глубину 10 см способствовало измельчению корневищных видов растений, а улучшение водно-воздушного режима повлияло на прорастание залежных семян аборигенных видов, рост и развитие травостоя.
Так, доля злакового травостоя, обладающая более ранними ускоренным развитием, увеличилась до 39,4%, в котором появились и рыхлокустовые: райграс пастбищный (Lolium perenne L), овсянница луговая (Festuca pratentis), лисохвост луговой (Alopecurus pratentis) – и бобовые: клевер альпийский (Trifolium alpestre L), эспарцет закавказский (Onobrychis transcaucasica Grossh).
Это способствовало значительному изменению хозяйственно-ботанических групп в первый год наблюдений, увеличив долю злаков на 21,4%, бобовых – на 4,4% и снизив виды разнотравья на 25,8%.
Лучшие условия прорастания обеспечили повышение количества побегов в период кущения до 2170 шт/м2, а высоту побегов – на 23,7 см. Эти изменения в совокупности обеспечили накопление надземной массы до 27,6 ц/га, а повышение питательности корма (при 0,48 корм. ед. на 1 кг СВ) до 1,32 тыс/га, что позволило обеспечить полноценными кормами 7,3 головы/га за пастбищный период.
РЕЗУЛЬТАТЫ
Разработан и изготовлен лабораторный образец блок-модуля навесного минидискатора для обработки почв различного механического состава на участках горных и предгорных зон, на базе минитрактора, что дает предпосылки к созданию серийного образца машины.
Главным отличием конструкции горного минидискатора от равнинной серийной модификации является способность конструкции переключаться при развороте из положения работы на склоне справа-налево в положение для работы на склоне слева-направо. Установка рабочих органов (дисков) предусматривает возможность их разворота на 180 ° при переходе обработки правого склона к левому по ходу движения агрегата.
Прием поверхностного улучшения с использованием малогабаритного образца дискатора способствовал улучшению роста и развития травостоя, повысив урожай, сбором кормовых единиц в 3,2 раза к уровню исходного угодья. Практическое применение блок-модуля минидискатора обеспечит снижение деградационных процессов склоновых участков, повысит урожайность кормовых угодий, обеспечит устойчивость к водной и ветровой эрозии, а также повысит экологическую устойчивость и эффективность лугопастбищного хозяйства.
ДОПОЛНИТЕЛЬНО
Вклад авторов. Л.Р. Гулуева ― поиск публикаций по теме статьи, написание текста рукописи; редактирование текста рукописи; С.И. Бидеев ―редактирование текста рукописи, создание изображений. Авторы подтверждают соответствие своего авторства международным критериям ICMJE (все авторы внесли существенный вклад в разработку концепции, проведение исследования и подготовку статьи, прочли и одобрили финальную версию перед публикацией).
Конфликт интересов. Авторы декларируют отсутствие явных и потенциальных конфликтов интересов, связанных с публикацией настоящей статьи.
Источник финансирования. Авторы заявляют об отсутствии внешнего финансирования при проведении исследования.
ADDITIONAL INFORMATION
Authors’ contribution. L.R. Gulueva ― search for publications, writing the text of the manuscript, editing the text of the manuscript; S.I. Bideev ― editing the text of the manuscript, creating images. All authors made a substantial contribution to the conception of the work, acquisition, analysis, interpretation of data for the work, drafting and revising the work, final approval of the version to be published and agree to be accountable for all aspects of the work.
Competing interests. The authors declare no any transparent and potential conflict of interests in relation to this article publication.
Funding source. This study was not supported by any external sources of funding.
About the authors
Sergey I. Bideev
North Caucasian Research Institute of Highland and Piedmont Agriculture of the Vladikavkaz Scientific Center of the Russian Academy of Sciences
Email: biser0@yandex.ru
ORCID iD: 0000-0003-4356-2639
SPIN-code: 2296-5571
Cand. Sci. (Tech.), Senior Researcher of the Department of Landscape Systems for Grassland Management in Moun-tain Territories
Russian Federation, Mikhailovskoe, Republic of North Ossetia-AlaniaLudmila R. Gulueva
North Caucasian Research Institute of Highland and Piedmont Agriculture of the Vladikavkaz Scientific Center of the Russian Academy of Sciences
Author for correspondence.
Email: luda_gulueva@mail.ru
ORCID iD: 0000-0002-1089-3688
SPIN-code: 1293-1244
Researcher of the Department of Landscape Systems for Grassland Management in Mountain Territories
Russian Federation, Mikhailovskoe, Republic of North Ossetia-AlaniaReferences
- Miloserdov VV. Economic management mechanisms that ensure the country’s food security. Agri-food policy in Russia. 2017;(12):2–9. (In Russ).
- Soldatov ED, Soldatova IE, Khairbekov SU. The state and rational use of mountain grasslands of the North Caucasus. Gornoe sel’skoe khozyaistvo. 2017;(3):44–49. (In Russ).
- Soldatova IE, Soldatov ED. Creation of highly productive hayfields and pastures in the mountainous zone of the North Caucasus. Proceedings of Gorsky state agrarian university. 2017;54(3):9–14. (In Russ).
- Zotov AA, Agafonova LI, Shamsutdinov ZSh, et al. Energy-economic assessment of natural pasture ecosystems in Russia. In: Non-traditional crop production, breeding, genetics and bio-agriculture. Protection of the bio-noosphere and cosmology. Philosophy of Natural Science and Environmental Education in the Trinity of Economics, Ecology and Health: Proceedings of the XXVIII International Scientific Symposium, Alushta, September 08–15. Simferopol: Forma; 2019. Р. 62–73. (In Russ).
- Dzhibilov SM, Galeeva LR, Korobeynik IA. An aggregate for raking stones with simultaneous automatic sowing of grasses on mountain meadows and pastures of the North Caucasus. Proceedings of Gorsky state agrarian university. 2018;55(1):106–112. (In Russ).
- Trubilin EI, Sokht KA, Konovalov VI. Improving the technological efficiency of disc harrows. Sel’skii mekhanizator. 2013;(3):8–9. (In Russ).
- Dzhibilov SM, Gulueva LR. Multifunctional unit for improving mountain meadows and pastures. Proceedings of Gorsky state agrarian university. 2016;53(3):103–111. (In Russ).
- Patent RUS No. RU 195543 U1 / Application No. 2019135723, 2019.11.06. Sokht KA, Konovalov VI. Working body of the tillage tool. (In Russ). Available from: https://yandex.ru/patents/doc/RU195543U1_20200130 Accessed: 15.12.2022.
- Kudzaev AB, Urtaev TA, Tsgoev AE, et al. Study of elastic composite rods for creating fuses of tilthers. International Journal of Civil Engineering and Technology. 2017;8(11):658–666.
- Dzhibilov SM, Gulueva LR, Bestaev SG. Method of surface improvement of mountain meadows and pastures. Proceedings of Gorsky state agrarian university. 2013;50(1):171–174. (In Russ).
- Patent RUS No. RU 2431248 C2 / Application No. 2009127407/21, 2009.07.16. Dzhibilov SM, Gulueva LR, Gabaraev FA, et al. A way to improve mountain meadows and pastures. (In Russ). Available from: https://yandex.ru/patents/doc/RU2431248C2_20111020 Accessed: 15.12.2022.
- Patent RUS No. RU 178145 U1 / Application No. 2017126718, 2017.07.25. Sokht KA, Konovalov VI. Spherical disk of a tillage tool. (In Russ). Available from: https://yandex.ru/patents/doc/RU178145U1_20180326 Accessed: 15.12.2022.
- Trubilin EI, Sokht KA, Konovalov VI, Kravchenko VV. The deepening ability of disc harrows and huskers. Machinery and equipment for rural area. 2013;(11):31–34. (In Russ).
- Dzhibilov SM, Gulueva LR, Bestaev SG. Ripper of row spacing ― spud of uterine bushes in the nursery. Proceedings of Gorsky state agrarian university. 2014;51(4):201–207. (In Russ).
- Handbook of the designer of agricultural machines. In 2 vols. Ed. by A.V. Krasnichenko. Moscow: Mashgiz; 1962–1964. (In Russ).
Supplementary files






