Use of small-sized units when spreading fertilizers on mountain slopes
- Authors: Gulueva L.R.1
-
Affiliations:
- North Caucasian Research Institute of Highland and Piedmont Agriculture of the Vladikavkaz Scientific Center of the Russian Academy of Sciences
- Issue: Vol 91, No 4 (2024)
- Pages: 412-420
- Section: New machines and equipment
- Submitted: 24.01.2024
- Accepted: 28.09.2024
- Published: 05.11.2024
- URL: https://journals.eco-vector.com/0321-4443/article/view/625973
- DOI: https://doi.org/10.17816/0321-4443-625973
- ID: 625973
Cite item
Abstract
BACKGROUND: The results of R&D on a laboratory sample of the unit for spreading mineral fertilizers on mountain slopes, which can increase labor productivity and yield rate of mountain forage lands by 15–20%, are presented.
AIM: Development of a small–sized laboratory sample of the unit for surface spreading of mineral fertilizers, ensuring accelerated restoration of productive and qualitative functions of natural grass stands of fallow forage lands.
METHODS: The technical expertise and testing of the unit and the technology were carried out in the mountainous zone of the Republic of North Ossetia — Alania (Dargava basin, the station of North Caucasian Research Institute of Highland and Piedmont Agriculture) at an altitude of 1540 meters above sea level. The indicators of the test conditions and functional performance of the unit have been determined according to the OST 10.5.1-2000 industry standard. Surface fertilization was carried out according to the OST 10.7.1.-2000. “Testing of agricultural machinery. Machines for applying mineral fertilizers, lime materials and gypsum” industry standard.
The study subject was the technology of spreading granular fertilizers, the design of the unit and working bodies: pendulum spreading devices, spreading rates and method of spreading fertilizers.
RESULTS: A laboratory sample of the small-sized unit based on the KChG-2.4 cultivator of North Caucasian Research Institute of Highland and Piedmont Agriculture design for surface application of mineral fertilizers has been developed and manufactured. The block module is a hinged frame structure with a tow-lifting device, pendulum spreading tubes and rolling rollers installed on it. The considered motion of the mining unit is across the slope from top to bottom in a shuttle manner with rolling of the sown granules by rolling rollers. The tests were carried out on a rarefied section of the northern slope with a steepness of 13–16° in the area “Sugsadtanrag”.
CONCLUSION: The practical application of the small-sized unit for surface spreading of mineral fertilizers with their subsequent rolling in areas in mountainous and foothill zones will ensure a reduction in the degradation processes of slope areas by accelerating the restoration of the quality and quantity of perennial grasses of fallow forage lands.
Keywords
Full Text
ВВЕДЕНИЕ
Известно, что потребности населения и пищевой промышленности страны в животноводческой продукции растет из года в год. Их удовлетворение связано с увеличением поголовья и продуктивности животных, что в свою очередь невозможно без наличия прочной кормовой базы, зависящей от увеличения производства основных технологических культур. Поэтому, чтобы животноводство в горной местности стало намного эффективнее, нужны высококачественные корма, выращиваемые в необходимых количествах на горных территориях, в частности, в Северной Осетии [1, с. 402], из которых около половины площади занимают природные кормовые угодья. Из этих площадей на сенокосы приходится только 13,4%, а оставшиеся 89,6% это пастбища [2, с. 09013]. При этом, сравнивая горное и полевое (равнинное) кормопроизводство, выгоднее развивать горное, т.к. эффективное использование горных земель позволит освободить огромные площади под выращивание полевых злаковых культур и продукцию растениеводства. Это особенно важно для региона, характеризующегося высокой плотностью населения и малоземельностью (около 0,35–0,40 га сельскохозяйственных угодий на человека против 0,96 по России).
Однако, при столь важном значении и большом потенциале горных, естественных сенокосов и пастбищ, доля их продуктивности не превышает 17%, что объясняется крайне неудовлетворительным мелиоративным и агроэкологическим состоянием природных кормовых угодий.
Здесь, определяющим фактором является сложный, сильно пересеченный со склонами различной крутизны рельеф, определяющий мелкоконтурность землепользования. Как следствие — ограниченность, а нередко и полное отсутствие возможности использования механизации и приемов интенсивной агротехники.
Из данных анализа типов горных почв известно, что в них в достаточной мере содержится калий, но недостаточно для растений азота и фосфора [3, с. 32]. В связи с частым использованием травостоя в течение летнего сезона с урожаем зеленой массы из почвы происходит вынос питательных веществ. Так, на одну тонну продукции (сена) расходуется: азота — 17 кг; фосфора — 7 кг и калия — 18 кг (Бясов К.Х. 2001), Поэтому, все мероприятия, направленные на повышение продуктивности горных лугов без внесения необходимых химических элементов, дадут положительный результат только на 2–3 год , после чего продуктивность пастбищ упадет до первоначального уровня, т.е. до улучшения.
Результаты от внесенных удобрений в горных районах зависят от способа их внесения. В современном сельскохозяйственном производстве удобрения вносят разбрасывателями различных марок: РТТ-4,2; РУМ-3; НРУ-0,5; 1МРГ-4 и др. Однако, данные агрегаты по ряду причин: (громоздки, маломаневрены), их невозможно использовать на мелкоконтурных горных лугопастбищах, а при наличии розы ветров, постоянно меняющих силу и направление, удобрения разносятся под их воздействием, что экологически небезопасно и экономически не выгодно.
В связи с этим, залежные земли склоновых угодий, занимающие более 30 тыс. га, расположенные на сравнительно пологих склонах, в виде террас, лишенные необходимых удобрений, остаются низкопродуктивными, покрытыми сплошь сорной растительностью, эродированными [4, с. 1396]. И как последствие: значительное сокращение необходимых для заготовки кормов горных сельскохозяйственных земель. Данную проблему необходимо решать, используя современные методы улучшения со внедрением различных культуртехнических мероприятий и приемов, например, обогащение почвы, и, как следствие, выращиваемые корма минеральными удобрениями [5, с. 106; 6, с. 1].
Цель исследований — разработать малогабаритный лабораторный образец блок-модуля для поверхностного внесения минеральных удобрений, обеспечивающего ускоренное восстановление продуктивных и качественных функций естественных травостоев залежных кормовых угодий.
МЕТОДЫ И СРЕДСТВА ПРОВЕДЕНИЯ ИССЛЕДОВАНИЙ
В целях решения существующих проблем, лабораторией механизации, отдела горного луговодства СКНИИГПСХ создан и опробован в горной зоне малогабаритный образец приспособления для улучшения качества травостоя кормовых площадей методом поверхностного внесения. Основой новой машины стал культиватор КЧГ-2,4 конструкции СКНИИГПСХ. 1
Данный культиватор имеет раму, на которой установлены два ряда рабочих органов на пружинистых двухвитковых стойках «Widerstat», которые могут при встрече или наезде на камень выйти из почвы и обогнуть препятствие, что очень важно при работе на каменистых горных землях. Ширина захвата культиватора небольшая, 2,4 м, что очень удобно для работ на мелкоконтурных горных участках [7, с. 3].
Переоснастив данный культиватор в вариант для внесения минеральных удобрений, на его раму установили туковысевающий аппарат, оставили пружинные стойки, использовав их для крепления прикатывающих катков [8, с. 9].
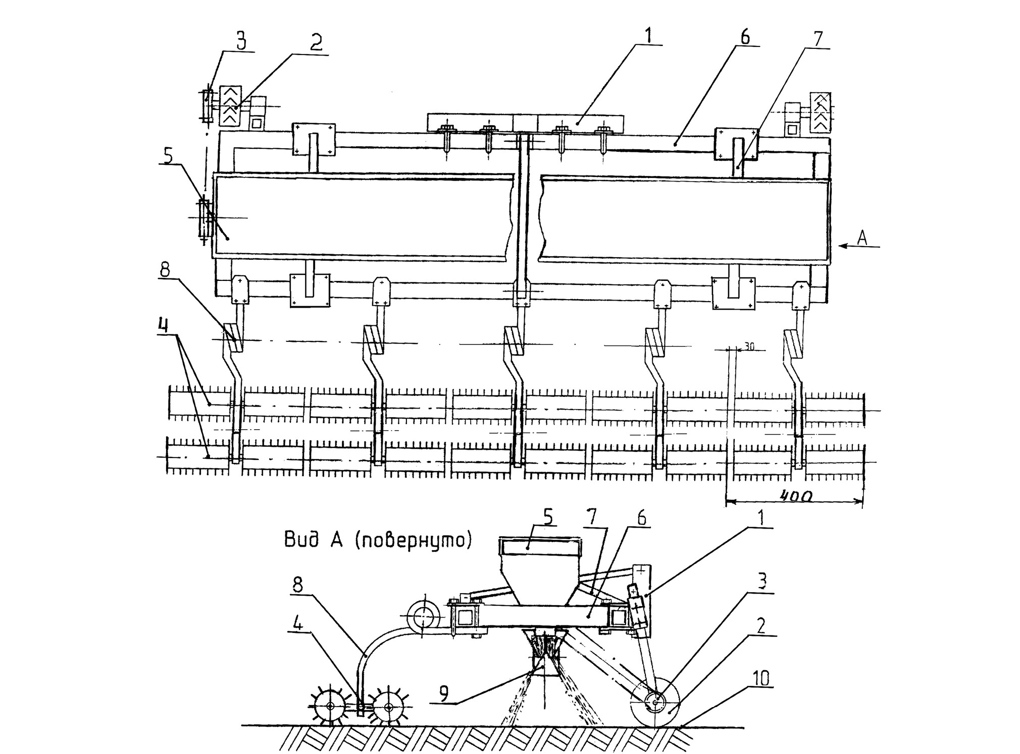
В результате проведенных исследований авторами разработана принципиальная схема и представлена технология агрегата для поверхностного внесения минеральных удобрений на деградированные луга и пастбища [9, с. 527; 10, с. 201] (рис. 1).
Рис. 1. Принципиальная схема лабораторного образца: 1 — треугольник (сцепка); 2 — опорное колесо; 3 — цепная передача; 4 — прижимающее устройство; 5 — ёмкость для удобрений; 6 — рама; 7 — кронштейны; 8 — стойка; 9 — разбросная трубка; 10 — поверхность участка.
Fig. 1. Schematic diagram of the laboratory sample: 1 — a triangle (coupling); 2 — a support wheel; 3 — a chain drive; 4 — a pressing device; 5 — a container for fertilizers; 6 — a frame; 7 — brackets; 8 — a stand; 9 — a scatter tube; 10 — the area surface.
Агрегат состоит из следующих частей: 1 — автосцепка с трактором МТЗ-82; 2 — опорные колеса, при помощи которых можно изменять и регулировать глубину основных рабочих органов, используя для этого телескопические стойки и фиксаторы. Выброс гранул минеральных удобрений производится высевающими аппаратами 5, нормы высева в которых могут быть различными и регулироваться по мере необходимости. Прикатывающие катки сразу после высева прижимают гранулы к почве, не давая их унести ветру или смыть по склону дождю.
Известно, что из-за особенностей строения горных массивов в почвах и на поверхности горных участков очень много камней разной конфигурации и размеров [12, с. 239; 13, с. 714], которые являются препятствием для использования различной почвообрабатывающей техники, в частности, для внесения или высева минеральных удобрений. Представленный агрегат производит разбросной способ высевными трубками с разбросными конусами.
Особенность принципа работы рабочего органа для высева удобрений состоит в том, что разбросная трубка подвешена шарнирно к высевающему аппарату и может при любом уклоне склона до 15° сохранять вертикальное положение, что способствует правильному и равномерному распределению гранул по поверхности участка. Специальные высевные трубки при помощи шарнирного соединения могут отклоняться в любом направлении до 20° независимо от направления движения агрегата.
Минеральные удобрения в виде гранул, поступая из туковысевающего устройства в специальный конус разбросной трубки, преобразуются из хаотично высыпающихся гранул в направленный поток, который, попадая на вершину конусообразной детали, равномерно распределяется по улучшаемой поверхности участка. Угол α при вершине конуса детали составляет 45°, что обеспечивает равномерность попадания гранул на обрабатываемую поверхность.
Исследования, проведенные на горном участке, показали, что равномерность высева удобрений при угле α, равном 45°, обеспечивается согласно ОСТ 10.7.1–2000 «Стандарт отрасли. Испытания сельскохозяйственной техники. Машины для внесения твердых минеральных удобрений, известковых материалов и гипса».
РАСЧЕТ ЕМКОСТИ ЯЩИКА ДЛЯ МИНЕРАЛЬНЫХ УДОБРЕНИЙ
Зная необходимую максимальную норму внесения минеральных удобрений (200 кг/га), и время между заправками (1 ч), мы можем рассчитать вместимость ящика туковысевающего аппарата.
Вместимость ящика туковысевающего аппарата можно определить по формуле:
, (1)
где Ебун — вместимость ящика, м3; Wчac — производительность агрегата, га/час; N — норма внесения удобрений, кг/га (принимаем N = 200); п — количество туковысевающих аппаратов, шт. (в нашем случае п = 1); ρ — плотность массы минеральных туков, кг/м3 (по стандарту в среднем ρ = 1200); k — коэффициент запаса объема ящика (минимальное необходимое по стандарту k = 1,2)
, га/час (2)
где Шр — рабочая ширина захвата устройства для высева удобрений (Шр = 2 м), Vp — рабочая скорость движения устройства, км/час (в горной местности Vp = 7 км/час), K — коэффициент использования рабочего времени (K = 0,8).
Из формулы (1), подставив в нее формулу (2) имеем:
. (3)
Подставив известные значения величин в формулу (3), получаем, что вместимость ящика для минеральных удобрений должна быть при заданных данных не менее Ебун = 0,224 м..
ОПРЕДЕЛЕНИЕ ПЕРЕДАТОЧНОГО ЧИСЛА МЕХАНИЗМА ПРИВОДА ТУКОВЫСЕВАЮЩЕГО АППАРАТА
Анализируя возможные варианты и условия работы нового агрегата, пришли к выводу, что он должен обеспечивать нормы внесения туков от 30 до 200 кг/га. Данные нормы должны обеспечиваться подбором сменных звездочек приводного механизма, что требует определения передаточных отношений цепной передачи привода.
Согласно принципиальной схеме на устройстве установлен один ящик для туков, с 12 специальными высевающими аппаратами оригинальной маятниковой конструкции, осуществляющими разбросной высев.
Согласно техническому заданию, устройство на один погонный метр при ширине захвата должен высевать туков:
(4)
где Nn.м.а. — необходимая норма высева туков на 1 погонный метр (м.п.), кг/м.п.; N — норма высева туков на 1 га, кг/га; L — длина пути машины при обработке 1 га, м.
Длину пути машины при обработке 1 га (м) определяем по формуле:
, (5)
где Шр — ширина высева туков, м; S — площадь 1 га, м2.
Подставив формулу (5) в (4), получим нормированное количество гранул (массу, г) выбрасываемое одним катушечным аппаратом, которое определяется по формуле:
, г (6)
Для работы туков выбираем катушечно-штифтовый туковысевающий аппарат. В этом случае количество туков (высеваемых за один оборот катушки), можно определить по формуле:
, (7)
где q — вес туков, проходящих через катушку за 1 ее оборот, г; Vo — объем туков, проходящих через катушку за 1 ее оборот, см3; γ — объемный вес туков, г/см3.
Объем туков, проходящих через катушку за 1 ее оборот, всегда отличается от рабочего объема катушки. Особенность катушки в том, что она, вращаясь, сдвигает и перемещает так называемый активный слой (находящиеся вне желобков), а не только туки непосредственно в желобках.
Учитывая данное обстоятельство, должно выполняться условие
, (8)
где Vж — туки туков в желобках, см3; Vaк — объем туков вне желобков (активный слой), см3 (в среднем Vaк = 0,3 Vж).
Объем желобков определяем из выражения:
, (9)
где r — радиус желобков, см (r = 0,06); п — количество желобков на катушке, шт. (п = 12); l — длина катушки, см (l = 4 см).
В результате преобразований получаем формулу для определения веса туков, проходящих через катушку за 1 оборот:
. (10)
Подставив известные нам данные в формулу (10), получаем: грамм.
Принимаем вес туков, проходящих через катушку и высеянных за 1 оборот согласно расчету q = 2 г.
Далее определяем число оборотов катушки для высева туков по формуле (11), рассчитывая данные относительно прохода агрегатом 1 погонного метра пути:
, (11)
где пкат — число оборотов катушки при проходе агрегатом 1 погонного метра; Nn.м.к. — количество туков, высеваемое одной катушкой на 1 погонном метре.
После преобразований формулы (11), получим:
(12)
Число оборотов опорно-приводного колеса при проходе 1 погонного метра определяем по формуле:
(13)
где по.п.к. — число оборотов опорно-приводного колеса при проходе 1 погонного метра; R —радиус приводного колеса устройства, м.
В этом случае число оборотов i привода от опорного колеса к высевающей катушке будет выглядеть следующим образом:
. (14)
Преобразуя формулу (14) с использованием значений из формул (12) и (13), получим:
. (15)
Данную формулу можно использовать для вычисления чисел оборота приводного устройства опорно-приводного колеса, необходимых для высева различных норм минеральных удобрений, например: 30 кг/га, 90 кг/га, 200 кг/га.
Вариант 1 — Расчет числа оборотов приводного устройства опорно-приводного колеса при норме высева N = 30 кг/га — i1общ. = 2,35 (принимаем i1общ. = 2,4).
Вариант 2 — Расчет числа оборотов приводного устройства опорно-приводного колеса при норме высева N = 90 кг/га — i11общ. = 0,78 (принимаем i11общ. = 0,8).
Вариант 3 — Расчет числа оборотов приводного устройства опорно-приводного колеса при норме высева N = 200 кг/га — i111общ = 0,35.
Следовательно, сменные звездочки следует выбирать в зависимости от нормы внесения туков и числа оборотов приводного устройства высевающего аппарата.
Известно, что при работе на склонах необходимо соблюдать совмещение обработанных полос. Для этой операции на агрегате устанавливаются жидкостные маркеры, заполненные раствором гашенной извести, по следу которых ориентируется тракторист передним колесом трактора и обеспечивает совмещение полос.
Известковых маркеров должно быть два: левый и правый. При этом они должны быть снабжены клапанами, управляемые трактористом, т.е. он осуществляет подачу и прекращение подачи известкового раствора. Вместе с тем, учитывая уклоны горных склонов, клапан верхнего (по склону) маркера должен быть закрытым, а клапан нижнего — открытым и оставлять белый след на любой поверхности стерни: скошенного или стравленного участка.
Емкость маркера должна пополняться известковым раствором на разворотных полосах, на которых одновременно досыпаются в ящики туки. Жидкость из емкости маркера течет самотеком. Клапаны работают от источника постоянного тока трактора напряжением 12 В. Длину маркера можно изменять в зависимости от размера колеи [14, с. 658].
Основные технические характеристики устройства:
- диаметр круга разброса одной маятниковой трубки — 40 см;
- рабочая ширина захвата агрегата — 2,4 м;
- способ высева гранул — разбросной;
- количество туковысевающих аппаратов — 1;
- производительность работы часовая — 1,12 га/ч;
- рабочая скорость движения агрегата — 7 км/ч;
- норма высева семян 3–40 кг/га;
- уклон участка — до 16°.
По результатам НИОКР, по принципиальной схеме и проведенным расчетам, представлена технология агрегата и изготовлен лабораторный образец туковысевающего агрегата для высева минеральных удобрений на деградированные луга и пастбища (рис. 2).
Рис. 2. Общий вид лабораторного образца (вид слева).
Fig. 2. General view of the laboratory sample (left view).
Опыт по выявлению эффективности внесения минеральных удобрений агрегатом горной модификации проводился на террасированных землях горного опорного пункта (горный стационар СКНИИГПСХ) на трех высотных растительных поясах, по схеме приведенной в таблице.
Известно, что кормовые агрофитоценозы в горной местности обладают очень сложной структурой. Корневые системы горных трав располагаются в определенном порядке. Например, в верхнем горизонте (5–6 см) расположены мочкокорневые дернистые и корневищные злаки; в слое ниже (15–20 см) — короткостержневые, корневые; в третьем горизонте (30 см и более) располагаются длинностержневые. В такой же последовательности, как расположение горизонтов, на продуктивность трав оказывают влияние и минеральные удобрения.
Наиболее высокие прибавки урожая показали в первый год улучшения горных участков методом внесения удобрений такой тип трав, как мочкокорневые: овсяница овечья, лисохвост луговой, мятлик луговой и др. На второй год констатировали рост и развитие у полустержневых: одуванчик Стивена, подорожники, колокольчики и др., при проникновении удобрений в более глубокие горизонты почвы. На третий год положительное влияние удобрений проявилось на длинностержневых видах — эспарцетах, виках, люцерне жёлтой и др. [15, с. 10].
Следовательно, для восстановления продукционных, структурных и качественных функций, естественных травостоев залежных угодий, требуется трехгодичное внесение удобрений, тогда как, естественный восстановительный процесс происходит более 15–20 лет (см. табл. 1).
Таблица 1. Продуктивность пастбищного корма после трехлетнего внесения удобрений на различных растительных поясах
Table 1. Yield rate of pasture feed after three years of fertilization on various plant belts
Высотные пояса | Варианты опыта | Урожай ц/га | ||||
зеленой массы | сухого вещества | ЭКЕ (энергокормовые единицы) | корм.ед. | перевар. протеина | ||
Лугостепной | контроль | 66,6 | 13,6 | 27,4 | 12,8 | 2,1 |
N120P90K40 | 186,7 | 41,3 | 84,7 | 37,6 | 7,0 | |
N240P90K40 | 272,4 | 57,6 | 114,6 | 50,4 | 10,8 | |
Субальпийский | контроль | 51,2 | 10,4 | 21,0 | 9,8 | 1,6 |
N120P90K40 | 121,6 | 27,0 | 54,7 | 24,5 | 4,6 | |
N240P90K40 | 146,5 | 30,9 | 61,7 | 27,1 | 5,7 | |
Альпийский | контроль | 52,3 | 10,6 | 21,5 | 10,0 | 3,1 |
N120P90K40 | 109,6 | 24,3 | 49,8 | 22,0 | 4,2 | |
Таким образом, применение агрегата позволяет, в короткий срок ранней весной, внести минеральное удобрение на различных поясах и экспозициях склонов, что позволяет увеличить урожай зеленой массы [16, с. 17] по растительным поясам: на 120,1–205,8; 70,4–95,3; 57,5 ц/га. Увеличивается сбор кормовых единиц и перевариваемого протеина. Все это дает возможность при рациональном использовании (сенокосо-пастбищеоборот), повысить нагрузку на 1 га пастбищ, с одной головы нагульного молодняка крупного рогатого скота: в лугостепном поясе до почти — шести голов, в субальпийском до 3 голов; альпийском до двух, продлить срок пастбищного содержания в горах на 40–45 дней, увеличить животноводческую продукцию (среднесуточные привесы нагульного молодняка с 350 до 670–820 г), дополнительно заготовить зимний корм, в виде сена и сенажа.
РЕЗУЛЬТАТЫ
Авторами впервые создан лабораторный образец малогабаритного агрегата, способный осуществлять на горных участках следующие операции:
- улучшение почв горных участков методом внесения минеральных удобрений;
- прикатывание высеянных гранул катками.
Главным отличием конструкции блок-модуля является её малые габариты: ширина 2,4 м и маневренность в условиях горных мелкоконтурных участков. Лабораторный образец агрегата соответствует агротехническим требования (АТТ) и техническому заданию (ТЗ), что было этапом разработки 2020–2022 гг. В итоге, процесс внесения минеральных удобрений обеспечит снижение деградационных процессов склоновых участков путем улучшения качества и количества многолетних трав залежных кормовых угодий в короткие сроки, что будет способствовать использованию животными высококачественных кормов.
ДОПОЛНИТЕЛЬНАЯ ИНФОРМАЦИЯ
Вклад автора. Л.Р. Гулуева ― поиск публикаций по теме статьи, написание текста рукописи; редактирование текста рукописи; редактирование текста рукописи, создание изображений. Автор подтверждает соответствие своего авторства международным критериям ICMJE (автор внёс существенный вклад в разработку концепции, проведение исследования и подготовку статьи, прочёл и одобрил финальную версию перед публикацией).
Конфликт интересов. Автор декларирует отсутствие явных и потенциальных конфликтов интересов, связанных с публикацией настоящей статьи.
Источник финансирования. Автор заявляет об отсутствии внешнего финансирования при проведении исследования.
ADDITIONAL INFORMATION
Author’s contributions. L.R. Gulueva — search for publications on the topic of the article, writing the text of the manuscript; editing the manuscript text; editing the manuscript text, creating images. The author confirms his authorship compliance with the ICMJE international criteria (the author made a significant contribution to the conceptualization, research and preparation of the article, read and approved the final version before publication).
Competing interests. The author declares that he has no competing interests.
Funding source. The author declares that there was no external funding for the research.
1 Патент РФ 11440 / 16.10.1999. Базров А.А., Гапбаев Б.К., Елькин В.К., Гулуева Л.Р. Культиватор чизельный горный (КЧГ-2,4).
About the authors
Ludmila R. Gulueva
North Caucasian Research Institute of Highland and Piedmont Agriculture of the Vladikavkaz Scientific Center of the Russian Academy of Sciences
Author for correspondence.
Email: luda_gulueva@mail.ru
ORCID iD: 0000-0002-1089-3688
SPIN-code: 1293-1244
Senior Researcher of the Landscape Systems for Grassland Management in Mountain Territories Department
Russian Federation, 1 Villyamsa street, 363110 Mikhailovskoe, Republic of North Ossetia-AlaniaReferences
- Harisov MK, Abdullin MR, Zotov AA. Eco-friendly resource-saving technologies for improving and rational use of natural forage lands of the Southern Urals. In: Netradicionnoe ekorastenievodstvo, selekciya, genetika i biozemledelie. Ohrana bio-noosfery i Kosmologiya. Filosofiya estestvoznaniya i ekoobrazovanie v triedinstve ekonomiki, ekologii i zdorov’ya. Trudy XXVIII mezhdunarodnogo nauchnogo simpoziuma. 2019;402–413. (In Russ.)
- Soldatov E, Dzhibilov S, Soldatova I, Guluyeva L. Restoration of degraded mountain pastures of the central caucasus by targeted sowing of seeds of perennial grasses. E3S Web of Conferences. 2020;175. doi: 10.1051/e3sconf/202017509013
- Kutuzova AA, Trofimova LS, Provornaya EE. Methodology for assessing energy flows in meadow agroecosystems. Moscow: Ugreshskaya tipografiya; 2015. (In Russ.)
- Mamiev DM. Prospects for the development of biological farming in the Republic of North Ossetia — Alania. Scientific life. 2019;14(9(97)):1396–1402. (In Russ.) doi: 10.35679/1991-9476-2019-14-9-1396-1402
- Dzhibilov SM, Gulueva LR, Korobejnik IA. A unit for raking stones with simultaneous automatic sowing of grasses in mountain meadows and pastures of the North Caucasus. Izvestiya Gorskogo gosudarstvennogo agrarnogo universiteta. 2018;55(1):106–112. (In Russ.)
- Patent RUS 2431248 / 10.20.2011. Djibilov SM, Gulueva LR, Gabaraev FA, Bestaev SG. Method for sowing grass seeds. (In Russ.) EDN: BKNHXC
- Kutuzova AA, Teberdiev DM, Rodionova AV, et al. Economic efficiency of improved technologies for the creation and use of seeded hayfields. Kormoproizvodstvo. 2020;3:3–8. (In Russ.)
- Soldatova IE, Soldatov ED. Creation of highly productive hayfields and pastures in the mountainous zone of the North Caucasus. Izvestiya Gorskogo gosudarstvennogo agrarnogo universiteta. 2017;54(3):9–14. (In Russ.)
- Savchenko IV. Resource-saving organic crop production for high quality products. Vestnik Rossiyskoy akademii nauk. 2019;89(5):527–531. (In Russ.)
- Djibilov SM, Gulueva LR, Bestaev SG. Ripper of row spacing — hiller of uterine bushes in the nursery. Izvestiya Gorskogo gosudarstvennogo agrarnogo universiteta. 2014;51(4):201–207. (In Russ.)
- Zavalin AA, Sokolov OA, Shmyreva NYa. Ecology of nitrogen fixation. Saratov: Amrit; 2019. (In Russ.)
- Kyul EV, Apazhev AK, Kudzaev AB, Borisovа NA. Influence of anthropogenic activity on transformation of landscapes by natural hazards. Indian Journal of Ecology. 2017;44(2):239–243.
- KudzaevAB, Urtaev TA, Tsgoev AE, et al. Adaptive energy-saving cultivator equipped with the simultaneous adjuster of sections for working stony soils. International Journal of Mechanical Engineering and Technology. 2017;8(11):714–720.
- Kudzaev AB, Urtaev TA, Tsgoev AE, et al. Study of elastic composite rods for creating fuses of tilthers. International Journal of Civil Engineering and Technology. 2017;8(11):658–666.
- Djibilov SM, Soldatov ED, Gulueva LR, Soldatova IE. A way to solve the problem of degradation of mountain pastures in the Central Caucasus. Agrarian Bulletin of the Urals. 2020;6(197):10–16. (In Russ.) doi: 10.32417/1997-4868-2020-197-6-10-16
- Dzhibilov SM, Gulueva LR, Bestaev SG. Unit for sowing grass seeds with simultaneous application of granular fertilizers to mountain meadows and pastures. Tractors and agricultural machinery. 2015;5:17–18. (In Russ.) EDN: TUHZBR
Supplementary files




