Methodology for the numerical solution of problems in relation to the coil-type electric heat exchangers for heating fuel
- Authors: Krokhta G.M.1, Khomchenko Y.N.1, Usatykh N.A.1
-
Affiliations:
- Novosibirsk State Agrarian University
- Issue: Vol 88, No 4 (2021)
- Pages: 45-54
- Section: Articles
- Submitted: 08.11.2021
- Published: 15.08.2021
- URL: https://journals.eco-vector.com/0321-4443/article/view/87326
- DOI: https://doi.org/10.31992/0321-4443-2021-4-45-54
- ID: 87326
Cite item
Full Text
Abstract
The specificity of the operating conditions of agricultural tractors in the agro-industrial complex requires the provision of reliable engine start at low ambient temperatures. Improving the starting qualities of a diesel engine and reducing incomplete combustion in the post-start period can be achieved by increasing the exergy of the air charge at the end of the compression stroke or increasing the exergy of the fuel injected into the combustion chamber. The purpose of the study is to reduce the expenditure of exergy for prestarting a diesel engine, improve starting qualities and reduce incomplete combustion in the post-start period.
To achieve this goal, the design of an electric heat exchanger was developed in the form of a coil from a high-pressure fuel line, into which a heating element is inserted. A method for calculating its main parameters was developed. Calculations showed that in order to ensure reliable start-up of a diesel engine in winter, it is necessary to heat the fuel in the nozzle to a temperature of 240 °C in the thermal boost mode. A heater of about 98 Watts is required to reach this temperature within 270 seconds of priming. However, in order to maintain such a fuel temperature during the start-up process, it is necessary to make changes in the nozzle design in order to minimize heat losses into the walls of the fuel channel by applying a heat-insulating coating. With further engine operation in the post-start heating mode, the fuel temperature in the injector is reduced to 85–95 °C.
Full Text
Введение
В период холодного пуска дизеля топливо, подаваемое в камеру сгорания форсункой, нагревается, испаряется и перегревается за счет теплоты слоев воздушного заряда, прилегающих к топливному факелу [1, 2], в результате чего происходит существенное снижение температуры воздуха на границе раздела топливных факелов примерно до 150–200 °С [3].
Тепловые расчеты показывают, что если бы в теплообмене участвовал весь заряд воздуха, то снижение его температуры в результате суммарных потерь теплоты на испарение топлива должно составлять не более 20–30 °С [3, 4]. Очевидно, что улучшение пусковых качеств дизеля и снижение неполноты сгорания в послепусковой период можно осуществить путем повышения эксергии воздушного заряда в конце такта сжатия или увеличения эксергии топлива, впрыскиваемого в камеру сгорания [5, 6]. Исследования, выполненные ранее, и приведенные расчеты показывают, что в первом случае затраты эксергии будут почти в 6 раз больше, чем во втором [4].
Управляемый предварительный подогрев топлива в форсунке (термическая составляющая эксергии) позволяет одновременно увеличить общее теплосодержание топливовоздушной смеси в конце такта сжатия, повысить дисперсность топливных факелов и уменьшить период задержки самовоспламенения [7].
Таким образом, возможность регулирования термической составляющей эксергии топлива, подаваемого в камеру сгорания форсункой, способствует повышению тепловой активности горючей смеси. В результате этого следует ожидать улучшения пусковых качеств двигателя, снижения неполноты сгорания топлива и количества вредных веществ, выбрасываемых в атмосферу в период пуска и послепускового прогрева [4, 8].
В настоящей статье предложена методика численного решения задач применительно к электротеплообменникам типа «змеевик» и представлены результаты расчетов.
Считается, что при достаточно точной постановке задач и использовании соответствующих уравнений метод численного решения равноценен экспериментальному исследованию. Результаты численного решения настолько точны, насколько точны исходные данные и уравнения [9].
По способу передачи теплоты различают контактные и поверхностные теплообменные аппараты. В контактных теплота передается путем непосредственного смешения двух теплоносителей. Поверхностные теплообменники, в свою очередь, делятся на рекуперативные и регенеративные. В первых теплота передается от одного теплоносителя к другому через твердую стенку, разделяющую их. Во-вторых – стенка попеременно находится в контакте то с горячим, то с холодным теплоносителем, передавая теплоту от первого ко второму.
Цель исследований
Снижение затрат эксергии на предпусковую подготовку дизельного двигателя, повышение пусковых качеств и снижение неполноты сгорания в послепусковой период.
Материалы и методы
Объектом исследования являются процессы тепловой подготовки топлива в предпусковой, пусковой и послепусковой период с помощью рекуперативных электротеплообменников, которые устанавливаются на топливопроводах высокого давления; например, патент № 2731505 [10].
Методика исследования базируется на методах эмпирического уровня: описание, сравнение, счет и эксперимент. Кроме того, применялись основные положения технической термодинамики, теплотехники и теплопередачи. Исследования выполнялись в соответствии с требованиями ГОСТ–18509–88 «Дизели тракторные и комбайновые. Методы стендовых испытаний».
Для достижения поставленной цели была разработана методика численного решения задач применительно к электротеплообменникам типа «змеевик» и на основании выполненных расчетов – конструкция теплообменника, и обоснованы основные его параметры (рис. 1) [10].
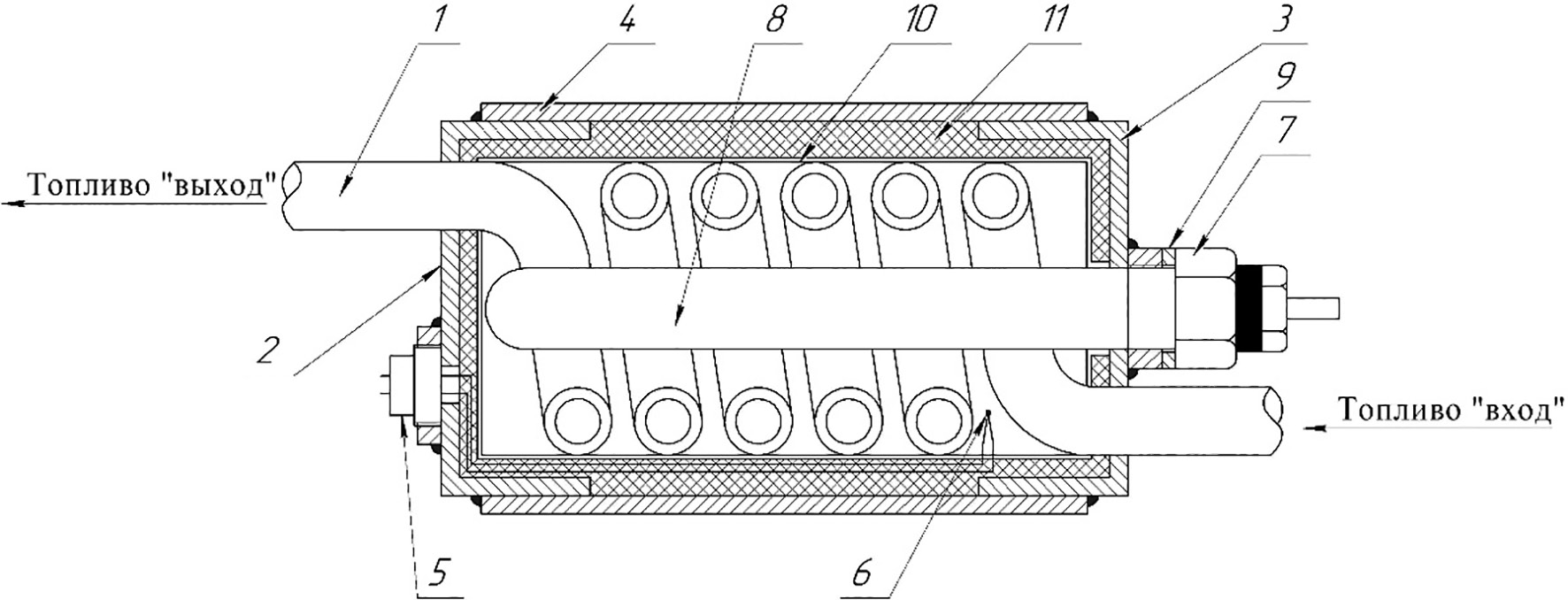
Рис. 1. Устройство электротеплообменника для подогрева топлива в топливопроводе высокого давления дизельного двигателя в предпусковой, пусковой и послепусковой периоды: 1 – трубка высокого давления («змеевик»); 2, 3 – крышки: левая, правая; 4 – металлический кожух; 5 – разъем термодатчика; 6 – датчик температуры; 7 – втулка резьбовая; 8 – электронагреватель; 9 – шайба уплотнительная; 10 – фольга алюминиевая; 11 – теплоизоляция
Устройство представляет собой часть трубки высокого давления от топливного насоса к форсунке, свернутой в змеевик 3. С торцов змеевик закрывается крышками 2 и 3. К наружным поверхностям крышек приварен цилиндрический кожух 4. В крышке 2 закреплен разъем 5 датчика температуры топлива 6. Сам датчик температуры топлива 6 размещен около трубок, находящихся у выхода из теплообменника 1. В центре крышки 3 просверлено отверстие, в которое вставлена и приварена резьбовая втулка 7. Во втулку ввернут штифтовый нагреватель 8. Между нагревателем и резьбовой втулкой установлена уплотнительная шайба 9. Поверхность теплообменника закрывается алюминиевой фольгой 10. Внутренние и наружные поверхности нагревателя и топливопроводов покрываются краской с низкой теплопроводностью, внутренние полости между поверхностями крышек и кожухом заполняются теплоизоляцией 11. Выводы топливопроводов через крышки запаиваются.
Предлагаемое устройство работает следующим образом. Перед пуском ключ устанавливается в положение «предпусковая подготовка». В этом случае напряжение подается на нагревательный элемент 8. Нагревательный элемент развивает максимальную мощность. Топливо, находящееся в теплообменнике 1, нагревается до 240 °С (режим термофорсирования). О завершении предпусковой подготовки системы подачи топлива к пуску свидетельствует световой или другой сигнал. Далее осуществляется пуск двигателя. Если пуск удачен, то двигатель переходит на режим послепускового прогрева.
При прогреве температура топлива на выходе из теплообменника должна быть понижена до значения, соответствующего оптимальной температуре охлаждающей жидкости в головке блока. Для большинства дизельных двигателей оптимальной температурой охлаждающей жидкости считается температура от 85 до 95 °С. Поскольку теплота передается от наиболее нагретых деталей головки блока, корпуса форсунки и торца распылителя, выходящего в камеру сгорания, то вполне естественно, что температура топлива в кармане распылителя должна быть выше охлаждающей жидкости в головке блока. Экспериментальные исследования показали, что температура топлива в топливном канале, например, для двигателя Д-440 всегда на 2–3 °С выше по сравнению с охлаждающей жидкостью [11]. Поэтому температуру, которая превышает оптимальную температуру охлаждающей жидкости на 2–3 °С, считают оптимальной для топлива, находящегося в топливном канале форсунки.
Следовательно, начиная с предпусковой подготовки до окончания работы трактора, температура топлива в форсунке должна автоматически поддерживаться на уровне (85–95+2 °С). При увеличении температуры топлива в форсунке до 95+2 °С и выше нагревательный элемент отключается. Следующее включение нагревателя происходит при снижении температуры топлива до 85 °С и ниже (∆t = 10 °C). Далее все повторяется.
Считывание информации с датчиков, их обработка и формирование управляющего сигнала осуществляется с помощью блока управления или бортового компьютера.
Результаты и обсуждение
На рис. 2 представлена расчетная схема электротеплообменника.
Рис. 2. Расчетная схема электротеплообменника
Исходные данные для численных исследований:
Cp – теплоемкость топлива при 240 °С – 2,87 кДж/кг⋅К;
CM – теплоемкостью металла – 469 Дж/кг·К;
– плотность дизельного топлива марки «З» при 240 °С – 650 кг/м3;
– плотность дизельного топлива марки «З» при минус 20 °С – 870 кг/м3;
gц – цикловая подача при пуске – 140 мм3/цикл; насос – 4ТНМ. 12.88;
ne – частота вращения коленчатого вала на холостом ходу – 1750 мин–1;
nn – пусковая частота вращения коленчатого вала – 200 мин–1;
mто − масса деталей теплообменника – 0,212 кг;
de – внутренний диаметр трубки теплообменника – 2 мм;
dв – наружный диаметр трубки теплообменника – 6 мм;
dс – средний диаметр теплообменника (змеевика) – 20 мм;
U – напряжение питания нагревателя – 12 В;
GT – часовой расход топлива двигателем без трансмиссии на холостом ходу (1750 мин–1) – 4,9 кг/ч;
tn – время предпусковой подготовки – (120 с; 270 с);
tM – минимальная температура «холодного пуска» – минус 20 °С.
Предпусковая тепловая подготовка топлива
По результатам предварительных расчетов принималось число витков змеевика теплообменника N = 8. После корректировки число витков было снижено до 6 и сделан еще один перерасчет, результаты которого представлены в данной статье.
Длина витка:
, мм, (1)
Lв = 3,14 · 20 = 62,8 мм.
Длина трубки под теплообменник:
, мм. (2)
Lт = 62,8 · 6 = 376,8 мм.
Объем топлива (V) в змеевике:
, мм3. (3)
V = 3,14·376,84 = 1183,2 мм3.
Определим количество циклов (Z) с нагретым топливом в змеевике в период предпусковой подготовки с помощью электронагревателя. Один цикл соответствует двум оборотам коленчатого вала:
; (4)
циклов.
Эксергию, которая необходима для нагрева цикловой подачи топлива в топливопроводе до 240 °С с целью повышения надежности пуска двигателя при температуре минус 20 °С, можно определить с помощью уравнения:
Qц = Сср · mT (Tк – Tн), Дж, (5)
Qц = Сср · ρср · gц (Tк – Tн), Дж, (6)
где Cср – средняя теплоемкость топлива, 2,26 кДж/кг·К; mT – цикловая масса топлива, кг; Tк – конечная температура топлива, K; Tн – начальная температура топлива, K.
Массу цикловой подачи топлива можно определить из уравнения:
mT = ρcp gц, (7)
где средняя плотность топлива, кг/м3.
кг/м3. (8)
Тогда Qц = 2,26 · 103 · 0,140 · 0,760 · 10–3 · 260 = 376,8 мм.
Количество эксергии, необходимое для нагрева этого объема топлива в «змеевике», можно определить как:
(9)
Эксергия, аккумулированная корпусом форсунки (частью) и другими деталями, участвующими в теплопередаче:
(10)
Анализируя полученные результаты – (9) и (10) – можно сказать, что основная часть термической эксергии топлива (до 98 %) в предпусковой период аккумулируется в конструкционных материалах деталей, с поверхностью которых соприкасается нагретое в электротеплообменнике топливо. Подогреватель топлива проточный, коленчатый вал двигателя не вращается, поэтому в предпусковой период в подогревателе нагревается только топливо, находящееся в змеевике. Недостающее количество топлива, которое должно быть подано в камеру сгорания во время пуска (20 с), может нагреваться как за счет эксергии, аккумулированной ранее конструкционными материалами, так и эксергии, поступающей от работающего электронагревателя.
Суммарные затраты эксергии на нагрев топлива и деталей теплообменника в период предпусковой подготовки составляют:
(11)
Мощность электротеплообменника при предпусковой подготовке в течение 120 с определится как (12):
(12)
Если время предпусковой подготовки увеличить до 270 с, то мощность нагревательного элемента можно снизить до приемлемого уровня, при котором обеспечена стабильная работа аккумуляторной батареи:
(13)
Известно, что бортовая сеть самоходных машин может иметь напряжение 12, 24 и реже – 48 В. На тяжелых машинах с двигателями большой мощности бортовая сеть может быть 24 В или комбинированной – 12/24 В. Пока что наибольшее распространение на автомобилях, тракторах и других самоходных машин получила сеть 12 В и в меньшей степени – комбинированная 12/24 В. Поэтому в дальнейших расчетах принимаем, что электронагреватели питаются от сети напряжением 12 В.
Далее воспользуемся известными уравнениями, чтобы установить количественную зависимость тока электронагревателя от времени его работы в предпусковой период (время 120 с и 270 с).
Определяем ток в цепи (время работы 120 с):
(14)
Определяем ток в цепи (время работы 270 с):
Выбираем нагревательные элементы из числа тех, которые выпускаются серийно, по геометрическим размерам, напряжению, мощности и допустимому времени работы на режиме максимальной мощности. В нашем случае максимальная мощность необходима в период предпусковой подготовки и пуска.
Исследованиями установлено, что только около 2 % эксергии вносится топливом в камеру сгорания, а основная часть идет на разогрев форсунки и головки блока. Незначительная часть эксергии рассеивается в окружающую среду.
Исключить охлаждение подогретого топлива при попадании в канал форсунки можно двумя способами. Есть радикальный вариант: по максимуму исключить соприкосновение нагретого в топливопроводе высокого давления топлива с холодной поверхностью форсунки. Нужна другая конструкция форсунки, которая исключала бы потери термической эксергии топлива, полученной от нагревательного элемента. Форсунка могла бы без потерь эксергии работать в режиме «термофорсирования» при пуске и поддерживать оптимальную температуру топлива в форсунке при прогреве и последующей работе двигателя, независимо от его теплового состояния, с минимальными затратами эксергии.
Второй вариант менее эффективный, но также заслуживает внимания: нагревать не весь двигатель, а только головку блока, что значительно сократит время прогрева и энергозатраты на подготовку двигателя к работе.
Поскольку в головке расположены основные коммуникации двух наиболее важных систем, таких как подачи воздуха и подачи топлива, то быстрый нагрев головки до оптимальной температуры и ее поддержание во время работы гарантирует надежность последующего пуска, сокращение времени послепускового прогрева с максимальной полнотой сгорания топлива и снижение вредных выбросов.
Тепловая подготовка топлива в период пуска
В соответствии с ГОСТ 18509–88 пуск может осуществляться в течение трех попыток длительностью не более 20 с. В дальнейших расчетах принимается во внимание только одна попытка 20 с. Поскольку в период пуска подогрев топлива продолжается, то в теплообменнике аккумулируется достаточное количество эксергии, которое может быть использовано на нагрев топлива при последующих попытках.
Допускаем, что нагрев металлических деталей теплообменника и других деталей, поверхности которых контактируют с нагретым топливом, происходит только во время предпусковой подготовки, и потери теплоты в окружающую среду отсутствуют.
В период пуска подогрев топлива продолжается. Температурный режим остается неизменным.
Время, затраченное на совершение одного цикла при частоте вращения коленчатого вала nп = 200 мин–1, можно определить как:
(15)
Несложные расчеты показывают, что в течение 20 с времени пуска должно совершиться 34 цикла.
Ранее отмечалось, что топлива, нагретого в змеевике в течение предпусковой подготовки, хватает только на 8 циклов. Недостающая – большая – часть пусковой подачитоплива (26 циклов) подогревается во время пуска, а оставшаяся часть (8 циклов) будет перенесена на последующий после пуска прогрев.
Количество эксергии, которое должно быть использовано в течение 26 пусковых циклов, определиться как:
(16)
Количество эксергии топлива, которое остается в теплообменнике после пуска:
(17)
Допускаем, что в период предпусковой тепловой подготовки топлива в форсунке тратится относительно большое количество эксергии на разогрев деталей топливной аппаратуры и головки блока. Кроме того, принимаем, что при пуске и последующем прогреве затраты на нагрев металлических деталей отсутствуют. Отсутствуют также потери теплоты в окружающую среду.
Определяем суммарные затраты эксергии на нагрев топлива, израсходованного в течение времени пуска:
(18)
откуда
Далее, применяя основные положения и уравнения, касающиеся теории технической термодинамики и теплопередачи, определим площадь поверхности нагрева, уточним размеры змеевика, а также выберем материал и рассчитаем толщину слоя изоляции [6].
Условия и последовательность решения подобных задач
К теплоизоляционным материалам относятся материалы с малой теплопроводностью. Они состоят из волокнистой, порошковой или пористой основы, заполненной воздухом. Воздух создает термическое сопротивление, а основа материала препятствует появлению естественной конвекции воздуха и переносу теплоты с поверхности теплообменника излучением. Увеличение толщины теплоизоляции повышает суммарное термическое сопротивление, тем самым уменьшает потери теплоты в ОС.
По змеевику (рис. 1), сформированному из части трубки высокого давления, расположенному в неподвижном воздухе (греющая среда с температурой t = 300 °С) движется нагреваемая жидкость – дизельное топливо, расход которого M1 = 0,638 кг/ч (пусковой расход топлива). Температура топлива на входе в змеевик =–20 °С, на выходе − 240 °С. Внутренний диаметр трубки dв = 2 мм, наружный – dн = 6 мм, материал – сталь.
Средняя по длине теплообменника температура топлива:
°С. (19)
По t1 находим физические константы дизельного топлива: µ1 = 0,86 · 10–3 кг/(м·с), ρ1=767 кг/м3, 0,1047 Вт/(м·К), =2,26 кДж/(кг·К), 0,6·10–6 м2/с.
Отношение () учитывает влияние направления теплового потока.
Количество теплоты, затрачиваемой на нагрев топлива в теплообменнике в секунду:
(21)
Считаем, что скорость движения топлива по змеевику постоянная и определяется по формуле:
(20)
Число Рейнольдса для топлива:
(22)
Режим ламинарный, так как < 2300.
Число Нуссельта для топлива по М.А. Михееву [9]:
(23)
Задаемся температурой внутренней стенки, которая омывается топливом: 240 °С, при этом 11,44.
Коэффициент теплоотдачи для топлива:
(24)
Плотность теплового потока:
(25)
Тепловой поток на 1 м длины трубы:
(26)
Температура наружной стенки змеевика теплообменника:
°С
Материал и теплопроводность трубки змеевика: Ст. 20х, ГОСТ 4543–61, λ=46,9 Вт/м·К.
Температура внешней поверхности тепловой изоляции при теплопроводности минеральной ваты 0,1 Вт/м·К:
°С
Средняя температура наружной стенки змеевика и воздуха внутри теплообменника:
°С (27)
По находим физические константы (греющей среды) воздуха: Н·с/м2, 0,85 кг/м3, 1,047 кДж/кг·К, 4,59×10–2 Вт/м·К, 37,14·10–6 м2/с, 0,675, 2,9 · 10–3K–1.
Число Нуссельта для воздуха:
(28)
Число Грасгофа для воздуха:
Произведение
По величине находим с = 0,54, n = 1/4.
Коэффициент теплоотдачи для воздуха:
(29)
Коэффициент теплопередачи от воздуха к топливу:
(30)
Средний логарифмический температурный напор:
°С,
°С.
°С
Плотность теплового потока:
Вт/м2. (31)
Площадь поверхности нагрева:
м2. (32)
Длина трубки, из которой изготовлен змеевик:
мм. (33)
В результате предварительных технических расчетов был выбран средний диаметр витка (20 мм), количество витков (8) и определена длина трубки, из которой изготовлен змеевик. Длина трубки составила 502,4 мм, что на 36 % оказалось больше величины, полученной в ходе окончательного теплового расчета (315,9 мм), или более 5 витков. Округляем количество витков до 6. Таким образом, окончательно длина трубки под змеевик составит 376,8 мм.
Тепловая подготовка топлива при прогреве двигателя на холостом ходу
После пуска и достижения коленчатым валом частоты холостого хода (1750 мин–1) блок управления ограничивает максимальную температуру нагрева топлива в форсунке до 95+2 °С и поддерживает эту температуру в течение всего прогрева двигателя до нормального теплового состояния.
Эксергия, которая необходима для поддержания температуры топлива в топливопроводе высокого давления на уровне 95+2 °С, может быть определена с помощью уравнения (5).
Экспериментальными исследованиями установлено, что часовой расход топлива (GT) у нормально прогретого двигателя Д-440 на холостом ходу (1750 мин–1) равен 4,9 кг/ч.
Определим секундный расход топлива и цикловую подачу:
, (34)
где i – число цилиндров; mC – секундный расход топлива одним цилиндром, мг/с; GT – часовой расход топлива, кг/ч.
мг/с.
Время цикла: с/цикл.
Цикловая подача топлива на холостом ходу (1750 мин–1) будет равна:
мг/цикл.
Максимальная величина эксергии, которую нужно затратить в течение одного цикла (холостой ход) на нагрев топлива в топливопроводе до 95+2 °С:
Дж/цикл.
Мощность нагревательного элемента на холостом ходу можно определить из уравнения (13):
Вт.
Таким образом, расчеты показывают, что подогрев топлива в системе питания на линии высокого давления c целью повышения пусковых качеств двигателя и полноты сгорания в послепусковой период технически возможен. В то же время, стало очевидно, что мощность нагревательного элемента значительно больше в период предпусковой подготовки, чем требуется при пуске и прогреве, при сопоставимых временных отрезках. Это объясняется тем, что в предпусковой период много эксергии тратится, как акцентировалось ранее, на нагрев «железа», с которым соприкасается нагретое топливо. Например, для подогрева и поддержания оптимальной температуры топлива в форсунке при пуске требуется 2,1 кДж, а при предпусковой подготовке – 26,4 кДж. Из равенств (5, 6) следует, что величина суммарных затрат эксергии на нагрев «железа» теплообменника и топлива, находящегося в змеевике, определяются теплоемкостью, массой, плотностью и температурой (начальной и конечной) деталей теплообменника и топлива, находящегося в нем. Суммарные затраты () непосредственно не зависят от мощности нагревательного элемента. От мощности будет зависеть только время достижения конечной температуры нагреваемых материалов. Чтобы сохранить суммарные затраты до и после корректировки расчетов на одном и то же уровне необходимо увеличить время предпусковой подготовки топлива с 40 до 270 с, в результате чего пропорционально снижается необходимая мощность нагревательного элемента (до 98,0 Вт). Одновременно уменьшается ток в цепи электронагревателя до 8,1 А.
После подбора на рынке подходящих нагревательных элементов, а также с учетом полученных результатов, расчеты могут быть еще раз уточнены.
Одновременно возникает ряд вопросов к конструкции форсунки. Вполне очевидно, что рабочая температура топлива в форсунке должна быть постоянной и независимой от теплового состояния двигателя, степени его загрузки и температуры окружающей среды. Например, для двигателя Д-440 температура топлива в форсунках на 2−3 °С больше оптимального режима двигателя. Это означает то, что даже в летний период эксплуатации топливо в форсунке перед пуском желательно нагревать до оптимальной величины (90−95+2 °С) от бортовой сети или постороннего источника теплоты, а затем поддерживать ее на постоянном уровне независимо от теплового состояния двигателя. На современных автотракторных дизельных двигателях подогрев топлива в форсунках, как правило, не предусмотрен, что негативно сказывается на пусковых качествах двигателя и полноте сгорания топлива во время его прогрева.
В качестве примера рассмотрим наиболее простой вариант модернизации форсунки: установку форсунки в головку блока двигателя ЯМЗ-238НД трактора К-744. Форсунка имеет сравнительно большую массу (более 0,6 кг), устанавливается в латунный стакан головки и уплотняется медной шайбой, которая способствует хорошей теплопередаче от нагретого топлива в корпус форсунки, далее – в головку. Вполне вероятно, что большая часть эксергии горячего топлива будет аккумулироваться корпусом форсунки и головкой блока, снижая эффективность работы электронагревателя топлива.
Частично решение этой проблемы возможно путем теплоизоляции нагретого топлива, проходящего через топливный канал, от корпуса форсунки, установкой в каналы теплоизолирующих втулок, нанесением теплоизолирующих покрытий на внешние поверхности трубок высокого давления и корпуса форсунок. Электронагреватели топлива необходимо размещать на топливопроводах как можно ближе к форсункам.
В то же время, модернизация не должна вызвать перегрев форсунок, что может привести к их отказу.
Заключение
- Разработана методика численного решения задач применительно к расчету электроподогревателя топлива типа «змеевик». Предлагаемая методика позволяет выполнить необходимые расчеты электротеплообменника и определить его технические параметры на трех эксплуатационных режимах: предпусковой, пусковой и послепусковой прогрев на холостом ходу (при 1750 мин–1).
- Предложена, рассчитана и запатентована конструкция электроподогревателя топлива, размещенного непосредственно на топливопроводе высокого давления.
- После корректировки расчетов были уточнены технические параметры электронагревателей, которые можно устанавливать, например, на двигателях Д-440:
– мощность – не менее 100 Вт;
– ток – не более 8 А;
– напряжение 12 В;
– режим «термофорсирования» – не более 240 °С;
– время работы на предпусковом режиме 270 с;
– время работы на режиме пуска 20 с;
– температура топлива при послепусковом прогреве и последующей работе – не более 95+2 °С.
- Эффективность работы предлагаемого электротеплообменника можно значительно повысить с помощью новой конструкции форсунки с теплоизоляцией топливного канала от ее корпуса.
- Исследованиями установлено, что одним из промежуточных вариантов может быть отдельный подогрев головки блока, в результате чего сокращаются время разогрева и энергозатраты на подготовку машины к работе. Улучшается полнота сгорания топлива в послепусковой период прогрева.
About the authors
G. M. Krokhta
Novosibirsk State Agrarian University
Author for correspondence.
Email: mshipo@mail.ru
Dsc in Engineering
Russian Federation, NovosibirskYE. N. Khomchenko
Novosibirsk State Agrarian University
Email: mshipo@mail.ru
PhD in Engineering
Russian Federation, NovosibirskN. A. Usatykh
Novosibirsk State Agrarian University
Email: mshipo@mail.ru
Russian Federation, Novosibirsk
References
- Heywood J.B. Internal combustion engine fundamentals [Tekst] / John B. Heywood. McGrow-Hill. 2019. 1056 p.
- Balabin V.I., Vasil’yev V.N. Features of the use of thermal boosting of fuel on locomotive diesel engines. Sovremenn·yye naukoyemkiye tekhnologii. 2015. No 4, pp. 107−113 (in Russ.).
- Krokhta G.M. Cold start of the 6ChN 13,0/11,5 engine and post-start warming up of the engine-transmission unit of the T-150K tractor. Traktory i sel’khozmashiny. 2016. No 1, pp. 31–35 (in Russ.).
- Krokhta G.M. Quality control of the mixture formation process during start-up and post-start heating of a diesel engine. Traktory i sel’khozmashiny. 2019. No 4, pp. 3−12 (in Russ.).
- Celik A., Yilmaz M., Yildiz O.F. Improvement of diesel engine startability under low temperatures by vortex tubes // Energy reports. 2020. № 6. С. 17−27.
- Ramadhas A.S., Xu H. Intake air heating strategy to reduce cold-start emissions from diesel engines // Biofuels. 2018. Vol 9. Iss 3. С. 405−414.
- Mekonen M.W., Sahoo N. Effect of fuel preheating with blended fuels and exhaust gas recirculation on diesel engine operating parameters // Renewable Energy Focus. 2018. Vol 26. С. 58−70.
- Krokhta G.M. The exergy method and criteria for assessing the readiness of a diesel engine for start-up. Vestnik NGAU. 2012. No 1 (22). Chast’ 2, pp. 132−135 (in Russ.).
- Yudayev B.N. Teploperedacha [Heat transfer]: Uchebnik dlya vuzov. 2-e izd., pererab. i dop. Moscow: Vyssh. Shkola Publ., 1981. 310 p.
- Krokhta G.M., Vagaytsev P.S., Usatykh N.A., Khomchenko YE.N. Ustroystvo dlya podogreva topliva v sisteme vysokogo davleniya dizel’nogo dvigatelya v predpuskovoy i puskovoy periody [Device for heating fuel in the high pressure system of a diesel engine during pre-start and start-up periods]: patent No 2731505 (RF). 2020.
- Krokhta G.M. Osobennosti ekspluatatsii traktorov v usloviyakh nizkikh temperature [Operation of tractors at low temperatures]: monografiya. Novosib. gos. agrar. un-t, Inzhener. In-t. Novosibirsk: ITS NGAU «Zolotoy koloS» Publ., 2017. 376 p.
Supplementary files





