Restoration and alloying of working bodies of earth-moving machinery
- Authors: Kazannikov O.V.1, Popov E.V.1
-
Affiliations:
- Pacific National University
- Issue: Vol 88, No 6 (2021)
- Pages: 82-89
- Section: Quality, reliability
- Submitted: 30.12.2021
- Accepted: 30.12.2021
- Published: 15.12.2021
- URL: https://journals.eco-vector.com/0321-4443/article/view/95644
- DOI: https://doi.org/10.17816/0321-4443-2021-6-82-89
- ID: 95644
Cite item
Full Text
Abstract
During the operation of road-building and earth-moving machinery, their working bodies are subjected to the greatest wear, in particular: crowns of rippers, blades of dumps, teeth of excavator buckets. The limiting state of parts is characterized by a 25–35 % loss of mass of worn elements of working bodies that have direct contact with the ground. Rejected during repair parts are sent for recycling or restoration. The service life of some of the most loaded parts when working with heavy soils is several hours. The need for crowns for earthmoving equipment from enterprises involved in road construction and quarrying in the Far East region is measured in tens of thousands of pieces per year. Replenishment of stocks of wear parts makes it necessary to implement complex logistics schemes due to the remoteness of facilities from the centers of production of parts, and is always accompanied by significant costs. Therefore, the problem of restoring and strengthening worn crowns of rippers and teeth of excavator buckets is very relevant. Various industrial and scientific organizations have been solving this problem for a long time, and quite good results in this direction were obtained after a number of developments at the E.O. Paton Electric Welding Institute in the direction of the method of electroslag facing (ESF). Based on this method, various technological processes for the restoration of massive parts were created. The use of ESF allows not only to restore parts with significant wear, but also to obtain the corresponding design requirements or improved functional properties. These, when restoring the working bodies of construction and road vehicles, will increase their durability. The paper considers the possibility of restoring worn crowns of working bodies of earth-moving vehicles by the ESF method, using ore concentrates mined in the Far East as alloying additives.
Full Text
Введение
Одним из важнейших направлений развития современного машиностроения является решение задач по повышению качества, надежности, экономичности и производительности машин. Значительная роль в реализации указанных задач отводится техническим и технологическим методам, направленных на уменьшение износов деталей, т.к. именно износ является наиболее распространенной причиной выхода из строя деталей и рабочих органов машин. В силу объективных причин особенно высокий износ имеют механизмы и детали, работающие в прямом контакте с грунтом и различными строительными материалами на открытом воздухе. Электрошлаковая наплавка позволяет получать требуемые свойства материалов непосредственно в процессе восстановления деталей. При этом для получения данных материалов возможно применение не только дорогих легирующих элементов, но и сравнительно дешевых концентратов руд таких металлов, как вольфрам, марганец, никель, кобальт, цирконий и ряда других.
Повторное применение изношенных деталей и их материала для восстановления, например, коронок рыхлителей бульдозеров, сломанных фрагментов гусениц, а также использование в качестве легирующих элементов ферросплавы и вольфрамовый концентрат, позволит снизить затраты на восстановление и получить наплавочные материалы с лучшими, физико-механическими свойствами для восстанавливаемых деталей, подверженных сильному абразивному изнашиванию.
Цель и задачи исследований
Целью настоящей работы является разработка технологии восстановления коронок исполнительных органов землеройной техники, основанной на ЭШП, с повышением их механических свойств.
Для достижения поставленной цели необходимо решить следующие задачи:
- провести анализ процесса изнашивания рабочих органов землеройных машин;
- определить пригодность изношенных компонентов землеройных машин к повторному применению для переплавки;
- разработать опытную технологию легирования наплавленного слоя с использованием рудных концентратов и изношенных деталей землеройной техники.
Материалы и методы
Рабочие органы, с помощью которых грунт отделяют от основного массива, имеют различные конструкции в зависимости от назначения, например экскаваторные ковши, бульдозерные отвалы, зубья рыхлителей и называются землеройными. В конструкциях землеройных и землеройно-транспортных машин, рабочий процесс которых состоит из последовательно выполняемых операций отделения грунта от массива, его перемещения и отсыпки, землеройные рабочие органы совмещают с транспортирующими – ковшами (экскаваторы, скреперы) или отвалами (бульдозеры, автогрейдеры), которые в свою очередь снабжены сменными коронками, непосредственно контактирующими с грунтом. Для общего представления о предмете исследований на рис. 1 представлена коронка зуба экскаватора фирмы Komatsu.
Рис. 1. Коронка зуба экскаватора фирмы Komatsu
Как показывает анализ работ ученых, занимающихся вопросами изнашивания легированных сталей, этот процесс достаточно сложный и неоднозначный. Интенсивность изнашивания коронок землеройной техники зависит от множества факторов. Можно лишь с уверенностью сказать об одном: причиной выхода из строя данных видов деталей является абразивное изнашивание.
В настоящее время существуют различные теории механизма разрушения металла при абразивном изнашивании: молекулярная [1, 2], молекулярно-механическая [3], энергетическая [3] и другие. Наибольшее распространение получила точка зрения, объясняющая образование абразивного изнашивания как царапающее и режущее действие твердых абразивных частиц по поверхности металла.
Анализ работ [4−10], посвященных изнашиванию рабочих органов землеройных машин, позволяет определить основные факторы, влияющие на срок службы коронок. К данным факторам можно отнести:
- влияние внешних механических воздействий (вид трения, значение и характер нагрузок при трении, динамичность рабочего процесса);
- влияние внешней среды (свойства абразива: минералогический состав, твердость, форма и размеры зерна, прочность и закрепленность зерна; характеристика и состояние пород: гранулометрический состав, форма гранул или кусков, глинистая составляющая, влажность и температура);
- конструкционные особенности рабочего органа (составная или цельная конструкция зуба, прочность присоединительных элементов зуба, геометрические параметры зуба, расположение ребер жесткости);
- износостойкость материала рабочего органа (физико-механические и структурные свойства материала, твердость, относительное удлинение и сужение, ударная вязкость, предел прочности, модуль упругости).
Безусловно, все выше перечисленные факторы очень важны для понимания процесса изнашивания и разработки более износостойких деталей такого типа.
В данной работе мы особое внимание уделим именно свойствам материалов, из которых изготовляются коронки землеройной техники. В табл. 1 приведен элементный состав наиболее распространенных материалов, используемых для изготовления коронок землеройной техники.
Таблица 1. Элементный состав материалов коронок
Table 1. Elemental composition of crown materials
Марка машины | Кат. номер | Страна производитель (фирма) | Содержание элементов, ٪ | |||||||||
C | Mn | Si | S | P | Cr | Ni | Mo | Cu | Ti | |||
Komatsu D-375A | 195-78-713204С١٠ | Корея (SBIC) | 0,27 | 0,7 | 1,2 | 0,01 | 0,035 | 1,5 | 0,34 | 0,33 | 0,04 | 0,006 |
Komatsu D-375A | 195N-78-21 331 8А11 | Корея (SBIC) | 0,28 | 1,0 | 1,25 | 0,009 | 0,029 | 1,6 | 0,60 | 0,36 | 0,05 | 0,004 |
Komatsu D-375A | 195-78-71320 | Корея (SBIC) | 0,2 | 0,72 | 0,3 | * | 0,005 | 0,95 | 0,92 | 0,35 | – | 0,015 |
Komatsu D-375A | 195-78-71320 | Япония (Komatsu) | 0,24 | 0,57 | 1,4 | 0,007 | 0,008 | 0,63 | 0,05 | 0,09 | 0,12 | 0,03 |
Komatsu D-375A | 195-78-71340 | Япония (Komatsu) | 0,24 | 0,57 | 1,4 | 0,007 | 0,008 | 0,63 | 0,05 | 0,09 | 0,12 | 0,03 |
Komatsu D-375A | 195-78-71320НХ3Е | США (HENSLEY) | 0,26 | 0,82 | 1,4 | 0,011 | 0,018 | 1,7 | 0,14 | 0,36 | 0,13 | 0,003 |
Komatsu D-355 | ZZ 175 7834131 | Япония (Komatsu) | 0,29 | 0,55 | 1,62 | 0,01 | 0,011 | 0,66 | 0,03 | 0,11 | 0,07 | 0,04 |
Fiat-Aliss 41В | 38LST | США (H&L) | 0,27 | 0,75 | 1,5 | 0,007 | 0,012 | 1,9 | 0,38 | 0,37 | 0,21 | 0,05 |
Fiat-Aliss 41В | 38LST | Канада (ВВ) | 0,26 | 1,05 | 1,5 | 0,007 | 0,019 | 2,12 | 0,06 | 0,25 | 0,08 | 0,003 |
Наиболее эффективным путем повышения износостойкости металлов является их легирование [9, 13]. Общеизвестно, что формирование в структуре металла карбидов, боридов, нитридов уменьшает пластичность стали и повышает ее твердость [3, 7, 8]. Положительная роль карбидной, боридной или нитридной твердой фазы состоит в создании своеобразного барьера на пути движения абразивной частицы. Анализ состава материалов для изготовления коронок позволяет сделать вывод о том, что C, Cr, Mn и Ni являются наиболее распространенными материалами, применяемыми для легирования сталей, работающих в условиях абразивного изнашивания.
Считается, что наплавка является одним из наиболее эффективных способов восстановления и упрочнения деталей с большим (от 2 до 20 мм) износом. Она позволяет восстанавливать геометрические размеры изношенных деталей, а также упрочнять поверхности путем применения специальных износостойких присадочных материалов, обеспечивающих получение наплавленного металла с заданными физическими свойствами [13−15]. Однако некоторые способы наплавки нецелесообразно применять для восстановления рабочих органов землеройных машин вследствие их низкой производительности и невозможности получения наплавленного слоя значительной толщины. К таким способам наплавки можно отнести: газопламенную и газопорошковую, электромагнитную, лазерную, электронно-лучевую, вибродуговую, импульсно-дуговую. К способам, которые могут быть использованы для восстановления рабочих органов, имеющих значительный износ, можно отнести некоторые разновидности электродуговой наплавки (ручная электродуговая, электродуговая под слоем флюса или в среде защитных газов, наплавка самозащитой проволокой или лентой, электрошлаковая наплавка), наплавку намораживанием, наплавку жидким металлом. На рис. 2 представлено сравнение различных способов наплавки в зависимости от максимальной производительности [15].
Рис. 2. Сравнение производительности различных способов наплавки: 1 – ручная электродуговая; 2 – вибродуговая; 3 – в атмосфере углекислого газа; 4 – индукционная; 5 – под флюсом одним электродом; 6 – многоэлектродная ЭШН; 7 – плазменная с подачей двух плавящихся электродов; 8 – автоматическая под флюсом электродной лентой; 9 – ЭШН электродом большого сечения
Из рисунка видно, что наиболее производительным методом восстановления является ЭШН.
Главной особенностью электрошлакового процесса является высокое качество наплавляемого металла за счет его рафинирования в процессе наплавки. При этом прохождение капель расплава через жидкий флюс, что в отличие от других способов, позволяет избежать во многих случаях образования нежелательных метастабильных структур. В то же время применение флюсов с малой окислительной способностью позволяет свести к минимуму потери легирующих элементов на угар. При установившемся электрошлаковом процессе полностью отсутствуют потери на разбрызгивание, шлак надежно защищает жидкую металлическую ванну от вредного воздействия воздуха. Расход флюса при ЭШН в 2−3 раз меньше, чем при дуговой наплавке и составляет не более 3 % от веса наплавленного металла [15]. Данный способ выгодно отличается от наплавок тем, что при ЭШН создаются большие возможности применения различных легирующих элементов и методов легирования. Можно добавлять легирующие элементы во флюс как в чистом виде, так и в виде минеральных концентратов, использовать в качестве электродов легированные материалы, обмазывать электроды легирующим составом и комбинировать эти способы.
Опрос руководителей и главных инженеров горнодобывающих предприятий Хабаровского края показал, что при эксплуатации землеройной техники образуется большое количество изношенных элементов рабочих органов, таких как ножи отвалов бульдозеров футеровка отвалов, ковши экскаваторов, траки гусеничных лент, изношенные коронки и т.д. Большинство предприятий имеют горы отработанного металла, который сдается в металлолом по цене черного лома. В табл. 2 и 3 представлен усредненный химический состав некоторых деталей землеройной техники.
Таблица 2. Составы сталей ножей отвала разных производителей
Table 2. Steel compositions of blade knives from different manufacturers
Производитель | Содержание элементов, ٪ | Механические свойства | ||||||||
C | Si | Mn | Cr | P | S | Ni | Ti | Mo | HRC | |
ESCO | 0,27–0,32 | 1,3–1,60 | 1,0–1,50 | 1,3–1,6 | ≤0,030 | ≤0,030 | – | 0,02 | – | 47–52 |
ESAB Hardox 550 | 0,37 | 0,50 | 1,30 | 1,40 | 0,020 | 0,010 | 1,40 | – | 0,060 | 55–60 |
ESTRONG 500 | 0,28 | 0,35 | 1,40 | 0,50 | 0,03 | 0,03 | 0,30 | 0,25 | – | 52–57 |
Таблица 3. Химический состав траков гусеничных лент
Table 3. The chemical composition of crawler belt
Производитель | Содержание элементов, ٪ | Механические свойства | ||||||||
C | Si | Mn | Cr | P | S | Ni | Ti | Mo | HRC | |
ESAB MSG 6-GZ-60-G | 0,40–0,50 | 2,70–3,30 | 0,80 | 8,0–10,0 | max 0,040 | max 0,030 | – | – | – | 56 |
Сталинит | 8–5,2 | – | 4,0–9,2 | 4,0–10 | – | – | 0,4–1,0 | – | – | 50–60 |
Из данных, представленных в таблицах, видно, что основными легирующими элементами являются Cr, Mn и Si. Известно, что данные компоненты повышают износостойкость конструкционных сталей и увеличивают коэффициент пластической деформации.
Проанализировав составы этих деталей, выявлено, что большая часть металла уже является легированными, износостойкими сплавами, которые можно использовать в качестве электродов ЭШН для восстановления изношенных коронок и ножей.
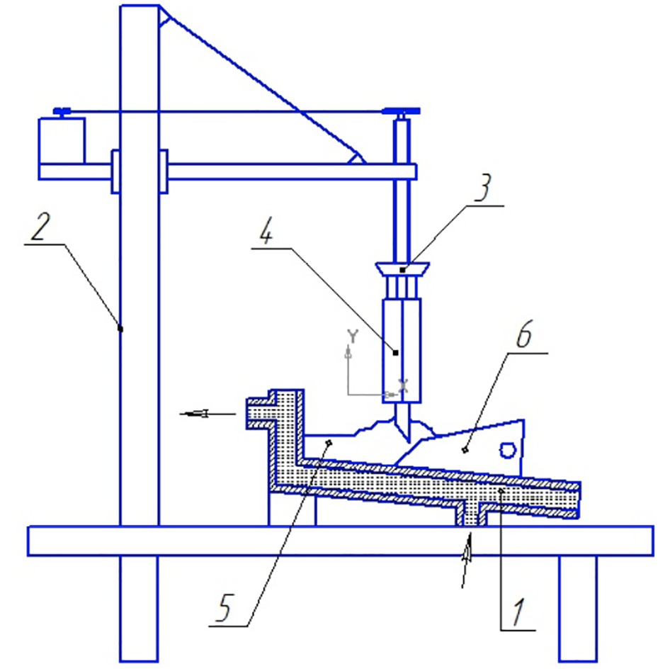
Для проведения исследований электрошлакового процесса в Тихоокеанском государственном университете была разработана лабораторная установка, позволяющая реализовывать ЭШН. Общая схема установки показана на рис. 3.
Рис. 3. Схема лабораторной установки для ЭШН: 1 – кристаллизатор; 2 – наплавочная установка; 3 – держатель электрода; 4 – расходуемый электрод; 5 – шихта; 6 – восстанавливаемая деталь
Применяемая для легирования реакционная шихта состояла из шеелитового концентрата Лермонтовского ГОКа, алюминия в виде порошка, нитрида натрия, оксида железа, фторида кальция и легирующих добавок: оксида никеля, кобальта, молибдена, хрома и флюса. Данный шеелитовый концентрат имеет следующий фазовый состав {в об%}: WO3 – 55,4; CaO – 19,8; SiO2 – 7,96; MgO – 2,45; MnO2 – 0,02; P2O5 – 4,9; TiO2 – 0,25; Al2O3 – 0,78; Fe2O3 – 5,29; FeO – 0,72; K2O – 0,17; Na2O – 0,18; As – 0,45; SO3 – 0,10.
Процесс происходит согласно следующей схеме: CaO ⋅ WO3 + Al + флюс (NaNO3 + + Fe2O3 +CaF2) + легирующие добавки – сплав (W легир.) + Al2O3 + шлаки.
В дальнейшем с целью изучения влияния параметров термического процесса на свойства полученного материала намечены исследования процесса металлотермического восстановления имеющегося шеелитового концентрата. В нашем случае созданный материал состоит из двух карбидообразующих элементов Сr и W, позволяющих предположить возможность получения покрытий с повышенной твердостью.
Для восстановления коронок в качестве электродов были использованы фрагменты изношенных траков гусеничного бульдозера. Для этого был произведен расчет сечения электрода и подобран соответствующий фрагмент гусеничного трака. Выбраны оптимальные размеры электрода, исходя из остаточной толщины трака и мощности трансформатора установки для ЭШН. На рис. 4 представлен электрод, вырезанный из трака гусеницы бульдозера.
Рис. 4. Стержень электрода, изготовленный из трака гусеничной ленты
В качестве альтернативного материала для изготовления электрода могут быть использованы изношенные коронки экскаваторов, погрузчиков и т.д. На рис. 5 представлен электрод, изготовленный из изношенной коронки.
Рис. 5. Электрод из изношенной коронки погрузчика
В общий процесс восстановления коронок рыхлителя вошли: подготовительные операции, включающие в себя дефектацию и подготовку изношенной коронки ковша экскаватора к восстановлению; расположение коронки ковша экскаватора на установке для ЭШН; изготовление электрода большого сечения; включающего нанесение легирующей шихты на один или несколько прутков и сварку прутков в пакет непосредственно перед процессом наплавки.
Заключительные операции, включающие: охлаждение коронки, разборку кокиля, снятие восстановленной коронки и ее очистка от шлаковой корки, контроль качества восстановления. Общая схема технологического процесса восстановления коронок представлена на рис. 6.
Рис. 6. Общая схема технологического процесса восстановления коронок бульдозера (изготовление электрода из трака гусеницы бульдозера)
В ходе отработки опытной технологии восстановления рабочих органов землеройных машин было установлено, что наименее стабильной и трудно управляемой является стартовая операция, особенно в случае применения электродов большого сечения и необходимости применения так называемого твердого старта.
Выводы
В результате проведенной работы можно сделать следующие выводы.
- Произведен анализ процесса изнашивания рабочих органов землеройных машин. Основной причиной выхода из строя коронок рабочих органов землеройной техники является абразивное изнашивание.
- В ходе реализации опытной технологии восстановления коронок рабочих органов землеройных машин обоснованно повторное использование изношенных деталей землеройных машин (гусеничные траки, ножи, коронки) в качестве электродов для электрошлаковой наплавки.
- Предложен состав шихты, позволяющий использовать ферросплавы и вольфрамовый концентрат в качестве легирующих компонентов для повышения износостойкости коронок.
- Предложена технология восстановления коронок рабочих органов землеройных машин методом ЭШН, позволяющая повысить эксплуатационные их свойства.
About the authors
Oleg V. Kazannikov
Pacific National University
Email: oleg97k@mail.ru
PhD in Engineering
Russian Federation, KhabarovskEvgeniy V. Popov
Pacific National University
Author for correspondence.
Email: 001698@pnu.edu.ru
Russian Federation, Khabarovsk
References
- Khrushchov M.M, Babichev M.A. Abrazivnoye iznashivaniye [Abrasive wear]. Moscow: Nauka Publ., 1970. 252 p.
- Vinogradov V.N., Sorokin G.M., Kolokol’nikov M.G. Abrazivnoye iznashivaniye [Abrasive wear]. Moscow: Mashinostroyeniye Publ., 1990. 224 p.
- Kragel’skiy I.V. Treniye i iznos [Friction and wear]. Moscow: Mashinostroyeniye Publ., 1968. 480 p.
- Tenenbaum M.M. Soprotivleniye abrazivnomu iznashivaniyu [Resistance to abrasive wear]. Moscow: Mashinostroyeniye Publ., 1976. 271 p.
- Tenenbaum M.M. Iznosostoykost’ konstruktsionnykh materialov i detaley mashin pri abrazivnom iznashivanii [Wear resistance of structural materials and machinery parts during abrasive wear]. Moscow: Mashinostroyeniye Publ., 1966. 331 p.
- Petrov I.V., Smirnov S.I. i dr. Wear and durability improvement of excavator bucket teeth. Stroitel’stvo v rayonakh Vostochnoy Sibiri i Kraynego Severa. Krasnoyarsk: Krasnoyar. promstroyniiproyekt, Sb. 1966. No 13. pp. 113−127 (in Russ.).
- L’vov P.N. Osnovy abrazivnoy iznosostoykosti detaley stroitel’nykh mashin [Fundamentals of abrasive wear resistance of construction machinery parts]. Moscow: Stroyizdat Publ., 1970.
- Kashcheyev R.A., Chudak S.I. Classification of the main factors determining the abrasiveness and wearing ability of soils. Processes technology of development of deposits of solid minerals. Alma-Ata: KaZPI Publ., 1982, pp. 94−98 (in Russ.).
- Polovinko V.A., Fedulov A.I. Povysheniye iznosostoykosti zub’yev ekskavatorov [Increasing the wear resistance of excavator teeth]. Novosibirsk: IGD SO AN SSSR Publ., 1999.
- Vetrov Yu.A. Rezaniye gruntov zemleroynymi mashinami [Cutting of soils by earthmoving machinery]. Moscow: Mashinostroyeniye Publ. 1976. 360 p.
- Tylkin M.A., Suslov A.A. Wear resistance of materials at subzero temperatures. Stroitel’stvo v rayonakh Vostochnoy Sibiri i Kraynego Severa. Krasnoyarsk: Krasnoyar. promstroyniiproyekt, Sb. 1974. No 30, pp. 78−81 (in Russ.).
- Petrov I.V. Povysheniye nadеzhnosti i dolgovechnosti rabochikh organov stroitel’nykh mashin [Improving the reliability and durability of the working bodies of construction machinery]. Moscow, 1977. 43 p.
- Livshits L.S., Grinberg N.A., Kurkumeli E.G. Osnovy legirovaniya naplavlennogo metalla [Fundamentals of alloying of deposited metal]. Moscow: Mashinostroyeniye Publ. 1969. 188 p.
- Stroitel’noye, dorozhnoye i kommunal’noye mashinostroyeniye. V. No 3. Iznosostoykaya naplavka detaley zemleroynykh mashin [Construction, road and municipal engineering. No. 3. Wear-resistant surfacing of earthmoving machine parts]. Moscow. 1981. 44 p.
- Babenko E.G., Verkhoturov A.D. Razrabotka novykh svarochnykh materialov na osnove mineral’nogo syr’ya Dal’nevostochnogo regiona [Development of new welding materials based on mineral raw materials of the Far Eastern region]: Nauchnaya monografiya. Khabarovsk: Izdatel’stvo DVGUPS Publ.; Vladivostok: DVO RAN, 2000. 144 p.
Supplementary files









