Ways to improve performance of an internal combustion engine regarding the loading conditions of vehicle transmission
- Authors: Berdnikov A.A.1, Shangutov A.O.1, Shilonosov A.V.1
-
Affiliations:
- Perm Military Institute of the National Guard Troops of the Russian Federation
- Issue: Vol 17, No 2 (2023)
- Pages: 97-106
- Section: Heat engines
- URL: https://journals.eco-vector.com/2074-0530/article/view/334351
- DOI: https://doi.org/10.17816/2074-0530-334351
- ID: 334351
Cite item
Abstract
BACKGROUND: Import substitution has become the most important direction of the development of the country's economy in the conditions of the sanctions policy. In this regard, high requirements are imposed on the production to ensure the competitiveness of automotive machinery. Automotive machinery is a key component of the country's economy that is confirmed by the growth of road transport. Meanwhile, growth of the vehicle fleet leads to increase in consuming of petroleum-derived fuel, which main disadvantage is emission of harmful substances, therefore, internal combustion engines of automotive machinery should ensure low fuel consumption and less emissions of harmful substances with exhaust gases. However, the engine operating modes largely depend on the loads generated in the vehicle transmission.
AIMS: To determine the possibilities of expanding the ranges of power regulation of an internal combustion engine of a vehicle, on the one hand, ensuring low fuel consumption and less emission of harmful substances with exhaust gases, and on the other hand, providing with the power required for a vehicle to move, regarding the type of transmission and propulsion.
METHODS: The analysis of possible conventional and unconventional operating cycles of an internal combustion engine is carried out. The method of mathematical modeling of the formation of torques in various types of vehicle transmission is used.
RESULTS: Possible ways of expanding the ranges of power regulation of an internal combustion engine providing with the required power, low fuel consumption and less emission of harmful substances with exhaust gases, as well as transmission layouts and processes of forming the required power in them to ensure the vehicle movement are considered.
CONCLUSIONS: The considered in the article approach of expanding the ranges of power regulation of an internal combustion engine of a vehicle makes it possible to conclude that it is necessary to use the principles of a scientific approach to the process of development of vehicle transmissions capable of controlling an internal combustion engine depending on loads, ensuring its operation with minimal fuel consumption and emission of harmful substances.
Full Text
Введение
Важнейшим направлением развития экономики страны в условиях санкционной политики стало импортозамещение. Санкции серьезно повлияли на отечественное автомобилестроение из-за специфики производства. Чтобы оставаться на рынке и конкурировать с автогигантами мирового уровня, производителям необходимо предъявлять высокие требования к техническому совершенству автомобилей, закладывать перспективные технологии и конструкции еще на стадии проектирования.
Автомобильная техника является неотъемлемой частью развития экономики страны, что подтверждается ростом объемов автомобильных перевозок, однако, в тоже время, рост автомобилей, повышает потребление топлива нефтяного происхождения, основным недостатком которого является эмиссия вредных веществ в результате горения в цилиндрах двигателя. Внедрение норм ЕВРО, политика страны, направленная на улучшение экологической обстановки, тренды уменьшения потребления топлив нефтяного происхождения подталкивают автопроизводителей на разработку автомобилей с двигателями внутреннего сгорания (ДВС), имеющие малые расходы топлива и меньше выбросов вредных веществ в отработавших газах.
Развитие автомобильного двигателестроения в его традиционном исполнении подходит к своему пику, поэтому решение проблем экономичности и снижения выбросов вредных веществ в окружающую среду, лежит в комплексном рассмотрении ДВС и движителя с силовым приводом автомобиля, что позволит производителям конкурировать на рынке сбыта.
Как известно, на современных образцах автомобильной техники, применяются различные типы движителей. В первую очередь – это колесный и гусеничный. Наиболее применимым средством подвижности в тяжелых дорожных условиях являются гусеничные машины. Они чаще используются там, где практически исключена возможность применения колесных машин. Но при движении по ровной, твердой и сухой опорной поверхности гусеничные машины уступают колесным по средним и максимальным скоростям движения, к тому же гусеничный движитель обладает низким ресурсом и коэффициентом полезного действия (КПД), так как его элементы нагружены больше, чем элементы колесного движителя. Поэтому, в качестве комплексного решения проблемы и обеспечения необходимых эксплуатационных свойств является применение комбинированного движителя, объединяющего преимущества колесных и гусеничных машин.
От применяемого на автомобиле типа движителя, как известно, зависит схема трансмиссии, которая, в свою очередь, должна обеспечивать, наряду с основными требованиями, эксплуатационные режимы, обеспечивающие минимальный расход топлива ДВС и эмиссию вредных веществ в отработавших газах. Хотя, следует заметить, что на реализацию данного требования влияет не только конструктивное исполнение трансмиссии, но и условия ее нагружения, связанные с применением того или иного типа движителя, условия движения автомобиля, учитывающими такие факторы как: несущая способность опорной поверхности, траектория движения автомобиля, макро- и микропрофиль поверхности и т.д.
Таким образом, формируемые в трансмиссии режимы нагружения, в зависимости от типа движителя и условий движения автомобиля, будут оказывать непосредственное влияние на основные показатели двигателя рассматриваемого автомобиля.
Постановка задачи
Необходимо получить широкий диапазон регулирования мощности ДВС, с одной стороны, обеспечивающий малые расходы топлива и меньше выбросов вредных веществ в отработавших газах, а с другой стороны – обеспечивающий требуемую для движения автомобиля мощность [1]:
, (1)
где Nе – номинальная эффективная мощность; Nк – мощность, необходимая для перемещения автомобиля; ηтр – КПД трансмиссии автомобиля; Nf – мощность, необходимая для преодоления сопротивлений движению; Nh – мощность, необходимая для преодоления сопротивлений подъему; Nw – мощность, необходимая для преодоления аэродинамических сопротивлений; Nj – затраты мощности на увеличение кинетической энергии автомобиля при движении; Nпр – затраты мощности на перемещение прицепа.
Исходя из постановки задачи, рассмотрим возможные пути расширения диапазона режимов работы ДВС, обеспечивающих потребную мощность, малые расходы топлива и меньше выбросов вредных веществ в отработавших газах, а также схемы трансмиссий и процессы формирования в них потребной мощности для обеспечения движения автомобиля.
Результаты
Регулирование мощности ДВС, в зависимости от формируемых режимов работы трансмиссии автомобиля, традиционно осуществляется путем изменения цикловой подачи топлива, однако, такой способ не в полной мере отвечает требованиям в рамках поставленной задачи. Подавляющее большинство ДВС работают по четырехтактной, так называемой, традиционной схеме рабочего цикла. Модернизация такого традиционного цикла в виду развития современных технологий не оказывает существенного качественного изменения мощностных показателей ДВС. Поэтому есть необходимость рассмотреть альтернативные циклы работы двигателя, например, таких как: отключение части цилиндров двигателя, при его работе на режимах малых и частичных нагрузок; впрыск воды в цилиндры двигателя; применение нетрадиционных рабочих циклов [2-6].
Отключение части цилиндров двигателя не является сегодня новым. Часть цилиндров двигателя отключают на режимах, когда от двигателя не требуется максимальной мощности, например, на таких режимах, как малые или частичные нагрузки и холостой ход. Поэтому, по сути, отключение цилиндров не является модернизацией рабочего цикла ДВС, но позволяет, оставшиеся включенными в работу, цилиндры вывести на оптимальную мощность с минимальным удельным расходом топлива (рис. 1). Экономия топлива при отключении части цилиндров двигателя может составить до 25–30%, особенно если автомобиль эксплуатируется в городских условиях [2].
Рис. 1. Внешняя скоростная характеристика ДВС с областями удельных расходов топлива: ▬ ▬ ▬ ▬ – наибольшая мощность двигателя при минимальных удельных расходах топлива; gе – удельный эффективный расход топлива; Ne – эффективная мощность; n – частота вращения коленчатого вала.
Fig. 1. Full-load curve of an internal combustion engine with specific fuel consumption areas: ▬ ▬ ▬ ▬ – maximum engine power at minimum specific fuel consumption; gе – specific effective fuel consumption; Ne – effective power; n – crankshaft rotation velocity.
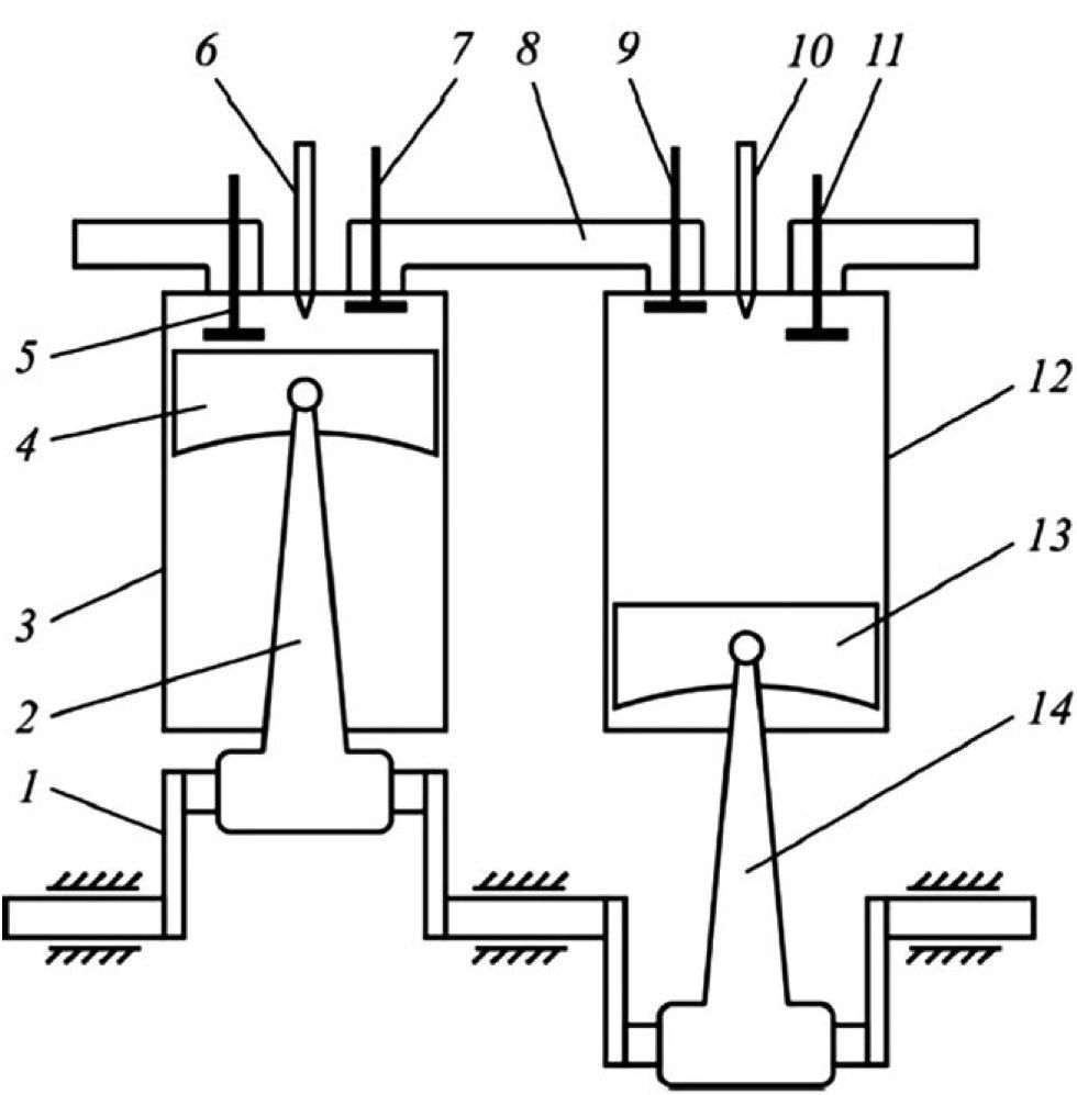
Впрыск воды в цилиндры ДВС исследуется со времени создания первых автомобилей, однако, такой способ не получил широкого распространения ввиду ряда существенных недостатков, таких как: высокая температура замерзания и плохие смазывающие свойства воды, коррозия металла при контакте с водой, сложности в подготовке и подаче воды в цилиндры двигателя. Тем не менее, есть и преимущества, например, при подаче воды в цилиндры двигателя в мелкораспыленном состоянии вместе с воздухом охлаждает его, что способствует повышению коэффициента наполнения цилиндров, также вода снижает температуру горения топлива в цилиндрах двигателя, а это благоприятно влияет на форсирование двигателя по степени сжатия. Ввиду развития современных технологий есть возможность реализовать нетрадиционный семитактный рабочий цикл (рис. 2) путем впрыска воды в дополнительный цилиндр [3]. Вода, попадая в раскаленный отработавшими газами дополнительный цилиндр, испаряется, и пар создает дополнительное давление на поршень двигателя. Таким образом получается дополнительный рабочий ход поршня, что увеличивает крутящий момент ДВС, но при меньших затратах топлива.
Рис. 2. Схема двигателя с впрыском воды: 1 – коленчатый вал; 2, 14 – шатуны; 3 – основной цилиндр; 4, 13 – поршни; 5, 9 – впускные клапаны; 6 – форсунка подачи топлива; 7, 11 – выпускные клапаны; 8 – перепускной газоход; 10 – форсунка впрыска воды; 12 – дополнительный цилиндр.
Fig. 2. Diagram of the engine with water injection: 1 – a crankshaft; 2, 14 – connecting rods; 3 – a main cylinder; 4, 13 – pistons; 5, 9 – intake valves; 6 – a fuel injection nozzle; 7, 11 – exhaust valves; 8 – a bypass flue; 10 – a water injection nozzle; 12 – an additional cylinder.
Применение нетрадиционных рабочих циклов, например, таких как показаны на рис. 2 и 3, способствует повышению топливной экономичности и КПД двигателя. Принцип работы указанных двигателей основан на изменении рабочего цикла путем дополнительного использования давления отработавших газов и увеличением протекания тактов по углу поворота коленчатого вала, что позволяет гарантировать полное и качественное сгорание топлива, тем самым обеспечивая экономичность двигателя и уменьшить выбросы вредных веществ в отработавших газах.
Альтернативные циклы работы ДВС позволяют расширить потребный диапазон мощности двигателя с учетом нагрузочных режимов в трансмиссии автомобиля с различным исполнением движителя: колесным, гусеничным или комбинированным.
Рис. 3. Двигатели с нетрадиционным рабочим циклом: а – двухтактный двигатель Scuderi [6]; б – пятитактный двигатель [5].
Fig. 3. Engines with an unconventional operating cycle: a – the Scuderi two-stroke engine [6]; b – a five-stroke engine [5].
Формирование нагрузок в трансмиссии автомобиля зависит от величины реализуемого трансмиссией момента. В свою очередь, реализуемый трансмиссией момент зависит от внешних факторов движения автомобиля, таких как сопротивление и сцепление движителя с опорной поверхностью, траектория движения, преодоление автомобилем подъема и т.д. Однако, схема трансмиссии и ее тип: блокированная, дифференциальная или с индивидуальным приводом колес оказывают существенное влияние на формировании нагрузок в трансмиссии [7-11]. На примере четырехосного полноприводного автомобиля рассмотрим формирование моментов в различных трансмиссиях.
Трансмиссия автомобиля, имеющая симметричный дифференциал (рис. 4), описывается системой уравнений:
(2)
где JД – момент инерции двигателя; ωД – угловое ускорение вращения вала двигателя; MД – момент, развиваемый двигателем; MСД – момент сопротивления, приведенный к валу двигателя; ωкi – угловая скорость i-го колеса; Jкi – момент инерции i-го колеса; Mскi – момент сопротивления на i-ом колесе.
Рис. 4. Схема трансмиссии автомобиля с симметричным дифференциалом.
Fig. 4. Diagram of vehicle transmission with a symmetrical differential.
Трансмиссия автомобиля, в которой установлен межбортовой дифференциал (рис. 5), описывается системой уравнений:
(3)
где JТЛ – момент инерции элементов трансмиссии и движителя левого борта; JТП – момент инерции элементов трансмиссии и движителя правого борта; ωлб – угловое ускорение вращения вала трансмиссии левого борта; ωпб – угловое ускорение вращения вала трансмиссии правого борта; Mслб – момент сопротивления, приведенный к валу трансмиссии левого борта; Mспб – момент сопротивления, приведенный к валу трансмиссии правого борта.
Рис. 5. Схема трансмиссии автомобиля с межбортовым дифференциалом.
Fig. 5. Diagram of vehicle transmission with an interside differential.
Полностью блокированная трансмиссия автомобиля описывается системой уравнений:
(4)
Индивидуальный привод каждого движителя возможен как в механической трансмиссии, так и в гидрообъемной, электрической или комбинированной.
В механической трансмиссии индивидуальный привод каждого движителя сопровождается сложностью конструкции трансмиссии. Это вызвано необходимостью введения в распределяющих устройствах постоянно изменяющегося передаточного числа рассогласования крутящего момента между движителями, имеющими разные характеристики и условия движения. То есть, для оптимального распределения сил тяги по движителям с разными жесткостными характеристиками или разными условиями движения, необходимо регулировать передаточное число в трансмиссионном приводе путем введения величины кинематического рассогласования (ВКР), тем самым обеспечив работу трансмиссии без циркуляции мощности.
Исследования показывают, что трансмиссия без регулирования ВКР является более нагруженной по сравнению с трансмиссией с механизмом регулирования. Как видно из рис. 6 максимумы процессов изменения крутящих моментов трансмиссии без регулирования ВКР по абсолютным величинам на 0,32 – 0,41 кНм смещены в сторону больших значений, к тому же жесткий движитель имеет отрицательные моменты, явно констатируя факт наличия в трансмиссии циркуляции мощности. В случае же регулирования ВКР на ведущих элементах жесткого движителя максимумы процессов изменения крутящих моментов принимают положительные значения, что свидетельствует об уменьшении, либо полном исключении циркуляции мощности.
Рис. 6. Плотности распределения максимумов крутящих моментов в механической трансмиссии с индивидуальным приводом: а – на валах привода переднего моста; b – на валах привода заднего моста; c – на жестком движителе; ▬▬▬▬▬ – силовой привод без регулирования ВКР; ▬ ▬ ▬ ▬ – силовой привод с регулированием ВКР.
Fig. 6. Distribution densities of maximal torques in a manual transmission with individual drive: a – at the drive shafts of the front axle; b – at the rear axle drive shafts; – at the rigid propulsor; ▬▬▬▬▬ – drivetrain without regulation of value of kinematic mismatch; ▬ ▬ ▬ ▬ – drivetrain with regulation of value of kinematic mismatch.
Регулированием ВКР можно добиться работы каждого движителя в требуемом режиме. Однако, реализация индивидуального привода в механической трансмиссии затрудняется сложностью конструкции трансмиссии, обеспечивающей регулирование ВКР для каждого отдельного движителя. Конструктивно проще обеспечить регулирование ВКР в индивидуальном приводе движителей с применением гидрообъемной, электрической или комбинированной трансмиссии.
Индивидуальный привод колеса от ДВС может быть реализован по схеме, представленной на рис. 7. Количество представленных приводов будет зависеть от количества колес, устанавливаемых на автомобиле.
Рис. 7. Схема привода колеса в индивидуальной трансмиссии: ПЧ – преобразователь частоты; ТЭД – тяговый электродвигатель; КР – колесный редуктор; – электрическая мощность; – мощность потерь; – механическая мощность; – крутящий момент на входе в трансмиссию; – угловая скорость вала двигателя; – крутящий момент на валу ТЭД; – угловая скорость вала ТЭД; – мощность, теряемая в колесном редукторе; – механическая мощность; – крутящий момент на выходном валу колесного редуктора; – угловая скорость выходного вала колесного редуктора; – мощность сопротивления качению шины.
Fig. 7. The scheme of the wheel drive in the individual transmission: ПЧ – a frequency converter; ТЭД – a traction electric motor; КР – a wheel-hub gear; – electrical power; – loss power; – mechanical power; – input transmission torque; – angular velocity of the motor shaft; –torque at the shaft of the traction electric motor; – angular velocity of the shaft of the traction electric motor; – power lost in the wheel-hub gear; – mechanical power; – torque at the output shaft of the wheel-hub gear; – angular velocity of the output shaft of the wheel-hub gear; – power of tire rolling resistance.
Формирование моментов в трансмиссии с индивидуальным приводом колес зависит от принципов распределения мощности по колесам движителя [7-9]:
принцип равенства моментов полностью дифференцированной трансмиссии:
(5)
принцип равенства мощностей:
(6)
принцип равенства частот вращения:
(7)
принцип равенства скольжений:
(8)
где – средняя угловая скорость всех ведущих колес; – мощность, подводимая к i-ому колесу; – приращение крутящего момента, который необходимо подвести к i-ому колесу, чтобы его угловая скорость была равна ; – текущее (мгновенное) значение крутящего момента, подведенного к i-ому колесу; – приращение крутящего момента, который необходимо подвести к i-ому колесу, чтобы его скольжение было равно или ; n – количество ведущих осей.
В работе [7] на основании имитационного моделирования сделан вывод, что наиболее предпочтительным с точки зрения формирования тягово-динамических свойств автомобиля является принцип равенства мощностей в приводах колес. Затем по предпочтительности распределились принципы распределения: с равенством скольжения колес, с равенством моментов на колесах и равенством частот вращения колес.
Заключение
Рассмотренные пути расширения диапазона режимов работы ДВС и принципов распределения мощности в различных трансмиссиях позволяют сделать вывод о необходимости комплексного подхода к формированию технического облика и конструктивному исполнению трансмиссий автомобилей, способных управлять ДВС в зависимости он нагрузок, обеспечивая работу ДВС с малыми расходами топлива и меньшими выбросами вредных веществ в отработавших газах.
ДОПОЛНИТЕЛЬНО
Вклад авторов. А.А. Бердников — поиск публикаций по теме статьи, написание текста рукописи, экспертная оценка, утверждение финальной версии; А.О. Шангутов — редактирование текста рукописи; А.В. Шилоносов — редактирование текста рукописи, создание изображений. Авторы подтверждают соответствие своего авторства международным критериям ICMJE (все авторы внесли существенный вклад в разработку концепции, проведение исследования и подготовку статьи, прочли и одобрили финальную версию перед публикацией).
Конфликт интересов. Авторы декларируют отсутствие явных и потенциальных конфликтов интересов, связанных с публикацией настоящей статьи.
Источник финансирования. Авторы заявляют об отсутствии внешнего финансирования при проведении исследования.
ADDITIONAL INFORMATION
Authors’ contribution. A.A. Berdnikov — search for publications, writing the text of the manuscript, expert opinion, approval of the final version; A.O. Shangutov — editing the text of the manuscript; A.V. Shilonosov — editing the text of the manuscript, creating images. All authors made a substantial contribution to the conception of the work, acquisition, analysis, interpretation of data for the work, drafting and revising the work, final approval of the version to be published and agree to be accountable for all aspects of the work.
Competing interests. The authors declare that they have no competing interests.
Funding source. This study was not supported by any external sources of funding.
About the authors
Alexey A. Berdnikov
Perm Military Institute of the National Guard Troops of the Russian Federation
Author for correspondence.
Email: aa-berdnikov@mail.ru
ORCID iD: 0000-0003-1716-6659
SPIN-code: 1472-8701
Professor of the of Engineering Support of Service and Combat Activities of the National Guard Troops Department
Russian Federation, 1 Gremyachy Log street, 614030 PermAnton O. Shangutov
Perm Military Institute of the National Guard Troops of the Russian Federation
Email: army_5559@mail.ru
ORCID iD: 0000-0001-7054-8109
SPIN-code: 2737-5382
Associate Professor, Dr. Sci. (Mil.), Associate Professor of the Department of Food and Clothing Supply
Russian Federation, 1 Gremyachy Log street, 614030 PermArtem V. Shilonosov
Perm Military Institute of the National Guard Troops of the Russian Federation
Email: artemjch@rambler.ru
ORCID iD: 0009-0000-2513-5444
SPIN-code: 3760-6350
Associate Professor of the Department of Computer Engineering Software and Automated Systems
Russian Federation, 1 Gremyachy Log street, 614030 PermReferences
- Vyrubov DN, Ivashchenko NA, Ivin VI, et al. Internal combustion engines. Theory of reciprocating and combined engines: A textbook for higher educational institutions in the specialty "Internal combustion engines". Moscow: Mashinostroenie; 1983. (in Russ.)
- Berdnikov AA, Mingazov SR, Zhukov AA. Increasing the economic performance of internal combustion engines by turning off part of the cylinders. Sovremennye naukoemkie tekhnologii. 2017;1:12–16. (in Russ.)
- Berdnikov AA, Nagaitsev DS, Titkov NV. Internal combustion engine with non-traditional duty cycle. Fundamentalnye issledovaniya. 2017;1:21–25. (in Russ.)
- Ter-Mkrtichyan GG. Internal combustion engines with non-traditional work cycles: textbook. allowance. Moscow: MADI; 2015. (in Russ.)
- Five-stroke engine works and can go into production [internet] Accessed: 10.04.23. Available from: http://autoutro.ru/review/2014/11/19/pyatitaktnyj-dvigatel-rabotayet-i-mozhet-pojti-v-proizvodstvo
- SCUDERI™ Split-Cycle Engine – a fundamentally new scheme of a four-stroke motor with a "separate cycle" [internet] Accessed: 10.04.23. Available from: http://enginepro.ru/?p=698
- Berdnikov AA. Evaluation of the mobility of active road trains. Perm: Izd-vo PVI voysk natsionalnoy gvardii; 2022. (in Russ.)
- Belousov BN, Popov SD. Wheeled vehicles of extra large payload capacity. Design. Theory. Calculation. Moscow: MGTU im NE Baumana; 2006. (in Russ.)
- Belousov BN, Shukhman SB. Applied mechanics of ground traction vehicles with mechatronic systems: monograph. Moscow: Agrokonsalt; 2013. (in Russ.)
- Ushnurtsev SV, Keller AV. General provisions for optimizing power distribution in the transmission of military vehicles. Strategicheskaya stabilnost. 2022;2(99):57–64. (in Russ.)
- Lyandenburgsky VV, Shaikhov RF, Ponomarev VM, et al. Fundamentals of car design: chassis, transmission: textbook. Penza: Izd-vo PGAUS; 2014. (in Russ.)
Supplementary files









