Numerical simulation of the diesel engine starting considering air pre-heating in the intake system
- Authors: Elagin M.Y.1, Khmelev R.N.1
-
Affiliations:
- Tula State University
- Issue: Vol 17, No 3 (2023)
- Pages: 209-216
- Section: Heat engines
- URL: https://journals.eco-vector.com/2074-0530/article/view/375320
- DOI: https://doi.org/10.17816/2074-0530-375320
- ID: 375320
Cite item
Abstract
BACKGROUND: Low temperature of the intake air is one of the reasons of difficult starting of a cold diesel engine in conditions of negative outside temperatures. For a reliable staring of a cold diesel engine, it is necessary to have the temperature at the end of the compression stroke higher than the fuel self-ignition temperature. As the temperature at the end of the compression stroke is defined, first, by the temperature at the end of the intake stroke, the mentioned condition can be satisfied with preliminary warming of the air entering in a cylinder.
AIMS: The article is devoted to solving the task related to development of a mathematical model of a diesel engine taking into account air pre-heating in the intake system and ensuring simulation of the pre-starting mode, starting and operation of a diesel engine in conditions of low negative outside temperature.
METHODS: The enhanced mathematical model of a diesel engine basing on heat mechanics (thermodynamics of opened systems) which reflects main features of an internal combustion engine (ICE) as the system transforming energy in time domain is proposed in the article. The mathematical model’s equation system is based on laws of conservation of energy and mass, solid bodies’ motion equation and includes differential equations of changing of temperature and density of the working body in a cylinder, in the intake system and in the ICE’s crankcase, the ideal gas state equation as well as differential equations of changing of rotation velocity and rotation angle of an engine’s crankshaft.
RESULTS: The mathematical model was tried out on the example of the 1Ch9.5/8.0 multi-purposed air-cooled diesel engine. The results of simulation of the pre-starting mode, starting and operation of the diesel engine taking into account air pre-heating in the intake system are presented in the article.
CONCLUSIONS: Implementation of air pre-heating at the intake in the design of diesel engines is the most effective way of ensure starting of the engines at low negative outside temperature. The obtained results help to develop recommendations of choosing power and operation modes of pre-heating devices for ensuring starting and operation of diesel engines in conditions of low negative outside temperatures.
Full Text
ВВЕДЕНИЕ
Пуск холодного дизеля в условиях низких отрицательных температур окружающей среды представляет существенные трудности. К одной из основных причин затруднённого пуска в рассматриваемых условиях относится низкая температура воздушного заряда [1–4]. Низкая температура воздушного заряда на впуске и усиленный теплоотвод в стенки цилиндра приводят к тому, что значительно снижаются температура и давление рабочего тела в конце такта сжатия.
Результаты проведённых исследований [5] дизеля 1Ч9,5/8,0 в климатической камере при температуре –60 °С в режиме стартерной прокрутки показали, что мгновенное значение температуры в цилиндре не превышает 300 °С, среднее за цикл значение температуры не более –16 °С (при средней пусковой частоте n=135 мин-1), что делает пуск дизеля в данных условиях в принципе невозможным. По данным работы [1], пуск дизеля возможен лишь, когда температура в конце такта сжатия в камере сгорания достигает 300–350 °С.
В этой связи актуальной задачей является разработка математического описания для исследования предпускового режима, пуска и работы дизеля с учётом подогрева воздуха во впускной системе в условиях низких отрицательных температур окружающей среды, а также установление закономерностей влияния параметров устройств подогрева воздуха на функционирование дизеля.
1. Анализ существующих способов подогрева воздуха во впускной системе дизелей
Анализ факторов, влияющих на воспламенение и сгорание рабочей смеси в цилиндрах дизеля показал, что для улучшения пусковых и эксплуатационных качеств дизеля при низких отрицательных температурах наиболее эффективен подогрев основных функциональных систем дизеля: системы топливоподачи, системы смазки и впускного тракта.
На практике в конструкции дизелей для подогрева воздуха на впуске широко используются свечи накаливания открытого и закрытого типа, которые могут устанавливаться как в камере сгорания, так и во впускном трубопроводе. Типичной конструкцией свечей для подогрева воздуха на впуске является свеча СН 150 мощностью 400 Вт с силой тока 45–47 А. Рабочая температура свечи составляет 900–950 °С и достигается через 40–60 с момента подключения к аккумуляторной батареи. Лучший теплоотвод от нагревательного элемента свечи обеспечивается при его фланцевом расположении. Применение свечи СН-150 обеспечивает увеличение температуры в цилиндре в конце такта сжатия на 20–35 °С, в результате чего минимальная температура пуска двигателя становится на 5–10 °С ниже [6].
Также для подогрева воздуха на впуске в условиях отрицательных температур окружающей среды широко применяется электрофакельный подогрев. При использовании такой системы подогрев воздуха во впускном канале осуществляется за счёт факела, образующегося в процессе сгорания топлива в камере свечи. При повороте ключа зажигания в первое положение происходит предварительный разогрев спирали свечи до 1000 °С в течении 1–2 мин. В момент прокрутки двигателя стартером открывается электромагнитный клапан, обеспечивающий подачу топлива к свече посредством подкачивающего насоса. Такой подогрев является более сложным, обеспечивает пуск дизелей при температуре до –25 °С [6].
Задача определения показателей рассматриваемых способов подогрева для обеспечения требуемого уровня температуры в конце такта сжатия при различных режимах работы двигателя может быть решена методами математического моделирования.
2. Разработка усовершенствованной математической модели дизеля
Для математического моделирования пуска и работы дизеля с учётом подогрева воздуха во впускной системе за основу была взята разработанная на базе тепломеханики [7, 8] математическая модель, рассмотренная в работах [9–11] и дополненная уравнениями скорости изменения температуры и плотности рабочего тела во впускной системе. Предлагаемый подход позволяет на более высоком уровне спрогнозировать уровень температуры рабочего тела в цилиндре при низких отрицательных температурах окружающей среды с учётом подогрева воздуха во впускной системе в процессе пуска и работы дизеля.
Для рассматриваемого одноцилиндрового дизеля 1Ч9,5/8,0 система уравнений математической модели основывается на законах сохранения энергии, массы, уравнениях движения твёрдых звеньев и включает 9 дифференциальных уравнений.
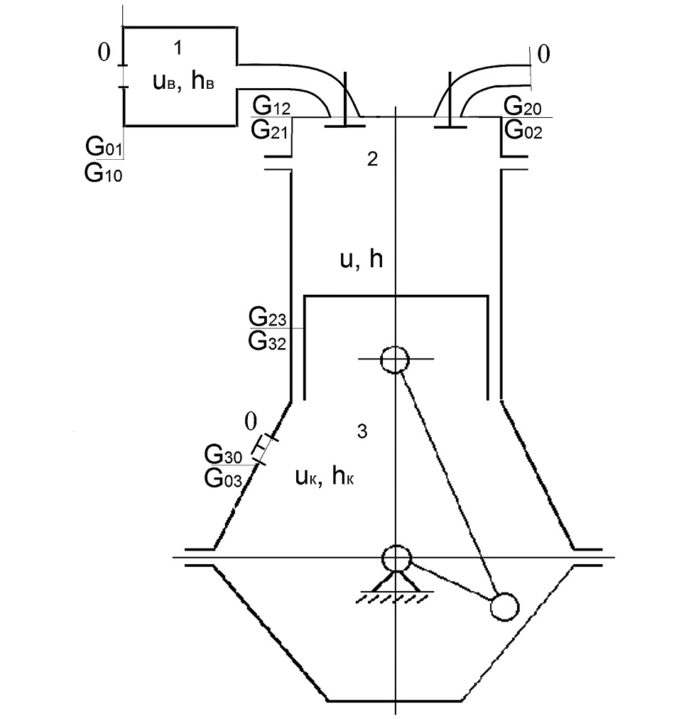
На рис. 1 приведена расчётная схема ДВС, построенная с точки зрения тепломеханики (термодинамики открытых систем).
Рис. 1. Расчётная схема ДВС.
Fig. 1. The analytical model of an ICE.
Дифференциальные уравнения скоростей изменения плотности и температуры рабочего тела в цилиндре с учётом утечек через зазоры в цилиндропоршневой группе (ЦПГ) имеют вид:
; (1)
(2)
где — приток энергии в полость цилиндра через впускной клапан; — приток энергии в полость цилиндра из картера через зазоры в ЦПГ; — приток энергии в полость цилиндра из окружающей среды; — поток энергии из цилиндра двигателя во впускную систему; — поток энергии из цилиндра двигателя в картер; — поток энергии из цилиндра в окружающую среду.
Для описания изменения состояния газа в картере ДВС, который моделировался как полость переменного объёма , использовались аналогичные дифференциальные уравнения:
; (3)
, (4)
где — приток энергии в картер двигателя из цилиндра через зазоры в ЦПГ; — приток энергии в картер из окружающей среды; — поток энергии из картера в полость цилиндра через зазоры в ЦПГ; — поток энергии из картера двигателя в окружающую среду через систему вентиляции.
Слагаемые и в уравнениях (3) и (4) принимались равными 0 с учётом особенностей работы системы вентиляции картера.
Для описания изменения состояния газа во впускной системе с учётом подогрева воздуха использовались дифференциальные уравнения в следующем виде:
; (5)
, (6)
где — приток энергии во впускную систему из окружающей среды; — приток энергии из полости цилиндра во впускную систему; — поток энергии из впускной системы в окружающую среду; — поток энергии из впускной системы через впускной клапан.
Угловая скорость и угол поворота коленчатого вала двигателя определялись из уравнений:
, (7)
, (8)
. (9)
В уравнениях (1)–(9) использовались следующие условные обозначения: τ — время; — температура и плотность рабочего тела в цилиндре; — температура и плотность рабочего тела в картере; — температура и плотность рабочего тела во впускной системе; — удельная изохорная теплоёмкость рабочего тела в цилиндре, картере и впускной системе соответственно; — текущий объём рабочего тела в цилиндре, картере и впускной системе соответственно; — площадь поршня; ω и φ — угловая скорость и угол поворота коленчатого вала; — секундные массовые расходы рабочего тела через впускной, выпускной клапаны, зазоры в ЦПГ, систему вентиляции картера и впускную систему, соответственно, согласно расчётной схеме (см. рис. 1); — удельная внутренняя энергия и энтальпия рабочего тела в цилиндре; — удельная внутренняя энергия и энтальпия рабочего тела в картере; — удельная внутренняя энергия и энтальпия рабочего тела во впускной системе; — удельная энтальпия воздуха окружающей среды; — количество теплоты, выделяемое в единицу времени нагревательным устройством во впускном коллекторе; — количество теплоты в единицу времени от рабочего тела во впускном коллекторе к внутренней стенке; — количество теплоты, выделяемое в единицу времени при горении рабочей смеси; — количество теплоты, выделяемое в единицу времени при включении свечи накаливания в цилиндре; — количество теплоты в единицу времени от рабочего тела в цилиндре к внутренней стенке двигателя; — количество теплоты в единицу времени от наружной стенки двигателя в окружающую среду; — температура стенки; — удельная теплоёмкость и масса деталей, участвующих в процессе теплообмена; — момент инерции; — движущий момент; — пусковой момент; — момент сопротивления.
В математической модели условием воспламенения топлива являлось достижение максимальной температуры рабочего тела в цилиндре, равной 300 °С [1].
Движущий момент в уравнении (7) для рассматриваемого одноцилиндрового дизеля определяется следующим образом:
где p — давление рабочего тела в цилиндре; — давление рабочего тела под поршнем; — сила трения в цилиндропоршневой группе; — приведенная масса частей двигателя, совершающих возвратно-поступательное движение.
, , , ,
где — радиус кривошипа; — длина шатуна.
Для расчёта пускового момента использовались технические характеристики стартера.
Зависимости для определения показателей, входящих в уравнения (1)–(9), приведены в работах [9, 10].
Система уравнений (1)–(9) может использоваться для моделирования работы ДВС с учётом подогрева воздуха во впускной системе как на режиме предпусковой подготовки с последующим пуском, так и во всём диапазоне скоростных и нагрузочных режимов работы двигателя.
Расхождения в определении средних значений температур и пусковой частоты, а также в определении изменения мгновенной угловой скорости коленчатого вала по математической модели не превышают 6,5% по сравнению с экспериментальными данными [9].
3. Результаты математического моделирования
При проведении расчётов были приняты характеристики устройства подогрева воздуха во впускной системе, приведённые в табл. 1.
Таблица 1. Технические характеристики нагревательного элемента
Table 1. Technical properties of a heating device
Наименование параметра | Значение параметра |
Напряжение питания, В | 24 |
Потребляемая электрическая мощность нагревательного элемента, Вт | 250 |
Количество нагревательных элементов | 2 |
Удельная мощность, Вт/см2 | не более 6,5 |
Характер нагрева | Нагрев в среде с движущимся со скоростью не менее 6 м/с воздухом, с рабочей температурой на оболочке нагревательного элемента свыше 450 °C |
Включение нагревательных элементов осуществлялось с одновременным включением свечи накаливания в камере сгорания.
На рис. 2 и 3 приведены результаты расчёта предпускового режима работы дизеля 1Ч 9,5/8,0 и последующего пуска при температуре окружающей среды –65 °С с учётом подогрева воздушного заряда во впускной системе двумя нагревательными элементами общей мощностью 500 Вт. При проведении расчётов средняя пусковая частота составила 142,2 мин-1.
Рис. 2. Изменение мгновенной и средней частоты вращения коленчатого вала в режиме прокрутки двигателя стартером и последующего пуска.
Fig. 2. Changing the instant and average rotation frequencies at the mode of engine rotating with a starter and consequent starting.
Рис. 3. Изменение температуры в цилиндре и во впускной системе в режиме прокрутки двигателя стартером и последующего пуска.
Fig. 3. Changing the temperature in a cylinder and in the intake system at the mode of engine rotating with a starter and consequent starting.
В данном случае на предпусковом режиме уровень температуры воздушного заряда во впускной системе обеспечивает достижение требуемой максимальной температуры рабочего тела в камере сгорания, превышающей 300 °С, и выполнение условия воспламенения топлива [1]. После пуска дизеля при ô >9 c наблюдается закономерное снижение температуры воздуха на впуске вследствие увеличения частоты вращения коленчатого вала дизеля и расхода воздуха.
В табл. 2 приведены закономерности изменения средней температуры воздуха на впуске и максимальной температуры в камере сгорания дизеля при мощности нагревательных элементов равной 500 Вт в зависимости температуры окружающей среды.
Таблица 2. Изменение средней температуры воздуха на впуске и максимальной температуры в камере сгорания дизеля в зависимости температуры окружающей среды
Table 2. Changing the average intake air temperature and the maximal temperature inside a combustion chamber of a diesel engine depending on the outside temperature
№ п/п | , °C | , °C | , °C |
1 | -65 | 139,2 | 311,8 |
2 | -55 | 149,9 | 323,0 |
3 | -45 | 160,5 | 334,1 |
4 | -35 | 171,2 | 345,1 |
5 | -25 | 181,8 | 356,0 |
Результаты расчётов, приведённые в табл. 2, позволяют спрогнозировать уровень максимальной температуры в камере сгорания и регулировать электрическую мощность нагревательных элементов в зависимости от температуры окружающей среды.
ЗАКЛЮЧЕНИЕ
Реализация в конструкции дизелей подогрева воздуха на впуске является наиболее эффективным способом обеспечения их пуска при низких отрицательных температурах окружающей среды. Полученные результаты позволяют выработать рекомендации по выбору мощности и режимов работы устройств подогрева для обеспечения пуска и работы дизелей в условиях низких отрицательных температур окружающей среды.
ДОПОЛНИТЕЛЬНО
Вклад авторов. Р.Н. Хмелев ― поиск публикаций по теме статьи, написание текста рукописи; М.Ю. Елагин ― редактирование текста рукописи, создание изображений, утверждение финальной версии. Авторы подтверждают соответствие своего авторства международным критериям ICMJE (все авторы внесли существенный вклад в разработку концепции, проведение исследования и подготовку статьи, прочли и одобрили финальную версию перед публикацией).
Конфликт интересов. Авторы декларируют отсутствие явных и потенциальных конфликтов интересов, связанных с публикацией настоящей статьи.
Источник финансирования. Авторы заявляют об отсутствии внешнего финансирования при проведении исследования.
ADDITIONAL INFORMATION
Authors’ contribution. R.N. Khmelev ― search for publications, writing the text of the manuscript; M.Yu. Elagin ― editing the text of the manuscript, creating images, approval of the final version. All authors made a substantial contribution to the conception of the work, acquisition, analysis, interpretation of data for the work, drafting and revising the work, final approval of the version to be published and agree to be accountable for all aspects of the work.
Competing interests. The authors declare that they have no competing interests.
Funding source. This study was not supported by any external sources of funding.
About the authors
Mikhail Y. Elagin
Tula State University
Email: elaginmy@rambler.ru
ORCID iD: 0009-0007-3865-1326
SPIN-code: 6970-8013
Scopus Author ID: 57193742538
https://tulsu.ru/employees/986
Professor, Dr. Sci. (Tech.), Professor of the Transport and Technological Machines and Processes Department
Russian Federation, TulaRoman N. Khmelev
Tula State University
Author for correspondence.
Email: aiah@yandex.ru
ORCID iD: 0009-0000-2156-1075
SPIN-code: 9759-6413
Scopus Author ID: 57193747213
ResearcherId: AAA-8065-2021
https://tulsu.ru/employees/992
Associate Professor, Dr. Sci. (Tech.), Professor of the Transport and Technological Machines and Processes Department, Leading Researcher
Russian Federation, TulaReferences
- Babichev AA, Smolin AA. Measures to improve the starting of a piston engine at low temperatures. In: Architecture. Construction. Transport. Technologies. Innovation. Materials of the international congress. Omsk: SibADI; 2013:26–29. (in Russ).
- Kozlov AA. On the issue of increasing the efficiency of diesel starting. Vestnik SibADI. 2018;15(5):650–659. (in Russ).
- Pavlov DV, Khmelev RN. Peculiarities of operation of small-sized diesel engines in Arctic conditions. Alternativnye istochniki energii v transportno-tekhnologicheskom komplekse: problemy i perspektivy ratsionalnogo ispolzovaniya. 2016;3(3(6)):241–247. (in Russ).
- Kharitonov VV. Povyshenie effektivnosti puska avtotraktornogo dizelya v usloviyakh nizkikh temperatur okruzhayushchego vozdukha [dissertation] Moscow; 2005. (in Russ).
- Pavlov DV. Uluchshenie puskovykh kachestv malorazmernykh dizeley s vozdushnym okhla-zhdeniem v usloviyakh otritsatelnykh temperatur do minus 60°C prinuditelnoy podachey i podogrevom vozdushnogo zaryada [dissertation] Tula; 2022. (in Russ).
- Akimov SV, Chizhkov YuP. Electrical equipment of cars: textbook for universities. Moscow: OOO «Knizhnoe izdatelstvo «Za rulem»; 2007. (in Russ).
- Elagin MYu. Thermodynamics of open systems. Tula: Izd-vo TulGU; 2013. (in Russ).
- Elagin MYu, Khmelev RN. Fundamentals of mathematical modeling of work processes in internal combustion engines: textbook. allowance. Tula: Izd-vo TulGU; 2023. (in Russ).
- Agureev IE, Elagin MYu, Khmelev RN, et al. Mathematical modeling of the pre-start operating mode of a small-sized diesel engine under conditions of low negative temperatures. Dvigatelestroenie. 2022;4(290):82–89. (in Russ). doi: 10.18698/jec.2022.4.0-00
- Yelagin MY, Pavlov DV, Khmelev RN. Development and testing of a mathematical model of the engine pre-start operation at low ambient temperatures. Izvestiya MGTU MAMI. 2020;14(2):78–84. doi: 10.31992/2074-0530-2020-44-2-78-84
- Svidetelstvo o registratsii programmy dlya EVM, Patent RUS № 2020661037 / 17.09.2020. Platonov KYu, Pavlov DV, Khmelev RN. Dinamicheskaya model bystrokhodnogo dizelya s vozdushnym okhlazhdeniem. (in Russ). Accessed: 02.05.2023. Available from: https://new.fips.ru/registers-doc-view/fips_servlet?DB=EVM&DocNumber=2020661037&TypeFile=html
Supplementary files






