Design procedure of specific conductivity of the magnetic circuit of switched reluctance machines
- Authors: Ryabykh E.A.1, Maleev R.A.1, Akimov A.V.1
-
Affiliations:
- Moscow Polytechnic University
- Issue: Vol 19, No 1 (2025)
- Pages: 410-421
- Section: Electrotechnical facilities and systems
- URL: https://journals.eco-vector.com/2074-0530/article/view/635854
- DOI: https://doi.org/10.17816/2074-0530-635854
- EDN: https://elibrary.ru/WVGNTC
- ID: 635854
Cite item
Abstract
Background: In recent years, much attention has been paid to brushless electric machines, which have a long service life and do not require maintenance in operation. Switched reluctance machines, in particular inductor alternators, are widely used due to their design simplicity and high reliability. This paper discusses salient pole type switched reluctance motors with a star-shaped rotor and presents the design procedure of a magnetic circuit as well. The proposed approach enhances the accuracy of modeling electromagnetic energy conversion processes and can also be applied in the design and optimization of switched reluctance generators for both transportation systems and stationary power installations.
Aim: To present design procedure of the magnetic circuit of salient pole type switched reluctance machines.
Methods: The design procedure of specific conductivities in the air gap and the groove area using the method of variable separation into a Fourier series.
Results: A review of salient pole type switched reluctance machines with various magnetic systems and design is carried out. The advantages and disadvantages of the magnetic circuit of switched reluctance machines are determined and the most optimal design of the star-shaped rotor is selected, which ensures maximum material utilization.
Conclusion: The design procedure of the magnetic field of a switched reluctance machine by means of determining the specific conductivities in air gap with the method of variable separation into a Fourier series is presented.
Full Text
Введение
Современные автомобили должны обеспечивать высокий уровень комфорта, безопасности, а также надёжности работы всех его агрегатов и систем, что может быть обеспечено только путём увеличения как количества, так и качества различных электрических и электронных систем. Поэтому на автомобилях, а также других транспортных средствах наблюдается резкое возрастание количества потребителей электрической энергии, в связи с чем к генераторным установкам предъявляются высокие требования в отношении повышения их удельных показателей. Одним из способов повышения характеристик и параметров генераторов является применение различных методик расчёта как магнитных, так и электрических полей.
В настоящее время широкое применение находят различного рода бесконтактные электрические машины вследствие простоты технического обслуживания, высокой надёжности и большого срока службы. В различных отраслях техники активное применение находят вентильно-индукторные машины, в частности индукторные явнополюсные генераторы. Таким образом, материалы, изложенные в данной статье, являются актуальными и представляют практический интерес [1].
В данной работе представлена методика расчёта магнитной цепи явнополюсных вентильно-индукторных машин с учётом всех конструктивных и электрических особенностей, а также массогабаритных показателей магнитной системы. Представлен подробный расчёт удельных проводимостей в воздушном зазоре, а также пазовых проводимостей с учётом реакции якоря.
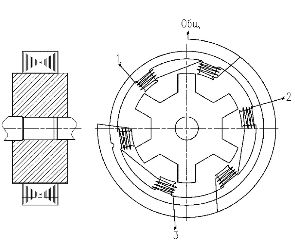
Роторы вентильно-индукторных машин могут иметь различные конструктивные исполнения, но чаще всего применяется конструкция явнополюсного ротора в виде звёздочки, которая представлена на рис. 1 и 2.
Рис. 1. Общий вид ротора с явнополюсной магнитной системой: 1 — железо ротора; 2 — магнитная заливка; 3 — вал.
Fig. 1. General view of the rotor with a single-pole magnetic system: 1: rotor iron; 2: magnetic fill; 3: shaft.
Рис. 2. Общий вид ротора и схема соединения обмоток статора: 1, 2, 3 — концы фазных обмоток.
Fig. 2. General view of the rotor and the connection diagram of the stator windings: 1, 2, 3: the ends of the phase windings.
Ротор в виде звёздочки напрессовывается на вал. В случае применения постоянных магнитов используются различного рода цинковые или алюминиевые сплавы, например: ЦАМ-4 или АЛ-9. Наиболее распространённый метод установки магнитов в пазы ротора — непосредственная заливка на валу. Монтаж магнитов в пазы звездообразного ротора с применением сплава из алюминия преимущественно производится на авиационных генераторах, а заливка магнитной массы непосредственно на вал — в автотракторных.
Сплавы из алюминия и цинка имеют характерную особенность. Алюминий по сравнению с цинком имеет малое удельное сопротивление, что положительно сказывается на удельной проводимости материала и тем самым является более предпочтительным для заливки полезного объёма ротора. Для автотракторной системы электроснабжения, как правило, изготавливаются статоры с явновыраженными полюсами с целью упрощения производственного процесса и удешевления производства [2].
Характерными особенностями данной конструкции являются её простота и технологичность. Для крепления постоянных магнитов применяется заливка, выполняемая из различных сплавов, например, алюминиевых или цинковых. Крепление с помощью алюминиевого сплава применяется в самолётных генераторах (рис. 2), а непосредственная заливка магнита на вал — в тракторных (рис. 3) [3]. При заливке алюминиевым сплавом по сравнению с цинковым уменьшается вес ротора, так как алюминиевый сплав имеет меньшее удельное сопротивление. Двенадцатиполюсные звездообразные роторы применяются реже, так как большее число полюсов приводит к худшему использованию материала и, как следствие, усложняют процесс заливки магнитного материала. В настоящее время выпускаются генераторы, имеющие шестиполюсную звёздочку (см. рис. 3) при 12 пазах на статоре. В этом случае между ЭДС соседних катушек статора получается сдвиг по фазе на 90, что позволяет использовать этот генератор как двухфазный [4].
Рис. 3. Поперечный разрез магнитной цепи автотракторного генератора мощностью 0,18 кВт: 1 — железо статора; 2 — звездообразный магнит.
Fig. 3. Transverse section of the magnetic circuit of an automotive tractor alternator with a power of 0.18 kW: 1: stator iron; 2: star-shaped magnet.
Наибольшее распространение получили шестиполюсные роторы, что доказано путём многочисленных теоретических и экспериментальных исследований [5].
Конструктивно в роторе применяется заливка алюминиевым сплавом, в котором устанавливаются составные магниты, которые изображены на рис. 4 и 5.
Рис. 4. Конструкция ротор с постоянными магнитами: 1 — магниты; 2 — втулка; 3 — заливка из алюминия; 4 — вал.
Fig. 4. The design of the rotor with permanent magnets: 1: magnets; 2: bushing; 3: aluminum casting; 4: shaft.
Рис. 5. Продольный разрез ротора.
Fig. 5. longitudinal section of the rotor.
К числу недостатков такой конструкции следует отнести технологические проблемы при намагничивании. Кроме того, распределение напряжённости и индукции магнитного поля оказывается в значительной степени неравномерно распределёнными. Спинка же звёздочки может явиться только лишь балластным участком, не увеличивающим общей магнитной энергии магнита. При этом снижается коэффициент использования материалов [6].
При отсутствии полюсных башмаков происходит значительное размагничивание ротора. Причиной этого является ток короткого замыкания, который в данном случае будет намагничивающей силой. Слабая проводимость постоянных магнитов приводит к малым показателям вихревых токов, поэтому вихревые токи слабо демпфируют намагничивающую силу ударного тока короткого замыкания (в диапазоне: 0,7–0,8 Ом∙мм2/м). Значительное влияние на распределение магнитных полей оказывает реакция якоря. Для улучшения характеристик применяют демпферные системы, которые конструктивно могут иметь вид короткозамкнутых медных витков, или применяют заливку ротора алюминием. Наличие демпферной системы особенно важно для уменьшения влияния инверсного поля в однофазных машинах [1].
Во-вторых, намагничивающая сила реакции якоря, действующая несимметрично относительно оси полюсов, вызывает несимметричное размагничивание концов полюсов.
Недостатком звёздообразного типа ротора является его невысокая механическая прочность. Предельные механические напряжения на разрыв сплава железо-никель-алюминий (Fe-Ni-Al) находятся в диапазоне 220–320 кг/см2. Окружная скорость ротора звездообразного типа с постоянными магнитами не превышает 30–50 м/сек (применимо для сплавов ални и алнико). Допустимое механическое напряжение при двукратном или трёхкратном запасе выбирается порядка 100 кг/см2.
В конструкциях со звёздообразным ротором достаточно низкая индукция в воздушном зазоре (не более 0,2–0,4 вб/м2). Так как длина магнита в направлении намагничивающей силы невелика, то незначительной будет и линейная нагрузка статора, в особенности при большом числе полюсов. Низкие значения индукции и линейных нагрузок приводят к повышению удельного веса машины [7].
В силу указанных выше недостатков магнитов-звёздочек они находят применение для машин относительно небольшой мощности.
При современных новых материалах, имеющих , предельная мощность генераторов со звёздообразным ротором достигает 7,5 кВА при 400 Гц и . При большей частоте она может быть увеличена [8].
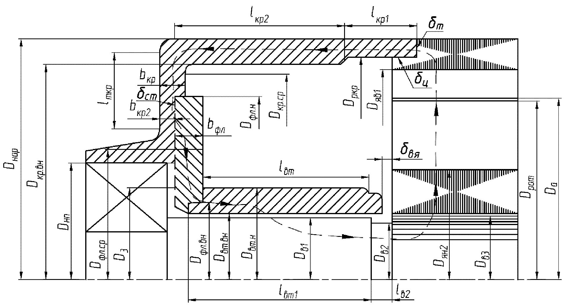
1. Расчёт удельных проводимостей в воздушном зазоре
Размеры магнитной цепи изображены на рис. 5.
Зубцовый шаг статора:
, (1)
где — диаметр расточки статора; — число зубцов статора.
Ширина паза статора:
, (2)
где — ширина зубца.
Расчёт зубцового шага ротора:
, (3)
где — диаметр; — число зубцов.
Расчёт ширины паза ротора:
, (4)
где — ширина зубца.
. (5)
Удельные проводимости между поверхностями зубцов статора и ротора λ1.
В зоне
. (6)
В зоне
. (7)
В зоне
Проводимости между торцом зубца статора и цилиндрической поверхностью зубца ротора λ2.
а) Условие .
В зоне
. (8)
В зоне
. (9)
В зоне
. (10)
В диапазоне и более λ2=0.
б) При .
В зоне
. (11)
В зоне
. (12)
В зоне λ2=0.
Расчёт проводимости в области торца зубца статора и набегающей торцевой поверхности зубца ротора λ3.
а) При .
В зоне
. (13)
б) При
Удельные проводимости между боковыми поверхностями зубцов статора и ротора λ4.
а) При .
В зоне
. (14)
В зоне
. (15)
б) При .
В зоне
. (16)
Удельные проводимости между торцом зубца статора и поверхностью зубца ротора λ5.
В зоне
. (17)
Удельные проводимости между торцом зубца статора и поверхностью зубца ротора λ6.
а) При .
В зоне
. (18)
В зоне
. (19)
В зоне
. (20)
б) При λ6=0.
Удельные проводимости между поверхностью зубца статора и боковой поверхностью зубца ротора λ7.
а) При .
В зоне
. (21)
В пределах
. (22)
В пределах
. (23)
б) При .
В зоне
. (24)
В зоне
. (25)
В зоне
. (26)
Удельные проводимости боковой поверхности зубца статора и боковой поверхности зубца ротора λ8.
а) При .
В зоне
. (27)
В зоне
. (28)
б) Если условия имеют вид .
В зоне
. (29)
В зоне
. (30)
В зоне
. (31)
Удельные проводимости между поверхностью зубца статора и поверхностью следующего зубца ротора λ9.
а) Если условия имеют вид .
В зоне
. (32)
б) Условия не рассматриваются как невозможные.
Удельные проводимости между поверхностью зубца статора и поверхностью следующего зубца ротора λ10.
а) В случае .
В пределах
. (33)
б) При ; λ10=0
Удельные проводимости между торцами зубцов статора и ротора λт.
В зоне
. (34)
В зоне
. (35)
Суммарная проводимость
. (36)
По результатам расчётов строится зависимость .
При q=1 рассчитываются проводимости эквивалентного зубца:
, (37)
для углов .
Разложение зависимости в ряд Фурье.
Амплитуды соответствующих гармоник.
Первая:
Вторая:
Третья:
Четвёртая:
Пятая:
Шестая:
Седьмая:
Восьмая:
Коэффициент Картера:
. (38)
Приведённая величина воздушного зазора:
. (39)
2. Расчёт пазовых проводимостей
Для выполнения расчёта используем геометрию статора с обмоткой, представленной на рис. 6.
Рис. 6. Разрез статора с обмоткой.
Fig. 6. Section of the stator with winding.
Расчёт числа пазов:
. (40)
Пазовое рассеяние (для конструкции генератора с прямоугольным зубцом):
, Гн/м, (41)
где — сдвиг фаз между соседними зубцами (эл. град.).
Лобовое рассеяние:
, Гн/м, (42)
где .
Дифференциальное рассеяние:
, Гн/м, (43)
где
ЭДС рассеяния:
, В. (44)
ЭДС поперечной реакции якоря:
, В. (45)
Максимальная проводимость:
для q ≥ 0,5
при :
, Гн/м, (46)
где Гн/м; (47)
для q < 0,5
при :
, Гн/м. (48)
Минимальная проводимость:
для q ≥ 0,5
при :
, Гн/м, (49)
где ;
при :
, Гн/м, (50)
где ;
для q < 0,5
при :
, Гн/м. (51)
ЭДС продольной реакции якоря:
, В. (52)
При q = 1:
, В. (53)
Падение напряжения в активном сопротивлении статора:
, В. (54)
При выполнении расчётов по данным пунктам сначала определяются коэффициенты, стоящие в выражениях Eaq и Ead , соответственно, перед Iф∙cosψ и Iф∙sinψ.
После выполнения пункта (55) данного раздела рассчитываются абсолютные величины Eaq и Ead при разных токах, напряжениях и скоростях.
Определение угла сдвига фаз ЭДС и напряжения:
, (55)
где угол φ — для генератора, работающего на кремниевый выпрямитель, принимается равным 0.
ЭДС фазы:
, В. (56)
Размагничивающая сила обмотки якоря:
. (57)
При q = 1:
. (58)
Ток фазы:
, А. (59)
Начальная скорость вращения при холостом ходе генератора:
, об/мин, (60)
где n0 — скорость вращения, при расчёте характеристики холостого хода.
Заключение
Проведён анализ магнитных систем с различными конструкциями звездообразного ротора с явновыраженными полюсами вентильно-индукторной машины. Определена оптимальная конструкция звездообразного ротора с шестью полюсами, что обеспечивает максимальный коэффициент использования материалов.
Представлена методика расчёта магнитного поля вентильно-индукторной машины путём определения удельных проводимостей в воздушном зазоре методом разделения переменных в ряд Фурье.
Дополнительная информация
Вклад авторов. Е.А. Рябых ― поиск публикаций по теме статьи, написание текста рукописи, редактирование текста рукописи, создание изображений; Р.А. Малеев ― экспертная оценка, утверждение финальной версии; А.В. Акимов ― поиск публикаций по теме статьи. Все авторы одобрили рукопись (версию для публикации), а также согласились нести ответственность за все аспекты работы, гарантируя надлежащее рассмотрение и решение вопросов, связанных с точностью и добросовестностью любой её части.
Этическая экспертиза. Неприменимо.
Источники финансирования. Отсутствуют.
Раскрытие интересов. Авторы заявляют об отсутствии отношений, деятельности и интересов за последние три года, связанных с третьими лицами (коммерческими и некоммерческими), интересы которых могут быть затронуты содержанием статьи.
Оригинальность. При создании настоящей работы авторы не использовали ранее опубликованные сведения (текст, иллюстрации, данные).
Доступ к данным. Редакционная политика в отношении совместного использования данных к настоящей работе не применима, новые данные не собирали и не создавали.
Генеративный искусственный интеллект. При создании настоящей статьи технологии генеративного искусственного интеллекта не использовали.
Рассмотрение и рецензирование. Настоящая работа подана в журнал в инициативном порядке и рассмотрена по обычной процедуре. В рецензировании участвовали два внешних рецензента, член редакционной коллегии и научный редактор издания.
Additional information
Author contributions: E.A. Ryabykh: search for publications on the topic of the manuscript, writing and editing the text of the manuscript, creating images; R.A. Maleev: expert opinion, approval of the final version. A.V. Akimov: search for publications on the topic of the manuscript. All the authors approved the version of the manuscript to be published and agreed to be accountable for all aspects of the work, ensuring that issues related to the accuracy or integrity of any part of the work are appropriately investigated and resolved.
Ethics approval: N/A.
Funding sources: No funding.
Disclosure of interests: The authors have no relationships, activities, or interests for the last three years related to for-profit or not-for-profit third parties whose interests may be affected by the content of the article.
Statement of originality: No previously obtained or published material (text, images, or data) was used in this study or article.
Data availability statement: The editorial policy regarding data sharing does not apply to this work as no new data was collected or created.
Generative AI: No generative artificial intelligence technologies were used to prepare this article.
Provenance and peer review: This paper was submitted unsolicited and reviewed following the standard procedure. The peer review involved two external reviewers, a member of the editorial board, and the in-house scientific editor.
About the authors
Eugeny A. Ryabykh
Moscow Polytechnic University
Author for correspondence.
Email: fczl98@bk.ru
ORCID iD: 0000-0001-7112-1019
SPIN-code: 4843-6000
postgraduate of the Electrical Equipment and Industrial Electronics Department
Russian Federation, MoscowRuslan A. Maleev
Moscow Polytechnic University
Email: 19rusmal@gmail.com
ORCID iD: 0000-0003-3430-6406
SPIN-code: 7801-3294
Cand. Sci. (Engineering), Assistant Professor, Professor of the Electrical Equipment and Industrial Electronics Department
Russian Federation, MoscowAndrey V. Akimov
Moscow Polytechnic University
Email: a.akimov5@mail.ru
ORCID iD: 0009-0002-6010-8817
SPIN-code: 8238-8598
Cand. Sci. (Engineering), Assistant Professor, Assistant Professor of the Electrical Equipment and Industrial Electronics Department
Russian Federation, MoscowReferences
- Ryabykh EA, Maleev RA, Shmatkov YM. “Simulation of a Single-pole Generator with Permanent Magnets”, Proceedings — 2024 International Ural Conference on Electrical Power Engineering (UralCon). 2024;95–101. doi: 10.1109/UralCon62137.2024.10718954 (In Russ.)
- Ryabykh EA, Maleev RA, Akimov AV. Valve inductor generators for special purpose vehicles. Izvestia of MSTU “MAMI”. 2023;17(3):287–294. doi: 10.17816/2074-0530-340855 (In Russ.) EDN: GXYPIB
- Ryabykh EA, Maleev RA, Akimov AV. On the issue of contactless alternators on movable objects. Izvestia of MSTU “MAMI”. 2023;18(1):53–62. (In Russ.) doi: 10.17816/2074-0530-625880 EDN: LEAKNC
- Akimov SV. Calculation of output characteristics of automotive inductor generators: a textbook on the course “Design of automotive electrical equipment” for students of specialty 0618. Moscow: 1987; 55.
- Chernov AE, Akimov AV. Comparative analysis of the energy capabilities of the excitation systems of tractor generators. Tractors and agricultural machinery. 2017;84(1):46–53. doi: 10.17816/0321-4443-66274 (In Russ.) EDN: YRYGWL
- Ryabykh EA. Simulation of an inductor generator with permanent magnets in an ANSYS environment // In the book: Radio electronics, electrical engineering and power engineering. Abstracts of the Thirteenth International Scientific and Technical Conference of Students and Postgraduates. 2024; 446. (In Russ.) EDN: STHQAA
- Ryabykh EA. Development of a mathematical model of a valve inductor generator // In the book: Radio electronics, electrical engineering and power engineering. Abstracts of the Thirty-first International Scientific and Technical Conference of Students and postgraduates. 2025. p. 455. (In Russ.) EDN: FXBMLZ
- Chernov AE, Akimov AV. Automated control and measuring stand for the study of automobile and bus generator sets. Izvestiya MSTU “MAMI”. 2014:8(1–2):5–12. doi: 10.17816/2074-0530-67630 (In Russ.) EDN: SXGXIL
Supplementary files









