Информационная база «умный город» как перспективный инструмент городского управления
- Авторы: Жуйков В.Н.1
-
Учреждения:
- ООО «Перспектива»
- Выпуск: Том 12, № 1 (2022)
- Страницы: 18-33
- Раздел: ИННОВАЦИОННЫЕ МЕТОДЫ ИССЛЕДОВАНИЯ УРБАНИЗАЦИИ, ТРАНСПОРТНОЙ И ИНЖЕНЕРНОЙ ИНФРАСТРУКТУРЫ, КАЧЕСТВА ЖИЗНИ И ГОРОДСКОГО ЗДОРОВЬЯ В СОВРЕМЕННОМ МЕГАПОЛИСЕ
- URL: https://journals.eco-vector.com/2542-0151/article/view/105893
- DOI: https://doi.org/10.17673/Vestnik.2022.01.3
- ID: 105893
Цитировать
Полный текст
Аннотация
Рассматриваются вопросы научного позиционирования понятия «умный город» в теории градостроительства и управления крупными городами. Проанализирована практика внедрения новых управленческих механизмов, формирующихся в рамках национального проекта «Умный город». Эта государственная программа, направленная на повышение эффективности процессов градостроительного развития и управления на основе цифровизации, имеет ряд существенных научно-методических недостатков, которые могут привести к значительному снижению ее эффективности и полезности. Предложена гипотеза, смещающая смысловую нагрузку понятия «умный город» от технологии интеллектуального управления элементами и системами городского хозяйства к созданию информационного управленческого феномена, условно называемого «мозг города», способного самостоятельно генерировать оптимальные управленческие решения независимо от случайных факторов, связанных с квалификацией персонала управленцев. Эта гипотеза связана с использованием и развитием антропоморфного подхода, порождением которого является само понятие «умный город», с его многочисленными толкованиями. Такой подход предполагает дальнейшее развитие методов системного анализа градостроительных образований. Адаптация и внедрение актуальных методик конструирования моделей города и алгоритмов управления им базируются на исследованиях начала XX в., предполагающих объединение всех человеческих, биологических и физических наук в поиске универсальных организационных принципов, положенных в основу всех типов систем. В рамках предложенной гипотезы, на основе методических подходов в сфере развития цифровых платформ как перспективных информационно-управленческих инструментов, сделана попытка сформулировать структуру и содержание институционального феномена, условно названного «Центр интеллектуального обеспечения городского управления».
Полный текст
Понятие «умный город» активно внедряется в градостроительную практику современной России. С некоторым опозданием профессиональное сообщество подхватывает западную концепцию, сформированную в конце XX в., обещающую революционные преобразования в сфере градостроительства и управления развитием городов. Важным является тот факт, что идея внедрения методики «умного города» находит отражение в формировании новых государственных программ. На Петербургском инвестиционном форуме в 2018 г. Министерство строительства РФ презентовало проект «Умный город», который реализуется в рамках национального проекта «Жилье и городская среда» и входит в государственную программу «Цифровая экономика». В июне 2018 г. на заседании рабочей группы был предложен паспорт проекта, который представляет собой «стартовый документ, намечающий ориентиры будущей масштабной программы». Сформулированы две основные цели проекта – «обеспечение устойчивого развития городов и повышение качества жизни проживающих в городах людей посредством цифровой трансформации отрасли городского хозяйства» [1].
В декабре 2020 г. была утверждена концепция проекта цифровизации городского хозяйства «Умный город», где была сделана попытка сформулировать основные принципы и методические подходы к внедрению технологий умных городов в практике реального градостроительного развития и управления [2].
В проекте «Умный город» сделана попытка сформулировать целевые показатели, дающие представление о продвижении к поставленным целям.
- Количество субъектов Российской Федерации, на территории которых реализуются мероприятия «умного города», в том числе включенные в Базу данных умных городов (5 – в 2019 г., 85 – в 2024).
- Доля жителей городских округов Российской Федерации в возрасте старше 14 лет, имеющих возможность участвовать в принятии решений по вопросам городского развития с использованием цифровых технологий (1 % – в 2019 г., 60 % – в 2024).
- Число городов, управление городским хозяйством на территории которых осуществляется при помощи смарт-систем (реализована интеграция информационных и коммуникационных технологий для управления городскими ресурсами) (0 – в 2019, 70 – в 2024).
- Доля городов, на территории которых более 80 % многоквартирных домов подключены к интеллектуальным системам учета коммунальных ресурсов (0 – в 2019, 80 % в – 2024).
Сформулированы принципы, которые должны лечь в основу реализации Проекта, а именно: ориентация на человека, технологичность городской инфраструктуры, повышение качества управления городскими ресурсами, комфортная и безопасная среда, экономическая эффективность.
В сфере научных разработок предусмотрено создание методических и организационных основ формирования экосистемы «умной» городской среды, разработка и утверждение нормативно-правовых актов и методик цифровизации отраслей городского хозяйства путем внедрения цифровых технологий. К концу 2022 г. должны быть реализованы лучшие инновационные проекты в сфере городского хозяйства, отобранные в рамках ежегодных конкурсов, осуществлен набор мероприятий в рамках пилотных проектов. К 31 декабря 2024 г. планируется организовать систему тиражирования лучших проектов, в том числе путем их включения в Базу знаний умных городов и внедрения механизмов государственной поддержки.
К 31 декабря 2024 г. должны быть внедрены цифровые платформы управления городскими ресурсами, сервисы информирования граждан и предоставления им доступа к муниципальным услугам в цифровом виде, сервисы вовлечения граждан в принятие городских решений.
Использование цифровых технологий должно обеспечить повышение эффективности ЖКХ, улучшить оперативное управление инфраструктурой, информационное взаимодействие органов власти и субъектов рынка ЖКХ. Кроме того, к концу 2024 г. должно быть внедрено цифровое территориальное планирование в пилотных городах России. 25 муниципалитетов из 20 субъектов РФ подали заявки и готовы стать пилотными площадками для отработки новых технологий управления. Бюджет проекта «Умный город» определен в объеме 132,2 млрд. руб.
Противоречия и трудности проекта «Умный город»
Ситуация, которая складывается в сфере внедрения принципов «умные города» в новейшую практику градостроительного управления выглядит достаточно противоречивой. Министерство строительства и ЖКХ РФ активно инициирует внедрение новых методик градостроительного управления, предлагая регионам разрабатывать и принимать свои программы по «умному градостроительству». В презентационной программе Министерства подчеркивается, что «на сегодня не сформировалось общего определения этого понятия. Существуют только отдельные опробованные направления и методики, дающие видимый эффект. В первую очередь это касается корректной информации для принятия правильных решений» [1]. Таким образом, подчеркивается, что «умный город» это по сути технология принятия решений.
Позиционирование методики «умного города» как технологии принятия правильных решений в сфере градостроительного управления, инициированное Министерством строительства и ЖКХ, является важным фактором, определяющим направления развития отрасли.
Однако в реальной практике наблюдаются процессы другого рода. В первую очередь внедряются интеллектуальные технологии, связанные с процессами программирования отдельных городских технологических циклов: оптимизация транспортных потоков, мониторинг инженерных сетей, учет инженерных ресурсов, обеспечение энергоэффективности отдельных систем и т. д. Таким образом, регионы, пытаясь опереться на предложенные государственным Проектом базовые принципы, формируют свое представление о структуре и содержании понятия «умный город».
Сегодня отсутствует единое системное представление об управленческой модели, обеспечивающей реализацию принципов, заложенных в основу понятия «умный город». Сами эти принципы сформулированы исходя из сложившейся зарубежной практики внедрения интеллектуальных технологий в сферу управления городской инфраструктурой, а не на основе прогнозных моделей развития городов будущего, адаптированных к опыту российского градостроительства.
Западная концепция. Негативный опыт
Западная концепция «умного города» во многом формируется исходя из интересов крупных транснациональных компаний, заинтересованных в глобальном внедрении собственных интеллектуальных технологий. Это вовсе не означает, что такие технологии оптимальны для конкретных объектов, и еще менее вероятно, что такие технологии целиком впишутся в перспективную научно-обоснованную методику создания управленческой модели «Умный город», на которую нацелены усилия Министерства строительства и ЖКХ России.
Известный английский урбанист Лео Холис на основе изучения мирового опыта внедрения технологий «умного города» подчеркивает, что «на идее «умного города» можно заработать большие деньги. Его проектирование и маркетинг – выгодный бизнес для множества людей: теоретиков, с пророческим видом рассказывающих о своих озарениях, архитекторов с инновационными проектами, консультантов по менеджменту, желающих продать свои методы, компьютерных компаний, разрабатывающих специализированные программы по управлению этим новым миром. Все крупные игроки, вроде IBM, Cisco, Siemens, Accenture, McKinsey, BoozAllen, вступают в дискуссию об «интеллектуальном городе», «умной» инфраструктуре, зданиях нового поколения, разрабатывают инструменты повышения эффективности, экологичности мегаполиса и взаимосвязанности его частей. Эти крупные компании контактируют с муниципалитетами, навязчиво рекламируя решения «под ключ», полные «пакеты» методов приспособления повседневной жизни города к требованиям XXI века» [3].
Такая активная политика крупных корпораций приносит свои плоды. В разной стадии реализации находится множество проектов, претендующих на роль «умного города». В первую очередь это город «Сонгдо» в Южной Корее, «Экодолина Ментугу» – образцовый «город будущего» недалеко от Пекина, города «Путраджая» и «Киберджая» в Малайзии, Новый город «Маздар» в окрестностях Абу-Даби», китайско-сингапурский «Город знаний Гуанчжоу». По замечанию Лео Холиса в результате активности крупных IT корпораций эти и «многие вновь построенные города напоминают скорее отделы магазина электроники, чем мегаполисы»[3].
Сама же западная наука подвергает сомнению тот путь, по которому сегодня идет развитие технологии «умного города». Подчеркивается опасность монополизации управления городской инфраструктурой через программные продукты и управленческие методики. Большой бизнес заинтересован во внедрении своих технологий «сверху», а городским властям предлагается адаптировать к этим технологиям систему планирования. Таким образом, недопустимо искажается система приоритетов при постановке управленческих задач развития городских образований.
Сегодня господствующим является представление о том, что «умный город» по сути представляет собой царство Интернета вещей и управляющих систем, в которые вживляются жители города. В этом смысле такая практика представляет собой опасность пока потенциальную, но серьезную – для обитателей городов.
Как правило, при упоминании проектов, связанных с концепцией Smart City, говорится только о преимуществах, которые несут технологии, и почти ничего о конфиденциальности, защите персональных данных граждан. Между тем зависимость благополучия человека от того, насколько надежно защищены его персональные данные, в «умном городе» возрастает многократно, поскольку окружающие устройства протоколируют каждый его шаг, любое перемещение и, что еще хуже, его коммуникации. Огромные массивы накопленных данных о гражданине допускают извлечение из них нетривиальной информации, которая может не просто скомпрометировать, а позволяет точно смоделировать поведение человека и вообще многими способами сделать его уязвимым перед окружающим миром.
Гуманистическая составляющая городской среды ставится под угрозу. Архитектор Рем Колхас ставит перед собой и жителями городов вопрос, порожденный размышлениями об уровне свободы горожанина: «Где место для прегрешения»[4]. В мире, который значительно расширяет информационные и операционные возможности людей, но контролирует каждое движение, человеку не остается места для личного пространства.
Глава стратегического подразделения финского фонда инноваций SITRA, дизайнер и урбанист Дэн Хилл [5] говорит о том, что концепция «умного города» рассчитана на потребителя с современным смартфоном, снабженного всеми соответствующими приложениями. Это говорит о том, что значительная часть общества остается за пределами процессов социально-технологического развития. Неучет такими концепциями целых социальных групп населения ведет к новому, «цифровому» неравенству. Сегрегация такого рода опасна не только сама по себе, но и тем, что создает ограничения мировоззренческого характера. Никем не доказано, что будущее человечества связано с поколением NEXT – поколением, зависимым от цифровых технологий и устройств, обеспечивающих большинство необходимых функций.
Недостатки методического обеспечения
Есть серьезные опасения, что развитие технологий «умного города» в нашей стране будет связано в основном с цифровизацией процессов управления элементами городской инфраструктуры. Как было описано выше, в национальном проекте «Умный город» прямо сформулировано, что основным механизмом обеспечения устойчивого развития городов и повышения качества жизни проживающих в городах людей является «цифровая трансформация отрасли городского хозяйства» [1].
Такая формулировка основной цели национального Проекта скрывает в себе методическую ошибку. Эта ошибка возникла из-за недостаточной проработанности самого понятия «умный город», использования сложившихся стереотипов внедрения цифровых технологий, проистекающих из западного опыта «умной» градостроительной практики.
Таким образом, тенденции, формирующие сегодняшнюю ситуацию по внедрению цифровых технологий в городское хозяйство и планированию государственной программы «Умный город», скрывают в себе три основные группы опасностей:
Низкая эффективность планируемых инвестиций, возникающая по причине бессистемного внедрения цифровых технологий по принципу «снизу». Множество инициативных групп, ориентируясь на финансовые ресурсы, предоставленные Правительством РФ, пытаются внедрить собственные или заимствованные технологии в сложившиеся управленческие процессы по различным отраслям городского хозяйства. Сами по себе эти инициативы вполне прогрессивны, однако на первом месте должен стоять анализ эффективности и обоснованности самих управленческих моделей, их взаимодействия с органами управления городом, их соответствия принципам «умного города».
Непредсказуемый и неизученный рост информационной зависимости населения и институтов государства. Это выражается в неизбежной сегрегации населения по имущественному принципу и по признаку принадлежности к определенным знаниям и навыкам. Кроме того, возникает опасность формирования конфликта интересов в сфере мировоззренческих установок, определяющих будущее нашего общества. Серьезная опасность скрывается также в возможной зависимости от зарубежных технологических корпораций – поставщиков оборудования и технологий.
Технологическая самостоятельность наиболее продвинутых «умных» городов вовсе не является гарантией их планомерного и успешного развития. Долговременная эффективность технологически совершенного города может быть достигнута его гармоничным участием в процессах более высокого территориального масштаба. Таким образом, внедрение «умных» технологий должно затрагивать все иерархическое поле пространственной организации общества.
Планируемые Правительством РФ усилия в направлении развития технологий «умный город», а также масштабные инвестиции, подкрепляющие это развитие, определяют актуальность и значимость формирования целостного научно-обоснованного методического подхода, определяющего содержание и механизмы внедрения этих технологий в практику городского управления.
Содержание понятия «умный город»
Главная сфера применимости понятия «умный» относится к социализированным субъектам, действующим в сфере общественных отношений, межличностных контактов, научного, творческого и технического развития общества.
Потребность использования определения «умный» применительно к городским структурам и их элементам появилась вполне закономерно. Сегодня общество пытается полностью преодолеть стихийность в процессах развития городов, придать вещам, домам и самим городским образованиям способность интерактивного взаимодействия с обществом и отдельными потребителями. Основной целью такого взаимодействия является гуманизация взаимоотношений «город – человек», а главным аттрактором этого процесса являются цифровые технологии управления процессами жизнедеятельности.
Понятие «умный» предполагает наличие деятельного субъекта, принимающего решения, контролирующего и оценивающего свою деятельность, а также совокупность способностей субъекта, характеризующих качество его деятельности, соответствия ее стандартам общества. Такая совокупность способностей определяет содержание понятия «ум».
Сегодня мы пытаемся придать городу черты и качества субъекта социальной сферы, наделенного способностью мыслить, оценивать свои действия, самостоятельно принимать адекватные решения. Такой методический подход со всей очевидностью можно назвать «антропоморфным». Методики, разработанные в рамках этого научного подхода, получили широкое распространение в кибернетике. Впечатляющие результаты, полученные в данной технологической отрасли, позволяют говорить о колоссальном потенциале научно-практических разработок этого направления. Антропоморфный подход при проектировании сложных систем, сформулированный кибернетикой, представляет собой «способ создания устройств или систем, приближенно воспроизводящих те или иные функции человеческого организма» [6].
Исходя из этого определения, антропоморфный подход применительно к функционированию города требует кардинального пересмотра системы и предмета городского самоуправления, изменения целевых установок и алгоритмов принятия решений. Образно говоря, важной задачей становится формирование понятия «мозг» города, способного самостоятельно генерировать умные решения, независимо от случайных факторов, связанных, как правило, с личностными характеристиками назначенных или выбранных управленцев.
Вживление элементов интеллекта в городскую жизнь сопряжено с адаптацией понятия «ум», применительно к природе и структуре организации города. Чтобы такое вживление прошло успешно, необходимо четко представлять, что есть мозг для сложного организма, который называется ГОРОД, а также как и чем должен управлять этот мозг.
Понятие «умный», применительно к любому субъекту социально-биологической природы, означает – «наделенный умом», «обладающий умом». Таким образом, материализация понятия «умный город» и воплощение его в реально действующий феномен требует разработки и адаптации к соответствующему объекту, цепочки следующих понятий: УМ–МОЗГ–УПРАВЛЕНИЕ.
Управление городским организмом
Для правильного позиционирования понятия УМ в теории городского управления необходимо определить адекватную основу его толкования. Представляется, что наиболее точное направление для адаптации этого понятия сформулировано Татьяной Владимировной Черниговской, которая отмечает что «ум – это умение глубоко смотреть на мир и извлекать из него действительно важную информацию» [7]. Таким образом, способность сбора и целенаправленной интерпретации соответствующей информации представляется главной отличительной чертой феномена УМ, применительно к деятельности субъекта, претендующего на социализированный характер жизнедеятельности.
Современный словарь русского языка определяет «ум» как «познавательную и мыслительную способность человека, способность логически мыслить» [8]. Толковый словарь русского языка под редакцией Д.Н.Ушакова раскрывает УМ как мыслительную способность, лежащую в основе сознательной, разумной деятельности [9].
Обобщая толкования научных источников, можно констатировать что классическое определение понятия «ум» содержит в себе исчерпывающий набор функций, составляющих содержание этого феномена: УМ – это совокупность способностей к мышлению, познанию, пониманию, восприятию, запоминанию, обобщению, оценке и принятию решения. Таким образом, рассматривая город как субъект творческой деятельности общества, способный к самоуправлению и саморазвитию, имеющий свою нишу в системе потенциально мыслящих объектов, необходимо сформировать возможности для реализации всех указанных способностей.
Реализация способностей, определяемых наличием и качеством ума, для любого субъекта связана с осуществлением присущих ему жизненно необходимых (базовых) функций. Для обобщенного человека это вопросы выживания, социализации, моральной состоятельности, продолжения рода и др. Город, как среда обитания и одновременно субъект хозяйственной и социальной деятельности общества, имеет четко выраженный набор функций, определяющих его место и роль в социальных и биосферных процессах. Эти функции концентрируются в трех базовых понятиях: комфортность, эффективность, экологичность.
Понятие «комфортность» связано с задачами обеспечения городом благоприятной среды жизнедеятельности, создания средовых условий для здорового образа жизни и развития творческого потенциала населения. Этот вектор развития градостроительной отрасли определяется осознанием того факта, что развитие человека – это и основная цель, и необходимое условие прогресса современного общества, что переход на инновационный путь развития связан, прежде всего, с масштабными инвестициями в человеческий капитал.
Понятие «Эффективность» – это обеспечение социальной и экономической состоятельности города как территориального образования, его финансовой независимости и способности к устойчивому развитию. Кроме того важнейшим показателем эффективности города является его способность выполнять соответствующие функции в системах более высокого уровня.
Понятие «Экологичность» города – это обеспечение стерильности процессов жизнедеятельности социума, проживающего на данной территории, обеспечение соответствия промышленных, коммунальных, строительных технологий принципам функционирования биосферных процессов.
Приведенные здесь базовые функции, присущие городу как феномену социо-культурного и пространственного развития общества, определяют набор процессов и систем, качество которых находится в сфере контроля управленческого инструмента и который мы называем «ум». Создание и развитие этого инструмента определяет направление формирования понятия «умный город», а также комплекс научно-методических разработок, управленческих мероприятий и инвестиций для реализации этой задачи.
Приведенное выше классическое определение понятия «ум» формирует модель, которая может стать основой научно-методических разработок управленческих алгоритмов, пригодных для использования в области городского управления.
Основу такого алгоритма составляет соответствующая адаптация взаимосвязанной цепочки следующих понятий: «познание» – «понимание»- «восприятие» – «запоминание» – «обобщение» – «оценка».
Таким образом, формирование понятия «умный город» связано по сути с созданием соответствующих алгоритмов при принятии решений по управлению базовыми функциями. Принятию решений должны предшествовать все фазы процесса, который соответствует понятию «умный»: познание – понимание – восприятие – запоминание – обобщение – оценка. Эти фазы мышления должны быть интерпретированы в соответствии с заданными функциями и на основе цифровых технологий встроены в целостную информационно-аналитическую систему, составляющую «мозг города». Устройство и функционирование такой системы требует углубленной разработки, так как ее эффективность зависит не только от уровня организованности отдельных ее компонентов, но и от способности к инициации синергических процессов, возникающих при управляемом взаимодействии этих функциональных подсистем.
Вопросы интеллектуального управления отдельными элементами городской инфраструктуры должны быть интегрированы внутрь соответствующей функциональной подсистемы.
Понятие «мозг», составляющее основу информационной системы «умный город», должно быть материализовано в один из главных элементов управленческой модели города. Определяющим свойством этой структуры должна стать стабильность функционирования и устойчивость к модификациям системы городского управления. Содержащаяся здесь информация и алгоритмы управления городским организмом должны строиться по модели интеллектуального роста и накопления качеств, формирующих индивидуальность, характер города.
Как самоорганизующаяся система, «мозг города» может стать менее зависимым от качества управленцев, политической и экономической конъюнктуры. Решения, которые он должен генерировать, станут основой управленческих решений, это позволит руководителям города избежать ошибок и волюнтаристских действий в процессах городского управления.
Целостное восприятие городского организма, характерное для систем такого рода, позволит эффективно и непротиворечиво инициировать внедрение систем интеллектуального управления элементами городской инфраструктуры, что обеспечит успех и эффективность инвестиций в цифровые технологии городского управления.
Адаптация понятийного аппарата
Гипотеза о городе как о системе, подобной живому организму, приводит к использованию в изучении развития городских структур, методики и терминологии, заимствованной из наук, связанных с изучением живых существ.
Такой трансдисциплинарный перенос научных методик и понятий может быть очень продуктивным, однако его правомерность оправдана лишь в том случае, если данные понятия и приемы тождественно трактуются в соответствующих сферах знаний.
С точки зрения нашей гипотезы о возможности создания информационной базы, адекватной понятию «мозг города», необходимо провести адаптацию понятий, терминов и методик, сложившихся в сфере градостроительного планирования и управления к новым методологическим подходам, заимствованным из наук исследующих биологические системы.
Такая адаптация должна затронуть все составляющие предметно-объектной сферы управления городом:
- Содержание понятия «управление» применительно к трактовке города как живого организма, соотнесение его с понятиями градостроительное проектирование, планирование, развитие.
- Принципы формирования моделей описания городских систем в парадигме антропоморфного подхода.
- Смысловое наполнение понятия «элементы» городских систем и закономерностей их взаимодействия.
- Разработка адекватной структуры информационной базы, описывающей город как живой организм и объект управления.
Основания для использования антропоморфного подхода при изучении и конструировании любых сложных систем были заложены выдающимся советским учёным А.А. Богдановым в 20-х гг. XX в. В своих исследованиях он сделал попытку обобщить универсальные организационные законы, управляющие формированием и поведением любых сложных систем. Созданная им «Всеобщая организационная наука», названная тектологией, должна была вывести универсальные законы и способы организации природы и человеческой деятельности.
Рассматривая тектологию как науку, положившую основы общей теории систем, М.В. Локтионов отмечает, что «организационно структурные отношения рассматриваются А.А. Богдановым безотносительно к природе субстрата системы, по его убеждению, они являются общими как для физических и биологических, так и для социальных и культурных систем. Оригинальное предложение Богданова заключается в объединении всех человеческих, биологических и физических наук, понимаемых как системы взаимоотношений, и поиске организационных принципов, лежащих в основе всех типов систем».
Антропоморфный подход, применительно к задачам поиска эффективных методов управления сложными системами, выразился в формировании новой науки – синергетики, которая стала «ядром постнеклассической науки 21-го века» [11]. Важную роль в развитии синергетики сыграло математическое моделирование, в том числе в сфере архитектуры и градостроительства.
Существует множество направлений научных и прикладных исследований, согласующихся с синергетическими принципами, однако всех их объединяет одна стержневая идея: любая сложная система достигает устойчивого состояния за счет баланса противоположностей и противоречий, ведущих к кризису. Теории о «взаимосвязи и взаимообусловленности порядка и хаоса, а также о самоорганизации и междисциплинарном подходе составляют основу этой науки»[11].
Именно с позиции синергетики город представляет собой систему, похожую на живой организм, – постоянно изменяющуюся от какого-либо внутреннего или внешнего воздействия. Такая аналогия наталкивает исследователей на поиск доказательств гипотезы о существовании таких понятий, как «ген города», «мозг города», «городской интеллект».
Цифровая платформа – инструмент цифровой экономики
Структура, составляющая понятие «мозг города», должна быть сформирована на базе новейших представлений об управлении значительными массивами информации и моделировании сложных процессов.
Сегодня цифровые технологии являются главным фактором, определяющим развитие всех сфер жизнедеятельности общества. Ключевым инструментом цифровой трансформации традиционных отраслей хозяйства, бизнес-процессов и потребительских методик является цифровая платформа.
Теория «платформенного» освоения информационно-управленческой сферы экономики насчитывает уже не одно десятилетие. Изначально развитие платформенного подхода происходило рыночным путём, основываясь на задачах интеграции поставщиков с потребителями услуг и информации через организацию сетевых взаимодействий. Эффективность таких взаимодействий обеспечивается созданием единой информационной среды и применением цифровых технологий при работе с данными и осуществлением трансакций. Существует более десяти классификаций платформ, проистекающих из разнообразия экономических, социальных, технологических форм современной организации бизнес-процессов.
Платформенные методы управления совершили революцию в развитии бизнес-моделей рыночной экономики и изменили не только принципы экономического развития, но и сознание людей, отвечающих за управление социально-экономическими системами.
В начале XXI в. была выдвинута концепция «государство как платформа», которая начала успешно внедряться правительствами многих стран. Сегодня повестка развития государственного управления в Российской Федерации формируется в направлении цифровизации государственных услуг и сервисов, развивается концепция электронного правительства, в которой функции государственных информационных и операционных систем переносятся в сферу электронного взаимодействия с гражданами и бизнесом. Интенсификация цифровизации государственных услуг определяет формирование нового понятия «государственная цифровая платформа».
Применительно к Российскому сектору соответствующих прикладных исследований и программирования экономики это понятие получило развитие в результате принятия Правительством Программы «Цифровая экономика Российской Федерации» (утверждена Распоряжением Правительства РФ от 28.07.2017 г, №1632-р)[12].
Цифровая платформа представляется комплексом технологий, которые формируются в качестве основы, обеспечивающей создание специализированной и формализованной системы цифрового взаимодействия. Используя такой механизм, понятие «мозг города» может обрести черты реально функционирующего органа, позволяющего создать условия для эффективного управления городскими функциями.
Правительство РФ уделяет большое внимание подготовке методической базы для формирования и развития цифровой сферы экономики [12–16]. В рамках программы «Цифровая экономика Российской Федерации» была разработана классификация цифровых платформ, отражающая основные виды деятельности субъектов, группы участников, основных выгодоприобретателей, уровни и характер обработки информации, особенности информационной среды, в которой осуществляется деятельность.
Выделено три основных типа цифровых платформ:
- Инструментальная цифровая платформа, в основе которой находится программный комплекс, предназначенный для создания программных или программно-аппаратных решений прикладного назначения. Инструментальные цифровые платформы стимулируют технологическую работу с данными, но не обеспечивают доступа к самим данным.
- Инфраструктурная цифровая платформа, формирующая экосистему участников рынка информатизации. Такая платформа содержит в себе как средства обработки данных, так и их источники, что позволяет в рамках специализированный экосистемы строить эффективные в прикладном смысле ИТ-сервисы, нацеленные на формализацию данных , необходимых для принятия решений в интересах отдельных субъектов экономики.
- Прикладная цифровая платформа, оперирующая обработанными данными. Эти платформы действуют на уровне бизнес-процессов или хозяйственных программ отдельных субъектов экономики или отрасли в целом. Они позволяют добиваться эффективного объединения и взаимодействия множества специализированных потоков данных в рамках информационной среды, сформированной вне этих субъектов экономики.
Именно инфраструктурные и прикладные цифровые платформы, обладая единой информационной средой для взаимодействия участников и подключенными к платформе источниками данных, могут стать методической и аппаратной основой интеллектуальной системы управления функциями города.
Сегодня методика формирования инфраструктурных и прикладных цифровых платформ достаточно проработана. Эта методика может послужить основой для формирования специализированный цифровой платформы «Умный город».
Подводя итог ряда научно-прикладных исследований, А.А. Гретченко очерчивает типологию, содержание и примерную архитектуру экосистемы инфраструктурной цифровой платформы [17]. К технологическим элементам экосистемы цифровой инфраструктурной платформы относятся: источники информации, средства доставки информации, средства хранения, агрегации и обогащения информации, инструментальная цифровая платформа (или комплекс таких платформ), инфраструктура для ее развертывания, ИТ-сервисы (программное решение на базе инструментальный цифровой платформы), средства разработки, отладки и интеграции ИТ-сервисов с платформой и между собой.
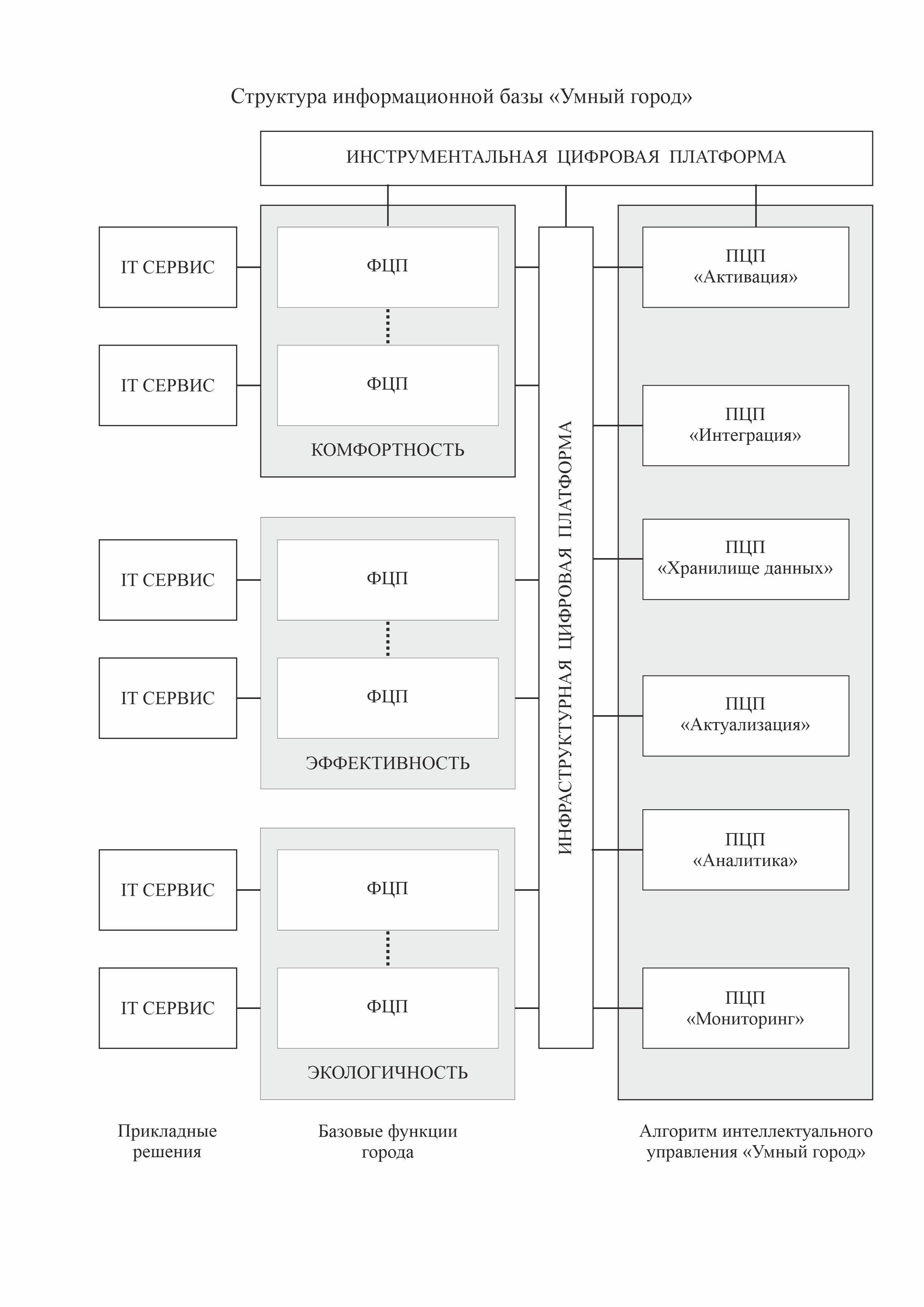
Рис. 1. Взаимодействие основных функциональных элементов в рамках реализации алгоритма интеллектуального управления «Умный город»: ЦИОГУ – Центр интеллектуального обеспечения городского управления; ПЦП – Прикладная цифровая платформа; ИЦП – Инструментальная цифровая платформа; ФЦП – Функциональная цифровая платформа; ИНФЦП – Инфраструктурная цифровая платформа
Под ИТ-сервисом понимается специализированное программное решение, созданное и функционирующее в рамках экосистемы инфраструктурной цифровой платформы, решающее профильные задачи субъекта экономики на основе информации в цифровом виде, накапливаемой в хранилище инфраструктурной цифровой платформы и получаемой как от предприятия-потребителя сервиса, так и из внешних источников. ИТ-сервис использует функции интерфейса для обработки информации, в том числе с использованием сквозных цифровых технологий работы с данными.
Основными участниками отношений в рамках инфраструктурной цифровой платформы являются: оператор платформы, поставщики информации, разработчики прикладных ИТ-сервисов на основе сервисов платформы и источников информации, потребители решений в различных отраслях экономики. Оператор платформы выполняет следующие функции: управление отношениями с владельцами источников информации, оперирование хранилищем данных платформы и соответствующей моделью данных, поддержка бизнес-процессов платформы для разработчиков ИТ-сервисов, управление отношениями с разработчиком сопутствующей инструментальной цифровой платформы.
Основным видом деятельности, который осуществляется на основе инфраструктурной цифровой платформы, является предоставление отраслевым потребителям прикладных решений по автоматизации их деятельности на основе доступа к информации определённого типа и результатам её обработки в рамках прикладных решений. Основным бенефициаром деятельности является заказчик ИТ-сервисов (продуктолог), определяющий соответствующие функциональные требования к сервису, которые, в свою очередь, реализуются разработчиками на основе платформы и подключенных к ней источников информации.
В некоторых случаях инфраструктурная цифровая платформа может выступать в качестве основы для построения прикладных цифровых платформ, основным видом деятельности в которых является предоставление потребителям доступа к ИТ-сервисам, разработанным в рамках экосистемы инфраструктурной платформы [17].
Цифровая платформа «Умный город»
Цифровая платформа «Умный город» должна конструироваться как одна из разновидностей прикладной цифровой платформы, интегрированной в инфраструктурную и формирующую особый класс отраслевых цифровых платформ.
Основным качеством, определяющим структуру и характеристики цифровой платформы «Умный город», является её государственная принадлежность. Давая определение такому типу платформ, специалисты отмечают основополагающие их признаки:
- общественная ценность от взаимодействия на платформе;
- поддержка механизмов сотрудничества;
- ясная и понятная модель взаимодействия, снабженная чётким руководством для различных пользовательских ролей [18].
Прикладная платформа, создаваемая по инициативе и под контролем государственных регуляторов, обладает «масштабом уровня отрасли и предназначена не только для объединения в одном информационном пространстве спроса и предложения на некоторые виды товаров/услуг, но и для порождения и структурирования в цифровом виде информационных потоков между различными участниками отрасли» [17].
Цифровая платформа «Умный город», как разновидность отраслевой цифровой платформы, может обеспечить «так называемую ˮгоризонтальнуюˮ интеграцию» [17] информационных систем отдельных отраслей городского хозяйства и субъектов социо-культурной деятельности. Она коммуницирует информационные системы отдельных субъектов городского управления, а также прикладные цифровые платформы, созданные для агрегаторов информационных потоков субъектов рыночной сферы городской жизни.
Центр интеллектуального обеспечения управления городом
Применительно к задачам по управлению городским организмом, структура цифровой платформы должна формироваться исходя из состава и специфики процессов, требующих управленческих усилий, а также быть адекватной сложившейся иерархии субъектов, осуществляющей эти управленческие процессы.
Институциональная структура, обеспечивающая функционирование цифровой платформы «Умный город», должна стать промежуточным звеном между потребителями городских функций (гражданами, организациями, коммерческими предприятиями, низовыми субъектами городского управления) и структурами, представляющими исполнительный и законодательный органы государственной власти. Такой промежуточный информационно-аналитический механизм, функционирующий на базе цифровой платформы «Умный город», может стать Центром интеллектуального обеспечения городского управления (ЦИОГУ), а именно тем самым «Мозгом города», позволяющим принимать наиболее эффективные, социально ответственные, стратегически обоснованные решения по управлению городским организмом.
Методической основой формирования ЦИОГУ является модель функционирования инфраструктурной цифровой платформы, заложенная в государственной программе «Цифровая экономика Российской Федерации», дополненная элементами, составляющими содержание ряда специализированных прикладных цифровых платформ. Исходя из этой методики, в рамках ЦИОГУ, необходимо обеспечить интеллектуальные взаимодействие следующих функциональных элементов:
- оператор инфраструктурной цифровой платформы, обеспечивающей функционирование экосистемы информационной базы «Умный город», целостность и стабильность взаимодействия ее элементов в рамках институции «Центр интеллектуального обеспечения городского управления»;
- операторы отраслевых цифровых платформ, соответствующих основным функциональным системам города;
- операторы прикладных цифровых платформ, обеспечивающие реализацию управленческого алгоритма «Умный город»;
- поставщики первичный информации о функционировании основных городских систем и их элементов;
- разработчики сопутствующих инструментальных цифровых платформ;
- разработчики специализированных ИТ-сервисов, обеспечивающие процесс потребления прикладных решений;
- заказчик и основной бенефициар информационной системы;
- внешние потребители информационных услуг и клиенты специализированных ИТ-сервисов.
Основу функционирования ЦИОГУ составляет цифровая платформа «Умный город», представляющая собой интегрированный комплекс, состоящий из инфраструктурной и ряда отраслевых цифровых платформ.
Экосистема инфраструктурной цифровой платформы включает в себя технологические элементы, обеспечивающие осуществление следующих функций:
- Реализация алгоритма управленческих функций в формате «умный город»:
- сбор данных и организация мониторинга;
- анализ и позиционирование информации;
- научная интерпретация и актуализация;
- форматирование информации и пополнение хранилища данных;
- моделирование процессов и прогнозирование;
- выработка рекомендаций и программ.
- Поддержка комплекса инструментальных цифровых платформ и ИТ-сервисов на базе этих платформ для решения профильных отраслевых задач. Поддержка средств разработки, отладки и интеграции ИТ-сервисов с платформой и между собой.
- Обеспечение функционирования и отладки, интеграции прикладных и отраслевых (функциональных) цифровых платформ между собой и элементами инфраструктурной платформы.
Отраслевые (функциональные) цифровые платформы создаются по признаку функциональной специализации в рамках набора базовых функций города. Они призваны создавать и структурировать в цифровом виде информационные потоки, рожденные в результате функционирования основных элементов городских систем. Основной задачей таких платформ является построение объективной и актуальной картины состояния отрасли (городской подсистемы) и качество управления ею.
Отраслевая (функциональная) цифровая платформа, в рамках информационной системы «Умный город», обеспечивает алгоритм обмена информации с участниками платформы на базе правил, определенных отраслевым регулятором, а также на основе эталонной модели данных, созданной на базе информационной платформы «Умный город».
Через специализированные ИТ-сервисы, отраслевая функциональная цифровая платформа интегрирует участников соответствующего сегмента городской жизни, использующих соответствующую информацию для развития бизнес-процессов.
Содержание и характер алгоритмов функционирования цифровой платформы «Умный город» определяется исходя из представлений о городе как о сложной системе, состоящей из подсистем и элементов, имеющих различную природу. Здесь взаимодействуют факторы социального, экономического, культурного, территориально-пространственного, технологического происхождения. Взаимодействие этих факторов часто бывает более существенным, чем внутреннее содержание любого из них в отдельности.
Важнейший задачей цифровой платформы «Умный город» является устранение барьеров между дисциплинами и отраслями знаний, выявление факторов и взаимосвязей, определяющих поведение и состояние сложной системы городского организма.
Город как сложная система
Методика интерпретации городского организма как сложной системы, в рамках теории системного анализа, была выработана в 70-х гг. прошлого века. Наиболее существенно продвинулись в этом направлении специалисты из США (К. Бранч, Дж. Форрестер, Ч. Дженкс, Ц. Хеккер и др.). Это объясняется тем, что именно в США в то время наблюдались наиболее динамичные и трудноуправляемые урбанизационные процессы, требующие осмысления и скорейшей выработки стратегии оптимизации развития крупных городов.
Значительный вклад в развитие теории системного описания городов внесли отечественные специалисты (Бочаров Ю.П., Егоров А.И., Гутнов А.Э, Кочетков А.В., Листенгурт Ф.М., Литовка О.П., Перцик Е.Н., Фомин Г.Н., Яргина З.Н. и др.). Наша наука тех лет активно вырабатывала подходы к определению состава и структуры градостроительных элементов, а также взаимовлиянию социально- функциональной и планировочной составляющей городских систем. Значительное развитие получила методика программно-целевого подхода, опирающаяся на методы научно-технического прогнозирования.
Выработанные в те же годы методики анализа городских систем и воздействия на процессы жизнедеятельности и развития крупных и крупнейших городов могут послужить основой формирования новейших подходов к управлению этими объектами.
Дж. Р. Форестером были сформулированы главные свойства городских организмов как сложных систем, которые необходимо учитывать при проектировании их перспективных состояний и определении направлений управленческих усилий для оптимизации их жизнедеятельности:
- контринтуитивность – поведение, противоречащее нашей интуиции;
- нечувствительность к изменениям многих параметров;
- резистентость к административным усилиям, т. е. нечувствительность к трансформациям, которые навязываются системе непродуманными мероприятиями и решениями;
- проблемность определения точек влияния, являющихся источниками, способными изменить баланс в системе;
- способность к нейтрализации корректирующих программ через компенсацию прикладываемых извне усилий, путем снижения темпа соответствующего действия, генерируемого внутри системы;
- противоположность долгосрочных и краткосрочных реакций. Отдаленная (долгосрочная) реакция на какое-либо административное нововведение оказывается прямо противоположной немедленной (краткосрочной) реакции;
- наличие устойчивых тенденций к снижению качества параметров системы [19].
Эти свойства определяют характер усилий, которые требуется осуществить в направлении поисков эффективных управленческих решений в сферах развития базовых городских функций.
Применительно к задаче поиска эффективного алгоритма городского управления, структура планируемой информационной системы является основным инструментом формирования оптимальных управленческих решений. Природа этих задач определяет главные качества информационной продукции, которую генерирует система интеллектуального управления городом:
- достоверность информации;
- адекватность целеполагания;
- эффективность решений.
Для того чтобы обеспечить реализацию этих качеств, при формировании информационной системы «Умный город» необходимо создать соответствующие методические механизмы, определяющие функциональную структуру и характер взаимодействия основных ее элементов. Такие механизмы создаются на основе внедрения следующих методических императивов:
- обеспечение реализации интеллектуального алгоритма переработки информации;
- создание актуального и адекватного поставленным задачам системного описания городского организма;
- создание устойчивых обратных связей, обеспечивающих цикличность процессов и обеспечение динамичного освоения информации на основе имитационного моделирования.
Алгоритм интеллектуального управления
Цифровая платформа «Умный город» призвана решить задачу создания адекватной архитектуры информационной системы, пригодной для построения и поддержания в активном состоянии моделей, отражающих реальную структуру города.
Целостное, системное отображение реальной структуры городского организма, в ее динамике, является важнейшей задачей при осуществлении моделирования городских процессов.
Отображение и фиксация развития и динамики процессов, происходящих в городском организме, является нелегкой задачей. Изменениям подвержены не только параметры элементов и процессов, характеризующие различные функциональные системы города, но и характер взаимодействия, взаимовлияния таких элементов и систем.
Собрать, отследить, интерпретировать эти изменения, адекватно включить их в основной массив данных и сделать пригодными для использования в разработке перспективных рекомендаций и программ – вот задача алгоритма интеллектуального управления в формате «Умный город».
Согласно предложенной гипотезе о городе как о сложной системе, подобной живому организму, алгоритм интеллектуального управления его функциями строится в соответствии со структурой понятия «ум», принятой в науках о человеке.
Как отмечалось выше, содержание этого понятия раскрывается в логической цепочке интеллектуальных действий, составляющей последовательность фаз мышления: познание – понимание – восприятие – запоминание – обобщение – оценка.
Применительно к задачам городского управления, междисциплинарный перенос понятийного аппарата определяет содержание фаз управленческого процесса, составляющих основу управленческого алгоритма «Умный город» (см. таблицу).
Интерпретация понятий применительно к алгоритму управления базовыми функциями города
Фаза мышления | Фаза управленческого процесса |
Познание | Сбор данных о фактическом состоянии системы и ее элементов, истории формирования, проведенных мероприятиях, неудачах, достижениях. Организация мониторинга состояния |
Понимание | Определение качества полученной информации, ее соответствие задачам и функциям. Сортировка и отбор достоверных фактов, характеристик и тенденций |
Восприятие | Научное позиционирование информационных массивов. Рассмотрение информации с различных углов зрения, определение и констатация содержательной части |
Запоминание | Форматирование информации. Создание и пополнение банка данных |
Обобщение | Моделирование системы по различным основаниям. Прогнозирование. Постановка перспективных задач |
Оценка | Анализ и сравнение вариантов развития и взаимодействия с другими системами. Разработка сценариев и рекомендаций по развитию |
Для реализации этих функций инфраструктурная цифровая платформа интегрирует особый ряд прикладных цифровых платформ, сформированных в соответствии с задачами, которые решаются на пути реализации алгоритма интеллектуального управления «Умный город». Как было отмечено выше, таких задач шесть:
- Сбор исходных данных и организация мониторинга. Эту задачу решает прикладная цифровая платформа (ПЦП) «Мониторинг», которая обеспечивает поглощение множества информационных потоков от субъектов социально-экономических процессов, от специально созданных источников, а также взаимодействие с соответствующими ИТ-сервисами и их пользователями в рамках одной информационной среды.
Главная задача ПЦП «Мониторинг» – обеспечение всеобъемлющего и бесперебойного информационного потока, в соответствии с установленными алгоритмами, количественный и качественный рост и поддержка поставщиков информации.
- Задачу анализа и позиционирования полученной информации решает ПЦП «Аналитика». Здесь осуществляется сортировка и структуризация информационных потоков, проверка качества информации ее достоверности и предотвращение дублирования. Производится оценка источников и вырабатываются рекомендации для ПЦП «Мониторинг» для повышения качества информационного потока.
- Задачу осмысления полученной информации, выявления в ней актуального и значимого содержания выполняет ПЦП «Актуализация». Здесь информационные потоки обрабатываются и преобразуются на основе их рассмотрения с различных углов зрения, и формируются новые данные, интерпретированные по заданным основаниям, на основе новейших научных данных.
Данная платформа обеспечивает также кооперацию с научными центрами и университетами для создания и внедрения новых методов исследования и проектирования градостроительных систем.
Задачей ПЦП «Актуализация» является генерация двух информационных потоков:
- формально статистического, включающего в себя достоверные данные о параметрах и формализованные характеристики функциональных систем города;
- научно адаптированного, включающего в себя интерпретированные по различным основаниям данные, предназначенные для развития методик исследования и моделирования процессов.
- Задачу форматирования и адаптации данных в интересах различных пользователей решает ПЦП «Хранилище данных». Эта платформа является местом складирования собираемых в системе данных и информационным источником для решения задач анализа данных и принятия решений. Хранилище управляет данными, которые были получены как из операционных систем платформы «Умный город», так и собранными из внешних источников данных и из тех, которые длительный период времени хранятся в системе.
Хранилище данных обеспечивает коммуникации со всеми заинтересованными пользователями как внутри информационной системы «Умный город», так и с внешними субъектами экономической, управленческой, научной деятельности городского сообщества.
- Обобщение полученной информации, ее трансформация в соответствии со стоящими и перспективными задачами производит ПЦП «Интеграция». Эта платформа осуществляет две взаимосвязанные процедуры, определяющие главную интеллектуальную составляющую алгоритма «Умный город» – анализ актуальных целевых установок, принятых городским сообществом, и формирование нового качества информации о городских системах, адекватной актуальной ситуации и отвечающей новейшим задачам, стоящим перед институциями городского управления.
Основными функциями этой платформы являются: обновление задач, моделирование городских процессов и прогнозирование. Соответственно функционал ПЦП «Интеграция» включает в себя:
- формализацию актуальных целей и задач, продиктованных объективными факторами, а также политико-экономическим вектором органов власти;
- формирование новых вводных для моделирования городских процессов;
- разработку моделей и обеспечение процесса моделирования городских систем;
- моделирование синергии межсистемного взаимодействия;
- обобщение полученных материалов, пополнение закономерностей развития, выработку актуальных альтернатив развития;
- прогнозирование перспективных ситуаций развития городских систем.
- Основной задачей функционирования ПЦП «Активация» является взаимодействие с исполнительными органами государственной власти (ИОГВ) города в сферах информационного, методического и квалификационного обеспечения деятельности по управлению городским организмом, разработка рекомендаций по развитию городских систем и объектов, программ и алгоритмов действия в рамках прогнозируемых сценариев развития.
Смысловое наполнение деятельности ПЦП «Активация» составляют следующие функции:
- обеспечение взаимодействия с исполнительными органами государственной власти города, создание устойчивых обратных связей, формирование актуальных целевых установок;
- поддержка устойчивых коммуникаций с производными и сопутствующими институциями (генеральный план, стратегия городского развития, отраслевые программы, бюджет города и др.);
- адаптация текущей информации и информационная поддержка исполнительных органов государственной власти города;
- разработка и оценка вариантов действий, сценариев решения проблем, оценка и оптимизация планируемых инициатив;
- поддержка функционирования интерфейса для взаимодействия с ИОГВ.
Последовательное преобразование информационного потока, осуществляемого через взаимодействие прикладных платформ: «мониторинг» – «аналитика» – «актуализация» – «хранилище данных» – «интеграция» – «активация», является методической основой реализации интеллектуального алгоритма «Умный город».
Рис. 2. Структура информационной базы «Умный город»: ПЦП – Прикладная цифровая платформа ФЦП – Функциональная цифровая платформа
Об авторах
Владимир Николаевич Жуйков
ООО «Перспектива»
Автор, ответственный за переписку.
Email: jv139@yandex.ru
кандидат архитектуры, генеральный директор
Россия, г. Сестрорецк, Ермоловский проспект, 2/14Список литературы
- Паспорт ведомственного проекта цифровизации городского хозяйства «Умный город». Утвержден приказом Министерства строительства и жилищно-коммунального хозяйства Российской Федерации от 31 октября 2018 г. №695/пр.
- Концепция проекта цифровизации городского хозяйства «Умный город». Утверждена приказом Министерства строительства и жилищно-коммунального хозяйства Российской Федерации от 25 декабря 2020 г. №866/пр.
- Холис Л. Города вам в пользу: Гений мегаполиса: пер. с англ. М.:Strelka Press, 2015. 432 c.
- Рем Колхас. Мои мысли об умном городе.: digital-minds-new-europe.html
- Ден Хилл. Очерк: Об умном городе; Или вместо этого манифест для умных граждан. @cityofsound
- Малая медицинская энциклопедия. М.: Медицинская энциклопедия, 1991 –1996.
- Черниговская Т.В. Человеческое в человеке: Сознание и нейронная сеть // Проблема сознания в философии и науке. М., 2008.
- Словарь русского языка: в 4 т./ РАН, Институт лингвистический исследований; под. ред. А.П. Евгеньевой. 4-е изд. М.: Рус.яз.; Полиграфресурсы, 1999.
- Толковый словарь русского языка / под ред. Д.Н. Ушакова. М., 1935–1940.
- Локтионов М.В. А.А. Богданов как основоположник общей теории систем // Философия науки и техники. 2016. Т.21. №2. С. 80–96.
- Степин В.С. Синергетика: перспективы, проблемы, трудности: материалы круглого стола [Электронный ресурс] // Синергетика. Официальный сайт С.П. Курдюмова. М., 2002. Режим доступа: http://spkurdyumov.narod.ru/KrStolSyner.htm.
- Распоряжение Правительства Российской Федерации от 28 июля 2017 г. №1632-р «Об утверждении программы «Цифровая экономика Российской Федерации».
- План мероприятий по направлению «Нормативное регулирование» программы «Цифровая экономика Российской Федерации».
- План мероприятий по направлению «Формирование исследовательских компетенций и технологических заделов» программы «Цифровая экономика Российской Федерации».
- План мероприятий по направлению «Информационная инфраструктура» программы «Цифровая экономика Российской Федерации».
- План мероприятий по направлению «Информационная безопасность» программы «Цифровая экономика Российской Федерации».
- Гретченко А.А. Типы цифровых платформ и их содержание // Россия: тенденции и перспективы развития. 2020. №15-1.URL: https://cyberleninka.ru/article/n/tipytsifrovyh-platform-i-ih-soderzhanie (дата обращения: 07.12.2021).
- Стырин Е.М., Дмитриева Н.Е., Синятулина Л.Х. Государственные цифровые платформы: от концепта к реализации // Вопросы государственного и муниципального управления. 2019. №4 URL: https://cyberleninka.ru/article/n/gosudarstvennye-tsifrovye-platformy-ot-kontsepta-k-realizatzii (дата обращения: 22.12.2021).
- Форестер Дж. Динамика развития города: пер. с англ. М.: изд-во «Прогресс», 1974.
Дополнительные файлы





