Research of the method based on the influence of sound waves on the metal-mesh for measuring the tension force of the metal-mesh on large-sized reflectors
- Authors: Gracheva E.A.1,2, Sin’kovskiy F.K.1,2, Snytko D.V.1, Zamyatin D.A.1,2
-
Affiliations:
- JSC Academician M. F. Reshetnev “Information Satellite Systems”
- Reshetnev Siberian State University of Science and Technology
- Issue: Vol 23, No 1 (2022)
- Pages: 64-72
- Section: Section 2. Aviation and Space Technology
- Published: 25.03.2022
- URL: https://journals.eco-vector.com/2712-8970/article/view/539872
- DOI: https://doi.org/10.31772/2712-8970-2022-23-1-64-72
- ID: 539872
Cite item
Full Text
Abstract
The article provides an overview of current methods for measuring and controlling the tension force of the material of the spacecraft metal-mesh reflectors. The purpose of the research: to obtain the most accurate results of measuring the mesh tension. Based on the review, a comparative analysis of the advantages and disadvantages of each of the considered methods was carried out, when measuring the tension force on mesh for large-sized transformable spacecraft reflectors. In the article considered the methods of force measurement: photo method, the operation principle of which consists in the sequential photographing of a mesh on reflector frame certain zones; a method based on pattern recognition, similar to the photo method, but using an information and measurement system with a given information processing algorithm; a method based on local membrane deformation, related to the contact type, in which the mesh tension measurement is defined as a reaction from the impact of physical force on the mesh surface; a method based on the influence of sound waves impact, which is based on the influence of sound waves impact on the mesh surface. The experimental part of the research described in the article includes the measurement of the mesh tension by the resonance method, as the most optimal method according to the analysis. The prospects of possible use of the resonance method in the aerospace industry of radio-reflecting surfaces of spacecraft antennas are proposed and analyzed. According to the results of the conducted research, the dependence of tension force of mesh is established on the sound vibrations frequency affecting the mesh, at which resonance occurs.
Full Text
Введение
В настоящее время одной из тенденций развития спутниковых космических антенн является разработка и создание отражающей поверхности для антенн с диаметрами апертуры от четырех до нескольких десятков метров [1; 2].
Для создания такой отражающей поверхности используется текстильное металлическое сетеполотно различных марок материала и видов переплетения проволоки.
Необходимые геометрические параметры профиля поверхности рефлектора антенны зависят, в том числе, и от величины и равномерности натяжения сетеполотна по всему диаметру апертуры рефлектора в рабочем положении [3–5].
Также величина натяжения металлического сетеполотна оказывает существенное влияние на отражающие характеристики антенны и равномерность раскрытия антенны в космической среде [6–8].
В данной статье рассматриваются применяемые на практике контактные и бесконтактные методы для измерения величины натяжения сетеполотна крупногабаритных трансформируемых рефлекторов антенн.
Фотометод
Фотометод относится к бесконтактным методам и является наиболее простым в реализации. Принцип работы этого метода заключается в последовательном фотографировании определенных зон натянутого сетеполотна на каркас рефлектора. Количество зон определяется диаметром рефлектора. В месте каждой зоны накладывается рамка площадью 25´25 мм, после чего производится фотографирование рамки. Далее при помощи программы для компьютерной обработки изображения увеличивают масштаб фотографии и пересчитывают количество ячеек по длине и ширине (рис. 1), после чего сравнивают полученный результат с заранее затарированными значениями на образце сетеполотна [9; 10].
Рис. 1. Определение количества ячеек на сетеполотне фотометодом
- (Этот метод не является автоматизированным, поэтому вероятная оценка натяжения сетеполотна является грубой вследствие влияния человеческого фактора при подсчете количества ячеек, кроме того данный метод является трудоемким.)
Fig. 1. Determination of the number of mesh cells by the photo method
- (This method is not automated, therefore, the probable estimate of the tension of the mesh is rough due to the influence of the human factor when calculating the number of cells, in addition, this method is time-consuming).
Метод на основе распознавания образов
Устранить недостатки фотометода позволяет метод на основе распознавания образов [11]. Принцип действия этого метода аналогичен фотометоду, но для автоматизации процесса была создана информационно-измерительная система с заданным алгоритмом обработки информации [12]. В основу алгоритма работы этой системы положено специализированное программное обеспечение по анализу фотоснимков и автоматизированному подсчету количества ячеек. Несмотря на такие достоинства, как простота в реализации и скорость обработки результатов у метода распознавания образов имеются несколько существенных недостатков.
Во-первых, этот метод не дает полноценной оценки во время контроля усилия натяжения сетеполотна на рефлекторе, так как метод не показывает фактического численного значения силы, с которой натянуто сетеполотно, что сильно затрудняет калибровку усилия натяжения сетеполотна при монтаже сетеполотна на рефлектор и обеспечение при этом заданного усилия натяжения.
Рис. 2. Зависимость относительного удлинения поверхности сетеполотна от усилия натяжения
Fig. 2. Dependence of the relative elongation of the mesh surface on the tension force
Во-вторых, при достижении сетеполотном в момент растягивания некоторого усилия натяжения (разного для каждой марки сетеполотна), линейные размеры его ячейки перестают изменяться (рис. 2), и, соответственно, невозможно установить величину усилия натяжения сетеполотна в «перетянутом» состоянии. Это сказывается на прочности сетеполотна в рабочем положении рефлектора и неравномерности радиоотражающей поверхности из-за зональных напряжений в локальных зонах.
Метод на основе локального деформирования мембраны
Данный метод относится к контактному типу, при которых измерение натяжения сетеполотна определяется как реакция от воздействия физической силой на поверхность сетеполотна.
На сегодняшний день среди таких способов измерения известен и применяется на практике метод, основанный на локальном деформировании мембраны (сетеполотна) [13–15].
Сетеполотно как элемент конструкции спутниковой антенны практически не имеет изгибной жесткости и может считаться мембраной.
Рис. 3. Приспособление для определения натяжения сетеполотна методом локальной деформации мембраны: 1 – мембрана; 2 – площадка, по которой распределена нагрузка; 3 – защемляющие кольца; 4 – внешняя граница мембраны
Fig. 3. Device for determining the tension of the mesh by the method of local deformation of the membrane: 1 – the membrane; 2 – the platform on which the load is distributed; 3 – the clamping rings; 4 – the outer boundary of the membrane
Способ состоит в том, что мембрану защемляют двумя кольцами, расположенными по разные стороны поверхности мембраны, и прикладывают поперечную нагрузку, распределенную по площади круга, центр которого совпадает с центрами защемляющих колец (рис. 3), измеряют величину максимального прогиба мембраны и определяют равномерное натяжение мембраны по формуле
(1)
(2)
(3)
где σ – величина равномерного натяжения мембраны, Н/м; Р – величина поперечной нагрузки, Н; Н – величина максимального прогиба мембраны, м; b – внутренний радиус защемляющих колец, м; d – радиус круговой площадки, по которой распределена нагрузка, м; r – переменная интегрирования, имеющая смысл радиальной координаты, м.
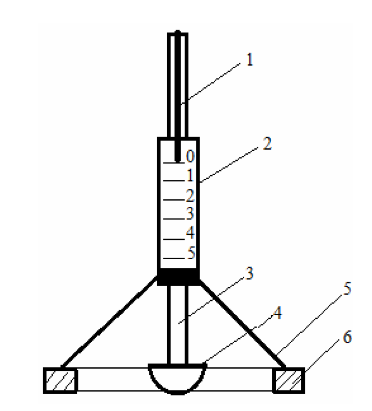
Рис. 4. Приспособление для контроля усилия натяжения сетеполотна: 1 – стрелка; 2 – шкала; 3 – стержень; 4 – наконечник; 5 – спицы; 6 – опорное кольцо
Fig. 4. Device for controlling the tension force of the mesh: 1 – needle; 2 – scale; 3 – rod; 4 – tip; 5 – spokes; 6 – support ring
Этот метод лег в основу разработанного приспособления для контроля равномерности усилия натяжения сетеполотна, схематично изображенного на рис. 4.
Приспособление состоит из опорного кольца (6), жестко закрепленного спицами (5) на цилиндрический трубке со шкалой измерения (2), по которой свободно перемещается стержень (3), на одном конце которого закреплен утяжеленный наконечник (4), а на другом конце закреплена стрелка (1), перемещающаяся по шкале.
Несмотря на свою простоту и практичность, данное приспособление может использоваться только на плоской поверхности и не годится для контроля равномерности натяжения на рефлекторах, имеющих криволинейную поверхность. Также метод с использованием этого приспособления является оценочным, так как не показывает фактической измеренной величины усилия натяжения. Для определения фактических величин необходим пересчет, что в свою очередь очень трудоемко.
В связи с рассмотренными выше недостатками приведенных методов, ни один из них полностью не удовлетворяет требованиям, предъявляемым при измерении и контроле усилия натяжения на сетеполотне.
Метод, основанный на влиянии воздействия звуковых волн
Принимая во внимание недостатки вышеприведенных методов измерения натяжения сетеполотна, предложим новый метод, в основу которого положено влияние воздействия звуковых волн на поверхность сетеполотна.
Будем исходить из предположения, что сетеполотно – это ограниченная с четырех сторон мембрана. Тогда, как и любая иная мембрана, сетеполотно должно иметь собственную частоту свободных колебаний. Это, в свою очередь, означает, что если воздействовать на сетеполотно звуковыми волнами разной частоты, то в какой-то момент частота волны от внешнего источника совпадет с собственной частотой свободных колебаний сетеполотна, что приведет к возникновению резонанса.
Так, в зависимости от силы натяжения сетеполотна будет меняться и собственная частота свободных колебаний, что также будет изменять и резонансные пики, возникающие при совпадении с частотой звуковых волн от внешнего источника. Момент возникновения резонансных пиков будет возможно измерить с помощью датчиков.
Для подтверждения этих тезисов проведены испытания на исследование влияния усилия натяжения сетеполотна на частоту звуковых колебаний, при которых возникают резонансные пики.
Рис. 5. Сетеполотно с равномерной распределенной нагрузкой: 1 – сетеполотно; 2 – жесткое крепление; 3 – грузы
Fig. 5. Mesh with evenly distributed load: 1 – mesh; 2 – rigid fastening; 3 – loads
В исследовании было использовано сетеполотно 1 (рис. 5) размером 17´17 см, жестко закреплённое на каркасе с двух перпендикулярных сторон 2. На две другие стороны равномерно подвешивались грузы 3, создавая равномерную растягивающую нагрузку на сетеполотно.
Усилие натяжения сетеполотна, возникающее под действием нагрузки, рассчитывалось по формуле
4)
где σ – усилие натяжения сетеполотна, г/см; – суммарная масса грузов на сторону, г; l – длина (ширина) сетеполотна, см.
На рис. 6 показана схема расположения оборудования для проведения испытаний
В середине сетеполотна 1 закреплялся магнит 2, над которым на расстоянии приблизительно равным 5 мм располагался микрофон 3, состоящий из катушки и постоянного магнита. Микрофон подключался к мультиметру 4. Под сетеполотном устанавливался усилитель звука 5, который подключался к генератору звуковых частот 6.
Рис. 6. Схема расположения оборудования для проведения испытаний: 1 – сетеполотно; 2 – магнит; 3 – микрофон; 4 – мультиметр; 5 – усилитель звука; 6 – генератор звуковых частот
Fig. 6. Layout of test equipment: 1 – networked; 2 – magnet; 3 – microphone; 4 – multimeter; 5 – sound amplifier; 6 – sound frequency generator
Под воздействием звуковых волн от усилителя звука сетеполотно начинало совершать колебательные перемещения, что приводило к возникновению переменного магнитного поля на магните, закрепленном на сетеполотне. При этом, под воздействием переменного магнитного поля, на катушке микрофона возникала ЭДС. Величина ЭДС выводилась на мультиметр в милливольтах.
Регулированием частоты звука на генераторе звуковых частот была определена резонансная частота в момент, когда показания ЭДС на мультиметре были максимальны.
Таким образом, было проведено 12 измерений. Для каждого измерения увеличивали нагрузку на каждую сторону сетеполотна путем подвешивания дополнительных грузов. После каждого нагружения сетеполотна снимались максимальные показания с мультиметра и фиксировалась частота, при которой возникал резонанс.
Результаты зависимости резонансной частоты звука от усилия натяжения сетеполотна приведены в таблице.
Результаты зависимости резонансной частоты звука от усилия натяжения сетеполотна
№ измерения | Суммарная масса грузов на сторону (м), г | Усилие натяжения на сторону (σ), г/см | Резонансная частота (μ), Гц | ЭДС(νmax), мВ |
1 | 50 | 2,9 | 83 | 0,25 |
2 | 70 | 4,1 | 84 | 0,21 |
3 | 90 | 5,3 | 85 | 0,21 |
4 | 100 | 5,9 | 85 | 0,20 |
5 | 115 | 6,8 | 86 | 0,19 |
6 | 133 | 7,8 | 87 | 0,19 |
7 | 149 | 8,8 | 90 | 0,20 |
8 | 165 | 9,7 | 92 | 0,19 |
9 | 182 | 10,7 | 104 | 0,40 |
10 | 198 | 11,7 | 107 | 0,40 |
11 | 215 | 12,6 | 110 | 0,42 |
12 | 231 | 13,6 | 115 | 0,40 |
По результатам эксперимента выявлена зависимость частоты звуковых колебаний, при которых возникает резонанс от усилия натяжения сетеполотна (рис. 7). Частота, при которой возникает резонанс, возрастает с увеличением усилия натяжения.
Рис. 7. Зависимость резонансной частоты звуковых колебаний и величины ЭДС в момент резонанса от усилия натяжения сетеполотна
- (Следует отметить существенный скачок значений ЭДС в диапазоне частот от 92 до 104 Гц при усилии натяжения от 9,7 до 10,7 г/см, что требует дальнейших исследований данного феномена.)
Fig. 7. The dependence of the resonant frequency of sound vibrations and the EMF value at the moment of resonance on the tension force of the mesh
- It should be noted a significant jump in EMF values in the frequency range from 92 to 104 Hz with a tension force from 9.7 to 10.7 g / cm, which requires further research of this phenomenon.
Заключение
По результатам проведенного исследования установлена зависимость усилия натяжения сетеполотна от частоты звуковых колебаний, воздействующих на сетеполотно, при которых возникает резонанс.
Необходимо отметить, что существенным недостатком данного метода является невозможность его применения непосредственно на рефлекторе по причине нетехнологичности.
Однако этот метод возможно применять на стадии изготовления отдельных сегментов сетеполотна после их монтажа в технологическом приспособлении с целью обеспечения рабочего натяжения сегментов сетеполотна.
About the authors
Evgeniya A. Gracheva
JSC Academician M. F. Reshetnev “Information Satellite Systems”; Reshetnev Siberian State University of Science and Technology
Author for correspondence.
Email: grachevaea@iss-reshetnev.ru
Engineer
Russian Federation, 52, Lenin St., Zheleznogorsk, Krasnoyarsk region, 662972; 31, Krasnoyarskii rabochii prospekt, Krasnoyarsk, 660037Fedor K. Sin’kovskiy
JSC Academician M. F. Reshetnev “Information Satellite Systems”; Reshetnev Siberian State University of Science and Technology
Email: sfk@iss-reshetnev.ru
Deputy Director-Chief Designer of the industry center for large-size transformable mechanical systems
Russian Federation, 52, Lenin St., Zheleznogorsk, Krasnoyarsk region, 662972; 31, Krasnoyarskii rabochii prospekt, Krasnoyarsk, 660037Denis V. Snytko
JSC Academician M. F. Reshetnev “Information Satellite Systems”
Email: densn@iss-reshetnev.ru
Head of the Sector of the Department of Materials Science
Russian Federation, 52, Lenin St., Zheleznogorsk, Krasnoyarsk region, 662972Denis A. Zamyatin
JSC Academician M. F. Reshetnev “Information Satellite Systems”; Reshetnev Siberian State University of Science and Technology
Email: zamyatin.denis2011@yandex.ru
Design Engineer
Russian Federation, 52, Lenin St., Zheleznogorsk, Krasnoyarsk region, 662972; 31, Krasnoyarskii rabochii prospekt, Krasnoyarsk, 660037References
- Klishev O. P., Halimanovich V. I. [Analysis of elastic deformations of the spacecraft on the distortion of the shape of the reflecting surfaces of large-sized structural elements]. Vestnik SibGU. 2008, No. 1 (18), P. 115–118 (In Russ.).
- Halimanovich V. I., Kudryavin L. A., Belyaev O. F., Zavaruyev V. A. [The use of the nonlinear theory of elasticity and the similarity method for assessing the deformation properties of metal-mesh netting]. Bulletin of Tomsk State University. Mathematics and mechanics. 2017, No. 49, P. 105–113 (In Russ.).
- Lubrano V., Mizzoni R., Silvestrucci F., Raboso D. PIM characteristics of The Large Deployable Reflector Antenna Mesh. 4th International Workshop on Multipactor, Corona and Passive Intermodulation in Space RF Hardware, 2003 Available at: http//:www.estec.esa.nl/ conferences/03C26.
- Zhukov A. P. [Reaction of the reflecting surface of a large-sized reflector to the action of a perturbing pulse]. Bulletin of Tomsk State University. Mathematics and mechanics. 2011, No. 4 (16), P. 101–109 (In Russ.).
- The program for determining the shape of the cutting of the axisymmetric reflector. No. 2019619521 : application 31.07.2019, publ. 07.08.2019. Bukhtyak M. S., Ponomarev S. A. (In Russ.).
- Lavrushev V. N., Gilyazov I. I. Improving the accuracy when measuring the reflection coefficient of the net. Materials of the International Scientific and Technical Conference of Young scientists, postgraduates and students. Edited by Ivanov A. A. 2018 (In Russ.).
- Romanov A. G., Sedelnikov Yu. E. Measurement of the reflection coefficient of mesh materials // Bulletin of Kazan State Technical University named after A. N. Tupolev.2013, No. 1, P. 81–85 (In Russ.).
- Patent No. 2350518 C1 Russian Federation, IPC B64G 1/22, H01Q 15/16. Method of manufacturing a deployable large-sized reflector of a spacecraft. No. 2007122181/11, application 13.06.2007, publ. 27.03.2009. Testoedov N. A., Halimanovich V. I., Shipilov G. V. [et al.].
- Soifera V. A. Metody komp'yuternoy obrabotki izobrazheniy [Methods of computer image processing]. Moscow, Fizmatlit Publ., 2001, 784 p.
- Grishentsev A. Yu., Korobeynikov A. G. Metody i modeli tsifrovoy obrabotki izobrazheniy [Methods and models of digital image processing]. St. Petersburg, 2014,190 p.
- Sukharev E. N., Kolovsky Yu. V. [Method for determining the tension of the antenna grid based on pattern recognition]. Vestnik SibGU. 2006, No. 1(8), P. 96–100 (In Russ.).
- Sukharev E. N., Kolovsky Yu. V. The program of image processing of the antenna metal-mesh for determining its tension. Сertificate of official registration of the computer program No. 2005612186/ M., 2005 (In Russ.).
- Patent No. 216.012. 7AS2 method for determining the uniform tension of a membrane made of an isotropic material. Zhukov A. P., Pavlov M. S., Podshivalov S. F., Ponomarev S. V., Halimanovich V. I.
- Patent No. RU 2427948 C1 The umbellate antenna of the spacecraft. Testoedov N. A., Halimanovich V. I., Velichko A. I., Shipilov G. V., Kolesnikov A. P., Akchurin V. P.
- Zhukov A. P., Pavlov M. S., Podshivalov S. F., Ponomarev S. V., Halimanovich V. I. Indentation of the indenter into the surface of a stretched metal-mesh. Bulletin of the Tomsk State University. 2010, No. 4 (12), P. 96–101 (In Russ.).
Supplementary files










