Development of a human-machine interface for cascade control mills in obtaining nepheline ore charge
- Authors: Ivanov R.D.1, Danykina G.B.1, Piskazhova T.V.1, Kolmakova L.P.1
-
Affiliations:
- Siberian Federal University
- Issue: Vol 23, No 3 (2022)
- Pages: 542-550
- Section: Section 3. Technological Processes and Materials
- Published: 26.09.2022
- URL: https://journals.eco-vector.com/2712-8970/article/view/562826
- DOI: https://doi.org/10.31772/2712-8970-2022-23-3-542-550
- ID: 562826
Cite item
Full Text
Abstract
Aluminum and alloys based on it are the main materials for space engineering, both in the production of vehicle parts, and in the organization of power supply and electronics. The raw material for producing aluminum is alumina.
Alumina production is a multi-stage process that includes the processing of raw materials in various ways: mechanically, thermally, chemically. Mechanical processing of raw materials is the first stage of production, it includes a crushing department and a batch preparation department. The preparation of the charge from nepheline ore for further stages of production takes place in mills with the addition of limestone and recycled solution. The ratio of the components entering the mills directly affects the composition of the charge and the quality of the final product. At the same time, the required quality of the charge is not always ensured, since the costs of the components are set by a person based on the results of a rare chemical analysis performed by the laboratory with a delay.
The aim of the work is to improve the control of the mill when receiving a mixture of nepheline ore. A virtual mill control program and a mnemonic diagram were developed in the TIA Portal software environment using the S7-1500 microprocessor controller. A system for automatic control of the lime and alkaline modules of the raw charge has been developed.
The control program is built on the basis of calculating the moisture content of the charge, as well as the alkaline and limestone modules, depending on the composition of the ore, limestone, as well as the feed rates of circulating water, ore and limestone to the mill. The mnemonic diagram includes an indication of important process parameters, trends in input and output characteristics, and tools for setting control actions.
Full Text
Введение
- Глинозем (Al2O3) – это основной исходный материал, используемый в производстве первичного алюминия, который, в свою очередь, является основным материалом для космического машиностроения, как при производстве деталей аппаратов, так и в организации электроснабжения и электроники. В большинстве случаев, в качестве рудной базы при создании глинозема выступают бокситы, но также применяется нефелиновые и иные содержащие глинозем руды. Одним из самых распространенных способов производства глинозема является щелочной способ путем спекания. Суть этого способа состоит в связывании Аl2О3 в алюминат натрия путем спекания и последующего выщелачивания полученного спёка [1–7]. Такой способ производства глинозема используется на Ачинском глиноземном комбинате (АГК) – крупнейшем предприятии в области алюминиевой промышленности в России [8].
- Подготовкой сырья для спекания занимается отделение приготовления шихты. Процесс подготовки шихты нефелиновой руды является одним из важнейших этапов получения глинозема, и при совершенствовании схемы управления можно добиться значительного экономического эффекта за счет снижения затрат энергии и материалов [9; 10].
- Достичь такого эффекта можно, решив некоторые проблемы автоматизированной системы управления технологическим процессом (АСУ ТП):
- отсутствие автоматического контроля и индикации работы основного технологического оборудования (режим включения/отключения, индикация аварийного состояния);
- отсутствие вывода в АСУ ТП важных параметров оперативного контроля работы оборудования (температура подшипников, давление масла и др.);
- осуществление контроля параметров только по месту;
- отсутствие системы автоматического регулирования известкового и щелочного модулей сырьевой шихты;
- осуществление вывода на целевые показатели шихты в ручном режиме на основе результатов химического лабораторного анализа.
Описание технологического процесса
Отделение приготовления шихты предназначено для приготовления шихты из нефелиновой руды и известняка с заданными характеристиками. Состав шихты характеризуют:
- известняковый модуль – молярное отношение суммы оксида кальция к диоксиду кремния (Мизв = 1,07×(СаО/SiO2));
- щелочной модуль – молярное отношение суммы оксидов натрия и калия в пересчете на Na2O к оксиду алюминия (Мщел = 1,645×[ (Na2O + 0,659K2O) / Al2O3]);
- крупность помола, содержание фракции +0,08 мм, %;
- влажность (W), %;
- постоянство состава.
Размол нефелиновой руды и известняка с добавлением оборотного раствора производят в трубчатых шаровых мельницах.
На АГК существует четыре стадии приготовления шихты (рис. 1):
Рис. 1. Стадии приготовления шихты
Fig. 1. Stage of the mixing processes
После домольных мельниц четвертой стадии размола шихта собирается в сборную мешалку и насосами перекачивается в схемы проточного усреднения шихты в коррекционныхбассейнах.
Из схем проточного усреднения шихта перекачивается в расходные бассейны, откуда насосами подается на печи спекания. Избыток шихты по кольцевым трубопроводам возвращается в расходные бассейны.
Каскад мельниц как объект автоматизации
![]() |
Рис. 2. Каскад как объект автоматизации Fig. 2. Cascade as automation object |
На рис. 2 изображен каскад мельниц как объект автоматизации, где X(t) – вектор управляющих воздействий; F(t) и M(t) – векторы контролируемых и неконтролируемых возмущений, соответственно; Y(t) – вектор выходных параметров. Таблица содержит векторные переменные каскада мельниц.
После четвертой стадии шихта попадает в коррекционные бассейны, где путем лабораторного анализа измеряются главные выходные показатели каскада щелочной и известняковый модуль:
Мщел – щелочной модуль, 1,12±0,02 ед.;
Мизв – известняковый модуль, 2,04±0,02 ед.
Корректировка этих параметров заключается в регулировании входных показателей мельниц в каскаде (изменение расхода руды, раствора и т. д.). Это дает дополнительную сложность для автоматизированного управления, так как модули зависят не только от расхода входных показателей, но и от состава компонентов. Поэтому для достижения необходимых показателей щелочного и известнякового модуля можно иметь вариации показателя влажности в диапазоне 30–35 %.
Векторные переменные четырехстадийного каскада
Стадии | Векторные переменные | |||
Управляющие воздействия X(t) | Выходные параметры Y(t) | Контролируемые возмущения F(t) | Неконтролируемые возмущения M(t) | |
Стадия 1 | х1.1 – подача нефелиновой руды, 0–160 т/ч; х1.2 – подача оборотного раствора, 0–63 м3/ч | y1.1 – влажность шихты, 28–35 %; y1.2 – уровень шихты в шалке, 1,5–4,5 м; y1.3 – пульпа на выходе с мешалки, 0–200 т/ч |
f1 – перегрев подшипников привода и редуктора мельницы, до 75°;
f2 – перегрев подшипников цапф мельницы, до 65°;
f3 – забитие загрузочной воронки мельницы, до 3 м;
f4 – отсутствие материала в бункере руды;
f5 – засорение маслофильтра (повышение давления) | m1 – выход из строя датчиков; m2 – износ оборудования |
Стадия 2 | х2 – подача пульпы с первой стадии помола, 0–200 т/ч | y2.1 – влажность шихты, 30–35 %; y2.2 – уровень шихты в мешалке, 1,5–4,5 м; y2.3 – пульпа на выходе с мешалки, 0–125 т/ч | ||
Стадия 3 | х3.1 – подача нефелиновой пульпы, 0–125 т/ч; х3.2 – подача известняка, 0–160 т/ч; х3.3 – подача оборотного раствора, 0–63 м3/ч | y3.1 – влажность шихты, 26,5–27 %; y3.2 – уровень шихты в мешалках, 1,5–4,5 м; y3.3 – пульпа на выходе с мешалки, 0–200 т/ч | ||
Стадия 4 | х4 – подача пульпы с третьей стадии помола, 0–200 т/ч; | y4.1 – влажность шихты, 30–35 %; y4.2 – уровень шихты в мешалках, 1,5–4,5 м; y4.3 – пульпа на выходе с мешалки, 0–200 т/ч | ||
Для того чтобы отвечать требованиям процесса сразу по нескольким показателям и при этом делать это автоматически, необходимо разработать программу управления, содержащую контур автоматического регулирования химического состава шихты, и мнемосхему на основе современного программного обеспечения (ПО). Из ряда различных SCADA-систем была выбрана WinCC, так как она имеет мощный набор инструментов для любых задач в области автоматизации. Имитационные возможности ПО WinCC позволяют в реальном времени следить за изменениями технологического процесса, описанного с помощью программных и функциональных блоков, а также воздействовать на выходные переменные в ходе процесса [11; 12].
Разработка мнемосхемы для управления каскадом
Разработан проект виртуального управления, который включает несколько экранов.
Экран «Мельница 1» (рис. 3) является главным экраном управления мельницей первой стадии приготовления шихты. Верхняя часть экрана является общей панелью управления. Она включает в себя тумблеры управления мельницами, выбор режимов работы мельниц 1 и 3 стадии и задание расходов материалов на входе в мельницы и выходе из мешалок [13].
Рис. 3. Экран «Мельница 1»
Fig. 3. Screen «Mill 1»
В левой части экрана «Мельница 1» показана мельница, бункер руды, конвейер, трубопровод с раствором, мешалка и насос на выходе из мельницы. Также здесь расположены текущие показания датчиков. В нижней части расположена навигационная панель. Справа находятся тренды, на которых показаны расходы материалов текущий и заданный, а также тренд уровня пульпы в мешалке.
Имитация работы мельницы
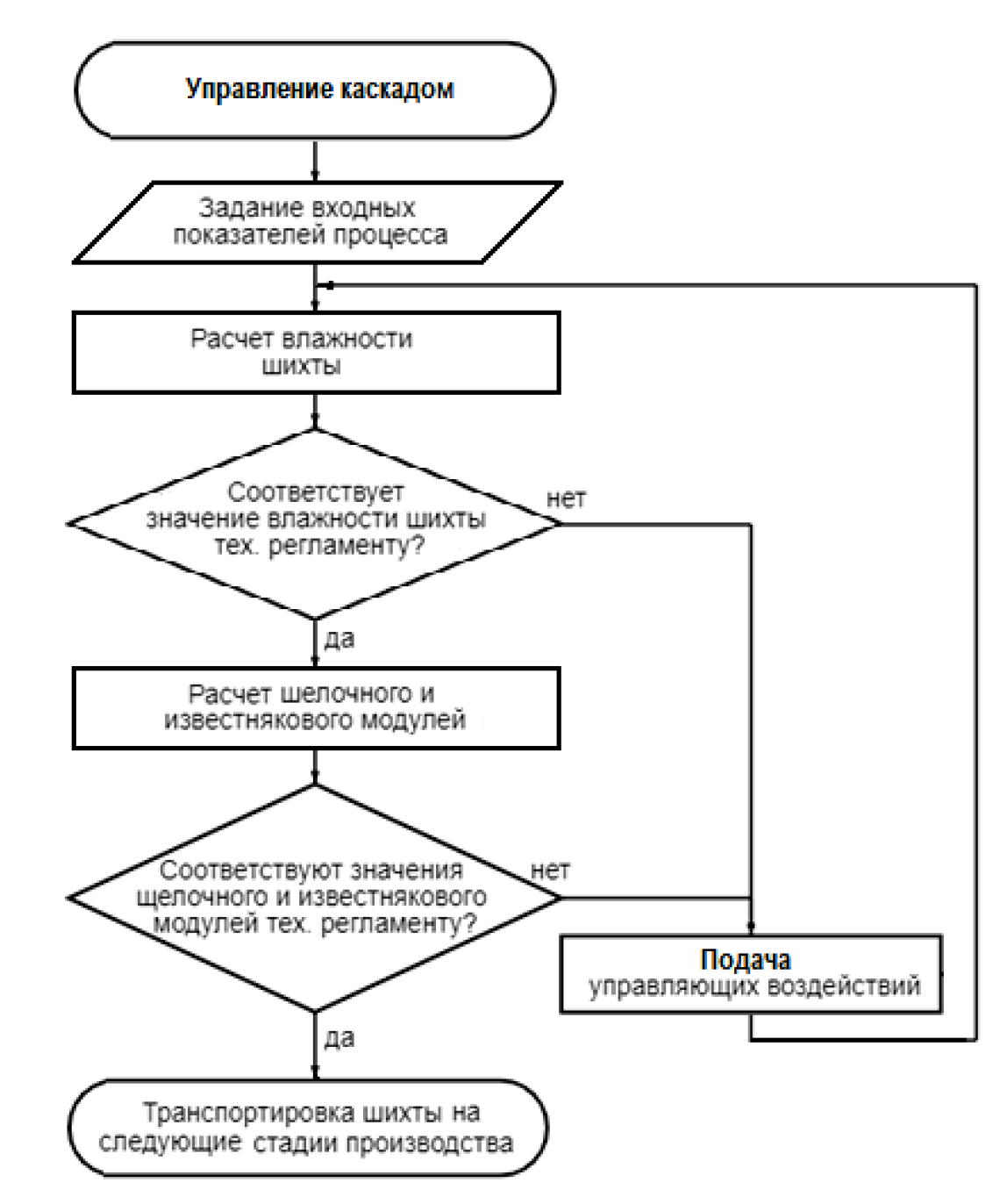
Управление каскадом мельниц осуществляется в несколько этапов, которые во время работы могут повторяться. На рис. 4 отображена очередность работы блоков программы управления. Входные показатели на блок-схеме включают в себя управляющие воздействия и состав сырья.
Имитация показаний датчиков реализована при помощи скриптов на языке VBS.
Изменение значений расхода материалов в мельницу может изменить также и влажность поступающей смеси. Чтобы показать это на мнемосхеме, был разработан скрипт. Работа скрипта заключается в том, что непрерывно происходит проверка равенства между текущей влажностью в мешалке и влажностью поступающей смеси и, если равенство нарушено, то происходит уменьшение либо увеличение значения текущей влажности до необходимого значения [14].
Рис. 4. Блок-схема управления каскадом
Fig. 4. Block-diagram of the cascade control
Автоматический режим работы мельницы предполагает, что отклонение значения текущей влажности от заданного будет приводить к изменению значений расхода материалов, поступающих в мельницу. Например, если значение текущей влажности меньше заданного, необходимо повысить расход раствора, но при этом снизить расход руды, чтобы общая производительность мельницы не изменилась. Ниже на панели трендов показан такой случай (рис. 5) [15].
Рис. 5. Панель трендов расхода
Fig. 5. Bar of the flow trends
На рис. 6 показана панель задания состава сырья и расчета модулей. Перейти к ней можно через навигационную панель – вкладка «Анализ». Для имитации работы лабораторных анализаторов была разработана программа расчета щелочного и известнякового модулей на языке FBD. Благодаря программе, можно изменить состав сырья и увидеть изменение значения модулей в реальном времени. Известняковый и щелочной модули вычисляются на основе расчетных формул согласно технологическому регламенту, описанному выше.
Рис. 6. Панель задания состава входного сырья и расчета модулей
Fig. 6. Bar for specifying the raw material composition and module calculation
Заключение
Автоматизация процесса приготовления шихты при производстве глинозема имеет некоторые проблемы, которые были описаны выше. Разработанные мнемосхема и программы в SCADA-системе WinCC позволяют частично решить эти проблемы, а именно: осуществить контроль технологических параметров, вывод их значений в АСУ ТП и индикацию работы оборудования; реализовать автоматическое управление каскадом на основе сбора данных в АСУ ТП; рассчитать выходные показатели шихты на основе данных о составе входного сырья и объема входных потоков на каскад мельниц. Последнее позволяет задавать и регулировать соотношение подачи руды, известняка и воды для обеспечения нужного качества шихты.
About the authors
Roman D. Ivanov
Siberian Federal University
Author for correspondence.
Email: aronstoun.roman@mail.ru
Master’s Degree Student
Russian Federation, 95, Krasnoyarsky Rabochy Av., Krasnoyarsk, 660025Galina B. Danykina
Siberian Federal University
Email: danykinagb-sfu@mail.ru
Cand. Sc., Associate Professor of the Department Automation of production processes in metallurgy
Russian Federation, 95, Krasnoyarsky Rabochy Av., Krasnoyarsk, 660025Tatyana V. Piskazhova
Siberian Federal University
Email: piskazhova@yandex.ru
Dr. Sc., Professor of the department Automation of production processes in metallurgy
Russian Federation, 95, Krasnoyarsky Rabochy Av., Krasnoyarsk, 660025Lyudmila P. Kolmakova
Siberian Federal University
Email: kolmakoval2010@mail.ru
Cand. Sc., Associate Professor of the Department of Non-Ferrous Metals Metallurgy
Russian Federation, 95, Krasnoyarsky Rabochy Av., Krasnoyarsk, 660025References
- Anikeev V. I. Sposob pererabotki nefelinovoy rudy s dozirovkoy boksita [Method for processing nepheline ore with bauxite dosage]. Patent RF, No. 2006112505, 2006.
- Anushenkov A. N., Shepelev I. I., Golovnyh N. V., Chudiyenko K. V. Sposob upravleniy prigotovleniem shihty pr ipererabotke nefelinovogo cyrya s polucheniem glinozema I sodoproduktov [Method for controlling the charge preparation during the processing of nepheline raw material with the production of alumina and soda products]. Patent RF, No. 2725228, 2019.
- Ogol V. G., Yagin V. P. Sposob pererabotki nefelinovoy rudy dly polucheniy glinozema I sodoproduktov [Method for processing nepheline ores for producing alumina and soda products]. Patent RF, No. 2450066, 2011.
- Shepelev I. I., Sakhachev A. Y., Anushenkov A. N., Aleksandrov A. V. Sposob pererabotki nefelinovoy rudy [Method of processing nepheline ore]. Patent RF, No. 2606821 C, 2017.
- Algebraistova N. K., Shepelev I. I., Sakhachev A. Y., Zhukov E. I., Zhizhaev A. M., Aleksandrov A. V., Sviridov L. I. Sposob pererabotki nefelinovoy rudy I koncentratov [Processing method of nepheline ores and concentrates]. Patent RF, No. 2702590 C2, 2019.
- Shepelev I. I., Algebraistova N. K., Sakhachev A. Y., Zhyzhaev A. M., Prokopiev I. V. [Grindability study of nepheline ore and ferrotitanium production slag for their processing by sintering technology]. VestnikIrGTU. 2017, Vol. 21, No. 11 (130), P. 167–178 (In Russ.).
- Kozlov A. A, Kolmakova L. P., Kovtun O. N. [Analysis of technologies of preparation of the charge for sintering of nepheline ore at RUSAL Achinsk]. EvraziskiSouzYchenyh. 2018, No. 11 (56), P. 22–22 (In Russ.).
- Achinsky Glinozemny Kombinat. RUSAL [Achinsky Alumina Plant. RUSAL] (In Russ.). Available at: https://rusal.ru/about/geography/achinskiy-glinozemnyy-kombinat/ (accessed 24.03.2022).
- Liner A. I. Proizvodstvoglinozema [Alumina production]. Moscow, Metallurgizdat Publ., 1961, 619 p.
- Pivnev A. I. Razrabotka I vnedreniye novoy tekhnologii prigotovleniya glinozemsoderzhashchey shikhty pri kompleksnoy pererabotke nefelinov. Kand. Dis. [Development and introduction of a new technology for the preparation of alumina-containing charge. Cand. Dis.]. Krasnoyarsk, KICM Publ., 1994.
- Programmnoye obespecheniye konfigurirovaniya SIMATIC WinCC (TIA Portal): catalog Industry Mall [Software for configuration of the SIMATIC WinCC (TIA Portal): catalogueIndustry Mall]. (In Russ.). Available at: https://mall.industry.siemens.com/mall/ru/RU/catalog/products/ 10090965 (accessed 24.03.2022).
- Piskazhova T. V., Sidelnikov S. B., Belolipetskii V. M., Yakivyuk P. N., Sidelnikov A. S. [Virtual CC&RP – a mathematical model for the control of the unit CC&RP and its visualization by means software products WinCC 7.0 and Step 7]. Vestnik SibGAU. 2015, No. 2(54), P. 140–144 (In Russ.).
- Sverchkov D. [Human-machine interface development and application in control systems]. Transactfons of the Kryfov State Research Centre. 2018, No. 1, P. 184–190 (In Russ.).
- Rukovodstvo po programmirovaniyu kontrollerov S7-1200/S7-1500: bazovoye sistemnoye rukovodstvo [Guide to programming controllers S7-1200/S7-1500: base system guide]. Available at: https://assets.new.siemens.com/siemens/assets/api/uuid:6f74436a53942bf8f1c7b6ed34d2ae72e92ed8a8/programming-guideline-v14-rus.pdf (accessed 02.05.2022).
- Kayukov I. Yu. [Creation process trends in the WINCC development environment]. Mezhdunarodny studencheskiy nauchny vestnik. 2021, No. 6, P. 44–50 (In Russ.).
Supplementary files









