The capacity of burners for combustion chambers with reduced nitrogen oxide content in combustion products of the NK-16ST gas turbine engine
- Authors: Baklanov A.V.1
-
Affiliations:
- JSC “Kazan Engine Production Association”
- Issue: Vol 26, No 3 (2025)
- Pages: 352-367
- Section: Section 2. Aviation and Space Technology
- Published: 30.09.2025
- URL: https://journals.eco-vector.com/2712-8970/article/view/692490
- DOI: https://doi.org/10.31772/2712-8970-2025-26-3-352-367
- ID: 692490
Cite item
Abstract
The article presents the designs of several variants of combustion chambers for the NK-16ST engine. The combustion chamber designs are made within the framework of known concepts of low-emission fuel combustion to reduce nitrogen oxide emissions.
A serial combustion chamber with a stepped air supply along the length of the flame tube is considered. A combustion chamber with a reduced volume of the flame tube and a two-zone combustion chamber, as well as a combustion chamber with preliminary preparation of the fuel-air mixture in the burner device are considered.
The features of burner devices of these combustion chambers are considered. For a serial combustion chamber, the burner device contains a nozzle, a swirler and a diffuser nozzle attachment. For a shortened combustion chamber, a confuser nozzle attachment is used. A two-zone combustion chamber contains two types of burner devices: diffusion for the duty zone and with preliminary mixing for the main zone. The combustion chamber with preliminary preparation of the fuel-air mixture contains a dual-circuit burner device with hollow blades and a central nozzle, which allows for regulation of fuel consumption along the circuits to ensure the required level of toxic emissions in the corresponding engine operating modes.
The paper also provides a description of the bench equipment for purging burner devices, on which tests were conducted to determine their flow characteristics. The parameter of throughput, which is determined for each burner device, is derived.
A description is given of the test bench equipment for purging combustion chambers, on which tests were carried out to determine pressure losses on the walls of combustion chamber fire tubes and total pressure losses in the combustion chamber under various inlet conditions for air velocity.
A calculation and experimental method for determining the excess air coefficient at the outlet of the burner devices is presented. It is determined that in the combustion chambers under consideration, there is a tendency for the fuel-air mixture to become leaner at the outlet of the burner device. This ensures a reduction in nitrogen oxide emissions. Regulation of fuel consumption in the corresponding combustion chamber zones allows for an optimal level of emissions in various engine operating modes.
Full Text
Introduction
Currently, special requirements are placed on industrial gas turbine combustion chambers to ensure the emission of harmful substances emitted in the exhaust gases, such as nitrogen oxides (NОх), carbon oxides (CO), unburned СО2 particles (СnНm), and carbon particles (smoke). Engine builders primarily focus on reducing NОх and CO emissions. CO concentration is determined by the completeness of combustion in the gas turbine combustion chamber: the higher the combustion efficiency, the lower the CO concentration in the exhaust gases. For modern and future engines, combustion process requirements are determined by a combustion efficiency of at least η = 0.995 over a wide range of engine operating conditions, which automatically results in low emissions of carbon oxides, unburned particles, and smoke, meeting future environmental requirements [1].
Let’s consider some of the main patterns that determine the amount of nitrogen oxides formed during fuel combustion. There are three main mechanisms for the formation of nitrogen oxides: thermal, fuel, and rapid. The reaction rate is highly dependent on the nature of the combustion process and, in particular, on temperature, as will be shown below, and the excess air coefficient (α). Thermal NO, formed by the reaction of oxygen and nitrogen contained in the air required for combustion, contributes the largest share. NОх begins to form in the primary combustion zone along the flame front. Its formation is highly dependent on temperature and the formation reaction occurs very rapidly at temperatures above 1300 °C. Fuel NОх is formed at low temperatures (around 700 °C) due to the reaction of chemically bound nitrogen contained in the fuel in the flame. This mechanism of NОх formation is typical for some liquid fuels, but it can also be present in small quantities in natural gas if the gas contains chemically bound nitrogen [2].
The third type, fast NОх, is formed in the flame front in the presence of hydrocarbon radicals, primarily in heavy hydrocarbon fuels, and its quantities are insignificant.
In an effort to reduce emissions of harmful pollutants, developers employ various combustion chamber design concepts. The combustion chambers of the NK-16ST gas turbine engine, designed to drive the supercharger of a gas compressor unit, were studied. The engine parameters are listed in Table 1.
Table 1. Key Parameters of the NK-16ST Gas Turbine
Parameter Name | Value |
Power, MW | 16 |
Effective efficiency factor, % | 29 |
Pressure Ratio | 8.85 |
Fuel Gas Consumption, kg/hour | 6.249 |
Propellant Consumption, kg/sec. | 98 |
Gas temperature in front of turbine, K | 1.100 |
Power turbine speed, rpm | 5.300 |
Gas temperature at power turbine outlet, °C | 450 |
Table 1 shows that the engine has moderate thermodynamic cycle parameters.
Study Object
As a rule, during operation, gas turbines operate at high loads, which increase nitrogen oxide (NОх) emissions and decrease carbon monoxide (CO) and unburned hydrocarbon (СnНm) emissions. When burning natural gas under these conditions, the NОх content accounts for 90–95% of the exhaust toxicity, so this article focuses on reducing NOх emissions [3].
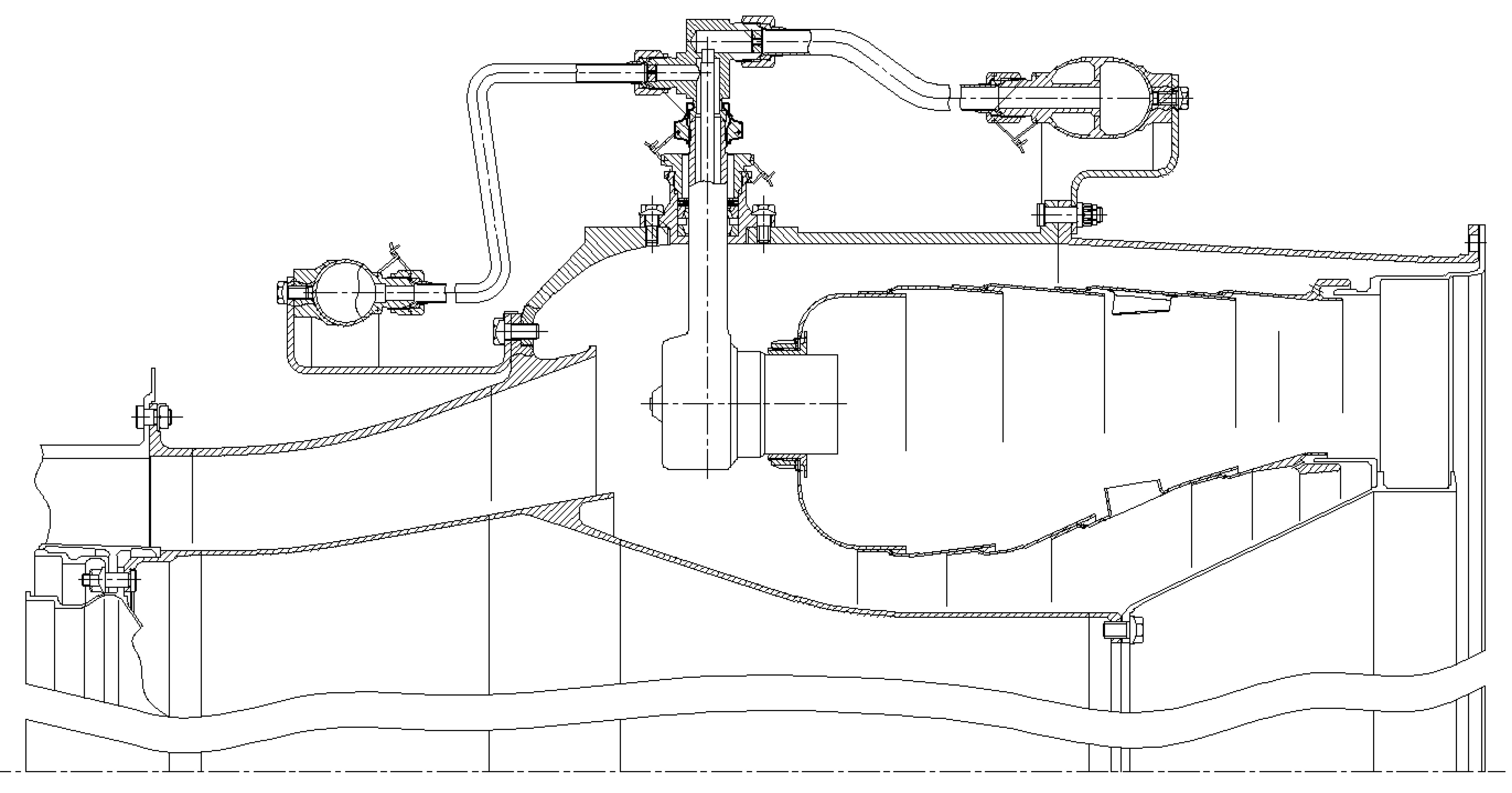
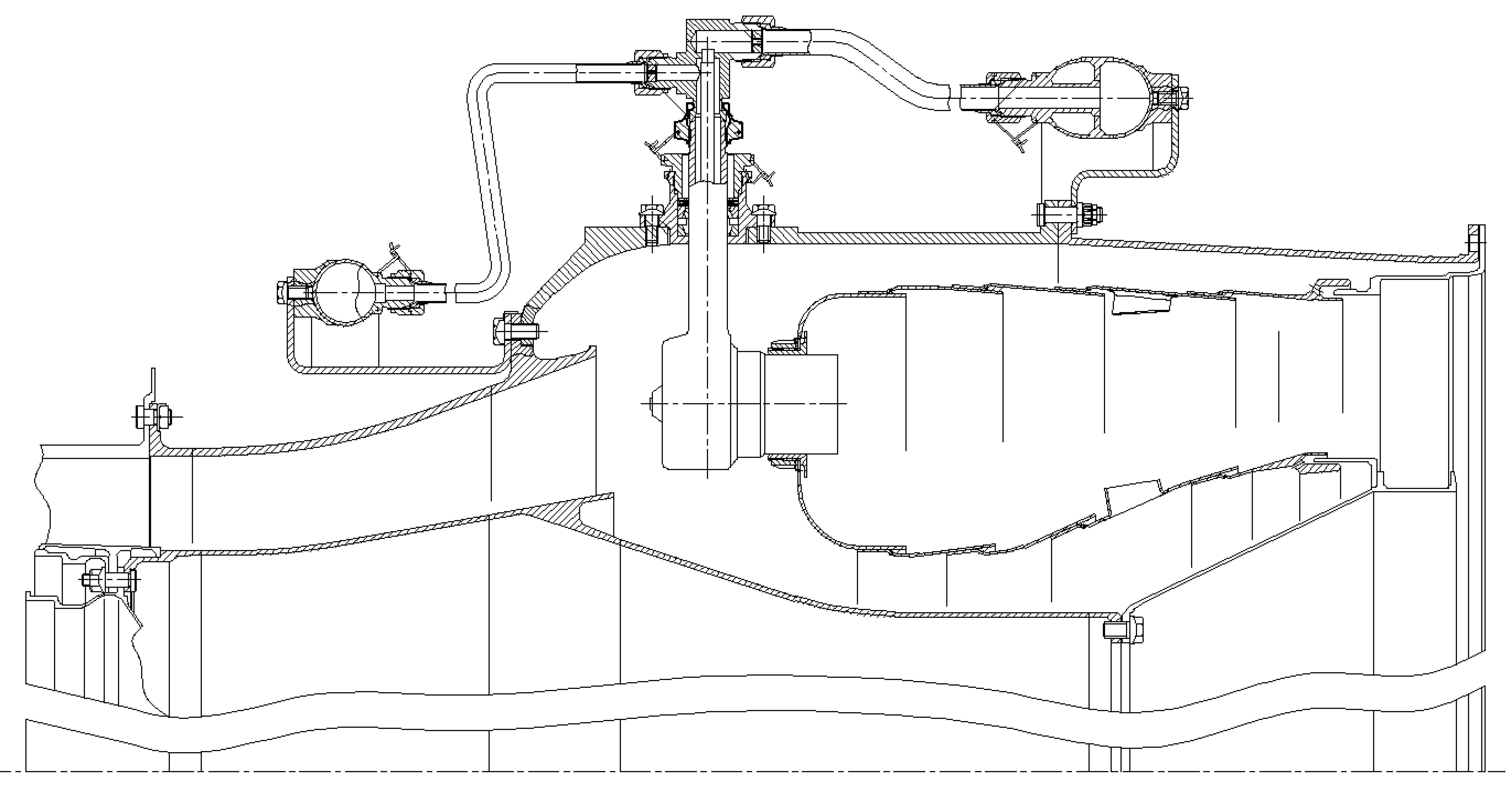
The serial combustion chamber of the NK-16ST gas turbine unit (Fig. 1) consists of a housing 3, a combustion tube 2, mixer pipes 4, and a gas manifold for supplying fuel to the injectors 1. The front device 5 contains 32 burners 6. The combustion tube is annular, consisting of multi-section external and internal casings, providing convective-film cooling.
Рис. 1. Конструктивная схема серийной камеры сгорания ГТД НК-16СТ
Fig. 1. Structural diagram of the serial combustion chamber of the NK-16ST gas turbine engine
Nitrogen oxide emissions from engines with this combustion chamber meet the GOST [4] requirements for toxic emissions from stationary gas turbine engines under normal atmospheric conditions and 15% O2: NОх ≤ 150 mg/m3; CO ≤ 300 mg/m3.
The modernized version of the production combustion chamber (Fig. 2) features a short annular combustion chamber. Its NОх reduction technology consists of improving the production annular combustion chamber by modifying the frontal combustion chamber design, resulting in a leaner primary zone. A partial-mix burner ensured intensive fuel burnout, allowing the combustion tube to be shortened from 575 to 347 mm. This resulted in a reduction of NОх emissions by up to 40 % compared to the production combustion chamber, reaching NОх ≤ 100 mg/m3 [5].
Рис. 2. Конструктивная схема укороченной камеры сгорания ГТД НК-16СТ
Fig. 2. Structural diagram of the shortened combustion chamber of the NK-16ST gas turbine engine
Taking into account the above mechanisms of NОх formation, a two-stage fuel combustion scheme exists in dual-zone combustion chambers. According to this scheme, the fuel-to-fuel ratio in the first zone is 1.2–1.5, with a transition to leaner combustion in the second zone. This scheme involves regulating fuel flow along the combustion chamber circuits.
The combustion process in dual-zone combustion chambers is as follows. In the primary zone, 8 … 15% of the fuel is burned with a “rich” mixture; i.e., combustion in the primary zone occurs by diffusion. Combustion in the primary zone creates a stabilizing flame for stable combustion of the “lean” mixture in the secondary zone. In the secondary zone, the remaining fuel is burned at α > 1.5, which significantly reduces nitrogen oxide formation.
The chamber body houses a front-end device with 32 pilot-zone diffusion burners and a combustion chamber containing 42 main-zone premix burners (Fig. 3). Each pilot-zone diffusion burner has a dual-circuit air swirler with a fuel injector. The premix burner consists of a body with tangential air passage slots and a mixing converging nozzle, the nozzle of which enters an opening in the outer wall of the combustion chamber. Fuel holes are located on the burner body wall. To intensify mixing of the mixture exiting the main-zone burners with the combustion products of the pilot zone, the profile of the outer wall of the combustion tube at the location of the premix burners is designed to provide a constriction of the combustion tube cross-section by approximately 40 % relative to the midsection of the main zone. A perforated fairing is installed at the combustion tube inlet, securing the combustion tube to the housing and ensuring a continuous air flow [6]. An engine with this combustion chamber achieved NОх emissions of 65 mg/m³.
Рис. 3. Конструктивная схема двухзонной камеры сгорания ГТД НК-16СТ
Fig. 3. Structural diagram of the two-zone combustion chamber of the NK-16ST gas turbine engine
Given that modern environmental safety trends require developers to adopt new solutions to ensure low toxic emissions, a combustion chamber (Fig. 4) operating on the Lean Prevaporized Premixed (LPP) principle was developed.
Рис. 4. Конструктивная схема (LPP) камеры сгорания ГТД НК-16СТ
Fig. 4. Structural diagram (LPP) of the combustion chamber of the NK-16ST gas turbine engine
The main structural element of the combustion chamber, which prepares the fuel-air mixture, stabilizes the flame, and shapes the mixture composition, is the burner [7].
To ensure stable operation of the combustion chamber across the entire range of operating modes, the burner is designed as a dual-circuit burner. Fuel gas enters the airflow through openings in the swirler blades (the main circuit) and flows through the interblade channels, forming a well-mixed fuel-air mixture at the burner outlet.
To ensure stable operation of the chamber at low operating modes, as well as during ignition, a “standby zone” is located behind the central body. Air and fuel are supplied separately to this zone through special openings in the rear wall of the swirler’s extended sleeve, thereby forming a diffusion flame.
An engine with a combustion chamber designed using this approach has achieved NOх emissions of ≤ 50 mg/m [8].
Figure 5 shows that the shortened combustion chamber allowed for the lower emission limit of traditional combustion chambers. The dual-zone combustion chamber allowed for the upper emission limit of low-emission combustion chambers. The LPP combustion chamber achieved the lowest nitrogen oxide emissions and achieved the lowest emission level of low-emission combustion chambers.
Рис. 5. Статистика выбросов NOx ГТУ с традиционными камерами сгорания
(природный газ, без впрыска воды или пара) [4]: o – зарубежные ГТУ: 1 – DR-990; 2 – MW401D; 3 – FT-4; 4 – FT-8A; 5 – Центравр; 6 – Сатурн-20;
7 – Марс-90; 8 – RB-211; 9 – Коберра 2649; 10 – Коберра 3145; 11 – Коберра 182; 12 – ГТН-10И (Р6-10); 13 – ГТН-25И (PG-25); 14 – 501КВ5; 15 – 570К; 16 – LM 2500; 17 – LM 5000; 18 – LM 6000; 19 – GT-13E; ¡ – отечественные ГТУ: 1 – ГТН-25; 2 – ГТК-16; 3 – ГТН-6; 4 – ГТН-16; 5 – ГТ6-750; 6 – ГТН-25-1;
7 – АЛ-31СТ; 8 – Д336-1,2; 9 – ДЖ-59; 10 – ГПУ-10; 11 – НК-12СТ; 12 – НК-16 ( серийная КС). 1–12 (укороченная КС), 2–12 (двузонная КС), 3–12 (КС LPP); 13 – НК-36СТ (Д); 14 – НК-36СТ (К) А – зона традиционный камер сгорания, Б – зона малотоксичных КС
Fig. 5. Statistics of NOx emissions of gas turbines with traditional combustion chambers (natural gas,
without water or steam injection) [4]: o – foreign gas turbines: 1 – DR-990; 2 – MV401D; 3 – FT-4; 4 – FT-8A; 5 – Centravr; 6 – Saturn-20; 7 – Mars-90;
8 – RB-211; 9 – Koberra 2649; 10 – Koberra 3145; 11 – Koberra 182; 12 – GTN-10I (R6-10); 13 – GTN-25I (PG-25); 14 – 501KV5; 15 – 570K; 16 – LM 2500; 17 – LM 5000; 18 – LM 6000; 19 – GT-13E; ¡ – domestic gas turbines: 1 – GTN-25; 2 – GTK-16; 3 – GTN-6; 4 – GTN-16; 5 – GT6-750; 6 – GTN-25-1; 7 – AL-31ST; 8 – D336-1.2; 9 – DJ-59; 10 – GPU-10; 11 – NK-12ST; 12 – NK-16 (serial KS). 1–12 (shortened KS), 2–12 (two-zone KS), 3–12 (LSP KS); 13 – NK-36ST (D); 14 – NK-36ST (K) A – zone of traditional combustion chambers; B – zone of low-toxic combustion chambers
Calculation and Experimental Part
Considering the tendency to lean the fuel-air mixture in the combustion zone to reduce nitrogen oxide emissions, we will consider an algorithm for calculating and experimentally determining the excess air ratio at the burner outlet of the combustion chambers described above.
- The burner capacity is determined at various pressure drops.
- The pressure drop across the flame tube walls is determined at various superficial velocities at the combustion chamber inlet.
- The combustion chamber capacity is determined at various pressure drops across the flame tube.
- Knowing the superficial velocity at which air enters the combustion chamber at maximum engine operating mode, the pressure drop across the flame tube walls at a given speed is determined.
- The combustion chamber capacity is determined at a given pressure drop.
- The capacity of the front burner and the burners in the main zone and the standby zone are calculated if the combustion chamber is a two-zone combustion chamber.
- The excess air coefficient in the required combustion zones is determined.
Burner throughput measurements were conducted on a test bench (Fig. 6).
Рис. 6. Стенд определения пропускной способности горелок
Fig. 6. Stand for determining the throughput capacity of burners
The test bench operates as follows: air from the network enters a moisture separator and an electromagnetic valve, which regulates the air flow rate to the burner. A critical nozzle is used as a flow meter. Air pressure and temperature are measured upstream of the nozzle. The pressure drop upstream of the burner is determined, at which point the throughput is measured.
For burners, the air throughput capacity B = f (p) is determined.
After data processing, the throughput is expressed as a characteristic [9]:
, (1)
where , , , , are the air mass flow rate, its temperature, the total pressure at the burner inlet, and the barometric pressure, respectively. B is determined at various pressure drops.
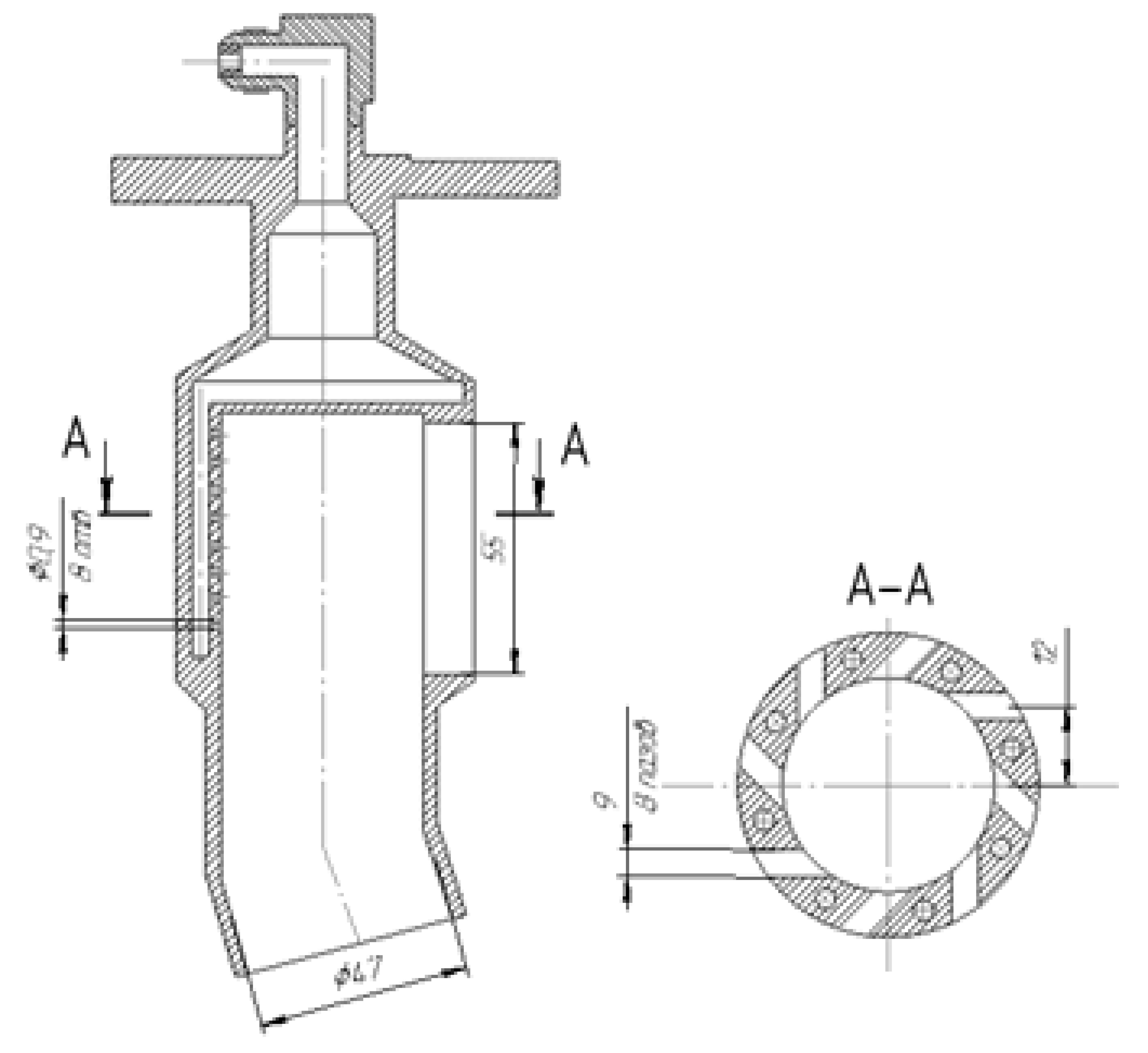
Let’s consider the vortex gas burners of a serial combustion chamber (Fig. 7), which are installed evenly around the circumference in the front device, between the inner and outer casings of the flame tube.
Fig. 7. Scheme of the burner device of a serial KS: 1 – jet nozzle; 2 – swirl; 3 – mixing chamber; 4 – nozzle attachment
Fig. 7. Scheme of the burner device of a serial KS: 1 – jet nozzle; 2 – swirl; 3 – mixing chamber; 4 – nozzle attachment
Fuel supplied by gas nozzles 1 along the axis of each burner is mixed in mixing chamber 3 with the air flow swirled in swirler 2. As a result, fuel-air mixture flows with near-axial circulation regions are formed in the primary zone of the chamber behind nozzle extension 4 of each swirl burner. The presence of such regions ensures the circulation of hot combustion products and active centers from the combustion zone to the root of the fresh mixture flame, creating conditions for stable ignition and flame stabilization [10].
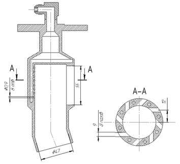
Burner No. 2 differs from the standard burner in its converging nozzle and an annular channel between the nozzle and swirler (Fig. 8).
Рис. 8. Схема горелочного устройства укороченной КС
Fig. 8. Scheme of the burner device of the shortened combustion chamber
Research conducted with two burners showed that an increase in the throughput of Burner No. 2 is observed starting with a pressure drop of 2 %. With a pressure drop of 3 %, swirl burner No. 2 has a higher throughput, B3 of 0.68 %, compared to the first, which has B3 % of 0.59.
Let’s consider the design features of a two-zone combustion chamber burner with a sequential arrangement of the pilot and main combustion zones [11].
Рис. 9. Пропускная способность: ♦ – горелка № 1; ■ – горелка № 2
Fig. 9. Throughput: ♦ – burner No. 1; ■ – burner No. 2
The burners in the duty zone contain a swirl vane with nine blades at an angle of φ = 40°. The nozzle has a minimum diameter of d = 28 and an outlet opening angle of 30°. The nozzle has four fuel holes with a diameter of 2 mm arranged at an angle of 45° to the axis (Fig. 10).
Рис. 10. Горелка дежурной зоны
Fig. 10. Burner of the duty zone
The burners in the duty zone have eight tangential slots with a diameter of 38 mm and a nozzle diameter of 47 mm. Fuel is distributed along each groove through four 1.29 mm holes (Fig. 11).
Рис. 11. Горелка основной зоны
Fig. 11. Main zone burner
Figure 12 shows that the burner capacity B ranges from 0.3 to 0.46. As the pressure drop across the burner increases, the capacity increases, and at a 3 % pressure drop, it is 0.35.
Рис. 12. Пропускная способность горелки дежурной зоны
Fig. 12. Burner capacity of the duty zone
Figure 13 also shows an increase in burner throughput with increasing pressure drop. Throughput B is in the range of 1.5–2.3, five times higher than that of the standby zone burner.
Рис. 13. Пропускная способность горелки основной зоны
Fig. 13. The capacity of the main zone burner
Let’s examine the LPP burner's combustion chamber diagram and the distribution of air and fuel in the area where the fuel-air mixture is prepared and stabilized. To regulate fuel flow, the burner has two fuel supply channels. Fuel gas enters the air flow through the perforated swirler blades (the main circuit) and flows through the interblade channels, forming a mixed fuel mixture at the burner outlet. To ensure reliable ignition and stable operation at low engine speeds, a second fuel channel is introduced into the center of the burner, forming a standby zone operating on the diffusion principle [12]. Air and fuel are supplied separately to this zone through special channels in the rear wall of the swirler (Fig. 14).
Рис. 14. Схема горелки и картина течения потока
Fig. 14. Burner diagram and flow pattern
The combined flame stabilization scheme is based on three mechanisms [13]:
- the formation of a radial static pressure gradient during swirl, which facilitates the paraxial breakdown of the swirling flow;
- the action of the gradient at the exit of the central body (the developed swirler bushing);
- gas-dynamic stabilization using air jets blown from the openings of the central.
The burner (Fig. 15) designed within this design contains a swirler with a nozzle and hollow vanes containing fuel supply holes (secondary circuit). The swirler has an expanding central body, which houses a nozzle with fuel supply channels (primary circuit).
Рис. 15. Горелка LPP камеры сгорания
Fig. 15. LPP combustion chamber burner
Рис. 16. Пропускная способность горелки.
Fig. 16. Burner capacity
The combustion chamber’s throughout capacity is determined on a test bench, the diagram of which is shown in Fig. 17. The test bench is equipped with the necessary parameter measurement and recording systems. The test bench includes a compressed air source, which supplies air to the combustion chamber being tested. Compressed air is supplied through a pipeline passing through a measurement section, where the air flow is measured using a flow meter (Venturi tube). The air temperature is measured with a chromel-alumel thermocouple.
Рис. 17. Схема стенда испытаний камер сгорания
Fig. 17. Scheme of the combustion chamber test stand
During tests on the test stand, the superficial velocity at the combustion chamber inlet and the pressure drop across the flame tube walls are determined with increasing air flow rate [14].
To determine the total pressure loss in the combustion chamber and the pressure drop across the flame tube walls, the chamber is sequentially purged with air at various values of the superficial flow velocity at the inlet λ2.
During the tests, measurements are taken of the total air pressure at the chamber inlet Р2*, in the gap between the chamber casings and bodies near the cooling air supply pockets Рnar * and Рvn * (from the outer and inner sides, respectively), and at the chamber outlet Р4*
The total pressure loss in the combustion chamber is determined using the formula [15]:
, (%). (2)
Total pressure losses in the flame tube:
, (%). (3)
The total losses ∆P*combustion chamber and pressure drop across the flame tube wall ∆P*fire tube of the combustion chamber under study are determined.
Based on the blowdown results, dependences ∆P*combustion chamber and ∆P*fire tube were plotted for various values of λ2 (Fig. 18).
Рис. 18. Потери на стенке жаровой трубы и в камере сгорания ΔР*кс, ΔР*СТ %
Fig. 18. Losses on the wall of the flame tube and in the combustion chamber ΔР* combustion chamber, ΔР*wall %
Figure 18 shows that with increasing superficial velocity, the pressure drop across the flame tube wall increases, as do losses in the combustion chamber. For the NK-16ST engine at nominal operating conditions, the superficial velocity λ2 is 0.28. At this value, ∆P*fire tube = 3 %, ∆P*combustion chamber = 5 %.
To determine the excess air coefficient at the burner outlet in the corresponding zone, it is necessary to know the combustion chamber capacity at λ2 corresponding to engine operation [16]. For this purpose, the dependence of the combustion chamber capacity on the pressure drop across the flame tube wall is plotted (Fig. 19).
Рис. 19. Пропускная способность камеры сгорания
Fig. 19. Combustion chamber capacity
Knowing that the pressure drop across the flame tube wall at λ2= 0.28 is 3 %, from Figure 11 we find the combustion chamber capacity to be
The excess air coefficient behind the burners was determined by multiplying the capacity of one burner in the pilot zone by the number of burners in the front unit of the combustion chamber:
Bf = n × B, (4)
where is the number of burners in the pilot zone in the front unit; B is the burner capacity.
The proportion of air entering the combustion zone is determined by the ratio of the front device capacity to the combustion chamber capacity for a given pressure drop Pinlet / Patmospheric =1.03 [17].
K= (Bf / Bcombustion chamber ), (5)
Where Bf is the front device capacity; Bcc is the combustion chamber capacity.
The excess air coefficient in the combustion zone is determined by the formula
(6)
where Gair is the air flow rate at the combustion chamber inlet, Gfuel is the fuel flow rate into the burners of the zone in question; L0 is the stoichiometric coefficient for the fuel in question.
For a two-zone combustion chamber, the excess air coefficient in the main and backup combustion zones is determined by a similar principle [18].
The calculated burner flow rates and excess air ratios for the combustion chambers examined are listed in Table 2.
Table 2. Combustion chamber burner outlet flow capacity and excess air ratio
Combustion chamber | Flow capacity | Excess air ratio at the burner outlet | ||
Standard | 0.58 | 0.37 | ||
Shortened | 0.68 | 0.44 | ||
Two-zone | 0.35 | 1.85 | 1.5 | 2.7 |
LPP combustion chamber | 2.25 | 1.6 | ||
The combustion chambers examined exhibit a tendency toward a leaner fuel-air mixture at the burner outlet, which reduces nitrogen oxide emissions.
Conclusion
The excess air ratio at the burner outlet of various combustion chamber designs was determined through calculations and experiments.
Reducing nitrogen oxide levels in engine exhaust gases is achieved by leaning the air-fuel mixture in the combustion zone.
Fuel flow regulation within the combustion chamber’s individual zones ensures optimal emissions at various engine operating modes.
The combustion chamber, designed within the LPP concept, utilizes low-temperature combustion of a well-mixed air-fuel mixture with a pilot diffusion flame, ensuring low NOx emissions.
About the authors
Andrey Vladimirovich Baklanov
JSC “Kazan Engine Production Association”
Author for correspondence.
Email: andreybaklanov@bk.ru
ORCID iD: 0009-0000-5045-3815
deputy chief designe
Russian Federation, 1, Dementyev St., Kazan, 420036References
- Lefebvre A. H., Ballal D. R. Gas Turbine Combustion: Alternative Fuels and Emissions. CRC Press, 2010. 537 p.
- Mingazov B. G. Kamery sgoraniya gazoturbinnykh dvigateley [Combustion chambers of gas turbine engines]. Kazan, Kazan. gos. tekhn. un-t Publ., 2006. 220 p.
- Gritsenko E. A. et al. Konvertirovanie aviatsionnykh GTD v gazoturbinnye ustanovki nazemnogo primeneniya [Conversion of aircraft GTE into gas turbine units for ground use]. Samara, SRC RAS Publ., 2004. 266 p.
- Postnikov A. M. Snizhenie oksidov azota v vykhlopnykh gazakh GTU [Reduction of nitrogen oxides in exhaust gases of gas turbine units]. Samara, Izd-vo Samarskogo nauch. tsentra RAN Publ., 2002. 286 p.
- GOST 28775–90. Gas pumping units with gas turbine drive. General specifications. Moscow, Standartinform Publ., 2005.12 p. (In Russ.).
- Markushin A. N. et al. [Organization of low-emission combustion in the annular combustion chamber of a gas turbine engine]. Izvestiya Universiteta. Aviatsionnaya Tekhnika. 2009, No. 3, P. 70–72 (In Russ.).
- Markushin A. N., Baklanov A. V. [Test results of a two-zone combustion chamber as part of a gas turbine engine]. Omskiy nauchnyy vestnik. Seriya Aviatsionno-raketnoe i energeticheskoe mashinostroenie. 2025, Vol. 10, No. 2, P. 15–23 (In Russ.).
- Baklanov A. V., Markushin A. N. [Design and refinement features of an LPP combustion chamber]. Vestnik Kazanskogo gos. tekhn. un-ta im. A. N. Tupoleva. 2017, Vol. 73, No. 2, P. 56–61 (In Russ.).
- Bantikov D. Yu., Grechnikov O. V., Rogalev V. V., Roslyakov A. D., Tsybizov Yu. I. [Ways to improve burners of two-zone combustion chambers]. Vestnik Samarskogo gos. aerokosmich. un-ta. 2014, No. 5 (47), Part 2, P. 88–95 (In Russ.).
- Grechishnikov O. V., Ostapets I. I., Roslyakov A. D., Tsybizov Yu. I. [Homogeneous burners of two-zone combustion chambers]. Vestnik Samarskogo gos. aerokosmich. un-ta. 2013, No. 3 (41), P. 65–71 (In Russ.).
- Baklanov A. V. [Influence of the method of feeding gaseous fuel into the combustion chamber on the formation of carbon oxides in the combustion products of a gas turbine engine]. Vestnik Moskovskogo aviats. in-ta. 2019, Vol. 26, No. 1, P. 111–125 (In Russ.).
- Kiesewetter, F., Konle, M., and Sattelmayer, T. Analysis of Combustion Induced Vortex Breakdown Driven Flashback in a Premix Burner with Cylindrical Mixing Zone. ASME Journal of Engineering for Gas Turbines and Power. 2007, Vol. 129, P. 929–936.
- Lieuwen T. C., Yang V. Combustion Instabilities in Gas Turbine Engines. Astronautics and Aeronautics. 2005, Vol. 210, 657 p.
- Lanskiy A. M., Lukachev S. V., Matveev S. G. Rabochiy protsess kamer sgoraniya malorazmernykh GTD [Working process of combustion chambers of small-sized gas turbine engines]. Samara, SRC RAS Publ., 2009. 335 p.
- Baklanov A. V. [Ensuring efficient fuel combustion in a low-emission combustion chamber of a gas turbine unit under various climatic conditions]. Vestnik Moskovskogo aviats. in-ta. 2022, Vol. 29, No. 1, P. 144–155 (In Russ.).
- Baklanov A. V., Markushin A. N., Tsyganov N. E. [Influence of the vortex burner nozzle shape on mixing in a swirling jet]. Vestnik Kazanskogo gos. tekhn. un-ta im. A. N. Tupoleva. 2014, No. 3, P. 13–18 (In Russ.).
- Sadiki A., Repp S., Schneider C., Dreizler A., Janicka J. Numerical and experimental investigations of confined swirling combusting flows. Progress in Computational Fluid Dynamics, an International Journal. 2003, Vol. 3, No. 2–4, P. 78-88.
- Gokulakrishnan P., Fuller C. C., Klassen M. S., Joklik R. G., Kochar Y. N., Vaden S. N., Seitzman J. M. Experiments and modeling of propane combustion with vitiation. Combustion and Flame. 2014, Vol. 161, No. 8, P. 2038–2053.
Supplementary files









































