Experimental modeling of formation of native metals (Fe, Ni, Co) in the earth’s crust by the interaction of hydrogen with basaltic melts
- 作者: Persikov E.S.1, Bukhtiyarov P.G.1, Aranovich L.Y.2,1, Nekrasov A.N.1, Shaposhnikova O.Y.1
-
隶属关系:
- D.S. Korzhinskii Institute of Experimental Mineralogy of Russian Academy of Sciences
- Institute of ore Deposit Geology, Petrography, Mineralogy and Geochemistry RAS
- 期: 卷 64, 编号 10 (2019)
- 页面: 1015-1025
- 栏目: Articles
- URL: https://journals.eco-vector.com/0016-7525/article/view/17806
- DOI: https://doi.org/10.31857/S0016-752564101015-1025
- ID: 17806
如何引用文章
全文:
详细
In continuation of our early works, an experimental study of the kinetics and interaction mechanisms in the hydrogen-basalt melt system at a hydrogen pressure of 100 MPa and temperature of 1250°C carried out. It was found in kinetic experiments that, despite the high reduction potential of the H2-melt system, the hydrogen oxidation reactions and the complete reduction of Fe oxides in the melt do not go to the end. As a result, initially homogeneous basalt melt becomes heterogeneous: H2O is formed in the fluid phase; H2O is dissolved in the basalt melts, and a small metal separation of the liquation structure formed at a temperature significantly lower than the melting temperature of the metal phases (Fe, FeNiCo alloy). The structure and dimensions of the experimentally established metal separations agree well with the natural data on the findings of small amounts of the metal phase, primarily iron and its alloys with nickel and cobalt, reported from magmatic rocks of various compositions and origins.
全文:
ВВЕДЕНИЕ
Роль водорода ― самого распространенного элемента нашей Галактики ― в природных процессах чрезвычайно многообразна, и в последние годы привлекает все большее внимание петрологов и геохимиков. Проблемы происхождения Земли и ее строения (Wetherill, 1990; Маракушев, Маракушев, 2010; Wood, 1987; Wood et al., 2006; Вернадский, 1960; и ссылки в них), формирования ядра (Galimov, 2005; Jana, Walker, 1999; Stevenson, 1977, 1981; Ringwood, 1977; Narygina et al., 2011; Righter, 2015; и ссылки в них), зарождения магм на различных уровнях глубинности в разные геологические эпохи и их эволюции в литосфере (Kadik, 2008; Sweeney R., 1997; и др.), механизмов землетрясений (Gilat, Vol, 2005; и др.), происхождения океанов и атмосферы Земли (Javoy, 1998; Williams, Hemley, 2001; и ссылки в них), дегазации недр Земли (Jambon A., 1994; Кадик, 2008; Gilat, Vol, 2005; Кузнецов, Изох, 1969; Коржинский, 1972; и ссылки в них), а также самородного металлообразования и рудообразования в земной коре (Рябов и др., 1985; Олейников и др., 1985; Маракушев, 1995; Ryabov, Lapkovsky, 2010; и др.) все чаще связываются с активным участием в них водорода. Однако ввиду отсутствия до недавнего времени достоверных экспериментальных данных, все эти проблемы обсуждались в основном на качественном уровне и на уровне теоретических прогнозов.
Более двух десятилетий назад нами в ИЭМ РАН были начаты пионерские экспериментальные исследования по растворимости и диффузии водорода в расплавах альбита и получены первые полуколичественные данные по дифференциации расплавов базальта при взаимодействии с водородом (Персиков и др., 1986; Persikov et al., 1990). В последние годы применительно к проблеме образования и эволюции ранней мантии Земли в ГЕОХИ РАН впервые выполнены комплексные экспериментальные исследования, в том числе по растворимости компонентов флюида системы C−H−N−O в силикатных расплавах при высоких давлениях в присутствии металлической фазы (Fe) в сильно восстановительных условиях (Кадик, 2008; Kadik et al., 2014, 2015; Куровская и др., 2018).
В настоящей работе представлены первые результаты экспериментального моделирования процесса самородного металлообразования (Fe, Ni, Co) в системе водород–базальтовый расплав и сравнение полученных результатов с природными данными.
ЭКСПЕРИМЕНТАЛЬНЫЕ И АНАЛИТИЧЕСКИЕ МЕТОДЫ
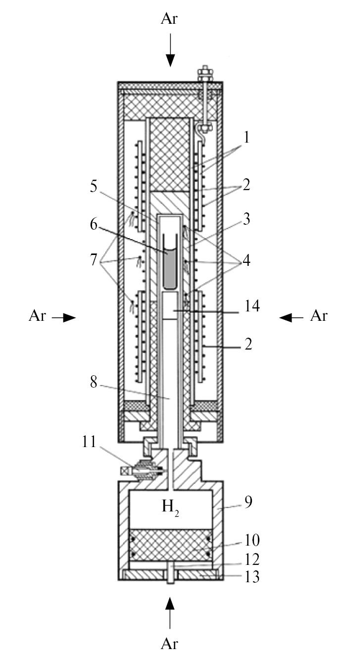
Эксперименты проведены с использованием оригинальной установки высокого газового давления. Установка включает систему сжатия газа (Ar), создающего давление в сосуде высокого газового давления с внутренним нагревом. Внутри этого сосуда установлено уникальное устройство, которое обеспечивает проведение экспериментов при высоких температурах и давлениях водорода (Persikov, Bukhtiyarov, 2002). Схема этого устройства со схемой внутреннего нагревателя сосуда высокого газового давления представлены на рис. 1.
Рис. 1. Схема оригинального внутреннего устройства (уравнитель−разделитель) установки высокого газового давления с нагревателем: 1, 3 ― изоляторы; 2 ― двухсекционный нагреватель; 4 ― измерительные термопары; 5 ― молибденовый реактор; 6 ― Мо-ампула с образцом; 7 ― регулирующие термопары; 8 ― заглушка; 9 ― корпус уравнителя-разделителя; 10 ― поршень; 11 ― вентиль; 12 ― датчик положения поршня; 13 ― крышка; 14 ― Pt-капсула с кислородным буфером (Ta−Ta2O5).
Внутренние объемы реактора (5) с молибденовой ампулой со стартовым образцом базальта (6) и уравнителем-разделителем (9) под поршнем (10) заполняли водородом при давлении 10 МПа с использованием специальной системы. Собранное таким образом устройство вместе с внутренним нагревателем (2) размещали внутри сосуда высокого газового давления таким образом, чтобы ампула с образцом (6) находилась в безградиентной температурной зоне нагревателя. За счет перемещения поршня (10) давление газа (Ar) в сосуде в процессе опыта всегда сохранялось равным давлению водорода во внутреннем объеме реактора (5). В начале эксперимента давление аргона в сосуде и, соответственно, водорода в реакторе (5) поднимали в течение одного часа до необходимого значения ― 100 МПа. Далее поднимали температуру опыта до необходимой величины ― 1250°С. При указанных параметрах образцы выдерживались в автоматическом режиме в течение необходимого времени кинетических опытов (1 ч в первой серии опытов и 5 ч во второй), после чего осуществлялась изобарическая закалка при выключенном внутреннем нагревателе установки. При этом достигалась достаточно высокая скорость закалки расплава (~300°С/мин), которая обеспечивала получение стекол. Погрешность измерения температуры опыта составляла ±5°С, а давления водорода ±0.1% отн. После изобарической закалки устройство извлекалось из сосуда, Мо-ампула с образцом извлекалась из молибденового реактора для последующего анализа фаз, образовавшихся в расплаве во время опыта. В качестве исходных образцов использовали растертые в агатовой ступке порошки магнезиального базальта Большого трещинного извержения 1975−1976 г. вулкана Толбачик на Камчатке (Большое…, 1984), а также порошки магнезиального базальта, обогащенного оксидами никеля и кобальта (по 5 мас.%). Химические составы исходных образцов и полученных в опытах стекол и металлических фаз определяли с помощью цифрового электронного рентгеновского микроскопа CamScan MV2300 (VEGA TS 5130 MM) с приставкой для энергодисперсионного микроанализа INCA Energy 450 и WDS Oxford INCA Wave 700. Анализы проводились при ускоряющем напряжении 20 kV с током пучка до 400 нA и времени набора спектров 50−100 с. Были использованы следующие стандарты: кварц ― для Si и О, альбит ― для Na, микроклин ― для K, волластонит ― для Cа, чистый титан ― для Ti, корунд ― для Al, чистый марганец ― для Mn, чистое железо ― для Fe, периклаз ― для Mg, чистые никель и кобальт ― для Ni и Co. Для стандартизации данных микрозондового анализа использовали программу INCA Energy 200 (табл. 1) и программу А.Н. Некрасова INCA (табл. 2). Содержание воды, образовавшейся в закаленных образцах в ходе опытов (табл. 1), определяли методом титрования по Фишеру с использованием прибора KFT AQUA 40.00.
Таблица 1. Химический состав (мас.%) и структурно-химический параметр (100NBO/T) исходного базальта и базальтовых стекол после экспериментов под давлением водорода
Компоненты | № 2099* | № 2100* | № 2097** | № 2098** | Состав исходного базальта*** |
1 ч | 5 ч | 1 ч | 5 ч | ||
SiO2 | 53.13 | 53.32 | 53.55 | 53.49 | 49.5 |
Al2O3 | 14.22 | 14.32 | 14.28 | 14.21 | 13.18 |
Fe2O3 | 0.00 | 0.00 | 0.00 | 0.00 | 3.18 |
FeO | 5.70 | 5.66 | 4.57 | 5.74 | 6.85 |
MnO | 0.23 | 0.1 | 0.18 | 0.24 | 0.15 |
MgO | 9.95 | 9.49 | 10,60 | 9.62 | 9.98 |
CaO | 12.29 | 12.20 | 11.55 | 12.12 | 12.34 |
Na2O | 2.55 | 2.57 | 2.80 | 2.56 | 2.18 |
K2O | 0.91 | 0.91 | 0.83 | 0.92 | 0.93 |
TiO2 | 1.08 | 1.48 | 0.90 | 1.11 | 1.01 |
P2O5 | 0.20 | 0,21 | н. о. | н. о. | 0.25 |
Н2О+ | н. о. | н. о. | н. о. | н. о. | н. о. |
Н2О- | 0.72 | 0.9 | 0.75 | 0.95 | 0.29 |
NiO | н. о. | н. о. | 0.07 | 0.09 | н. о. |
Co3O4 | н. о. | н. о. | 0.1 | 0.11 | н. о. |
Сумма | 99.97 | 101.16 | 100.18 | 101.16 | 99.84 |
100NBO/T | 85 | 83.6 | 83 | 84 | 83 |
* – Опыты с расплавами исходного магнезиального базальта (P(H2) = 100 МПа, Т = 1250°С). ** Опыты с расплавами исходного магнезиального базальта с добавками NiO и Co3O4 по 5 мас.%), P(H2) = 100 МПа, Т = 1250°С. *** Большое трещинное Толбачинское извержение 1975−1976 г., Камчатка, 1984.
Таблица 2. Химические составы (мас.%) металлических фаз в расплавах базальта (закаленные образцы) после опытов под давлением водорода
Компоненты | № 2097 | № 2098 | № 2099 | № 2100 |
Fe | 24.52 | 26.2 | 98.54 | 98.58 |
Co | 36.32 | 35.08 | н. о. | н. о. |
Ni | 35.13 | 37.92 | н. о. | н. о. |
О | 2.03 | 0.79 | 1.01 | 0.86 |
Si | 0.15 | 0.12 | 0.17 | 0.08 |
Mg | 0.08 | н. о. | 0.02 | 0.03 |
Ca | 0.16 | 0.07 | 0.16 | 0.12. |
Al | 0.17 | 0.14 | н. о. | н. о. |
P | 0.23 | 0.15 | 0.43 | 0.54 |
Сумма | 98.79 | 100.47 | 100.33 | 100.21 |
Примечания. Результаты, представленные в таблице, ― это средние значения по 7 измерениям. Концентрации примесных элементов (Si, Mg, Ca, Al) в металлических фазах определены приблизительно, т.к. эти значения находятся в пределах погрешностей анализа.
РЕЗУЛЬТАТЫ И ИХ ОБСУЖДЕНИЕ
Составы исходного базальта и стекол, полученных в опытах различной продолжительности, приведены в табл. 1. Для сравнения исходного состава со стеклами ― продуктами опытов, использовалась не разница в концентрациях главных породообразующих компонентов, а валовая основность расплавов, которая численно определяется с помощью структурно-химического параметра 100NBO/T, ― степень деполимеризации или коэффициент основности. Этот структурно-химический параметр расплавов достаточно корректно отражает основность магматических расплавов и, соответственно, особенности валового химического состава и структуры силикатных магматических расплавов, что детально обосновано ранее (Persikov et al., 1990; Persikov, 1998; Mysen, 1991).
Основные экспериментально обнаруженные особенности процесса взаимодействия водорода с базальтовым расплавом сводятся к следующему. Установлено в кинетических опытах, что, несмотря на высокий восстановительный потенциал системы базальтовый расплав−Н2, реакции окисления водорода и полного восстановления оксидов Fe в расплаве не идут до конца. В то же время оксиды никеля и кобальта, добавленные к порошку базальта, восстанавливаются практически полностью уже за один час (табл. 1). В результате за счет окислительно-восстановительных реакций, сопровождающихся растворением водорода, исходно гомогенный базальтовый расплав гетерогенизируется, в нем образуются металлические сегрегации Fe и его сплавов с никелем и кобальтом разной структуры. При этом в самом базальтовом расплаве, с одной стороны, повышается концентрация полимеризующих анионов (Si, Al), а с другой ― деполимеризующего катиона (Na) (табл. 1), а также заметно возрастает содержание Н2О. На рис. 2 представлены микрофотографии аншлифов всех экспериментальных образцов. Отметим характерные особенности: 1 ― в опыте длительностью 1 ч с базальтовым расплавом, обогащенным оксидами никеля и кобальта (рис. 2а), формируется сидеронитовая структура с вкраплениями интерметаллидов (FeNiCo), тогда как в опыте длительностью 5 ч (рис. 2б) четко проявляется ликвационная структура с обособлением капель интерметаллического расплава с максимальным размером капель порядка 200 µk (состав этого расплава приведен в табл. 2); 2 ― в опыте длительностью 1 ч с исходным (без добавления оксидов никеля и кобальта) базальтовым расплавом (рис. 2в) формируется структура с существенно меньшим количеством отдельных вкрапленников железной фазы, похожая по морфологии на бедно вкрапленную руду (см. ниже), тогда как в опыте длительностью 5 ч (рис. 2г) четко проявляется ликвационная структура с обособлением капель расплава железа с максимальным размером капель порядка 100 µk (соответствующий состав в табл. 2).
Рис. 2. Растровые микрофотографии в отраженных электронах продуктов закалки образцов после опытов по взаимодействию базальтового расплава с водородом: (а) ― опыт № 2097, длительность опыта 1 ч (белый цвет ― металлическая фаза, интерметаллический сплав FeNiCo, состав ― табл. 2, черный цвет ― стекло базальта, состав ― табл. 1); (б) ― опыт № 2098, длительность опыта 5 ч (белый цвет ― металлическая фаза, интерметаллический сплав FeNiCo, состав ― табл. 2, черный цвет ― стекло базальта, состав ― табл. 1); (в) ― опыт № 2099, длительность опыта 1 ч (белый цвет ― металлическая фаза ― сплав Fe, состав ― табл. 2, черный цвет ― стекло базальта, состав ― табл. 1); (г) ― опыт № 2100, длительность опыта 5 ч (белый цвет ― металлическая фаза, сплав Fe, состав ― табл. 2, черный цвет ― стекло базальта, состав ― табл. 1).
Об остановке окислительно-восстановительных реакций в расплаве базальта свидетельствуют и данные, приведенные в табл. 1, при сравнении составов расплавов, образовавшихся в кинетических опытах разной длительности. Как отмечалось, эти реакции почти завершаются уже в часовом опыте, т.к. составы образовавшихся расплавов и их основность (100NBO/T) практически не изменяются в опытах длительностью 5 ч по сравнению с опытами длительностью 1 ч (табл. 1). Для оценки значения летучести кислорода, при которой должна была происходить остановка окислительно-восстановительных реакций в расплавах, использовали измеренное в стеклах содержание Н2О. В соответствии с данными по растворимости Н2О в базальтовых расплавах (Papale et al., 2006), при температуре 1250°С и общем давлении 100 МПа мольная доля воды во флюиде (ХН2О), при которой концентрация Н2О в расплаве составляет 0.9 мас.%, равна ХН2О = 0.13. Подставляя это значение в уравнение константы реакции диссоциации воды Н2 + 0.5О2 = Н2О:
Kw = f(Н2О)/(f(Н2)∙f(O2)0.5) = exp(−ΔG0w/RT), (1)
и решая уравнение (1) относительно f(O2) с учетом значений f(Н2О) и f(Н2), рассчитанных при параметрах опытов по работе (Аранович, 2013) ХН2О + ХН2 = 1 и хорошо известной величины ΔG0w = −163 кДж/моль при 1250°С (Barin, 1995), для летучести кислорода получим f(O2) ~10−10 МПа. Исходные соотношения парциальных давлений Н2, О2 и Н2О в газовой фазе были совершенно иными: их можно оценить исходя из известного для начала опытов значения f(O2), определяемого реакцией окисления тантала 2Ta + 5/2O2 = Ta2O5. Величина свободной энергии Гиббса этой реакции при Р−Т-параметрах опытов ПО составляет −1400 кДж (Barin, 1995). Тогда f(O2) = 10−19 МПа, ХН2 = 1, f(Н2О) = 10−12. Из расчетов очевидно, что часть воды, образующейся в расплаве за счет окислительно-восстановительных реакций, диффундировала в газовую фазу вплоть до состояния, близкого к насыщению. Судя по систематическому различию содержаний Н2О в опытах разной продолжительности, можно предположить, что диффузия воды и состояние насыщения по Н2О ~0.9 мас.% (табл. 1) осуществлялась с существенно меньшей скоростью по сравнению со встречной диффузией водорода. Заметим, что концентрации водорода, растворенного в силикатной и металлических фазах в опытах, определить в настоящей работе не удалось, работа продолжается. Согласно ранее полученным данным по растворимости водорода в силикатных расплавах, предельная растворимость водорода в них при параметрах опытов составляет около ~7∙10−3 мас.% (Персиков и др., 1986), т.е. примерно на два порядка меньше предельной растворимости воды при тех же значениях температуры и давления (Luth et al., 1987; Persikov et al., 1990; Kadik et al., 2015, 2017; Куровская и др., 2018). Растворимость водорода в расплаве железа при атмосферном давлении и температуре 1600°С равна примерно 2.5∙10−3 мас.% (Галактионова, 1967), а в металлическом γ-Fe при 1250°C и 100 МПа ― около 4∙10−2 мас.%, т.е. на порядок больше (Sugimoto, Fukai, 1992). А количество водорода, извлеченного из включений самородного железа в габбро-долеритах горы Озерной Джалтульского траппового интрузива Сибирской платформы составило 1.1 см3/г, или 75% общего состава извлеченных газов (см. табл. 4.3 в (Олейников и др., 1985)).
Процесс формирования металл-силикатной структуры Fe и его сплавов с никелем и кобальтом (шарики разного размера, петли, губчатое железо) за счет окислительно-восстановительных реакций, несомненно, носит сложный характер. Этот процесс близок к металлургическим процессам восстановления в доменных печах и печах металлизации, где протекание реакций восстановления определяется не только термодинамическими закономерностями, но и закономерностями кинетики в процессе продувки руды высокотемпературными восстановительными газами (H2 + СО), которые достаточно хорошо изучены.
Таблица 3. Зависимости ΔG0 и logKр от температуры для реакций восстановления оксидов железа водородом (Попель и др., 1989; Шаповалов, 2015)
Реакция | ΔG0, Дж | lоgKp |
3Fe2O3 + H2 = 2Fe3O4 + H2O | −16 193 ― 17.67 T | 845/T + 0.923 |
Fe3O4 + H2 = 3FeO + H2O | 71 940 ― 73.62 T | −3757/T + 3.85 |
FeO + H2 = Fe + H2O | 23 430 ― 16.16 T | −1223/T + 0.845 |
Если температура восстановления близка к температуре плавления, металлы получаются в виде плотной губки. В сплавленном состоянии металлы получаются только при более высоких температурах, чем их температуры плавления (Попель и др., 1989; Шаповалов, 2015; и др.). Упомянутые окислительно-восстановительные реакции в опытах можно в первом приближении представить следующим образом:
3Fe2O3 + H2 → 2Fe3O4 + H2O, ΔН = −16.19 кДж, (2)
Fe3O4 + H2 → 3FeO + H2O, ΔН = 71.94 кДж, (3)
FeO + H2 → Fe + H2O, ΔН = 23.43 кДж, (4)
Fe2O3 + 3H2 = 2Fe + 3H2O, ΔН = 79.82 кДж, (5)
NiO + H2 → Ni + H2O, ΔН = −11.61 кДж, (6)
CoO + H2 → Co + H2O, ΔН = −15.6 кДж. (7)
Знак энтальпийных эффектов указывает на то, что восстановление оксидов железа водородом по реакциям (3), (4) и (5) является эндотермическим процессом, а по реакции (2) ― экзотермическим. Реакции (6) и (7) восстановления оксидов кобальта и никеля также экзотермические. Заметим, что не только восстановление оксидов никеля и кобальта, добавленных к исходному базальту, но также восстановление оксидов железа из расплава базальта в опытах, видимо, осуществляется в основном из окисных фаз, т.к. концентрация двухвалентного железа в силикатном расплаве лишь ненамного ниже исходной за счет восстановления и некоторого количества металла из железосодержащих силикатных фаз (табл. 1). Стандартное химическое сродство H2 к кислороду, т.е. способность водорода вступать во взаимодействие с кислородом, обычно оценивается по изменению энергии Гиббса в стандартных условиях (ΔG0). Протекание реакции восстановления металла водородом из его оксида возможно в том случае, если изменение свободной энергии этой реакции меньше нуля, т.е. ΔG0 < 0. Из уравнения изотермы Вант-Гоффа для стандартных условий при величине константы равновесия реакции Кр > 1 следует (Шаповалов, 2015; и др.):
ΔGт0 = −R∙T ln Кр = −2.3 R∙Т log Кр < 0, (8)
где R ― универсальная газовая постоянная. Следовательно, при высоких температурах металлургических процессов (до 2500 К, в наших опытах ― 1523 К) рассматриваемые реакции протекают слева направо. Температурные зависимости констант равновесия реакций восстановления железа из окислов Kр = fH2O/fH2 и ΔG0 этих реакций приведены в табл. 3, а кривые, соответствующие равновесиям реакций (2)−(5), представлены на графике (рис. 3). На рис. 3 видно, что реакция (2) при атмосферном давлении осуществляется уже при очень низкой летучести (парциальном давлении) Н2, тогда как восстановление железа из FeO требует соотношения fH2O/fH2 примерно 1:2.
Рис. 3. Зависимость состава равновесной газовой фазы от температуры для реакций восстановления оксидов железа водородом при атмосферном давлении (Шаповалов, 2015).
Выше отмечено, что железо может восстанавливаться и из силикатной части базальтовых расплавов, например по схеме:
Fe2SiO4(р) + 2H2(г) = 2Fe(т) + SiO2(р) + 2H2O(г), (9)
где р, г и т обозначают соответственно расплав, газ и твердую фазы.
В соответствии с данными (Holland, Powell, 2011), температурная зависимость стандартной энергии Гиббса реакции (9) выражается:
ΔGт0 = −22664 + 30.557 Т (Дж), (10)
т.е. она является экзотермической. В выражение для константы этой реакции, помимо летучестей Н2 и Н2О, входят активности миналов фаялита (afa) и кремнезема (aSiO2) в расплаве:
Kp(9) = (fH2O/fH2)2 aSiO2/afa, (11)
log(fH2O/fH2) = 592.02/T - 0.798 + log(afa)/2 - log(aSiO2)/2. (12)
Из уравнения (12) следует, что чем выше температура, ниже железистость и выше кремнекислотность расплава, тем меньшее давление водорода требуется для восстановления из него силикатного железа.
Так как реакции (3)−(5) ― эндотермические, то их константы равновесия возрастают с температурой, а соответствующие равновесные кривые являются нисходящими (рис. 3), т.е. для восстановления требуется все меньшая концентрация восстановителя (в наших опытах газовая фаза ― это практически чистый водород).
Отметим, что в настоящее время общепринятой теорией процесса восстановления металлов из их окислов является адсорбционно-автокаталитическая теория (Попель и др., 1989; Шаповалов, 2015; и др.). По этой теории соединение восстановителя (водород в наших опытах) с кислородом происходит не в газовой фазе, а на поверхности или внутри, в порах куска твердого вещества или в расплаве, т.е. на границе фаз оксид−газ. Собственно химический акт реакции восстановления металлов водородом состоит из трех последовательных стадий: 1 ― адсорбция водорода на поверхности восстанавливаемого оксида (реакционной поверхности); 2 ― отрыв кислорода от решетки оксида и соединение его с адсорбированными молекулами водорода, в результате чего происходит образование оксида водорода (Н2О) и перестройка кристаллической решетки оксида металла в кристаллическую решетку металла, в результате чего образуется новая твердая фаза; 3 ― десорбция газообразных продуктов восстановления (Н2О) в газовую фазу (водород в наших опытах). Длительность восстановительного процесса определяется протеканием самого медленного звена, которым обычно является вторая стадия, связанная с перестройкой кристаллической решетки. Автокаталитический характер процесса восстановления проявляется в том, что скорость реакции в кинетической области изменяется во времени и увеличивается с ростом давления. С ростом числа зародышей новой фазы и увеличением реакционной поверхности скорость реакции резко возрастает. При этом химическая реакция ускоряется под действием катализаторов ― свежевосстановленного железа, никеля и кобальта, а иногда и их оксидов. При слиянии отдельных поверхностей раздела фаз в одну фазу, поверхности раздела фаз по ходу процесса уменьшаются в размерах, и, следовательно, происходит постепенное убывание скорости реакции (Шаповалов, 2015; и др.). В рассмотренных металлургических процессах появление металлического расплава происходит в той зоне доменной печи, в которой температура превышает температуру плавления металла (чугун или сталь). При этом в металле растворяется углерод, существенно снижающий температуру плавления металлов, т.к. в металлургических процессах восстановления участвует наряду с водородом и другой газообразный восстановитель (СО). Однако в наших опытах появление очевидных ликвационных структур силикат−металл (рис. 2, 4) происходит при температурах на ~280°С ниже температуры плавления железа и на ~190°С ниже температур плавления интерметаллов (FeNiCo) при атмосферном давлении.
Рис. 4. Новообразованные металлические фазы железа, образовавшиеся в расплаве базальта как результат взаимодействия с водородом (снимки аншлифов в рентгеновских лучах FeKa1): (а) ― опыт № 2099, состав ― табл. 2; (б) ― опыт № 2100, состав ― табл. 2; (светло-серый цвет ― металлические фазы железа, черный цвет ― стекло базальта).
Образование этих структур Fe и его сплавов с никелем и кобальтом не являются однозначным свидетельством плавления металлов под давлением водорода при температуре опытов 1250°С. Такое плавление представляется маловероятным, т.к. при относительно низком общем давлении влияние давления водорода на температуру плавления железа незначительно (Габидулин, Колачев, 1977; Zinkevich et al., 2002). А немногие данные при более высоком давлении водорода (≥2000 МПа) свидетельствуют о возможном образовании гидрида железа и, соответственно, о существенном снижении температуры плавления железа (Sakamaki et al., 2009). Однако попытка расплавить пластинку чистого железа под давлением водорода при параметрах образования металлической жидкости в рассматриваемых опытах (Р(Н2) = 100 МПа, Т = 1250°С, длительность опыта 1 ч) окончилась неудачей ― металл не плавился. Не исключено, что влияние на процесс сегрегации металлического расплава в наших опытах оказывают и отмеченные выше катализаторы процесса восстановления (свежевосстановленные атомы металлов, а иногда и их оксиды), а также примеси кислорода в форме оксида железа и примесь фосфора (табл. 2), снижающие, как известно, температуры плавления железа и его сплавов с никелем и кобальтом. Определенное значение могут иметь также сила поверхностного натяжения в расплаве базальта и смачиваемость на границе расплав-металл. Установленный экспериментально процесс формирования металлических обособлений в базальтовом расплаве при его взаимодействии с водородом вполне согласуется с природными данными о находках небольших количеств металлической фазы, и прежде всего железа, в магматических породах разного состава и генезиса (Рябов и др., 1985; Олейников и др., 1985). Характерно, что многие особенности включений металлической фазы (рис. 5) в магматических породах (размеры, морфология, состав) хорошо соотносятся с наблюдаемыми в проведенных экспериментах (рис. 2, 4).
Отметим также, что наблюдаемая в опытах коалесценция (слияние) изначально мелких (микрометры) сфер металла (рис. 4, 6) в полной мере соответствует результатам изучения текстурно-структурных особенностей сегрегаций самородного железа в базитах Североамериканской и Сибирской платформ (Bird et al., 1981; Олейников и др., 1985; Левашов, Округин, 1984). В экспериментах установлено практически полное отсутствие осаждения металлических сфер в опытах, длительностью даже 5 ч (рис. 6).
Для примерной оценки скорости осаждения таких сфер металла в расплаве магнезиального базальта при указанных параметрах опытов используется известное уравнение Стокса (например, Persikov, 1998):
V = 2r2 (1 ― 2) g / 9ŋ, (13)
где r ― радиус частицы (5∙10−4 см), 1 ― плотность расплавленной металлической (Fe) сферы (7.0 г/см3), 2 ― плотность базальтового расплава (2.6 г/см3), g ― гравитационная постоянная (981 см/с2), ŋ ― вязкость базальтового расплава (200 пуаз, или 20 Па с) ― рассчитана по модели (Persikov, 1998; Persikov, Bukhtiyarov, 2009).
Рис. 5. (а) ― Вкрапленная руда самородного железа в габбро-долерите, интрузия горы Озерной, натуральная величина (белый цвет ― самородное железо, черный цвет ― порода); (б) ― бедновкрапленная руда самородного железа в оливинсодержащем rаббро-долерите. Хунгтукунская трапповая интрузия, север Сибирской платформы. Образец ― Хунг-62, натур. вел. (белый цвет ― самородное железо, черный цвет ― порода) (Рябов и др., 1985).
Рис. 6. Новообразованная интерметаллическая фаза сплава (FeNiCo), образовавшегося в расплаве базальта как результат взаимодействия с водородом (снимки аншлифов в рентгеновских лучах: (а) ― FeKα, (б) ― CoKα, (в) ― NiKα (светло-серый цвет ― интерметаллическая фаза, состав ― табл. 2; черный цвет ― стекло базальта, опыт № 2098, состав ― табл. 1).
Полученное значение скорости осаждения такой металлической сферы в расплаве магнезиального базальта (V = 1.1∙10−6 см/с) свидетельствует, что в опыте длительностью 5 ч такая сфера может опуститься в базальтовом расплаве не более чем на 200 µk. Тем самым экспериментально подтверждается предположение геологов о способности базальтовой магмы выносить металлические ликваты по магматическим каналам на гипабиссальные уровни глубин земной коры (Олейников и др., 1985).
КРАТКИЕ ВЫВОДЫ
- Полученные результаты являются экспериментальным подтверждением реальности процесса образования самородных металлов (Fe, Ni, Co) в земной коре при взаимодействии базальтового расплава с водородом при параметрах гипабиссальной фации.
- Показано впервые, что процесс металл-силикатной ликвации в базальтовых расплавах при их взаимодействии с водородом может осуществляться при реальных температурах магм в природе (≤1250°С), значительно меньших соответствующих температур плавления железа и его сплавов с никелем и кобальтом.
Благодарности
Авторы благодарны рецензентам О.А. Луканину и Е.Б. Лебедеву за их ценные замечания по работе, несомненно способствовавшие улучшению качества первоначальной версии статьи.
Источник финансирования
Работа выполнена при финансовой поддержке программы № 19 Президиума РАН.
作者简介
E. Persikov
D.S. Korzhinskii Institute of Experimental Mineralogy of Russian Academy of Sciences
编辑信件的主要联系方式.
Email: persikov@iem.ac.ru
俄罗斯联邦, Chernogolovka
P. Bukhtiyarov
D.S. Korzhinskii Institute of Experimental Mineralogy of Russian Academy of Sciences
Email: pavel@iem.ac.ru
俄罗斯联邦, Chernogolovka
L. Aranovich
Institute of ore Deposit Geology, Petrography, Mineralogy and Geochemistry RAS; D.S. Korzhinskii Institute of Experimental Mineralogy of Russian Academy of Sciences
Email: lyaranov@ige.ru
俄罗斯联邦, Moscow; Chernogolovka
A. Nekrasov
D.S. Korzhinskii Institute of Experimental Mineralogy of Russian Academy of Sciences
Email: alex@iem.ac.ru
俄罗斯联邦, Chernogolovka
O. Shaposhnikova
D.S. Korzhinskii Institute of Experimental Mineralogy of Russian Academy of Sciences
Email: zakrev@iem.ac.ru
俄罗斯联邦, Chernogolovka
参考
- Аранович Л.Я. (2013) Флюидно-минеральные равновесия и термодинамические свойства смешения флюидных систем. Петрология 21, 588–599.
- Большое трещинное Толбачинское извержение 1975−1976 гг., Камчатка. (1984) М.: Наука, 637 с.
- Вернадский В.И. (1960) Избранные сочинения. М.: Изд-во АН СССР, IV, кн. 2, 651 с.
- Галактионова Н.В. (1967) Водород в металлах. М.: Металлургия, 303 с.
- Габидуллин Р.М., Колачев Б.А. (1977) О диаграммах состояния систем металл−водород. Металловедение и литье легких сплавов. М.: Металлургия, 32−42.
- Кадик А.А. (2008) Дегазация восстановленной мантии при ее плавлении на различных этапах эволюции Земли: экспериментальные исследования. Экспериментальные исследования эндогенных процессов. Памяти академика В.А. Жарикова. (Отв. ред.: И.Д. Рябчиков, Ю.Б. Шаповалов, Е.Г. Осадчий). Черноголовка. Ред.-изд. отдел ИПХФ РАН, 15−29.
- Коржинский Д.С. (1972) Потоки трансмагматических растворов и процессы гранитизации. М.: Наука, 144−152.
- Кузнецов Ю.А., Изох Э.П. (1969) Геологические свидетельства интрателлурических потоков тепла и вещества как агентов метаморфизма и магма образования. Проблемы петрологии и генетической минералогии. М.: Наука, 7−20.
- Куровская Н.А., Луканин О.А., Игнатьев Ю.А., Кононкова Н.Н., Крюкова Е.Б. (2018) Влияние летучести водорода на растворимость и формы нахождения N–C–H–O летучих в базальтовых расплавах при 1.5 ГПа и 1400°С. Труды ВЕСЭМПГ-2018 (Под ред. Луканина О.А.). М.: ГЕОХИ, 121−124.
- Левашов В.К., Округин Б.В. (1984) Оценка физических условий формирования сегрегаций самородного железа в базальтовом расплаве. Геохимия и минералогия базитов и ультрабазитов Сибирской платформы. Якутск: ЯФ СО АН СССР, 54−62.
- Маракушев А.А., Маракушев С.А. (2010) Происхождение и флюидная эволюция Земли. Пространство и Время (1), 98−118.
- Маракушев А.А. (1995) Природа самородного минералообразования. ДАН 341 (6), 807−812.
- Олейников Б.В., Округин А.В., Томшин М.Д. и др. (1985) Самородное металлообразование в платформенных базитах. (Под ред. В.В. Ковальского). Якутск: ЯФ СО АН СССР, 124 с.
- Персиков Э.С., Бухтияров П.Г., Польской С.Ф., Чехмир А.С. (1986) Взаимодействие водорода с магматическими расплавами. Эксперимент в решении актуальных задач геологии. (Под ред. В.А.Жарикова и В.В. Федькина). М.: Наука, 48−70.
- Попель С.И., Сотников А.И., Бороненков В.Н. Теория металлургических процессов. М.: Металлургия, 1989, 287 с.
- Рябов В.В., Павлов А.Л., Лопатин Г.Г. (1985) Самородное железо сибирских траппов. Новосибирск: Наука СО РАН, 167 с.
- Самородные металлы в изверженных породах. (1985) Всесоюзная конференция. Тезисы докладов, часть 1. (Под ред. Б.В. Олейникова). Якутск: ЯФ СО АН СССР, 188 с.
- Шаповалов А.Н. (2015) Теория металлургических процессов. Новотроицк: НФ НИТУ «МИСиС», 91 с.
- Barin I. (1995) Thermochernical data of pure substances. Third Edition. VCH Publishers, Inc., New York, USA, 1885 p.
- Bird J.M., Goodrick C.A., Weathers M.S. (1981) Petrogenesis of Uiviaq iron, Disko Island, Greenland. J. Geophys. Res. 86 (12), 11787−11806.
- Galimov E.M. (2005) Redox evolution of the earth caused by a multistage formation of its core. Earth Planet. Sci. Lett. 233, 263−276.
- Gilat A., Vol A. (2005) Primordial hydrogen-helium degassing, an overlooked major energy source for internal terrestrial processes. HAIT Journal of Science and Engineering B 2 (1−2), 125−167.
- Holland T.J.B., Powell R. (2011) An improved and extended internally consistent thermodynamic dataset for phases of petrological interest, involving a new equation of state for solids. J. Meta. Geol. 29, 333−383.
- Jambon A. (1994) Earth degassing and large scale geochemical cycling of volatile elements. Rev. Miner. 30, 479−517.
- Jana D., Walker D. (1999) Core formation in the presence of various C–H–O volatile species. Geochim. Cosmochim. Acta 63, 2299−2310.
- Javoy M. (1998) The Birth of the Earth’s atmosphere: the behavior and fate of the major elements. Chem. Geol. 147, 11−25.
- Kadik A.A., Koltashev V.V., Kryukova E.B., Plotnichenko V.G., Tsekhonya T.I., Kononkova N.N. (2014) Solution behavior of C–O–H volatiles in FeO–Na2O–Al2O3–SiO2 melts in equilibrium with liquid iron alloy and graphite at 4 GPa and 1550°C. Geochem. Int. 52 (9), 707−725.
- Kadik A.A., Koltashev V.V., Kryukova E.B., Plotnichenko V.G., Tsekhonya T.I., Kononkova N.N. (2015) Solubility of nitrogen, carbon, and hydrogen in FeO–Na2O–Al2O3–SiO2 melt and liquid iron alloy: influence of oxygen fugacity. Geochem. Int. 53 (10), 849−868.
- Kadik A.A., Kurovskaya N.A., Lukanin O.A., Ignat’ev Yu.A., Koltashev V.V., Kryukova E.B., Plotnichenko V.G., Kononkova N.N. (2017) Formation of N−С–О–Н molecules and complexes in the basalt–basaltic andesite melts at 1.5 GPa and 1400°C in the presence of liquid iron alloys. Geochem. Int. 55 (2), 151−162.
- Mysen B.O. (1991) Relation between structure, redox equlibria of iron, and properties of magmatic liquids. Physical chemistry of magmas. Adv. Phys. Geochem. Eds., Perchuk L.L. & Kushiro I. Springer-Verlag, New York, 9, 41−98.
- Luth R.W., Mysen B.O., Virgo D. (1987) Raman spectroscopic study of the solubility behavior of H2 in the system Na2O–Al2O3–SiO2–H2. Amer. Miner. 72, 481−486.
- Narygina O., Dubrovinsky L.S., McCammon C.A., et al. (2011) X-ray diffraction and Mössbauer spectroscopy study of fcc iron hydride FeH at high pressures and implications for the composition of the Earth’s core. Earth Planet. Sci. Lett. 307, 409−414.
- Papale P., Moretti R., Barbato D. (2006) The compositional dependence of the saturation surface of H2O + CO2 fluids in silicate melts. Chem. Geol. 229, 78−95.
- Persikov E.S., Zharikov V.A., Bukhtiyarov P.G., Pol’skoy S.F. (1990) The effect of volatiles on the properties of magmatic melts. Eur. J. Mineral 2, 621−642.
- Persikov E.S. (1998) Viscosity of model and magmatic melts at the pressures and temperatures of the Earth’s crust and upper mantle. Russian Geology and Geophysics 39 (11), 1780−1792.
- Persikov E.S., Bukhtiyarov P.G. (2002) Unique high gas pressure apparatus to study fluid−melts and fluid−solid−melts interaction with any fluid composition at the temperature up to 1400°C and at the pressures up to 5 Kbars. J. Conf. Abs. 7 (1), 85.
- Persikov E.S., Bukhtiyarov P.G. (2009) Interrelated structural chemical model to predict and calculate viscosity of magmatic melts and water diffusion in a wide range of compositions and T−P parameters of the Earth’s crust and upper mantle. Russian Geology and Geophysics 50, 1079−1090.
- Righter K. (2015) Modeling siderophile elements during core formation and accretion, and the role of the deep mantle and volatiles. Amer. Miner. 100, 1098−1109.
- Ringwood A.E. (1977) Composition of the core and implications for origin of the Earth. Geochem. J. 11, 111−35.
- Ryabov V.V., Lapkovsky A.A. (2010) Native iron (platinum) ores from the Siberian Platform trap intrusions. Aust. J. Earth Sci. 57, 707−730.
- Sakamaki K., Takahashi E., Nakajima Y., Nishihara Y., Funakoshi K., Suzuki T., Fukai Y. (2009) Melting phase relation of FeHx up to 20 GPa: Implication for the temperature of the Earth’s core. Phys. Earth Planet. Inter. 174, 192−201.
- Stevenson D. J. (1977) Hydrogen in the Earth’s core. Nature 268, 130−131.
- Stevenson D.J. (1981) Models of the Earth’ core. Science 214, 611−619.
- Sugimoto H, Fukai Y. (1992) Solubility of hydrogen in metals under high hydrogen pressures: thermodynamical calculations. Acta Metal. Mater. 40 (9), 2327−2336.
- Sweeney R. (1997) The role of hydrogen in geological processes in the Earth’s interior. Solid State Ionics 97, 393−97.
- Wetherill G.W. (1990) Formation of the Earth. Annu. Rev. Earth Planet. Sci. 18, 205−256.
- Williams Q., Hemley R.J. (2001) Hydrogen in the deep earth. Annu. Rev. Earth Planet. Sci. 29, 365−418.
- Wood B.J. (1997) Hydrogen: an important constituent of the core? Science 278, 1727.
- Wood B.J., Walter M.J., Wade J. (2006) Accretion of the Earth and segregation of its core. Nature 441, 825−833.
- Zinkevich M., Mattern N., Handstein A., Gutfleisch O. (2002) Thermodynamics of Fe–Sm, Fe–H, and H–Sm systems and its application to the hydrogen–disproportionation–desorption–recombination (HDDR) process for the system Fe17 Sm2–H2. J. Alloys Compd. 339, 118−139.
补充文件








