Modernization of the granular materials dryer
- Authors: Altukhova T.A.1, Altukhov S.V.1, Shukhanov S.N.1
-
Affiliations:
- Irkutsk State Agrarian University
- Issue: Vol 89, No 2 (2022)
- Pages: 149-153
- Section: Economics, organization and technology of production
- Submitted: 12.02.2022
- Accepted: 23.05.2022
- Published: 18.11.2022
- URL: https://journals.eco-vector.com/0321-4443/article/view/100577
- DOI: https://doi.org/10.17816/0321-4443-100577
- ID: 100577
Cite item
Full Text
Abstract
BACKGROUND: The solving of priority tasks for the development of the agro-industrial complex considers the creation of advanced scientific developments. Innovative research of technical means and technologies of mechanization of agricultural production is not an exception in this regard. In the agricultural sector of Russia, crop production occupies a key place, in which the cultivation of grain crops is a priority. In the whole range of operations in the production of grain, the most important part of it is post-harvest processing of grain. One of the main stages in the post-harvest processing of grain is drying, in which the raw materials are brought to the moisture regain (down to 14%). Proper preparation of grain for storage ensures its reliable safety.
AIMS: Modernization of the granular materials dryer by means of new technical solution at the level of patentability.
METHODS: Research of the state of the issue on the topic under consideration with the help of a review of literary sources. Patent search for technical devices of grain dryers. Studying the principle of their functioning and design features. Analysis and generalization of the material for the adoption of a new design solution.
RESULTS: The use of innovative technologies with the new generation harvesters, characterized by high productivity, has significantly reduced the duration of harvesting, and this, in turn, has significantly aroused the interest in drying. The use of dryers with improved quality indicators of functioning significantly reduces the time for preparing raw materials for long-term storage, reduces grain losses in the field during harvesting, and, in addition, makes it possible to carry out the process of transferring grain from the field to a special long-term storage warehouse in the shortest possible time and with the least losses. There are various ways of drying granular materials. These are main methods based on increasing the temperature of the processed material. Drying of grain with the help of heated air has become the most widespread.
CONCLUSIONS: As a result of the conducted research, the drawbacks of existing technical devices for granular materials drying, as well as the principles of their functioning, have been revealed. A detailed analysis of literary sources, including a patent search, made it possible to upgrade the processed raw materials dryer, characterized by a simple and reliable design.
Full Text
ВВЕДЕНИЕ
Решение приоритетных задач развития агропромышленного комплекса предусматривает создание передовых научных разработок [1–3]. Не составляют исключение в этом плане инновационные исследования технических средств и технологий механизации сельскохозяйственного производства [4, 5]. В аграрном секторе России ключевое место занимает растениеводство, в котором приоритет имеет возделывание зерновых культур. Во всем комплексе операций при производстве зерна важнейшим звеном является послеуборочная обработка зерна. Она в свою очередь включает такие операции, как предварительная очистка, первичная очистка, вторичная очистка зерна, сушка, а также активное вентилирование.
Одним из главных этапов в послеуборочной обработке зерна является сушка, при которой сырье доводится до кондиционной влажности (до 14%). Правильная подготовка зерна к хранению обеспечивает ее надежную сохранность. Использование инновационных технологий с использованием комбайнов нового поколения с высокой производительностью позволило значительно сократить продолжительность уборки, а это в свою очередь существенно подняло интерес к сушке. Применение сушилок с повышенными качественными показателями функционирования заметно снижает время на подготовку сырья к длительному хранению, уменьшает потери зерна в поле в уборочную страду, а также дает возможность в кратчайшие сроки и с наименьшими потерями осуществить процесс передачи зерна с поля на специальный склад длительного хранения. Имеют место быть различные способы сушки зернистых материалов. Главным образом это методы, основанные на повышении температуры обрабатываемого материала. Наибольшее распространение получила сушка зерна с помощью нагретого воздуха.
ЦЕЛЬ ИССЛЕДОВАНИЙ
Модернизация установки для сушки зернистых материалов посредством нового технического решения на уровне патентопригодности.
МАТЕРИАЛЫ И МЕТОДЫ
Исследование состояния вопроса по рассматриваемой теме с помощью обзора литературных источников. Патентный поиск технических устройств зерносушилок. Изучение принципа их функционирования и конструктивных особенностей. Анализ и обобщение материала для принятия нового конструкторского решения.
РЕЗУЛЬТАТЫ ИССЛЕДОВАНИЙ
Существующие установки для сушки зерна имеют ряд недостатков. Например, вихревой аппарат, состоящий из рабочей камеры, газоотвода, разгрузочного устройства в виде осадочной камеры, приемного бункера, газоподающего устройства, верхнего и нижнего коллекторов [6]. В качестве отрицательной стороны данной установки необходимо отметить наличие двух воздухоподающих коллекторов, в том числе выступа на днище камеры в форме торовой поверхности, что существенно усложняет изготовление технического устройства.
Другой аппарат включает в себя рабочую камеру, газоподающий патрубок, приемный бункер, газоотводящее устройство. Рабочая камера спроектирована в форме рукава, навитого вертикально по виду цилиндрической пружины растяжения с формированием его свободных, нижнего, а также верхнего концов, установленных горизонтально; газоподающий патрубок изготовлен в виде струйного насоса, камера смешения которого скоммутирована с нижним концом рукава; приемный бункер сообщен с полостью подвода перекачиваемой среды, а газоотводящее устройство сообщено с верхним концом рукава.
Существенный минус этого аппарата – это недостаточная надежность, а именно то, что он не обеспечивает поддержание формы эластичного рукава в виде навитой цилиндрической пружины растяжения.
Модернизация сушилки зернистых материалов заключалась в создании технического устройства, имеющего простую конструкцию и повышенную надежность [7]. Аппарат дополнительно включает в себя наружные, а также внутренние направляющие стойки, установленные попарно, одна из которых закреплена с наружной, а другая с внутренней стороны сформированного рукавом полого цилиндра. Указанные пары стоек жестко смонтированы с основанием и равномерно размещены по окружностям названного цилиндра. В том числе свободные концы указанных пар стоек жестко скреплены между собой, свободные концы диаметрально противоположных стоек, установленных снаружи цилиндра, также жестко соединены между собой. Это повышает надежность установки, а именно, сохранить форму рукава в форме навитой цилиндрической пружины растяжения.
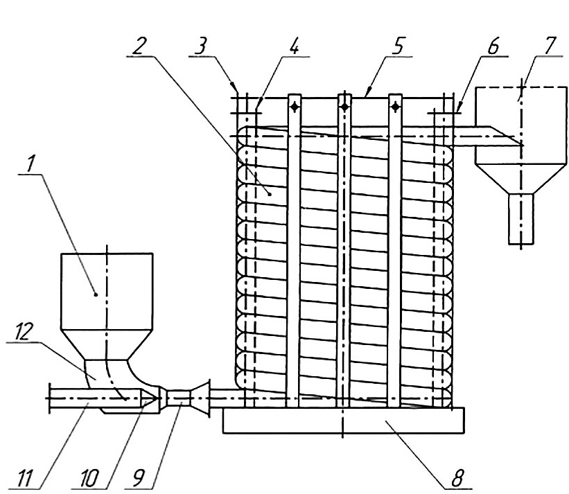
На рис. 1 проиллюстрирована схема аппарата для сушки зернистых материалов [7]. Установка включает в себя рукав 2, навитого вертикально по форме цилиндрической пружины растяжения, струйный насос, приемный бункер 1 и разгрузочное (газоотводящее) устройство 7 в виде осадочной камеры. Струйный насос состоит из подвода 12 перекачиваемого сырья (зернистого материала), подвода 11 внешнего потока (воздуха), сопла 10, в том числе камеры 9 смешения. Навитый рукав 2 вертикально (в виде полого цилиндра, установленного своим основанием на горизонтальную опору) установлен на основании 8. Навивка рукава 2 изготовлена с образованием его свободных, нижнего, а также верхнего концов, размещенных горизонтально. Газоподающий патрубок изготовлен в виде струйного насоса, камера 9 смешения которого скоммутирована с нижним концом рукава. Приемный бункер 1 сообщен с полостью подвода 12 к насосу перекачиваемого сырья, а разгрузочное устройство 7 – с верхним концом рукава 2. С целью сохранения формы рукава в виде навитой цилиндрической пружины растяжения в конструкцию аппарата включены наружные 3, а также внутренние направляющие стойки 4, установленные попарно, одна из которых закреплена с наружной, другая с внутренней стороны сформированного рукавом полого цилиндра. При этом указанные пары стоек 3 и 4 жестко смонтированы с основанием 8 и равномерно размещены по окружностям названного цилиндра. Количество пар стоек 3 и 4 может быть установлено в зависимости от диаметра цилиндра, например, равным восьми и более. Кроме того, свободные концы стоек 3 и 4 жестко скреплены между собой. При этом свободные концы диаметрально противоположных стоек 3, расположенных снаружи цилиндра, также жестко скреплены между собой. Соединение стоек 3 и 4, в том числе соединение стоек 3 между собой осуществлено, соответственно, при помощи коротких 6, а также длинных 5 стяжек в виде шпилек с гайками на их концах.
Рис. 1. Схема аппарата для сушки зернистых материалов. / Fig. 1. Scheme of the machine for granular materials drying.
Установка функционирует следующим образом [10]. Заправляют бункер 1 зернистой средой, в частности, зерном пшеницы. Зерно под действием силы тяжести поступает в струйный насос – в подвод 12 перекачиваемого материала (во всасывающую полость). В подвод 11 внешнего потока подают сжатый воздух, который проходит через сопло 10 и увлекает за собой зерно. Далее эта среда через камеру 9 смешения поступает в рукав 2 и далее поднимается по нему до верхнего конца рукава 2, а после ссыпается из него в разгрузочное устройство 7, где воздух поднимается вверх и затем выходит в атмосферу, а материал оседает в донной части этого устройства. За время прохождения обрабатываемого материала по рукаву 2 от насоса до разгрузочного устройства 7 осуществляется его сушка. Из-за того, что рукав 2 герметичен, а также в нем нет резких переходов, процесс происходит надежно. При этом аппарат для сушки зернистых материалов имеет простую конструкцию. Установка в конструкции стоек 3 и 4, скрепленных стяжками 6 и 5, гарантирует надежность аппарата.
ВЫВОДЫ
В результате проведенных исследований выявлены недостатки существующих технических устройств для сушки зернистых материалов, а также принципов их функционирования. Подробный анализ литературных источников, включая патентный поиск, позволил модернизировать сушилку обрабатываемого сырья, отличающуюся простой и надежной конструкцией.
ДОПОЛНИТЕЛЬНАЯ ИНФОРМАЦИЯ
Вклад авторов. Все авторы подтверждают соответствие своего авторства международным критериям ICMJE (все авторы внесли существенный вклад в разработку концепции, проведение исследования и подготовку статьи).
Наибольший вклад распределен следующим образом: С.Н. Шуханов — разработка общей концепции и редактирование статьи; С.В. Алтухов — обзор литературы, сбор и анализ литературных источников; Т.А. Алтухова — обзор литературы, подготовка и написание текста статьи.
Конфликт интересов. Авторы заявляют об отсутствии конфликта интересов.
Источник финансирования. Не указан.
ADDITIONAL INFORMATION
Authors’ contribution. All authors certify that they meet the ICMJE international criteria for authorship.
S.N. Shukhanov — development of the general concept, editing the text of the manuscript; S.V. Altukhov — references review, collection and analysis of references sources: T.A. Altukhova — references review, preparation and writing the text of the manuscript.
Competing interests. The authors declare that they have no competing interests.
Funding source. Not specified.
About the authors
Tatyana A. Altukhova
Irkutsk State Agrarian University
Email: altukhova@bk.ru
ORCID iD: 0000-0001-8096-3867
SPIN-code: 5484-6776
Associate Professor, Cand. Sci. (Engin.), Associate Professor of the “Operation of Agricultural Machinery, Health and Safety and Vocational Training” Department
Russian Federation, IrkutskSergey V. Altukhov
Irkutsk State Agrarian University
Email: sergeialtuhov@bk.ru
ORCID iD: 0000-0001-7123-307X
SPIN-code: 7047-0458
Associate Professor, Cand. Sci. (Engin.), Associate Professor of the “Technical Service and General Engineering Disciplines” Department
Russian Federation, IrkutskStanislav N. Shukhanov
Irkutsk State Agrarian University
Author for correspondence.
Email: Shuhanov56@mail.ru
ORCID iD: 0000-0003-2134-6871
SPIN-code: 6382-4059
Associate Professor, Dr. Sci (Engin.), Professor of the “Technical Support of the Agro-Industrial Complex” Department
Russian Federation, IrkutskReferences
- Svechnikov VN, Medyakov AA, Kudinova TA, Ostashenkov AP. Modelirovanie raboty sistemy energosnabzheniya teplichnogo kompleksa. Inzhenernyi vestnik Dona. 2018;(4):158. (In Russ).
- Butenko AF., Asaturyan AV., Voronov EV. O konstruktivnykh osobennostyakh i printsipe raboty eksperimental’nogo zernometatelya s lopastnym barabanom. Vestnik Altaiskogo gosudarstvennogo agrarnogo universiteta. 2019;(12):131–136. (In Russ).
- Ivan’o YaM, Asalkhanov PG, Bendik NV. Applying big data to planning food production in conditions of uncertainty. Modelirovanie sistem i protsessov. 2021;14(2):13–20. (In Russ).
- Kokieva GE, Druz’yanova VP. Issledovanie vysokoproizvoditel’nykh i malogabaritnykh vintovykh transporterov-zernopogruzchikov v sel’skom khozyaistve. Dal’nevostochnyi agrarnyi vestnik. 2021;(1):79–87. (In Russ).
- Ochirov VD, Altukhov IV, Bykova SM, Tsuglenok NV. Investigation of infrared drying of carrot chips. IOP Conference Series: Earth and Environmental Science. 2021;659(1). doi: 10.1088/1755-1315/659/1/012037
- Patent RUS № 2341331 C1/ 10.07.2005. Byul. № 19. Borontsoev AA, Khankhasaev GF, Tukhalov AV. Vortical device for cooling of loose materials. Available from: https://elibrary.ru/item.asp?id=37665759 (In Russ).
- Patent RUS № 2708913 C2/ 12.12.2019. Byul. № 35. Khabardin VN, Altukhova TA. Installation for drying of grained materials. Available from: https://elibrary.ru/item.asp?id=41554156 (In Russ).
Supplementary files




