Algorithm for calculating the optimal value of the field substation voltage
- Authors: Starikov A.V.1, Tabachnikova T.V.2, Kazantsev A.A.1, Kosorlukov I.A.1
-
Affiliations:
- Samara State Technical University
- Almetyevsk State Oil Institute
- Issue: Vol 29, No 4 (2021)
- Pages: 116-131
- Section: Electrical Engineering
- URL: https://journals.eco-vector.com/1991-8542/article/view/105943
- DOI: https://doi.org/10.14498/tech.2021.4.9
- ID: 105943
Cite item
Full Text
Abstract
The article is devoted to improving the energy efficiency of mechanized mining by selecting the optimal voltage level at the field substation, which provides the required optimization criterion. An unbranched line extending from the field substation, which supplies an arbitrary number of electrical complexes of producing wells, is considered. It is shown that these complexes can contain both submersible centrifugal pumps and rod borehole pumping units driven by asynchronous motors. Mathematical models of electrical complexes of producing wells are nonlinear and are described by high-order differential equations. Therefore, the problem of finding the optimal voltage level of a field substation can only be solved using numerical methods. An algorithm for calculating the optimal voltage value is developed, taking into account the technological features of mechanized oil production. It is a search algorithm that contains three internal cycles: voltage variations at the asynchronous motor farthest from the field substation, sorting out the nodes of the outgoing line, and equalizing the voltage at the nodes when the load of the electrical complexes of the producing wells changes. Well-known analytical expressions are given for calculating the active, reactive and full load of step-up and step-down transformers used in the considered electrical complexes, as well as power losses on these elements and on air and cable lines. A distinctive feature of the presented algorithm is the calculation of the speed of submersible and ground asynchronous motors when the supply voltage changes, taking into account the mechanical characteristics of centrifugal and plunger pumps. An example of calculating the optimal voltage value of a field substation feeding a hypothetical outgoing line with three nodes is given. It is noted that the developed algorithm is a reflection of the method of choosing the optimal voltage of the field substation. Moreover, this algorithm can be adapted to any outgoing line, no matter how complex and branched it is.
Full Text
Повышение энергетической эффективности механизированной добычи нефти является актуальной задачей, позволяющей минимизировать потребление электрической энергии на кубометр поднятой на поверхность жидкости. Пути решения этой задачи разнообразны и включают в себя энергоэффективный дизайн погружной установки [1, 2], разработку насосов, электродвигателей и трансформаторов с большим коэффициентом полезного действия, компенсацию потребляемой реактивной мощности [3] и другие направления [4, 5].
Целью проводимого исследования является решение задачи выбора оптимального значения напряжения промысловой подстанции (ПС), обеспечивающего минимум энергетических затрат при механизированной добыче нефти.
Рассмотрим отходящую от промысловой ПС линию, питающую электротехнические комплексы добывающих скважин (ЭКДС) (рис. 1).
Рис. 1. Неразветвленная отходящая линия электротехнического комплекса добывающих скважин с произвольным числом узлов
Предположим, что отходящая линия нефтяного промысла является неразветвленной и содержит узлов, к которым подключены ЭКДС, оснащенные погружными центробежными или штанговыми скважинными насосами.
В приводе центробежных насосов в основном применяются погружные электродвигатели (ПЭД), как правило, асинхронные [6]. Штанговые скважинные насосы оснащаются наземными асинхронными двигателями (АД) со стандартным напряжением 0,4 кВ (380 В). В отличие от этого все ПЭД являются высоковольтными с нестандартным номинальным напряжением. Поэтому электротехнический комплекс с погружным центробежным насосом включает в себя повышающий с 0,4 кВ до необходимого напряжения трансформатор, например типа ТМПН. Поскольку напряжение на выходе промысловой ПС, как правило, составляет 6 или 10 кВ, то в составе всех ЭКДС имеются понижающие до 0,4 кВ трансформаторы. Особенность погружных центробежных насосов заключается также в наличии кабеля большой длины, который соединяет ПЭД с повышающим трансформатором. Потери мощности на этом кабеле достигают существенных значений, поэтому перспективной тенденцией в настоящее время является установка на погружной двигатель конденсаторного устройства компенсации реактивной мощности, снижающего величину полного потребляемого тока.
Асинхронные двигатели, приводящие в движение насосы, потребляют как активную, так и реактивную мощность, причем зависимость потребляемой мощности от напряжения питания является существенно нелинейной. Поэтому вариация напряжения на выходе промысловой ПС приводит к изменению скорости вращения электродвигателей, производительности насосов, потребляемой активной и реактивной мощности, потерь в воздушных и кабельных линиях и трансформаторах. Нелинейной также является зависимость реактивной мощности, вырабатываемой конденсаторами, предназначенными для компенсации реактивной мощности. В связи с этим можно предположить, что существует такое напряжение промысловой подстанции, которое доставит минимум какому-либо энергетическому показателю.
Однако следует учитывать, что асинхронный двигатель описывается системой пяти нелинейных дифференциальных уравнений [7–14], аналитического решения которых принципиально не существует. Поэтому даже для выбора оптимального уровня напряжения питания одного двигателя необходимо пользоваться численными методами расчета. Задача определения оптимальной величины напряжения промысловой ПС еще более осложняется тем, что к одной отходящей линии может быть подключено 10 и более скважин и количество решаемых одновременно уравнений существенно возрастает. Поэтому принципиально расчет оптимальной величины напряжения на выходе промысловой подстанции должен производиться численными методами с привлечением того или иного программного продукта.
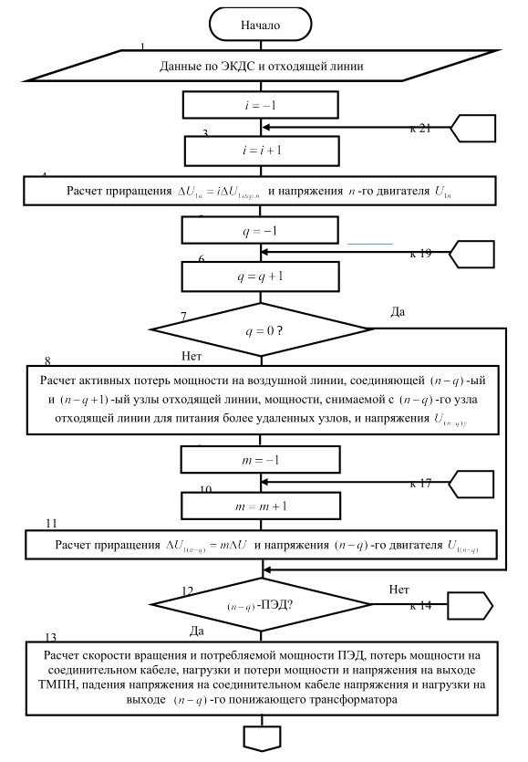
Для решения поставленной задачи был разработан алгоритм выбора оптимального напряжения промысловой ПС, питающей отходящую линию с ЭКДС (рис. 2). Алгоритм универсален, поскольку он позволяет удовлетворить любому выбранному критерию оптимизации с учетом особенности технологического процесса механизированной добычи нефти. Представленный алгоритм отражает методику расчета оптимального напряжения промысловой ПС, питающей отходящую линию, к которой подключены электротехнические комплексы добывающих скважин.
Исходными данными для расчета являются: количество узлов n; производительности насосов при номинальной скорости двигателей; коэффициенты или механической характеристики в зависимости от типа насоса, применяемого в скважине; параметры Г-образной схемы замещения асинхронных двигателей ; скорости идеального холостого хода и номинальные скорости вращения двигателей; номинальные значения моментов двигателей , Мном1 – М номn; моменты трогания ; минимально допустимые значения фазного напряжения двигателей ; шаг приращения напряжения двигателя самого удаленного узла ; шаг приращения напряжения двигателей с 1-го до -го; максимально допустимое напряжение на статоре самого удаленного двигателя ; коэффициенты полезного действия двигателей ; коэффициенты передачи двигателей по отношению к изменению напряжения статора ; паспортные данные повышающих и понижающих трансформаторов ; активные и индуктивные сопротивления кабельных линий ; активные и индуктивные сопротивления воздушных линий ; активные и индуктивные сопротивления между узлами отходящей линии; реактивные сопротивления конденсаторных батарей, подключенных к статорным обмоткам асинхронных двигателей .
Во втором блоке присваивается условный номер шага расчетов . Затем организуется цикл расчетов с вариацией напряжения на самом удаленном двигателе с погружным насосом. В третьем блоке (операторе присвоения) к предыдущему номеру шага расчета прибавляется 1. Поэтому расчет начинается при , и в четвертом операторе рассчитывается приращение фазного напряжения и находится напряжение на самом удаленном двигателе, подключенном к n-ому узлу отходящей линии:
. (1)
То есть на первом шаге расчетов принимается минимально допустимая величина фазного напряжения на самом удаленном двигателе, например на 10 % меньше номинального значения.
В шестом блоке переменной , с помощью которой организуется цикл расчетов для каждого узла отходящей линии, присваивается значение . В седьмом блоке к предыдущему значению прибавляется 1, то есть становится равной 0. Следующий блок производит сравнение величины с нулем, и поскольку на первом шаге этого цикла (цикла узлов) так оно и есть, то разработанная методика и алгоритм расчета отправляют нас к блоку 12. Если электродвигатель -го узла является погружным, то мы переходим к блоку 13.
Поэтому в блоке 13 производится последовательный расчет скорости вращения ПЭД [15]
; (2)
фактического скольжения ротора
; (3)
потребляемой этим двигателем активной
(4)
и реактивной [16] мощности
; (5)
Рис. 2. Алгоритм расчета оптимального напряжения промысловой ПС, питающей отходящую линию с ЭКДС
потерь активной и реактивной мощности на соединительном кабеле [16]
, (6)
. (7)
В блоке 13 также рассчитывается активная, реактивная и полная нагрузка, снимаемая с выхода повышающего трансформатора
, (8)
, (9)
; (10)
напряжение на выходе ТМПН
(11)
падение напряжения на соединительном кабеле
; (12)
коэффициент загрузки, потери мощности и падение напряжения на этом трансформаторе
, (13)
, (14)
, (15)
, (16)
, (17)
где
;
.
Затем расчет переходит в блок 15, в котором определяется напряжение
(18)
на выходе -го понижающего трансформатора, обеспечивающего требуемое напряжение на статоре ПЭД, и активная, реактивная и полная нагрузка понижающего трансформатора
, (19)
, (20)
. (21)
Если асинхронный двигатель самого удаленного насоса принадлежит ШСНУ, то расчет происходит по другой ветви представленного алгоритма и из блока 12 мы переходим в блок 14, где определяется средняя скорость двигателя за период качания
. (22)
Затем в блоке 14 происходит последовательное вычисление среднего скольжения , потребления двигателем ШСНУ активной и реактивной мощности по формулам с точностью до обозначения, повторяющим выражения (3) – (5). Далее в этом же блоке происходит расчет напряжения и нагрузки понижающего трансформатора
, (23)
, (24)
, (25)
. (26)
Из блоков 13 и 14 алгоритм приводит нас в блок 15, в котором по формулам с точностью до обозначения, повторяющим выражения (13) – (16), производится расчет коэффициента загрузки и потерь мощности на понижающем трансформаторе. В блоке 15 также определяются активная, реактивная и полная мощность на входе понижающего трансформатора и падение напряжения на нем:
, (27)
, (28)
, (29)
, (30)
где ; .
Далее в блоке 15 находится напряжение на входе понижающего трансформатора
, (31)
потери активной и реактивной мощности на воздушной линии, соединяющей -й узел отходящей линии с соответствующим трансформатором, и напряжение на этом узле:
, (32)
, (33)
(34)
Если идет первый шаг цикла узлов, то есть , то в алгоритме расчета происходит переход в блок 18, где производится расчет падения напряжения на воздушной линии, соединяющей -й узел отходящей линии с понижающим трансформатором:
. (35)
Затем в блоке 18 находится активная и реактивная мощность, снимаемая с -го узла:
, (36)
(37)
и поскольку на первом шаге цикла узлов , то в алгоритме расчета оптимального напряжения промысловой ПС происходит переход в блок 6, где начинается новый шаг в цикле узлов. В этом случае , поэтому в блоке 8 вычисляются активные и реактивные потери мощности на воздушной линии, соединяющей -й и -й узлы отходящей линии:
, (38)
. (39)
Далее в блоке 8 определяются значения активной и реактивной мощности, снимаемой с -го узла отходящей линии для питания более удаленных узлов, и напряжение на узле с номером :
, (40)
, (41)
(42)
Затем алгоритм расчета переходит в блок 9, где переменной присваивается начальное значение , после чего в блоке 10 к этому значению прибавляется 1 и начинается цикл подбора напряжения на статоре -го асинхронного двигателя, которое должно быть при напряжении . Поэтому в блоке 11 рассчитывается в зависимости от величин и значение фазного напряжения на статоре -го асинхронного двигателя:
. (43)
Далее вычислительные процедуры переходят в блок 12 и повторяются те же самые расчеты, которые были при . Единственная отличительная особенность вычислений при заключается в том, что после блока 16 происходит переход в блок 17, где сравниваются значения с . Если они не совпадают, то опять происходит переход в блок 10 и повторяются все расчеты, пока и не совпадут с некоторой незначительной погрешностью.
При совпадении с вычислительные процедуры переходят в блоки 18 и 19, и затем циклы узлов и подбора напряжения на статоре -го асинхронного двигателя повторяются до тех пор, пока в блоке 19 не зафиксируется значение , подтверждающее, что расчеты по всем узлам отходящей линии завершены.
После этого алгоритм приводит нас в блок 20, где происходит последовательный расчет активных и реактивных потерь мощности на воздушной линии, соединяющей промысловую ПС питания с 1-м узлом отходящей линии, активной , реактивной и полной мощности и напряжения промысловой ПС:
, (44)
, (45)
, (46)
, (47)
, (48)
. (49)
Затем в блоке 20 вычисляются падение напряжения
(50)
на воздушной линии, соединяющей центр питания с первым узлом, суммарные потери активной и реактивной мощности; сумма падений напряжений на всех элементах принципиальной схемы отходящей линии. Минимизация этих потерь может выступать в качестве одного из критериев оптимизации.
Однако следует заметить, что вариация напряжения на асинхронных двигателях погружных насосов в соответствии с формулами (2) и (22) приводит к изменению производительности этих насосов и суммарного дебита всех скважин, подключенных к рассматриваемой отходящей линии. Суммарный дебит может быть подсчитан по формуле
. (51)
Отсюда можно ввести в рассмотрение коэффициент эффективности и удельные затраты энергии и , которые также рассчитываются в блоке 20 по формулам
, (52)
, (53)
. (54)
Далее алгоритм переходит в блок 21, где сравнивается напряжение на самом удаленном двигателе с максимально допустимым значением . Если оно не достигнуто, то происходит переход в третий блок и выполняются все описанные выше расчеты для другого напряжения на статоре самого удаленного двигателя.
После перебора всех возможных значений с шагом вычислительные процедуры заканчиваются и в блоке 22 происходит выбор оптимального значения напряжения промысловой подстанции, соответствующего требуемому критерию оптимизации.
Отличительная особенность разработанной методики и алгоритма расчета оптимальной величины напряжения промысловой ПС заключается в том, что она учитывает технологические аспекты механизированной добычи нефти, а именно нагрузочные характеристики погружных насосов разных типов.
Процесс вычисления оптимального уровня напряжения легко автоматизируется, поскольку представленный выше алгоритм может быть реализован, например, в программе MathCAD.
Для примера приведем результаты расчета оптимальной величины напряжения на промысловой подстанции для гипотетической отходящей линии нефтяного промысла с количеством узлов . К первому и третьему узлам подключены ЭКДС с центробежными насосами и ПЭД, ко второму – ШСНУ. Рассматриваемые ЭКДС имеют следующие необходимые для расчета параметры:
м3/сутки, м3/сутки, м3/сутки;
Нмс2/рад, Нмс/рад, Нмс2/рад;
Ом, Ом;
Ом, Ом;
Ом, Ом;
рад/с, рад/с;
рад/с, рад/с;
Нм, Нм;
Нм, Нм;
В, В;
В, В; В;
;
рад/Вс, рад/Вс;
кВА;
кВ;
кВт; кВт;
кВАр; кВАр;
%;
;
кВА;
кВ;
кВт;
кВт;
кВАр;
кВАр;
%;
;
Ом, Ом;
Ом, Ом;
Ом, Ом, Ом;
Ом, Ом, Ом;
Ом, Ом, Ом;
Ом, Ом, Ом.
Предположим, что погружные асинхронные двигатели оснащены индивидуальными конденсаторными устройствами для компенсации реактивной мощности с реактивными сопротивлениями Ом.
В соответствии с разработанной методикой и алгоритмом произведены расчеты по формулам (1) – (54), результаты которых приведены в табл. 1, 2.
Таблица 1. Зависимость потребляемой мощности от промысловой подстанции и суммарных потерь мощности в трансформаторах и кабельных и воздушных линиях от уровня напряжения
, В | , % | , кВт | , кВАр | , кВт | , кВАр |
5385 | -10 | 8,163 | 16,762 | 108,192 | 55,136 |
5664 | -5 | 7,925 | 16,838 | 109,402 | 55,893 |
5804 | -2,5 | 7,823 | 16,883 | 110,041 | 56,161 |
5944 | 0 | 7,731 | 16,933 | 110,771 | 56,365 |
6089 | 2,5 | 7,982 | 17,443 | 111,714 | 68,077 |
6230 | 5 | 7,915 | 17,52 | 112,424 | 68,777 |
6512 | 10 | 7,809 | 17,693 | 113,905 | 70,119 |
Таблица 2. Зависимость суточной добычи нефти, коэффициента эффективности и удельных затрат электроэнергии от уровня напряжения промысловой подстанции
, В | , м3/сут | , м3/сут×кВт | , кВт×час/м3 | , кВА | , кВА×час/м3 |
5385 | 222,194 | 2,054 | 11,686 | 121,431 | 13,116 |
5664 | 223,359 | 2,042 | 11,755 | 122,853 | 13,201 |
5804 | 223,95 | 2,035 | 11,793 | 123,544 | 13,24 |
5944 | 224,546 | 2,028 | 11,832 | 124,224 | 13,277 |
6089 | 225,148 | 2,015 | 11,908 | 130,822 | 13,945 |
6230 | 225,758 | 2,008 | 11,952 | 131,793 | 14,011 |
6512 | 226,994 | 1,993 | 12,043 | 133,757 | 14,142 |
Анализ полученных данных позволяет сделать выбор оптимальной величины напряжения промысловой ПС. Если в качестве критерия оптимизации взять минимум активных потерь в трансформаторах и воздушных и кабельных линиях, то оптимальным будет напряжение 5944 В. Если же требуется обеспечить минимум потребления активной, полной мощности и удельного потребления электрической энергии, то оптимальным будет напряжение на промысловой ПС, равное В.
Приведенный пример расчета соответствует простейшему виду отходящей линии, приведенному на рис. 1. Однако разработанный алгоритм легко адаптируется и под разветвленную отходящую линию, когда к одному узлу подключено несколько ЭКДС. Он также может быть применен и для расчета оптимального напряжения промысловой подстанции, питающей несколько отходящих линий.
Для реализации требуемого оптимального напряжения на промысловых подстанциях должны применяться трансформаторы, позволяющие производить регулировку под нагрузкой. При этом следует учитывать дискретность регулирования напряжения как по уровню, так и по времени.
Выводы
- Разработанная методика и алгоритм расчета оптимального уровня напряжения на промысловой ПС являются универсальными с позиции обеспечения оптимума по любому возможному энергетическому критерию оптимизации.
- Алгоритм расчета может быть адаптирован под любую отходящую линию с электротехническими комплексами добывающих скважин, какой бы сложной и разветвленной она ни была.
- Для повышения энергетической эффективности механизированной добычи нефти необходимо использовать промысловые подстанции с трансформаторами, обеспечивающими регулирование напряжение под нагрузкой.
About the authors
Alexander V. Starikov
Samara State Technical University
Author for correspondence.
Email: star58@mail.ru
заведующий кафедрой «Электропривод и промышленная автоматика», д.т.н., профессор
Russian Federation, 244, Molodogvardeyskaya st., Samara, 443100Tatyana V. Tabachnikova
Almetyevsk State Oil Institute
Email: tvtab@mail.ru
Ph. D. (Techn.), Associate Professor
Russian Federation, 2, Lenin’s st., Almetyevsk, Tatarstan, 423450Alexander A. Kazantsev
Samara State Technical University
Email: kazantzev@63.ru
Senior Lecturer
Russian Federation, 244, Molodogvardeyskaya st., Samara, 443100Igor A. Kosorlukov
Samara State Technical University
Email: kosorlukov@gmail.com
Ph. D. (Techn.), Doctoral Student
Russian Federation, 244, Molodogvardeyskaya st., Samara, 443100References
- Tarasov V.P. Energy-saving design of ESP // Engineering practice. 2010. No. 3. P. 26–32.
- Martyushev D.N. An integrated approach to energy efficiency in oil production ESP // Engineering practice. 2011. No. 6. P. 72–77.
- Tabachnikova T.V. Individual compensation of reactive power of the electrical complex of a production well with an electric centrifugal pump / T.V. Tabachnikova, R.I. Garifullin, E. D. Nurbosynov, A.V. Macht // Monthly production and technical journal "Industrial Energy". 2015. No. 2. P. 44–47.
- Ivanovsky V.N. Oil production energy: main directions of energy consumption optimization // Engineering practice. 2011. No. 6. P. 18–26.
- Afanasyev N.V., Chernyavskaya I.A., Nurbosynov D.N. Improvement of the voltage regime and power consumption in the conditions of oil production enterprises // Oil of Tatarstan. 1999. No. (1–2). P. 64–67.
- Submersible equipment and integrated service // Technical catalog No. 3. Moscow: Rimera Group of Companies, 2014. 203 p.
- Anuchin A.S. Electric drive control systems. M.: Publishing house MEI, 2015. 373 p.
- Mikhailov O.P. Automated electric drive of machine tools and industrial robots. M.: Mashinostroenie, 1990. 304 p.
- Sokolovsky G.G. AC electric drives with frequency regulation. M.: Academy, 2006. 265 p.
- Starikov A.V. Linearized mathematical model of an asynchronous electric motor as an object of a frequency control system // Bulletin of the Samara State Technical University. Series "Physics and Mathematics", 2002, Issue 16. Pp. 175–180.
- Galitskov S.Ya., Galitskov K.S., Maslyanitsyn A.P. Dynamics of an induction motor: a tutorial. Samara: SamGASA, 2004. 104 p.
- Kuznetsov V.A., Migachev A.V., Starikov A.V., Titov A.R. Features of the mathematical model of an asynchronous electric motor for oil air coolers // Bulletin of the Samara State Technical University. Series "Technical Sciences", 2011, No. 3 (31). S. 171–179.
- Yarullin R.B., Linenko A.V. On the question of the dynamic characteristics of an asynchronous motor // Electrical and information complexes and systems. 2013. No. 2, v. 9. P. 42–46.
- Starikov A.V., Lisin S.L., Tabachnikova T.V., Kosorlukov I.A., Belyaeva O.S. Linearized mathematical model of a submersible induction motor // Bulletin of the Samara State Technical University. Series "Technical Sciences", 2019. No. 4 (64). P. 155–167.
- Starikov A., Tabachnikova T., Kosorlukov I. Calculation of the Rotation Speed of a Submersible Induction Motor for the Tasks of Determining the Optimal Value of the Supply Voltage // 2020 International Multi-Conference on Industrial Engineering and Modern Technologies (FarEastCon). doi: 10.1109/FarEastCon50210. 2020.9271308/
- Weinstein R.A., Kolomiets N.V., Shestakov V.V. Fundamentals of control of modes of power systems by frequency and active power, by voltage and reactive power: textbook. Tomsk: Publishing house of the Tomsk Polytechnic University, 2010. 96 p.
Supplementary files






