To the calculation of the apparatus of water-evaporative air cooling
- Authors: Nadeev A.A.1, Barakov A.V.1, Prutskikh D.A.1
-
Affiliations:
- Voronezh State Technical University
- Issue: Vol 11, No 4 (2021)
- Pages: 164-168
- Section: INDUSTRIAL HEAT POWER
- URL: https://journals.eco-vector.com/2542-0151/article/view/81557
- DOI: https://doi.org/10.17673/Vestnik.2021.04.20
- ID: 81557
Cite item
Full Text
Abstract
The use of evaporative cooling in ventilation and air conditioning systems can significantly reduce energy consumption during their operation. The paper describes the design and principle of operation of water-evaporative air cooling apparatus, in which a fluidized bed of dispersed material is used as a packing, which is continuously circulating in the working chamber. A test sample of an air cooler is described, the parameters of its packing are given. The technique of its experimental research and the used measuring instruments are presented. The criterion ratios for the efficiency factor of the air cooler, the hydraulic resistance of the working chamber and the interfacial heat transfer coefficient are given.
Full Text
Одним из резервов энергосбережения, как известно, является использование возобновляемых источников энергии. Способ водоиспарительного охлаждения, основанный на термодинамической неравномерности атмосферного воздуха, позволяет существенно сократить расход энергии в системах вентиляции и кондиционирования воздуха [1, 2].
Основным элементом аппаратов водоиспарительного охлаждения воздуха является теплообменная секция (насадка). В воздухоохладителях применяются насадки различного вида (например, подвижные и неподвижные), выполненные из различных материалов и имеющие различные геометрические и теплофизические характеристики.
Одним из видов является насадка, представляющая собой циркулирующий по кольцевому каналу слой псевдоожиженного дисперсного материала [3]. Она обладает высокой удельной поверхностью контакта взаимодействующих фаз и, следовательно, высокой интенсивностью тепло- и массообмена между ними. Материал данной насадки – устойчивые к коррозии частицы различной формы с эквивалентным диаметром от 1 до 6 мм, что определяет их высокую смачиваемость. Такая насадка имеет низкую стоимость и позволяет осуществлять непрерывную регенеративную передачу теплоты от одного потока воздуха к другому.
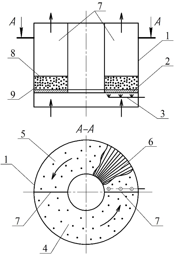
Принципиальная схема воздухоохладителей с дисперсной насадкой приведена на риc. 1 [4]. Их основным элементом является кольцевая рабочая камера 1, разделённая двумя перегородками 7 на «сухую» секцию 4 и «влажную» секцию 5. В перегородках выполнены переточные окна 8 для свободной циркуляции дисперсного материала (насадки) 9. Газораспределительное устройство 2 с наклонными лопатками 6 служит для формирования циркулирующего псевдоожиженного слоя. Форсунки 3 предназначены для увлажнения материала во «влажной» секции рабочей камеры.
Риc. 1. Принципиальная схема аппарата
Воздухоохладители данного типа работают следующим образом. Дисперсный материал насадки располагается в рабочей камере аппарата. Его высота в псевдоожиженном состоянии не должна превышать высоты переточных окон перегородки. При прохождении охлаждаемого и охлаждающего воздуха через газораспределительное устройство на его лопатках происходит формирование наклонных струй, которые переводят насадку к псевдоожиженное состояние. При этом происходит его перемещение (циркуляция) по кольцевому каналу рабочей камеры.
На входе во «влажную» секцию рабочей камеры насадка смачивается водой с помощью форсунок. При движении смоченной насадки к выходу из «влажной» камеры (ко входу с «сухую» камеру) она контактирует со вспомогательным (охлаждающим) потоком воздуха. При этом происходит испарение влаги с поверхности частиц, что приводит к уменьшению их температуры, т. е. реализуется испарительное охлаждение твёрдого материала [5]. Затем охлаждённые частицы насадки поступают в «сухую» камеру и в свою очередь снижают температуру основного (охлаждаемого) потока воздуха.
Однако известные в настоящее время результаты экспериментальных и теоретических исследований таких аппаратов [6] не позволяют их проектировать, что препятствует их распространению в промышленности. Исходя из вышесказанного данные экспериментальные исследования являются актуальными.
Для исследования процессов тепло- и массообмена в воздухоохладителях данного типа, а также их гидродинамических параметров был сконструирован испытательный образец.
Основным его элементом является рабочая камера, в которой осуществляется процесс охлаждения воздуха. Общий вид рабочей камеры воздухоохладителя показан на риc. 2. Она образована двумя соосно расположенными обечайками, имеющими высоту 0,5 мм и диаметры 0,4 и 0,2 м, соответственно для внешней и внутренней. Для визуального наблюдения за процессом псевдоожижения внешняя обечайка изготовлена из органического стекла.
Риc. 2. Общий вид рабочей камеры воздухоохладителя
Рабочая камера разделена двумя вертикальными перегородкам, имеющими переточные окна, на две равные части – «сухую» и «влажную» секции. Газораспределительное устройство аппарата представляет собой жалюзийную кольцевую беспровальную решётку с изменяемым углом наклона лопаток от 20 до 40° к горизонтальной плоскости. Отвод основного и вспомогательного потоков воздуха производится через двухсекционный газоотводящий патрубок.
Для подачи воздуха в исследуемый аппарат применялся высоконапорный центробежный вентилятор Ц10-28 № 4. Для управления его производительностью применялся преобразователь частоты Delta VFD150E43A. Расход воздуха измерялся термоанемометрами ТТМ-2/4-06. Температура воздуха в различных точках аппарата и температура впрыскиваемой воды измерялись с помощью датчиков температуры ТП-208. Потери давления в «сухой» и «влажной» камерах аппарата (гидравлическое сопротивление) измерялись датчиками дифференциального давления АИР-10H. Все датчики были подключены к ПИД-регулятору ТРМ 148. Регистрация опытных данных осуществлялась с помощью SCADA-системы Owen Process Manager.
При проведении экспериментальных исследований в качестве насадки аппарата применялись два разных дисперсных материала. Первый материал – частицы из алюмоцинкового сплава плотностью ρн = 2850 кг/м3 и эквивалентным диаметром dэ = 2,6; 2,9; 4,6; 5,0 мм. Второй материал – кварцевый песок, ρн = 2650 кг/м3, dэ = 2,7; 3,2 мм. Масса дисперсного материала в рабочей камере изменялась от 0,5 до 4,0 кг. Для увлажнения материала применялись механические форсунки, позволяющие регулировать расход воды от 0,0004 до 0,0024 кг/с.
Экспериментальные исследования проводились по следующей методике. В рабочую камеру аппарата производилась загрузка дисперсного материала насадки, имеющей заданную массу. После включения вентилятора добивались устойчивой циркуляции насадки в «сухой» и «влажной» секциях путём регулирования расхода воздуха. Затем производилась подача воды в форсунки и осуществлялось смачивание материала насадки на входе во «влажную» секцию.
После установления квазистационарного режима работы аппарата производилась фиксация расхода основного и вспомогательного потоков воздуха и их температуры, измеряемой в 12 точках рабочей камеры. Также фиксировались потери давления при прохождении воздуха через псевдоожиженный слой материала в «сухой» и «влажной» секциях. Суммарно было исследовано свыше 50 режимов работы воздухоохладителя, отличающихся типом и массой насадки, и расходом воздуха и воды.
По результатам экспериментов вычислялся коэффициент эффективности аппарата по формуле
(1)
Анализ полученных экспериментальных данных показал, что основными параметрами воздухоохладителя, влияющими на его тепловую эффективность, являются масса (высота) насадки и температура воздуха в «сухой» секции рабочей камеры. Аппроксимация полученных экспериментальных данных методом наименьших квадратов позволила получить следующие эмпирические критериальные соотношения:где – температура воздуха на входе в «сухую» камеру, °C; – среднеинтегральная температура воздуха на выходе из «сухой» камеры, °C; – температура «мокрого» термометра, °C.
– коэффициент эффективности воздухоохладителя
(2)
Соотношение (2) справедливо для диапазонов параметров 1,2 ≤ / ≤ 2,6; 2,8 ≤ h0 / dэ ≤ 5,1;где – скорость воздуха на входе в рабочую камеру, м/с; – минимальная скорость воздуха, при которой начинается движение насадки, м/с; h0 – насыпная высота насадки, м.
– межфазный коэффициент теплоотдачи в воздухоохладителе
(3)
Соотношение (3) справедливо для диапазона 1,2 ≤ Re ≤ 2,6;
– гидравлическое сопротивление рабочей камеры воздухоохладителя
(4)
где ρв – плотность воздуха в «сухой» камере, кг/м3.
Соотношение (4) справедливо для следующих диапазонов: 1925 ≤ Re ≤ 3230; 2,8 ≤ h0 / dэ ≤ 5,1; 2300 ≤ ρн / ρв ≤ 2500.
Среднеквадратическое отклонение экспериментальных данных от расчётных по формулам (2) – (4) для указанных диапазонов не превышает 12 %.
Вывод. Результаты экспериментальных исследований показали работоспособность воздухоохладителя предложенной конструкции. Полученные соотношения могут быть использованы для расчёта и конструирования аппаратов водоиспарительного охлаждения воздуха циркулирующим псевдоожиженным слоем дисперсного материала.
About the authors
Aleksandr A. Nadeev
Voronezh State Technical University
Email: anadeev@cchgeu.ru
SPIN-code: 4744-0498
PhD of Engineering Science, Associate Professor of the Theoretical and Industrial Heat Power Engineering Chair
Russian Federation, 394006, Voronezh, 20 let Oktyabrya str.,84,Aleksandr V. Barakov
Voronezh State Technical University
Email: abarakov@cchgeu.ru
SPIN-code: 7468-9330
Doctor of Engineering Science, Professor of the Theoretical and Industrial Heat Power Engineering Chair
Russian Federation, 394006, Voronezh, 20 let Oktyabrya str.,84Dmitry A. Prutskikh
Voronezh State Technical University
Author for correspondence.
Email: dprutskikh@cchgeu.ru
SPIN-code: 6102-3916
PhD of Engineering Science, Associate Professor of the Theoretical and Industrial Heat Power Engineering Chair
Russian Federation, 394006, Voronezh, 20 let Oktyabrya str.,84References
- Kokorin O.Y. Isparitel’noe okhlazhdenie dlya tseley konditsionirovaniya vozdukha [Evaporative Cooling for Air Conditioning Purposes]. Moscow: Stroyizdat,1965.
- Doroshenko A.V., Lisogurskaya O.A., Rozum M.V. Prospects for the use of evaporative cooling in refrigeration. Problemy regional’noy energetiki [Regional energy problems], 2013, no. 2(22), pp. 79-92. (in Russian)
- Agapov Y.N., Barakov A.V., Dubanin V.Y. et al. Energy-saving heating plants with centrifugal fluidized bed. Vestnik Voronezhskogo gosudarstvennogo tekhnicheskogo universiteta [Voronezh State Technical University Bulletin], 2011, no. 7(3), pp. 9-12. (in Russian).
- Patent RUS № 59786/ 27.12.06. Agapov Y.N., Barakov A.V., Naumov A.M. Vozdukhookhladitel’.
- Trojosky M. Rotary drums for efficient drying and cooling. Drying Technology, 2019, no. 37(5), pp. 632-651. doi: 10.1080/07373937.2018.1552597
- Barakov A.V., Dubanin V.Y., Kozhukhov N.N. et al. To the calculation of an indirect-evaporative air cooler with a centrifugal fluidized bed of packing. Energosberezhenie i vodopodgotovka [Energy saving and water treatment], 2011, no. 5(65), pp. 69-70. (in Russian).





