Features of calculation and design of the installation for testing the load of reinforced concrete wall ring
- Authors: Ilyin N.A.1,2, Mordovsky S.S.1,2
-
Affiliations:
- Samara State Technical University
- Academy of Architecture and Civil Engineering
- Issue: Vol 11, No 4 (2021)
- Pages: 36-42
- Section: BUILDING CONSTRUCTIONS, BUILDINGS AND FACILITIES
- URL: https://journals.eco-vector.com/2542-0151/article/view/99642
- DOI: https://doi.org/10.17673/Vestnik.2021.04.4
- ID: 99642
Cite item
Full Text
Abstract
The article presents a constructive solution for the installation for testing the loading of a reinforced concrete wall ring of an inspection well, which belongs to the field of construction, in particular, to the design of testing equipment to establish the strength of materials and structures. Formulas are proposed by which it is possible to determine the strength of the wall ring (the maximum force of the load jack on the power frame of the test installation), the diameter of the tie, the width of the wooden block, and select the cross-section of the composite beam. Several calculation examples are considered. The given design of the test setup helps to reduce the consumption of materials and simplify the design in comparison with the known analogs.
Full Text
Испытательные стенды относятся к основным видам оборудования при статическом нагружении железобетонных конструкций [1–3]. Выявление экономической эффективности усовершенствований проектных и конструкторских решений испытательной установки для оценки прочности железобетонных стеновых колец (не допуская чрезмерного запаса прочности) является актуальной темой научно-исследовательской работы.
Цель данной работы заключается в разработке конструктивного решения установки для испытания нагружением железобетонного стенового кольца смотрового колодца.
Основным в предлагаемом конструктивном решении является изготовление компактной, легкой, автономной установки для статического испытания нагружением стенового кольца смотрового колодца, снижение материалоемкости элементов установки. При этом отсутствует необходимость применения силового пола, изготовление элементов силовой рамы установки упрощено, как и система передачи нагрузки на испытуемый образец, а статическая схема испытуемого образца приближена к действительной работе стенового кольца. Материалоемкость стальных элементов силовой рамы установки снижена относительно аналогов [1].
Испытанию статическим нагружением подвергают стеновое кольцо заданных геометрических размеров. Стеновые железобетонные кольца имеют широкое применение в различных сферах человеческого существования ввиду своей простоты и универсальности. Модернизации подвергается как конструкция самого кольца, так и установка для его изготовления [4–8].
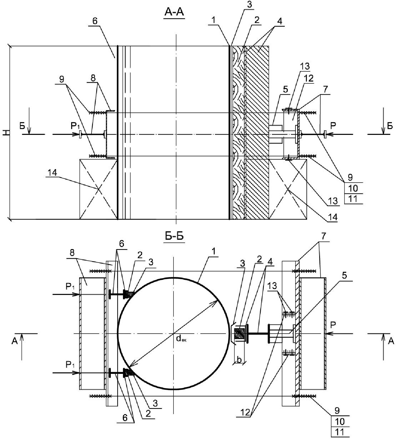
Конструкция испытательной установки вместе со стеновым кольцом представлена на риc. 1. Компактный сборно-разборный стенд обеспечивает возможность проведения испытания нагружением как в горизонтальном, так и вертикальном положении испытуемого стенового кольца.
Риc. 1. Установка для испытания нагружением цилиндрического стенового кольца: 1 – стеновое кольцо; 2 – деревянные бруски; 3 – резиновые прокладки; 4 – стальной составной брус упорной траверсы; 5 – грузовой гидродомкрат с манометром; 6 – стальной составной брус опорной траверсы; 7 и 8 – упорная и опорная составная стальная балка силовой рамы; 9 – металлические тяжи, оборудованные гайками и шайбами; 10 и 11 – натяжная и упорная гайки; 12 – ребра жесткости – ограничители размещения гидродомкрата и траверс; 13 – установочные винты; 14 – опорные столики
Установка для испытания включает в себя: стеновое кольцо, деревянные бруски, резиновые прокладки, упорную распределительную траверсу, две опорные распределительные траверсы, грузовой гидравлический домкрат, упорную и опорную составные балки силовой рамы, ребра жесткости составных стальных балок, металлические тяжи с нарезкой резьбы на концах, натяжные и упорные гайки, пружинные шайбы, установочные винты и опорные столики.
Стеновое кольцо устанавливают (ГОСТ 8020-2016. Конструкции бетонные и железобетонные для колодцев канализационных сетей (п. 7. Методы испытания и контроля. Приложение В) в рабочее положение (вертикально или горизонтально). Определяют геометрические характеристики элементов силовой рамы и упорной распределительной траверсы (риc. 2) по результатам расчета на прочность сечений элементов силовой рамы и упорной траверсы (СП 16.13330.2017. Стальные конструкции. Актуализированная редакция СНиП II-23-81* (с Поправкой, с Изменением № 1).
Риc. 2. Схема силовой рамы испытательной установки: 7 и 8 – упорная и опорная составная балка силовой рамы; 9 – металлические тяжи; 10 и 11 – натяжные и упорные гайки; 15 – сварные швы; P – усилие сжатия на упорную траверсу; Nb – усилие растяжения в тяже
Испытательную нагрузку принимают в виде сосредоточенной силы и прикладывают ее по середине длины упорной распределительной траверсы с упругим опиранием на бетонную поверхность стенового кольца (риc. 4). Величину испытательной нагрузки принимают равной контрольной разрушающей нагрузке по прочности и/или контрольной нагрузке по ширине раскрытия трещин.
Риc. 4. Схема испытания стенового кольца (А); схема к расчету прочности центрально-сжатого железобетонного элемента прямоугольного сечения А-А с симметричной арматурой As = As’ (Б): 1 – стеновое кольцо; 2 – упорная траверса; 3 – реакция опоры; 2 – упорная траверса: δст и Hст – толщина и высота стенового кольца; b и h – ширина и высота прямоугольного сечения; din и dex – внутренний и наружный диаметр стенового кольца; As и As’ – площадь арматуры, мм2; Abc и A′bc – рабочая площадь сжатого бетона, мм2; P – контрольная разрушающая нагрузка по прочности, кН; O – точка приложения нагрузки на траверсу
Максимальное усилие грузового домкрата на силовую раму испытательной установки Nmax, кН, определяют по уравнению
Nmax = 0,475 × δст0,125 × (Rb × Abc + Rsc × As,tot), (1)
где δст – толщина стенового кольца, мм; Rb, Rsc – расчетное сопротивление бетона и арматуры на сжатие (СП 63.13330.2018. Бетонные и железобетонные конструкции. Основные положения. СНиП 52-01-2003 (с Изменением № 1), МПа; As,tot – площадь сечения всей рабочей арматуры, мм2.
Рабочую площадь сечения сжатого бетона , мм, вычисляют по формуле
Abc = 2 × δст × Hст, (2)
где δст и Hст – толщина и высота стенового кольца, мм.
Условия опирания распределительной траверсы принимают в виде жесткой составной стальной упругой опоры с деревянным брусом, закрепленным в пазу швеллера основания траверсы (риc. 3).
Риc. 3. К расчету стальных элементов металло-деревянной траверсы: 1 – стеновое кольцо; 2 – деревянный брусок; 3 – резиновая прокладка; 7 – упорная составная стальная балка силовой рамы; 13 – установочные винты; 15 – сварные швы; P – нагрузка от грузового домкрата, кН
Элемент силовой рамы – упорная и опорная составная стальная балка – представляет собой основание в виде тонкостенного швеллера с ребрами жесткости и усилительного элемента в виде отрезка двутавра, соединенного с основанием на сварке (см. риc. 2).
Геометрические характеристики элементов упорной и опорной составной стальной балки, воспринимающей испытательную нагрузку от грузового домкрата после ее компоновки и подбора составного сечения, определяют расчетом на прочность и устойчивость.
Распределительная траверса содержит усилительный элемент в виде двутавра и сочлененное с ним основание в виде облеченного швеллера, с укрепленным в его пазу деревянным бруском с резиновой прокладкой (см. риc. 3).
Геометрические характеристики усилительного элемента траверсы, воспринимающего испытательную нагрузку от грузового домкрата, определяют по результатам расчета на срез и изгиб усилительного элемента как бесконечной двухсторонней балки на упругом основании с сосредоточением нагрузки в середине длины.
Диаметр металлического тяжа dтяж, мм, силовой установки определяют расчетом на осевое растяжение по уравнению
dтяж = 2 × [(Nb/π)/Rbt × (γc/γm)]0,5, (3)
где Nb – продольная сила, воспринимаемая тяжем, кН; Rbt – сопротивление болтовой стали растяжению, МПа; γc и γm – коэффиценты условия работы и надежности по материалу; π = 3,142 – постоянная величина.
Металлические тяжи силовой рамы, принятые диаметром, который определяют по результатам расчета на растяжение элемента, выполняют из круглой болтовой стали.
Ширину деревянного бруска bдб, мм, распределительной траверсы вычисляют по формуле
bдб = Nmax/Lдб × Rb,loc, (4)
где Nmax – максимальное усилие от силового домкрата, кН; Lдб – длина деревянного бруска, мм; Rb,loc – сопротивление бетона стенового кольца сжатию, МПа (Rb,loc ≥ 2,5 × Rb, где Rb – сопротивление бетона на сжатие).
В качестве измерителей деформации бетона и арматуры могут приниматься тензодатчики, которые устанавливают в основном сечении стенового кольца.
Измерение показаний давления в грузовом домкрате осуществляют техническим манометром класса точности ±2,5 %.
Для проверки прочности упорной составной балки при изгибе требуемый момент сопротивления составной стальной балки Wтр, см3, силовой рамы вычисляют по уравнению
Wтр = (Pi × l0/2) / Ry × γc, (5)
где Pi – усилие от смежной пары металлических тяжей, кН; l0 – расстояние между спаренными тяжами в плане, мм; Ry – расчетное сопротивление прокатной стали, Н/мм2; γc – коэффицент условий работы стали.
Линейную характеристику жесткости распределительной траверсы Sж, м, вычисляют по формуле
Sж = (4 × Eb × Jsy / bn × kb)1/4, (6)
где Eb – модуль деформации бетона стенового колодца, МПа; Jsy – момент инерции стального бруска траверсы, см4; bn – ширина деревянного бруска траверсы, см; kb – коэффицент постели для бетона стенового кольца.
Расчетный изгибающий момент M0, кН∙м, в нулевой точке распределительной траверсы определяют по уравнению
M0 = Sж × π/4, (7)
где Sж – линейная характеристика жесткости траверсы, кН∙м; π = 3,142 – постоянная величина.
Величину поперечной силы в нулевой точке траверсы Q0, кН, вычисляют по формуле
Q0 = P/2, (8)
где P – давление от грузового домкрата на траверсу, кН.
Приведём примеры расчётов по изложенным выше формулам.
Пример 1. Дано: упорная балка силовой рамы выполнена составной; основание в виде отрезка швеллера № 40 (hш = 400, bш = 115, δ = 13,5 мм, Wшγ = 73,4 см3) принято из условий размещения в его пазу силового домкрата (ширина домкрата 400 мм) грузоподъемностью 1000 кН (100 тс); усилительный элемент – в виде отрезка двутавра; концы оснований составной балки оборудованы отверстиями для пропуска двух пар металлических тяжей; расстояние между парами тяжей в плане принимают не менее величины наружного диаметра испытуемого стенового кольца I0 ≥ dex = 2000 мм (2 м); усилие от грузового домкрата в каждой паре металлических тяжей равно N2b = P/2 = 1000/2 = 500 kH , для изготовления составной балки силовой рамы принимают сталь C235 с расчетным сопротивлением проката Ry = 230 Н/мм2; коэффицент условий работы γc = 1,1.
Требуется подобрать сечение элементов составной стальной балки силовой рамы и проверить ее прочность.
Расчет: 1) Требуемый момент сопротивления составной стальной балки вычисляют по уравнению (5):
Wтр = (N2b × l0/2)/(Ry × γc) = (500/2)/(230 × 1,1) = 1976 см3.
2) Требуемый момент сопротивления для усилительного элемента составной балки составляет:
Wyc = Wтр - Wшy = 1976 - 73,4 = 1903 см3.
3) По сортаменту подбирают усилительный элемент в виде короткого отрезка двутавра № 55; Wyc = 2035 см3; hт = 550 мм; bт = 180 мм.
Пример 2. Дано: стеновые железобетонные кольца высотой Hст = 890 мм , толщина δст = 80 мм, бетон класса B15, Rb = 8,5 МПа; арматура класса А240, Rsc = 215 МПа; площадь сечения 4∅4 мм (As = As’ = 50,2 мм2); схема расчета короткого центрально сжатого железобетонного элемента прямоугольного сечения с симметричной арматурой.
Требуется определить максимальное усилие грузового домкрата на силовую раму испытательной установки Nmax, кН.
Расчет: 1) Площадь сечения всей рабочей арматуры вычисляют по условию
As,tot = As + As’ = 2 × 50,2 = 100,4 мм2.
2) Площадь сечения сжатого бетона Abc, мм2, вычисляют по условию (2):
Abc =2 × (δст × Нст) = 2 × (80 × 890) = 142,4 × 103 мм2.
3) Максимальное усилие гидродомкрата Nmax, кН, вычисляют по уравнению (1):
Nmax = Ncc = 0,475 × δст0,125 × (Rb × Abc + Rs × As,tot) = 0,475 × 800,125 × (8,5 × 142,4 × 103 + 215 × 100,4) = 0,82 × (1210,4 × 103 + 21,586 × 103) = 1010 × 103 Н = = 1010 кН = 100 тс.
Пример 3. Дано: на металлический тяж действует продольная сила Nb = 250 кН; сталь класса 4,8; расчетное сопротивление растяжению Rbt = 160 МПа; коэффицент условий работы γс = 0,9; коэффицент надежности по материалу γm = 1,05. Требуется определить диаметр круглого металлического тяжа (dтяж, мм).
Расчет: требуемый диаметр тяжа вычисляют по уравнению (3):
dтяж = 2 × [(Nb / π) / Rbt × (γc / γm)]0,5 = 2 × [(250 / 3,142) / 160 × (0,9 / 1,05)]0,5 = 2 × (79,57 / 137,14)0,5 = 1,52 см =15,2 мм (принято в проекте dтяж = 16 мм).
Выводы. 1. Предложено конструктивное решение установки для испытания нагружением железобетонного стенового кольца смотрового колодца.
- Предложены уравнения для расчета максимального усилия грузового домкрата на силовую раму испытательной установки, выявления диаметра металлических тяжей силовой рамы установки и ширины деревянного бруска распределительной траверсы, определения величины изгибающего момента в нулевой точке распределительной траверсы и выявления линейной характеристики жесткости распределительной траверсы.
- Дальнейшие исследования по теме научно-исследовательской работы предполагают изготовление испытательной установки и проведение статических испытаний нагружением модели железобетонного стенового кольца.
About the authors
Nikolay A. Ilyin
Samara State Technical University; Academy of Architecture and Civil Engineering
Email: qaer1@yandex.ru
PhD in Engineering Science, Associate Professor of the Water Supply and Waste Water Chair
Russian Federation, 443100, Samara, Molodogvardeyskaya str., 244Sergey S. Mordovsky
Samara State Technical University; Academy of Architecture and Civil Engineering
Author for correspondence.
Email: qaer1@yandex.ru
PhD in Engineering Science, Associate Professor of the Reinforced Concrete Structures Chair
Russian Federation, 443100, Samara, Molodogvardeyskaya str., 244References
- Kolchunov V.I., Skobeleva E.A. Eksperimental’naya ustanovka dlya ispytaniya balochnyh konstrukciya [Experimental setup for testing girder structures]. Patent RF, no.2 351 910 MPK G01N 3/10, 2009.
- Panfilov D.A., Iliyin N.A., Mordovsky S.S., Buzovskaya Ya.A. Experimental Test Installation of Bending Reinforced Concrete Beam Elements. Gradostroitel’stvo i arhitektura [Urban Construction and Architecture], 2019, Vol. 19, no. 3, рp. 12–16. (in Russian) doi: 10.17673/Vestnik.2019.03.2.
- Ilyin N.A., Mordovsky S.S., Malgina V.A., Kireeva N.A. Calculating the strength of an excentrally compressed reinforced concrete element of rectangular section. Gradostroitel’stvo i arhitektura [Urban Construction and Architecture], 2020, Vol. 10, no. 1, рp. 4–8. (in Russian) doi: 10.17673/Vestnik.2020.01.1.
- Dobromyslov A.N. Primery rascheta konstrukcij zhelezobetonnyh inzhenernyh sooruzhenij [Examples of structural analysis of reinforced concrete engineering structures]. Moscow, Publishing house of the Association of Construction Universities, 2010. 272 p.
- Ryspaev T.A., Abdiev M.M., Cherikov S.T., Kojoshov T. T. Development of an improved design of the device for the manufacture of reinforced concrete sewer rings for wells. Izvestiya kyrgyzskogo gosudarstvennogo tekhnicheskogo universiteta im. I. Razzakova [Izvestiya kyrgyz state technical university named after I. Razzakova], 2013, no. 29, pp.12-16. (in Russian)
- Cherikov S.T. Work experience at the OEM plant “Monolit” for the manufacture of sewer reinforced concrete rings for wells using waste from a sugar plant containing CaCO3. Vestnik kyrgyzskogo gosudarstvennogo universiteta stroitel’stva, transporta i arhitektury im. N. Isanova [Bulletin of the Kyrgyz State University of Construction, Transport and Architecture named after N. Isanova], 2014, no. 1, pp.159-163. (in Russian)
- Peskova YU.YU., Belozor M.YU. Selection of the composition of heavy concrete using local materials for production of reinforced concrete rings at the installation “ATLAS”. Vestnik cherepoveckogo gosudarstvennogo universiteta [Bulletin of cherepovets state university], 2013, no 2-1 (47), pp.16-19. (in Russian)
- Tcepliaev M.N., Mushchanov V.F. Ensuring the stability of the walls of the tanks based on the rational arrangement of the stiffening rings, Stroitel’stvo unikal’nyh zdanij i sooruzhenij [Construction of unique buildings and structures], 2018, no 9 (72), pp.61-73. (in Russian)
Supplementary files







