Research of a method based on the local deformation of the metall mesh by the force of air drawn through its surface, for measuring and controlling the tension force of the metall mesh cavity on radio-reflecting reflectors
- Autores: Gracheva E.A.1,2, Sin'kovskiy F.K.1
-
Afiliações:
- JSC Academician M. F. Reshetnev “Information Satellite Systems” (RESHETNEV JSC)
- Reshetnev Siberian State University of Science and Technology
- Edição: Volume 24, Nº 3 (2023)
- Páginas: 502-509
- Seção: Section 2. Aviation and Space Technology
- ##submission.datePublished##: 17.11.2023
- URL: https://journals.eco-vector.com/2712-8970/article/view/622822
- DOI: https://doi.org/10.31772/2712-8970-2023-24-3-502-509
- ID: 622822
Citar
Resumo
This article presents some of the main parameters of the netfold that affect the radio-reflective properties of the reflector and the technology for achieving these parameters by controlling the tension force of the netfold at various stages of manufacturing the radio-reflective surface of the reflector. The article also includes a brief overview of the existing and applied methods of measuring and controlling the tension force of the reticular reflectors of spacecraft at the RESHETNEV JSC enterprise and an analysis of their shortcomings as a result of their development is presented. A new method for monitoring and measuring the tension force is proposed, based on the local deformation of the mesh by the force of the pressure of the drawn air through its surface. The results of the development and testing of the method and prototype of a device for monitoring the tension force of the net are presented. The purpose of the study was to determine the operability of the device and the possibility of its further use to control the tension of the grid on working reflectors.
The developed method and the prototype of the device that implements it, allow you to quickly monitor the tension force of the net pole at any of its spatial position.
The prospects of possible use of the method in the rocket and space industry in the manufacture of radio-reflecting surfaces of spacecraft antennas are proposed and analyzed. According to the results of the conducted research, the dependence of the tension force of the mesh on the force of the pressure of the drawn air through the mesh is established. The need for further refinement of the developed device to improve the accuracy of obtaining measurement data has been identified.
Upon successful testing of the modified device for measuring and controlling the tension force of the net in the laboratory, further tests will be carried out at the stage of cutting the net and on the net in the reflector.
Palavras-chave
Texto integral
Introduction
Desingn of fundamentally new transformable antennas for spacecraft required the development of metal mesh products, tactical and technical characteristics of which could ensure the highest reflection coefficient of microwave radiation at minimal tension force, minimum specific weight and maximum isotropy of mechanical and radio engineering properties [1–3].
The reflective surface of space communication antennas is subject to specific operational requirements, one of which is maximum radio-reflecting capacity at minimal tension of the load-bearing frame [4].
The problem of reflective surface manufacture was solved through the development of new woven metal mesh materials made of galvanically gilded wire, which best meet the present requirements for a reflection coefficient of ³ 98 %.
The required antenna reflection coefficient depends, among other parameters, on the amount and uniformity of the mesh sheet tension over the entire diameter of the operating reflector aperture.
The article gives a review of the methods applied at the RESHETNYOV JSC for measuring and control of the mesh tension value when dealing with large-size transformable antenna reflectors; there is also a presentation of a new control method.
Formation and control of the surface profile of radio reflectors
Tungsten and molybdenum mesh with gold coating is used as the material for the radio-reflective surfaces of large-size reflectors.
To maintain the specified coefficient of radio reflection in the process of antenna deployment, the radio-reflecting surface of the corresponding profile must be supplied [5; 6].
When the profile able to eliminate sagging of the mesh shield framed by power spokes is manufactured, the mesh must have the tension determined at the JSC RESHETNYOV – conducted test session (the figures obtained see in Table 1).
Table 1 The value of operational mesh tension capacity for various mesh sheet grades
Mesh grade | Mesh tension capacity, g/cm |
СМеТ-ЗлВ15х2(А+А) | 5 ± 1 |
СМеТ-ЗлВ15х2(Т+С) | 11 ± 1 |
СМеТ-ЗлМо20х1(А+А) | 2 ± 1 |
Control of the mesh tension capacity is specified in the design documentation for transformable reflectors and metal mesh [7; 8]:
– at the stage of mesh sheet cutting;
– at the dimensional template, when the mesh sheet is lined out;
– at various production stages of the reflector.
The number of control points depends on the diameter of the antenna and ranges from several tens to several hundreds.
Analysis of methods of tension capacity measurement and control maintaining the antenna radio-reflective parameters
At present, the JSC "RESHETNYOV" makes use of the following developed and industrially applied methods of mesh tension measurement and control:
– a method of tension capacity control based on the density of loops in the mesh, that is, on counting loops on digital photographs at any stage of the mesh fabrication [9–12];
– a method of tension capacity control by measuring the mesh sheet deflection when a certain pressure is applied to its surface [13–15].
The resonance method was also proposed and investigated. The method bases on exposing the mesh to the effect of sound waves of various frequency until the frequency of the wave from the external source equals the natural frequency of the sheet’s free vibrations, which causes resonance. Thus, depending on the mesh tension capacity, the natural frequency of free vibrations also changes; this changes the resonant peaks arising at coincidence with the frequency of sound waves from the external source. The moments of resonant peaks were registered by sensors distributed over the mesh sheet, then the obtained values were displayed on a multimeter (measurements given in millivolts) - these proved proportional to the tension effort applied to the mesh [16].
The analysis of the methods’ application showed that the device for measuring the deflection of the mesh sheet allows monitoring only on the mesh-cutting platform, and is not suitable for the parametrical control of the sheet as part of the reflector.
The method of tension capacity control by measuring the density of loops in the mesh does not provide the required control accuracy. The main reason is the need to keep the photocamera lens perpendicular to the surface of the mesh, which is not possible due to the spherical setting of the mesh as part of the reflector. Moreover, the method does not provide operational responsiveness in measurements.
The method applying sound waves is operational only at the stages of mesh cutting or manufacturing limited mesh segments. The method is also not applicable to actual reflectors, as it appears non-productive in technique.
Method based on the local deformation of the mesh by the pressure of the air drawn through its surface
Considering the shortcomings of the above reviewed methods, a new method of mesh tension capacity control was worked out, a method of the local deformation of the mesh sheet by the pressure of the air drawn through its surface.
The operating principle of the method is in measuring the pressure of the air drawn through the mesh at the moment of the target mesh deflection.
To confirm the efficiency of the method, tests were carried out to assess the effect of the mesh tension capacity on the pressure of the air drawn through the mesh surface until the deflection is caused .
To carry out the tests, a special framework simulating the mesh shield tension on the reflector frame was assembled.
The framework design is shown in Fig. 1. In the course of tests, a mesh fragment (1) measuring 17 x 17 cm was rigidly fixed to a rectangular frame along two perpendicular sides (2). Weights (3) were suspended on the other two free sides at regular intervals, creating a uniform tensile load on the mesh. To assure the accuracy of the tests, a target test area was selected in the center of the fragment (4), as the tension force is most evenly distributed within this area.
Рис. 1. Сетеполотно с равномерной распределенной нагрузкой: 1 – сетеполотно; 2 – жесткое крепление; 3 – грузы; 4 – исследуемая область
Fig. 1. Mesh with evenly distributed load: 1 – mesh; 2 – rigid fastening; 3 – loads; 4 – test area
To test the method, a model device for the tension capacity control was constructed.
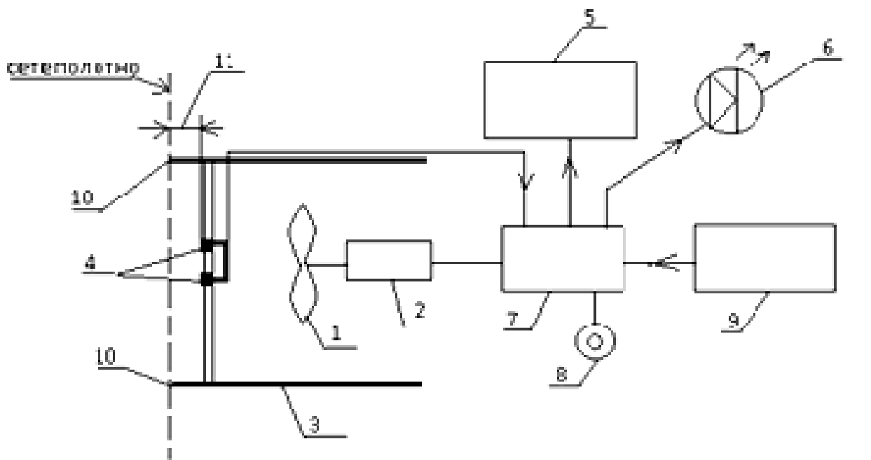
The working principle of the device is shown in Fig. 2.
The operation principle of the device is as follows: the fan impeller (1), located inside the inlet pipe (3) and powered by the electric actuator (2) connected to the power source (9) through the fan control unit (7), creates a reverse airflow. The free end of the inlet pipe (3) touches the mesh sheet, and with the potentiometer hand control (8) attached to the fan control unit (7), the drawn air flow can be regulated till the mesh gets deflected (11).
Рис. 2. Схема устройства для контроля усилия натяжения: 1 – крыльчатка вентилятора; 2 – электропривод вентилятора; 3 – впускной патрубок диаметром 10 мм; 4 – контактная группа; 5 – цифровой дисплей; 6 – контрольный светодиод; 7 – блок управления вентилято-ром; 8 – регулирующий потенциометр; 9 – источник питания; 10 – кольцевой контакт патрубка с полотном; 11 – величина прогиба полотна
Fig. 2. Design of the device for tension capacity measurement and control: 1 – fan impeller; 2 – electric fan actuator; 3 – inlet pipe (diameter 10 mm); 4 – contacting unit; 5 – digital display; 6 – control LED; 7 – fan control unit; 8 – regulating potentiometer; 9 – power source; 10 – ring-shaped end of the pipe that contacts the mesh; 11 – amount of the mesh deflection
As soon as the air flow pressure becomes sufficient, electricity is fed from the contacting unit (4) to the mesh sheet. The moment the feeding starts, the control LED (6) lights up - that signals for taking readings from the digital display (5), which shows the voltage on the regulating potentiometer (8).
The digital display readings are proportional to the force of the drawn airflow acting on the mesh sheet.
This way, five tests with the device were carried out for loads of 0, 50, 100, 150 and 200 g per side of the mesh fragment. In each test, the measurements were taken three times in order to confirm the results and reduce errors.
The ratio of the pressure of the air drawn through the sheet to the mesh tension capacity are given in Table. 2.
Table 2 Ratio of the drawn airflow force to the mesh tension capacity
№ tst. | Total load per side (m), g | Tension force per side (σ), g/см | Digital display readings, mV | Average value | ||
1 msm. | 2 msm. | 3 msm. | ||||
1 | 0 | 0 | 459 | 460 | 465 | 461,3 |
2 | 50 | 2,9 | 465 | 465 | 470 | 466,6 |
3 | 100 | 5,8 | 470 | 471 | 473 | 471,3 |
4 | 150 | 8,8 | 472 | 476 | 479 | 475,6 |
5 | 200 | 11,7 | 475 | 479 | 481 | 478,3 |
As the result of the research, the general ratio of the mesh tension capacity to the pressure of the air drawn through the sheet was determined (Fig. 3).
Fig. 3. The ratio of the force of the air drawn through the mesh surface to the tension force applied to the mesh
According to the the graphic chart of the ratio, the greater is the tension applied to the mesh, the greater force of the drawn air is necessary to induce powered contact of the contacting unit and the mesh sheet.
Conclusion
The present research determined the ratio of the tension applied to the mesh to the force of the drawn air the mesh surface is exposed to.
It was stated that, in order to use the method, additional adjustment of the designed device should be carried out before actuall operation. In this regard, the tension capacity control device should be calibrated and checked on a reference mesh fragment for each mesh grade. Accordingly, a calibration table should be drawn up, showing how the mesh tension capacity is reflected by the digital indicator readings for each value of the applied tension.
The method needs additional research and improvement in order to increase the accuracy of the model device readings; the construction of the device should also be made simpler. However, the device demonstrates obvious prospects of its further industrial application, as, unlike other methods, it allows taking measurements of the mesh tension capacity on a spherical surface, displaying in the process correct digital values.
Sobre autores
Evgeniya Gracheva
JSC Academician M. F. Reshetnev “Information Satellite Systems” (RESHETNEV JSC); Reshetnev Siberian State University of Science and Technology
Autor responsável pela correspondência
Email: grachevaea@iss-reshetnev.ru
Engineer, postgraduate student
Rússia, Krasnoyarsk; KrasnoyarskFedor Sin'kovskiy
JSC Academician M. F. Reshetnev “Information Satellite Systems” (RESHETNEV JSC)
Email: sfk@iss-reshetnev.ru
Deputy Director-Chief Designer of the industry center for large-size transformable mechanical systems
Rússia, KrasnoyarskBibliografia
- Klishev O. P., Halimanovich V. I. [Analysis of elastic deformations of the spacecraft on the distortion of the shape of the reflecting surfaces of large-sized structural elements]. Vestnik SibGAU. 2008, Iss. 1 (18), P. 115–118 (In Russ.).
- Halimanovich V. I., Kudryavin L. A., Belyaev O. F., Zavaruyev V. A. [The use of the nonlinear theory of elasticity and the similarity method for assessing the deformation properties of metal-mesh netting], Vestnik Tomskogo gos. un-ta. Matematika i mekhanika. 2017, No. 49, P. 105–113 (In Russ.).
- Lubrano V., Mizzoni R., Silvestrucci F., Raboso D. PIM characteristics of The Large Deployable Reflector Antenna Mesh. 4th International Workshop on Multipactor, Corona and Passive Intermodulation in Space RF Hardware, 2003. Available at: http//:www.estec.esa.nl/conferences/03C26.
- Zhukov A. P. [Reaction of the reflecting surface of a large-sized reflector to the action of a perturbing pulse]. Vestnik Tomskogo gos. un-ta. Matematika i mekhanika. 2011, No.4 (12), Р. 101–109 (In Russ.).
- Bukhtyak M. S., Ponomarev S. A. Programma opredeleniya formy raskroya setepolotna osesimmetrichnogo reflektora № 2019619521 [The program for determining the shape of the cutting of the axisymmetric reflector. No. 2019619521]. 2019.
- Lavrushev V. N., Gilyazov I. I. [Improving the accuracy when measuring the reflection coefficient of the net]. Materialy Mezhdunar. nauch.-tekhn. konf. molodykh uchenykh, aspirantov i studentov [Materials of the International Scientific and Technical Conference of Young scientists, postgraduates and students]. 2018 (In Russ.).
- Romanov A. G., Sedelnikov Yu. E. [Measurement of the reflection coefficient of mesh materials]. Vestnik Kazanskogo gos. tekhn. un-ta im. A. N. Tupoleva. 2013, No. 1, P. 81–85 (In Russ.).
- Testoedov N. A., Halimanovich V. I., Shipilov G. V. et al. [Method of manufacturing a deployable large-sized reflector of a spacecraft]. Patent RF, no. 2350518, 2009.
- Soifera V. A. Metody komp'yuternoy obrabotki izobrazheniy [Methods of computer image processing]. Moscow, Fizmatlit Publ., 2001, 784 р.
- Grishentsev A. Yu., Korobeynikov A. G. Metody i modeli tsifrovoy obrabotki izobrazheniy [Methods and models of digital image processing]. St. Petersburg, St. Petersburg Polytechnic University Publ., 2014, 190 p.
- Sukharev E. N., Kolovsky Yu. V. [Method for determining the tension of a mesh antenna based on found images]. Vestnik SibGAU. 2006, No. 1–8, P. 96–100 (In Russ.).
- Sukharev E. N., Kolovsky Yu. V. Programma obrabotki izobrazheniy antennogo setepolotna dlya opredeleniya ego natyazheniya [The program of image processing of the antenna metal-mesh for determining its tension]. 2005.
- Zhukov A. P., Pavlov M. S., Podshivalov S. F., Ponomarev S. V., Halimanovich V. I. Sposob opredeleniya ravnomernogo natyazheniya membrany iz izotropnogo materiala [Method for determining the uniform tension of a membrane made of an isotropic material]. Patent RF, no. 216.012.7AS2, 2013.
- Testoedov N. A., Halimanovich V. I., Velichko A. I., Shipilov G. V., Kolesnikov A. P., Akchurin V. P. Zontichnaya antenna kosmicheskogo apparata [The umbellate antenna of the spacecraft]. Patent RF, no. RU 2427948 C1, 2009.
- Zhukov A. P., Pavlov M. S., Podshivalov S. F. [Ponomarev S. V., Halimanovich V. I. Indentation of the indenter into the surface of a stretched metal-mesh]. Vestnik Tomskogo gos. un-ta. 2010, No. 4 (12), P. 96–101 (In Russ.).
- Gracheva E. A., Sin'kovskiy F. K., Snytko D. V., Zamyatin D. A. [Research of the method based on the influence of sound waves on the metal-mesh for measuring the tension force of the metal-mesh on large-sized reflectors]. Siberian Aerospace Journal. 2022, Vol. 23, No. 1, P. 558–567.
Arquivos suplementares







