Issues of ensuring the resistance of high-voltage solar arrays of spacecraft to the effects of secondary arc discharges
- Authors: Valiullin V.V.1, Kochura S.G.2, Maximov I.A.2, Nadiradze A.B.1
-
Affiliations:
- Moscow Aviation Institute (National Research University)
- JSC “Academician M. F. Reshetnev “Information Satellite Systems””
- Issue: Vol 25, No 1 (2024)
- Pages: 85-105
- Section: Section 2. Aviation and Space Technology
- Published: 29.07.2024
- URL: https://journals.eco-vector.com/2712-8970/article/view/634623
- DOI: https://doi.org/10.31772/2712-8970-2024-25-1-85-105
- ID: 634623
Cite item
Abstract
We have considered the issues of ensuring the resistance of high-voltage solar battery (SB) of spacecraft to the effects of secondary arc discharges. Research in this area has been going on for more than 50 years, but the answer to all the questions has not yet been found. First of all, this is due to the complexity of the electrophysical processes occurring on the surface of the spacecraft in space and in laboratory conditions. The second reason is the random nature of secondary vacuum arc discharges, which requires the use of special test methods to confirm the effectiveness and reliability of selected design and technological solutions. Tests in conditions close to full-scale conditions do not allow us to solve this problem. We have given a retrospective review of publications on the physical features of secondary arcs arising on SB of spacecraft, the mechanisms of their initiation, experimental research and testing methods. We paid considerable attention to the issues of the occurrence of secondary arc discharges SB of the spacecraft in the conditions of ionospheric plasma and plasma generated by electric propulsion thrusters. We have shown that despite the large amount of accumulated data and knowledge, the transition from low-voltage SB to high-voltage SB remains a difficult scientific and technical problem, which requires additional research to solve. In addition, it is already necessary to start training personnel who possess a wide range of knowledge and are able to work on this topic. To do this, it seems advisable to organize sectoral research, as well as the allocation of targeted funds for the training of highly qualified specialists and their independent research. This approach will make it possible to solve the problem of creating high-voltage SB in the shortest possible time and prepare personnel for the development of this technology.
Full Text
Introduction
One of the trends in the development of solar power in space is to increase the operating voltage of solar battery (SB) to 100 volts or more. This allows to significantly reduce the mass of the cable network and voltage converters and, accordingly, increase the mass of the payload of the spacecraft (SC) [1; 2]. A striking illustration of this trend is the three-year NASA program (2001–2003) to develop the Hall-effect thruster system with the so-called “direct drive” - D2HET [3; 4]. This program was aimed at significantly reducing the complexity, weight and cost of the power system compared to conventional low-voltage systems through the use of solar panels operating at a voltage of 300 V. The results of this program served as the basis for creating the next-generation power systems, the research of which is currently carried out [5–7].
It should be noted that such significant achievements were the result of many years of work by researchers, designers and technologists over more than the last 50 years. The first publications on high-voltage solar batteries appeared in the early 70s. [8; 9]. In the following years, up to several hundred publications were published per year, which in total amounted to more than 5 thousand works. In this regard, a legitimate question arises: what were such large-scale research aimed at and what prevented us from simply increasing the battery voltage from the previously used 27 to 100 V or more?
The answer is simple. The fact is that at voltages above 40–70 V, powerful arc discharges (AD) can occur in the SB circuits of the spacecraft, which can lead to the destruction of the SB elements and a significant reduction in their output power. To ensure reliable operation of the SB, it is necessary to create effective means of protection against arc discharges, which is a very complex scientific, technical and technological challenge.
The danger of arc discharges to SB of the spacecraft is evident from Fig. 1, showing a SB fragment of the low-orbit spacecraft EURECA after a powerful arc discharge [10]. The damaged spacecraft was returned to Earth using the U.S. Space Shuttle.
Рис.1. Возвращенный образец солнечной батареи КА EURECA после воздействия мощного дугового разряда [10]
Fig. 1. Sample of Flight Array from ESA EURECA Mission after Sustained Arcing [10]
A section of the solar cell array of the spacecraft's SB was “short-circuited” to the spacecraft's body as a result of occurrence of a secondary stable arc [10].
Figure 2 shows a photo obtained during ground tests of a SB with a voltage of 127 V by the TERRA remote sensing satellite flagship [10].
Рис. 2. Кадр из видеозаписи (а) и участок, поврежденный дуговым разрядом (б), на образце БС КА TERRA [10]
Fig. 2. Video Frame from EOS-AM1 Sustained Arc Test (а) and Arc Site of Sustained Arc on EOS-AM1 Sample Array. Cells are 2x4 cm (б). EOS-AM1 – Earth Observing System – Morningside 1 (now Terra) [10]
At the place where a stable arc occurred, the solar battery circuit was completely short-circuited. This test led to the redesign of all solar array circuits on the TERRA satellite to prevent arcing in orbit. The satellite with the modified SB was launched on December 18, 1999 into a sun-synchronous polar orbit at an altitude of 705 km and successfully completed its assigned service life. However, these modifications cost several million dollars [3].
In geostationary orbit, the first anomalies in the operation of the SB associated with electric discharge phenomena were recorded in 1997. 32 failures were recorded due to arc discharges in the period from 1997 to 2002 [11; 12]. Damage to solar panels on commercial telecommunications satellites due to arcing during this period cost more than $100 million in damages and redesign costs. NASA programs were also affected [3].
In Russia, vacuum arc discharges between sections of the SB were first observed long before these events back in 1987 at the Institute of Nuclear Physics of Moscow State University together with the NPO “Kvant” when testing a fragment of the SB of a telecommunication spacecraft in a vacuum chamber under conditions simulating the flight of geostationary communication satellites [13– 15]. A vacuum arc discharge was recorded between two fragments of the SB at a voltage of 40 V. The distance between the fragments was 3 mm. In places where the vacuum arc formed, contact sputtering and melting of the protective glass were observed. However, due to the collapse of the USSR in 1991, research in this direction stopped. Some work was carried out at the Tomsk Polytechnic University and TsNIIMash [16; 17]. Research resumed after 1995–2000 [17–20].
Already in the early 2000s it became clear that laboratory tests do not always provide a guaranteed result. The conditions for the occurrence of arc discharges in space are so complex and diverse that simulating them on Earth is an extremely difficult task, requiring expensive experimental equipment and a deep understanding of the physics of the processes occurring on the surface of the SB in space and during laboratory experiments.
This became the reason for a new round of research, which was aimed at building complex physical and mathematical models of electrophysical processes on high-voltage spacecraft’s SB, as well as testing selected methods of protection against arc discharges on special technological satellites.
One of these satellites was ETS-VIII, which was launched on December 18, 2006 and successfully operated until January 10, 2017. No anomalies in the operation of the SB were observed, which confirmed the effectiveness of the protection measures chosen at the stage of ground-based experimental testing [21].
Another example is the 30 cm cube nanosatellite HORYU-II, launched on May 18, 2012. It was developed at the Kyushu Institute of Technology in Japan. HORYU-II is a demonstration satellite for high-voltage technologies, the main advantages of which are low cost and short development time. The satellite was supposed to demonstrate the ability to generate 300 V in orbit using spherical solar cells connected in series. However, during data collection, many problems were discovered, which are discussed in [22].
Preliminary data obtained on the HORYU-IV satellite were published in [23]. A video camera was installed on the satellite, which made it possible to obtain a photograph of the discharge from space (Fig. 3).
Thus, the world experience in the development of high-voltage spacecraft’s SB shows that for a technological leap from low-voltage SB to high-voltage it is necessary to solve a wide range of problematic issues related to the development of physical and mathematical models of electric discharge processes occurring on the surface of the SB, the creation of experimental equipment and testing methods, as well as the development of effective methods for protecting high-voltage spacecraft’s SB from arc discharges.
Рис. 3. Фотография разряда на БС технологического спутника HORYU-IV [23]
Fig. 3. Photo of the discharge on the solar battery of the HORYU-IV technological satellite [23]
Arc discharges between solar cell sections
The most destructive for the spacecraft’s SB are the so-called permanent sustained arcs that arise between SB sections. These arcs can last for a few or tens of seconds, destroying conductors and adjacent dielectrics. Examples of such categories were given above. But if the duration of the arc is short, then even with a large discharge current, the released energy will not be enough to destroy the structural elements of the SB. Such arcs are classified as non-sustained arcs and, according to [24], are considered not dangerous for the SB.
However, such a criterion is very conditional. Experimental studies [25] and many other authors show that the burning duration of a vacuum arc is a random variable subject to a distribution of the form
(1)
where – total number of discharges; – number of discharges with a burning time longer than ; – average vacuum arc burning time.
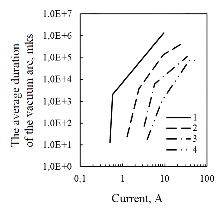
In this case, the average burning time of a vacuum arc increases exponentially with increasing discharge current [25]:
(2)
where – vacuum arc current; – vacuum arc threshold current (cutoff current [25]); – average duration of vacuum arc burning while ; – a constant numerically equal to the tangent of the slope of the dependence .
A convincing theoretical justification for dependencies (1) and (2) based on the ectonic model of a vacuum arc discharge [26–28] is given in [29]. The physical reason for the instability of a vacuum arc is the finite lifetime of an ecton and the associated cyclicity of processes in the cathode spot of a vacuum arc. According to the ectonic model, the cathode spot of a vacuum arc consists of many individual cells, the lifetime of which is measured in nanoseconds. Each cell carries a current that does not exceed twice the threshold vacuum arc current . The process of self-sustaining vacuum arc discharge is ensured by the go-ahead mode of functioning of ectons. If for some reason the go-ahead mode is not passed on, spontaneous extinction of the vacuum arc is observed. As the discharge current decreases, the number of cells and, consequently, the probability of successful transmission of the “relay” decreases.
Detailed studies regarding the definition of and dependencies of various materials were carried out by many authors [25; 30–32]. Typical dependencies for a number of materials are shown in Fig. 4 [30], and the cutoff current values depending on the parameter , where is the melting temperature of the material; is the thermal conductivity coefficient (Fig. 5) [25].
The data presented show that the short vacuum arcs observed in the experiment do not guarantee the absence of destruction, since there is always some probability (even a very small) of the occurrence of a long vacuum arc, the energy of which will be sufficient to melt the electrodes and pyrolyze the dielectrics adjacent to them.
At the same time, dependence (2) suggests that if the discharge current is limited, the vacuum arc does not ignite. Moreover, the threshold value of the discharge current, depending on the material of the electrodes, is in the range of 0.2–2 A, which is comparable to the characteristic current of a line of solar elements.
It should be noted that relations (1), (2) and the corresponding experimental data were obtained for ideal electrodes that do not contain contamination and adjacent dielectrics. In a real SB, the situation is different, so we cannot exclude the participation of films of contaminants and dielectrics in contact with heated electrodes in the discharge of gas release products.
Рис. 4. Средняя продолжительность горения вакуумной дуги для различных металлов: 1 – цинк; 2 – серебро; 3 – медь; 4 – вольфрам [30]
Fig. 4. The average duration of the vacuum arc for various metals: 1 – zinc; 2 – silver; 3 – copper; 4 – tungsten [30]
Рис. 5. Пороговые токи вакуумных ДР для различных материалов катода [25]
Fig. 5. Threshold currents of vacuum arc discharges for various cathode materials [25]
The random nature of value significantly complicates the procedure for testing the spacecraft’s SB samples for resistance to the effects of arc discharges. To assess the probability of occurrence of a destructive arc discharges, it is necessary to determine the parameters and . This is a challenging task that requires collecting a large volume of statistical data. Therefore, when testing timeframes are tight, solving it in full scope is not always possible.
A detailed description of the measure procedures of is given in [33–35]. The results of these works are included in the standard [24] and are used when testing the high-voltage spacecraft’s SB for resistance to the effects of arc discharges.
parameter can be considered as the number of arc discharges occurring in all discharge gaps of the SB during the entire period of active existence of the spacecraft. In ground tests, this is the total number of arc discharges that occurred on the SB sample during the tests.
It is obvious that if a discharge with a duration exceeding the critical value occurs in at least one gap, the structure will be destroyed. On a real SB there are tens of thousands of such gaps, on a prototype SB there are several dozen. Therefore, in terms of statistics, the duration of testing a sample (under conditions simulating full-scale operating conditions) should exceed the active life of the spacecraft by thousands of times. Obviously, this condition is impossible and the tests must be carried out at an accelerated rate, which is achieved by increasing the frequency of events that initiate the arc discharge.
In space, arc discharges can be initiated by electrostatic discharges arising as a result of differential charging of spacecraft structural elements [36], primary (trigger) arcs [11; 21; 37], formed under conditions of an inverse potential gradient [38; 39], as well as impacts from meteorite particles [40]. In laboratory conditions, as a rule, this are electrostatic discharges, arising when a SB sample is irradiated with a flow of high-energy electrons [17; 36]. But not every such event causes arc discharges. Depending on its intensity and localization, the probability of arc discharges initiation can vary within very wide limits. Therefore, in laboratory studies, special devices are sometimes used that generate plasma, which initiates secondary arc discharges [18; 20; 41; 42].
It should be noted that a very large number of national [17; 36; 43] and foreign [42; 44; 45] works are devoted to electrostatic discharges research. This is due not only to the ability of electrostatic discharges to initiate secondary arc discharges, but also to the ability to cause degradation of the properties of functional surfaces and materials of the spacecraft. For example, in [46], protrusions were discovered on the surface of protective glass samples of solar cells (Fig. 6), which are directly involved in electrostatic discharges and can lead to degradation of the optical properties of the glass.
Рис. 6. Выступы на поверхности защитного стекла в местах возникновения ЭСР [46]
Fig. 6. Protrusions on the surface of the protective glass in places of occurrence of electrostatic discharges [46]
In works [47; 48], a hypothesis was put forward and investigated that the anomalous (non-radiation) power losses of the GPS satellite system were caused by contamination resulting from the deposition of silver electrode evaporation products on the protective glass of the SB during electrostatic discharges. There is also data on the pyrolysis of dielectric materials in the region where electrostatic discharges occur [21].
Although it should be noted that on domestic satellites operating in medium-high circular orbits, degradation of SB of a non-radiation nature was observed [49]. Moreover, the levels of additional power losses of the various spacecraft’s SB are approximately the same, amounting to about 1.5% per year. It is unlikely that SB of various designs will be affected by electrostatic discharges or arc discharges will be the same, so the hypothesis mentioned above requires additional confirmation.
The frequency of occurrence of electrostatic discharges in space depends mainly on the parameters of the plasma surrounding the spacecraft, the illumination of the spacecraft and the temperature of its surface. All other things being equal, the frequency of electrostatic discharges is proportional to the electron current density [36], although sometimes this dependence is violated [17].
The electron current density in orbit can vary by several orders of magnitude depending on the activity of the Sun and the position of the spacecraft in orbit (Fig. 7). In addition to the electron current density, the energy spectrum of the surrounding plasma also changes.
Рис. 7. Вероятность превышения заданной плотности тока магнитосферных электронов с энергией 30 эВ – 45 кэВ на геостационарной орбите при местном времени: LT (Local Time) – местное время; Eclipse – период солнечного затмения [50]
Fig. 7. The probability of exceeding the specified current density of magnetospheric electrons with an energy of 30 eV – 45 keV in a geostationary orbit at local time: LT (Local Time) – local time; Eclipse – the period of a solar eclipse [50]
Such significant variations in operating conditions lead to the fact that it is only possible to estimate the parameter during the active existence of the spacecraft in orbit very approximately. Of course, similar assessments have been carried out [51], but the question arises whether they have practical significance. Indeed, with significant variability in the operating conditions of the spacecraft and uncertainty in the initial data, the error in determining may be too large. Accordingly, the accuracy of forecasting the risk of occurrence of destructive arc discharges under spacecraft flight operation conditions will not be high enough.
In this regard, a more rational approach seems to be when the absence of the possibility of the occurrence of destructive arc discharges is confirmed by laboratory tests. However, even in these cases, the probabilistic nature of arc occurrence plays a decisive role. If tests are carried out under conditions corresponding to flight operation conditions, the number of observed arc discharges during the experiment may be insufficient to identify destructive arcs. Simply increasing the intensity of testing does not solve the problem. Therefore, the only way is to theoretically prove that there are no destructive arcs. But how to do this with limited testing time is not yet entirely clear.
Influence of ionospheric plasma and plasma of electric rocket engines
The SB electrodes and the spacecraft body in the ionospheric plasma or in the plasma formed during the operation of electric rocket engines acquire a certain equilibrium potential, at which a balance of electronic and ion currents is achieved (Fig. 8). The issues of determining the potential of SB electrodes for spacecraft operating in low and high orbits are widely covered in the literature [52–54]. Sometimes, for these cases, the classical double probe theory is applied [55]. Some estimates of the potential values of the SB electrodes and leakage currents are given in [56]. Let us immediately note that the magnitude of leakage currents and the resulting power losses of the SB, as a rule, turn out to be small [57]. But this does not mean that this factor can be neglected. In some cases, for example, when gas engines are turned on, current leakage can increase significantly.
Рис. 8. Схема распределения токов на поверхностях БС и корпусе КА в плазме
Fig. 8. Current distribution scheme on the surfaces of the solar battery and the spacecraft body in plasma
Depending on the ratio of areas and parameters of the plasma, the SB electrodes of the spacecraft can be biased both in the positive and negative directions [54; 56]. In terms of the occurrence of of arc discharge, these are two fundamentally different situations.
Positively biased electrodes collect electrons intensively, which always leads to current leakage [57]. In some cases, a glow discharge and glow occur [58]. As an illustration of this effect, Figure 9 shows photographs of the glow on a positively biased electrode, obtained by the authors [58] and in the MAI laboratory.
Рис. 9. Свечение на положительно смещенном электроде, полученное в [58] (а) и в лаборатории МАИ (б)
Fig. 9. Glow on a positively biased electrode obtained in [58] (а) and in our laboratory (b)
At sufficiently high values of the potential of the electrodes and the leakage current flowing through them, heating of the electrodes to high temperatures is possible [56], which can lead to intense gas evolution of dielectric materials adjacent to the electrodes and even to melting electrodes.
It is evident that all these effects are highly undesirable and should be eliminated at the design stage. Otherwise, emergency measures will be required to mitigate the impact or withdraw the spacecraft from operation.
For example, the potential bias of International Space Station (ISS) SB relative to the ionospheric plasma caused, as is known, serious problems that required research [59–61] and the installation of a special plasma contactor at the station [62], which eliminates negative electric discharge phenomena.
On negatively biased electrodes, triggered arc microdischarges can occur, initiating secondary arcs [21]. The physical mechanism for the formation of trigger arcs is associated with an avalanche-like increase in the current of electron emission from microscopic protrusions on the surface of a negatively biased electrode surrounded by a fairly dense low-temperature plasma (ecton generation occurs at this point). Visually, this looks like the formation of small short-lived luminous points on the surface of the electrode (cathode). The probability of occurrence of trigger arcs depends on the magnitude of the displacement and the concentration of the surrounding plasma [21].
Thus, both considered cases are dangerous for the SB and should be carefully examined at the design stage. Plasma concentration values and electrode potentials realized under flight operating conditions can only be determined by calculation methods, which requires appropriate mathematical models and software. An example of such calculations can be the assessment of the parameters of the plasma formed by a Hall thruster of the PPS-1350G type in the vicinity of the SMART-1 SB [63].
Arc discharges in the power cable network
Arc discharges in the power cable network of spacecraft’s SB have a number of specific features that should be considered separately. First of all, such discharges usually occur in places of mechanical damage to cables. These damages may be of a technological nature, or may occur during operation as a result of prolonged thermal cycling, vibrations, or the impact of meteoric particles. If such an arc occurs, it can cause very serious damage, since the current in power circuits is tens and hundreds of amperes, which significantly exceeds the threshold values. The burning of the arc is supported not only by the evaporation products of the cathode, but also by the gases released when the insulating materials are heated, so the arc burning time can be very long, and the consequences can be destructive. As an example, photographs of the cable are given (with artificially introduced defect) before and after the arc discharge (Fig. 10) [64].
Рис. 10. Следы дугового разряда на силовом кабеле с нарушенной изоляцией [64]
Fig. 10. Traces of arc discharge on a power cable with broken insulation [64]
Рис. 11. Образец для испытания на образование дуги при ударе твердой частицы. Расстояние между кабелями 1,8 мм [65]
Fig. 11. Secondary arcing test sample. The stripped cables are separated by 1.8 mm [65]
The research results on secondary arcs initiated by meteoric particle impact and laser beam (Figure 11), obtained in [65], are highly interesting.
Secondary arcs began to arise at a voltage of 100 V and a current of 1 A. The work measured the parameters of the plasma generated during a high-speed impact of solid particles, which can be used in assessing the conditions for the occurrence of secondary arcs in orbit.
Protection of high-voltage spacecraft’s SB from secondary arc discharges
The most reliable way to protect spacecraft’s high-voltage SB from secondary arc discharges is a complete multilayer insulation of all electrodes. However, this approach is not suitable for space, since it is associated with a sharp increase in the mass of the SB and a decrease in its specific characteristics, which cancels out all the benefits from increasing the voltage. Therefore, the difficulty of the task is to provide reliable protection against arc discharges with a minimal increase in the mass of the SB. To solve this problem, it is necessary to understand the physics of arc formation processes, degradation of material properties in space, as well as to know existing technological and design limitations.
Among the possible protection methods being considered are insulation of switching buses, optimization of the arrangement of elements on SB panels, increasing the gap between elements, the use of filling gaps between solar cells, the use of isolating diodes, selection of materials and design of the substrate, grounding method, the use of large protective glasses for several elements, the use of flexible solar cells and concentrators [3; 11; 66]. There may be other methods as well.
Testing facilities and personnel
Considering the complexity of creating highly effective protection of spacecraft’s high-voltage SB from secondary arc discharges, the role of the testing base and highly qualified personnel with the necessary knowledge and ability to work on unique test equipment becomes decisive. There is no other way to confirm the reliability of the selected protection method other than a laboratory experiment.
Currently, in Russia there are several scientific groups with equipment and personnel capable of solving these problems. Among them is the Institute of High Current Electronics SB RAS [18; 19], Tomsk Polytechnic University [17; 36; 38], JSC “TsNIIMash” [43; 16], JSC “Composite” [46; 67], as well as MAI (Department 208 “Electric rocket engines, power and energy-physical installations”).
The MAI experimental base is represented by the “PP-2” stand [68], which is included in the register of unique stands and installations of the Russian Federation. The stand includes three vacuum chambers PP-2 (2 m3), ELU-8 (2 m3) and U3V (12 m3) (Fig. 12).
All chambers are fitted with oil-free pumping facilities, equipment and measuring instruments necessary for testing. There are electron guns (electron energy from 5 to 100 keV), plasma sources (Hall thrusters SPD-50, SPD-70, VP-30), electric field strength sensors developed by NSU [36], electrical probes of various types, video cameras, a solar simulator radiation, thermally stabilized plates and cryogenic shields.
It should be noted that the experimental base of Moscow Aviation Institute (MAI) was created starting in 1984, in close cooperation with NPO PM, now JSC RESHETNEV. Work was carried out on a wide range of problems, including the electrification of spacecraft, the effect of its own external atmosphere on the spacecraft, the effect of plasma jets of electric propulsion on the elements and systems of the spacecraft. One of the most important areas of research was the effect of electric propulsion plasma on the operation of high-voltage spacecraft equipment. The results of these studies played a major role in the creation of the SESAT spacecraft. The methodology developed on their basis [69] is successfully used in spacecraft design and included in a number of regulatory documents.
Рис. 12. Экспериментальная база МАИ для испытаний БС: вакуумные камеры ПП-2 (а), ЭЛУ-8 (б), У3В (в)
Fig. 12. MAI experimental base for testing a solar battery: vacuum chambers PP-2 (а), ELU-8 (b), U3V (c)
Currently, as part of the “Priority 2030” program, the stand is being upgraded with a large vacuum chamber U3V to test large-scale space technology facilities, including SB panels, for the combined effects of electrification and electric propulsion’s plasma. The vacuum chamber has a diameter of 2 meters and a length of 5 meters. It is equipped with a cryogenic shield providing sample temperatures down to -110°C and allows testing of samples with diagonals up to 1.5 meters.
Between 2019 and 2023 four high-voltage SB of the spacecraft were tested at the stand to assess their resistance to magnetospheric plasma and SPT (stationary plasma thrusters) plasma, as well as their resilience to secondary arc discharges. As an illustration, arc discharges resulting from irradiating the high-energy electron sample of the SB are presented in Figure 13 (a), and in the SPT plasma under positive (13, b) and negative (13, c) electrode displacements.
Рис. 13. Фотографии вторичных дуговых разрядов, инициированных воздействием электронного облучения (а); в плазме, генерируемой ЭРД, при положительном (б) и отрицательном (в) смещении электродов
Fig. 13. Photographs of secondary arc discharges initiated by exposure to electron irradiation (а); in plasma generated by an electric propulsion thruster, with positive (b) and negative (c) electrode displacement
The test results confirmed the seriousness of the problem and made it possible to formulate a list of tasks that need to be solved first.
First of all, this is the organization of industry research work, which will be aimed at creating a methodology for testing spacecraft’s high-voltage SB for resistance to secondary arc discharges. This work should include the development of physical and mathematical models and software, the creation of special experimental equipment, development of test methods and methods for protecting spacecraft’s SB from secondary arc discharges. The experience of our work has shown that solving these problems within the framework of planned development work can take many years.
Equally important is the task to train personnel. If we start from scratch by involving students in their 3rd or 4th year in research, they will not become professionals in this field until at least 5 to 10 years later. Additionally, to train such personnel, specialists who already possess the necessary knowledge are needed. However, they are few in number, and typically they are so overloaded that they do not have the opportunity to immerse themselves sufficiently in the problem.
In this situation, it seems most rational to allocate targeted funds for training specialists and conducting independent research within the framework of a postgraduate course and doctoral studies, which will allow applicants and their supervisors to focus as much as possible on the subject of research. These studies should be aimed at solving specific problems within the specified problem. Some part of the funds should be allocated for research conducted by young specialists after defending their dissertations. Coordination of efforts at the industry level should be carried out by the scientific community and representatives of industry.
Conclusion
- The world experience shows that mastering the technology of spacecraft’s high-voltage SB requires solving a wide range of scientific, technical, and technological tasks related to the development of mathematical models, the creation of experimental equipment and testing methodologies, as well as the development of effective methods for protecting spacecraft’s high-voltage SB from secondary arc discharges. In addition, it is necessary to train personnel who will be able to develop this technology in the future.
- As a result of long-term of cooperation between JSC RESHETNEV and MAI, a valuable framework has been provided in experimental and theoretical research into the problem of ensuring the resistance of spacecraft’s high-voltage SB to the secondary arc discharges, as well as a unique experimental base has been created. It is shown that to ensure the normal functioning of high-voltage SB in space, it is necessary to organize industry-wide research aimed at creating a test methodology and developing methods for protecting high-voltage SB of spacecraft from arc discharges.
- To train highly qualified personnel in this area, it seems appropriate to allocate targeted funds for research by senior students, postgraduate students, doctoral students and young specialists. The selection of the research area and its coordination should be based on scientific community and industry.
About the authors
Valery V. Valiullin
Moscow Aviation Institute (National Research University)
Email: valiullinvv@mai.ru
Postgraduate Student, Assistant
Russian Federation, MoscowSergey G. Kochura
JSC “Academician M. F. Reshetnev “Information Satellite Systems””
Email: kochura@iss-reshetnev.ru
Cand. Sc., Deputy General Designer
Russian Federation, ZheleznogorskIgor A. Maximov
JSC “Academician M. F. Reshetnev “Information Satellite Systems””
Email: mia@iss-reshetnev.ru
Dr. Sc., Head of Department
Russian Federation, ZheleznogorskAndrey B. Nadiradze
Moscow Aviation Institute (National Research University)
Author for correspondence.
Email: nadiradze@mai.ru
Dr. Sc., Professor
Russian Federation, MoscowReferences
- Ferguson D. C., HiIIard G. B, Vayner B. V. et al. High Voltage Space Solar Arrays. 53rd International Astronautical Congress. The World Space Congress (10–1 9 Oct 2002/Houston, Texas). NASA Glenn Research Center Cleveland, Ohio USA, 2002. P. 1–8. IAC-02-IAA.6.3.03.
- Gruzdev A. I., Shevtsov M. S. [Spacecraft Power Supply System With A Distrbuted Modular Structure Based On Photovoltaic Cells Integrated With Li-Ion Storage Batteries] Voprosy elektromekhaniki. Trudy VNIIEM. 2022, Vol. 189, No. 4, P. 15–20 (In Russ.).
- Jongeward G. A., Katz I. J., Carruth M. R. et al. High Voltage Solar Arrays for a Direct Drive Hall Effect Propulsion System. IEPC Paper 01–327, 27Ih International Electric Propulsion Conference, Pasadena, CA, 2001.
- Mikellides I. G., Jongeward G. Assessment of High-Voltage Solar Array Concepts for a Direct Drive Hall Effect Thruster System. 39th AIAA/ASME/SAE/ASEE Joint Propulsion Conference and Exhibit. 2003. doi: 10.2514/6.2003-4725.
- Manzella D. H., Hack K. High-Power Solar Electric Propulsion for Future NASA Missions. 50th AIAA/ASME/SAE/ASEE Joint Propulsion Conference. 2014. P. 3718. doi: 10.2514/6.2014-3718.
- Kerslake T. W. Effect of Voltage Level on Power System Design for Solar Electric Propulsion Missions. Journal of Solar Energy Engineering. 2004, Vol. 126, No. 3, 936. 15 p. Doi: 10.1115/ 1.1710523.
- Goebel D. M., Filimonova O. S. High Voltage Solar Array Development for Space and Thruster-Plume Plasma Environments. IEEE Transactions on Plasma Science. 2022, Vol. 50, No. 3, P. 721–730. doi: 10.1109/TPS.2022.3147424.
- Knauer W., Bayless J. R., Todd G. T., Ward J. W. High Voltage Solar Array Study. NASA CR-72675, Hughes Research Laboratories, 19708, 1970, 185 p.
- Herron B., Bayless J., Worden J. High voltage solar array technology. 9th Electric Propulsion Conference. Journal of Spacecraft and Rockets. 1972. P. 457–463. doi: 10.2514/6.1972-443.
- Ralph R. Roe Jr. Low Earth Orbit Spacecraft Charging Design Handbook (NASA-HDBK-4006A). NASA, 2018, 76 p. Available at: https://standards.nasa.gov/sites/default/files/standards/ NASA/A/0/nasa-hdbk-4006a.pdf.
- Ferguson D. C., Hoffmann R. C., Cooper R. J. et al. 1997–2002 Solar Array String Failures Revisited. Journal of Spacecraft and Rockets. 2017, Vol. 54, No. 3, P. 542–553. Doi: 10.2514/ 1.A33637.
- Akishin A. I. [Reducing the power of solar batteries of artificial Earth satellites under the influence of electrical discharges]. Perspektivnyye materialy. 2008, No. 4, P. 21–28 (In Russ.).
- Letin V. A., Akishin A. I., Bardina N. M. et al. [The occurrence of an arc discharge between sections of solar batteries in a vacuum]. Geliotekhnika, 1990, No. 1, P. 75–76 (In Russ.).
- Letin V. A., Bardina N. M., Zayavlin I. R. et al. [Experimental studies of the arc discharge between sections of solar batteries when irradiated with electrons in a vacuum]. Geliotekhnika. 1991, No 4, P. 23–26 (In Russ.).
- Akishin A. I., Baykal′tsev V. B., Tyutrin Y. I. [The effect of electronic flows on the protective coatings of solar batteries]. Fizika i khimiya obrabotki materialov. 1991, No. 4, P. 68–71 (In Russ.).
- Babkin G. V., Gostishchev E. A., Smekalin L. F. et al. [Conditions Of Low-Voltage Electrical Arc Origination Between Solar Battery Elements During Spacecraft Radiation Electrification]. Kosmonavtika i raketostroyeniye. 2003, Vol. 30, No. 1, P. 75–83 (In Russ.).
- Bezhayev Y. A., Zykov V. M., Ivanov V. V. et al. [A methodology for conducting accelerated life tests of solar batteries of spacecraft for resistance to radiation electrification factors in laboratory conditions]. Izvestiya Tomskogo politekhnicheskogo universiteta. Inzhiniring georesursov. 2008, Vol. 312, No. 2, P. 38–42 (In Russ.).
- Batrakov A. V., Dubrovskaya E. L., Karlik K. V. et al. [Physical modeling of secondary arcing in the range of ambient pressures from atmospheric level to vacuum level]. Izvestiya vuzov. Fizika. 2014, Vol. 57, No. 11, P. 7–11 (In Russ.).
- Batrakov V. A., Kochura S. G., Popov S. A. et al. [Hardware Set-Up For Diagnostics Of Spacecraft On-Board Equipment On Resistance To Arcing]. Reshetnevskiye chteniya. 2016, P. 324–326 (In Russ.).
- Batrakov A. V., Karlik K. V., Popov S. A. Sposob opredeleniya stoykosti k dugoobrazovaniyu elementov radioelektronnoy apparatury kosmicheskikh apparatov [A method for determining the resistance to arcing of elements of radioelectronic equipment of spacecraft]. Patent RF, No. 2539964, 2015. 7 p. (In Russ.).
- Cho M., Ramasamy R., Toyoda K. et al. Laboratory Tests on 110-Volt Solar Arrays in Ion Thruster Plasma Environment. Journal of Spacecraft and Rockets. 2003, Vol. 40, No. 2, P. 221–229. doi: 10.2514/2.3956.
- Takahashi A., Khan A. R., Masui H. et al. Preliminary report on on‐orbit experiment on high voltage technology demonstration satellite. HORYU-II, 63rd International Astronautical Congress, IAC Paper IAC‐12‐D5.3.13, October 2012, Naples, Italy. P. 1–11.
- Shimizu T., Fukuda H., Su N. T. et al. Initial Results From an In-Orbit High-Voltage Experimental Platform: HORYU-IV. IEEE Transactions on Plasma Science. 2017, Vol. 45, No. 8, P. 1853–1863. doi: 10.1109/tps.2017.2688725.
- ISO 11221:2011. Space Systems – Space Solar Panels – Spacecraft Charging Induced Electrostatic Discharge Test Methods. 28 p.
- Kesayev I. G. Katodnyye protsessy elektricheskoy dugi [Cathodic processes of an electric arc]. M. : Nauka Publ., 1968, 244 p. (In Russ.).
- Mesyats G. A. Ektony. Chast′ 1 [Actons. Part 1].Yekaterinburg, Nauka Publ., 1993, 184 p.
- Mesyats G. A. [Ecton or electron avalanche from metal]. Uspekhi fizicheskikh nauk. 1995, Vol. 165, No. 6, P. 601–626. Doi; 10.3367/UFNr.0165.199506a.0601 (In Russ.).
- Mesyats G. A., Berengol′ts S. A. [Mechanism of anomalous ion generation in vacuum arcs]. Uspekhi fizicheskikh nauk. 2002, Vol. 172, No. 10, P. 1113–1130. doi: 10.3367/UFNr.0172. 200210a.1113 (In Russ.).
- Barengol′ts S. A., Mesyats G. A. [Spontaneous Arc Quenching In The Ecton Model]. Pis′ma v zhurnal tekhnicheskoy fiziki. 2001, Vol. 27, No. 6, P. 82–85 (In Russ.).
- Lafferty J. M. (ed) Vacuum arcs. Theory and Application.Wiley, 1980, 372 p.
- Smeets R. P. P. Low-current behaviour and current chopping of vacuum arcs. [Phd Thesis 1 (Research TU/e / Graduation TU/e), Electrical Engineering]. Technische Universiteit Eindhoven, 1987, 140 p. doi: 10.6100/IR264618.
- Mikhaylov P. S., Muzyukin I. L., Mamontov Y. I. et al. [Measurement of vacuum arc threshold current for nanostructured tungsten]. Proceedings of 8th International Congress on Energy Fluxes and Radiation Effects. Tomsk. Russia, 2022, P. 886–889. doi: 10.56761/EFRE2022.C3-O-024701 (In Russ.).
- Cho M., Kitamura K., Ose T. et al. Statistical Number of Primary Discharges Required forSolar Array Secondary Arc Tests. Journal of Spacecraft and Rockets. 2009, Vol. 46, No. 2, P. 438–448. doi: 10.2514/1.37798.
- Cho M., Goka T. Japanese Practices of Solar Array ESD Ground Tests. 9th Spacecraft Charging Technology Conference. Japan Aerospace Exploration Agency. Tsukuba. Japan, 2005.
- Cho M., Kim J.-H., Hosoda S. et al. Electrostatic Discharge Ground Test of a Polar Orbit Satellite Solar Panel. IEEE Transactions on Plasma Science. 2006, Vol. 34, No. 5, P. 2011–2030. doi: 10.1109/TPS.2006.881935.
- Model′ kosmosa: Nauchno-informatsionnoye izdaniye v 2 t. Tom 2. Vozdeystviye kosmicheskoy sredy na materialy i oborudovaniye kosmicheskikh apparatov [The Model of space: A scientific and informational publication in 2 vol. Vol. 2. The impact of the space environment on spacecraft materials and equipment] Ed. M. I. Panasyuka, L. S. Novikova. Moscow, KDU Publ., 2007, 1145 p. (In Russ.).
- Snyder D. B., Ferguson D. C., Vayner et al. New Spacecraft-Charging Solar Array Failure Mechanism. Proceedings of the 6th Spacecraft Charging Technology Conference, AFRL Science Center, Hanscom AFB, MA, Nov. 1998, P. 297–301.
- Chigorko A. A. [Equipment for the study of electron-proton charging of high-resistance dielectrics under conditions of inverse potential distribution]. Izvestiya Tomskogo politekhnicheskogo universiteta. 2008. Vol. 312, No. 2. P. 99–106 (In Russ.).
- Ferguson D. C., Hoffmann R. C., Plis E. A. et al. Atypical Normal Potential Gradient Arcing on Solar Arrays. Journal of Spacecraft and Rockets. 2018, Vol. 55, No. 3, P. 698–711. doi: 10.2514/1.a34017.
- Akishin A. I. Kosmicheskoye materialovedeniye. Metodicheskoye i uchebnoye posobiye [Space materials science. Methodical and educational manual]. Moscow, NIIYAF MGU Publ., 2007, 209 p.
- Inouye G. T. Implications Of Arcing Due To Spacecraft Charging On Spacecraft Emi Margins Of Immunity / NASA-CR-165442, March 10, 1981. 173 p.
- Hoang B., Wong F., Funderburk V. V. et al. Electrostatic discharge test with simulated coverglass flashover for multi-junction GaAs/Ge solar array design. 35th IEEE Photovoltaic Specialists Conference, 2010, P. 1118–1123. doi: 10.1109/pvsc.2010.5614721.
- Ivanov V. A., Kirillov V. Y., Morozov E. P. Model′nyye i stendovyye issledovaniya elektrizatsii kosmicheskikh apparatov [Model and bench studies of spacecraft electrification]. Moscow, MAI Publ., 2012, 167 p. (In Russ.).
- Ferguson D. C., Vayner B. V. Flashover Current Pulse Formation and the Perimeter Theory. IEEE Transactions on Plasma Science. 2013, Vol. 41, No. 12, P. 3393–3401. doi: 10.1109/tps.2013. 2279760.
- Li Z., Liu J., Yoshimichi O. et al. Surface flashover in 50 years: theoretical models and competing mechanisms. High Voltage. 2023, Vol. 8, No. 5, P. 853–877. Doi; 10.1049/hve2.12340.
- Khasanshin R. K., Novikov L. S., Korovin S. B. [The influence of residual atmospheric pressure on the development of electrostatic discharges on the surface of protective glasses of solar batteries] Poverkhnost′. Rentgenovskiye, sinkhrotronnyye i neytronnyye issledovaniya. 2016, No. 10, P. 14–24. doi: 10.7868/S0207352816100103 (In Russ.).
- Ferguson D., Crabtree P., White S. et al. Anomalous Global Positioning System Power Degradation from Arc-Induced Contamination. Journal of Spacecraft and Rockets, 2016, Vol. 53, No. 3, P. 464–470. doi: 10.2514/1.A33438.
- Ferguson D., White S., Rast R. et al. The Case for Global Positioning System Arcing and High Satellite Arc Rates. IEEE Transactions on Plasma Science. 2019, Vol. 47, No. 8, P. 3834–3841. doi: 10.1109/tps.2019.2922556.
- Bukreyev V. G., Nesterishin M. V., Kryuchkov P. A. et al. [Non-Radiation Degradation Of Solar Array Energy Performances For Meo Satellites]. Izvestiya vysshikh uchebnykh zavedeniy. Aviatsionnaya tekhnika. 2021, No. 1, P. 115–123 (In Russ.).
- Spacecraft Charging and Discharging. Design standard. Japan Aerospace Exploration Agency, 2012. 82 р.
- Cho M., Kawakita S., Nakamura M. et al. Number of Arcs Estimated on Solar Array of a Geostationary Satellite. Journal of Spacecraft and Rockets. 2005, Vol. 42, No. 4, P. 740–748. doi: 10.2514/1.6694.
- Goebel D. M., Katz I. Fundamentals of Electric Propulsion: Ion and Hall Thrusters. Jet Propulsion Laboratory, California Institute of Technology. 2008, 514 p.
- Carruth M. R., Vaughn J. A., Bechtel R. T. et al. Electrical Breakdown of Space Station Freedom Surfaces. 30th Aerospace Science Meeting and Exhibit, January 6–9, 1992, Reno, NV, AIAA 92-0820, P. 1–7.
- Khayms V., Logan-Garbisch A., Kannenberg K. Measurements and Modeling of a Solar Array Floating Potential and Leakage Current in a Hall Thruster Plume Environment. 41st AIAA/ASME/SAE/ASEE Joint Propulsion Conference & Exhibit, 2005. doi: 10.2514/6.2005-3862.
- Kozlov O. V. Elektricheskiy zond v plazme [An electric probe in plasma]. Moscow, Atomizdat Publ., 1969, 291 p.
- Valiullin V. V., Nadiradze A. B. [High Voltage Solar Battery’s Potential Of Spacecraft In Plasma Generated By Electric Propulsion Thruster]. Vestnik Moskovskogo aviatsionnogo institute. 2023, Vol. 30, No. 3, P. 125–135 (In Russ.).
- Cho M., Saionji A., Toyoda K. Interaction between high voltage solar array and ion thruster plasma 28th International Electric Propulsion Conference, IEPC-2003, March, 17-21, Toulouse, France. CDROM, Published by CNRS, March, 2003, 0053-0303iepc-full.pdf., P. 1–10.
- Galfaro J. T., Ferguson D. C., Vayner B. V. et al. Inception of Snapover and gas Induced Glow Discharges. AIAA paper 2000-0245, Glenn Research Center, 2000, P. 1–8.
- Gabdullin F. F., Korsun A. G., Lavrenko E. G. et al. The Plasma Plume of the ISS Plasma Contactor Unit under the Effect of the Geomagnetic Field. 30th International Electric Propulsion Conference (Florence. Italy. 2007). P. 1–8.
- Tverdokhlebova E. M., Borisov B. G., Korsun A. G., Nadiradze A. B. et al. Simulation of near-electrode processes of a electric discharge in the ISS environment. 44th AIAA Aerospace Sciences Meeting and Exhibit (09–12 January 2006; Reno. Nevada). doi: 10.2514/6.2006-872.
- Tverdokhlebova E. M., Korsun A. G., Garkusha V. I. et al. Influence of Space Propulsions and Plasma Sources on Electric-Discharge Phenomena on the ISS. 4th International Spacecraft Propulsion Conference (Chia Laguna (Cagliari). Sardinia. Italy. 2004). P.78.1–78.6. ESA. ESA SP-555.
- Alred J., Mikatarian R., Barsamian H. Review of PCU Discharge Current: Dec 2000 to Aug.2003. ISS Plasma Technical Interchange Meeting. NASA, Marshall Space Fligh Center, Sept. 3–5, 2003, Huntsville, Alabama.
- Wartelski M., Theroude C., Ardura C. Self-consistent Simulations of Interactions between Spacecraft and Plumes of Electric Thrusters. 33rd International Electric Propulsion Conference, The George Washington University, Washington D. C., USA, October 6–10, 2013, IEPC-2013-73, P. 1–10.
- Kawakita S., Kusawake H., Takahashi M. et al. Sustained Arc Between Primary Power Cables of a Satellite. 2nd International Energy Conversion Engineering Conference, 2004. Doi: 10.2514/ 6.2004-5658.
- Siguier J.-M., Inguimbert V., Murat G. et al. Secondary arcing triggered by hypervelocity impacts on solar panel rear side cables with defects – Comparison with laser impacts. IEEE Transactions on Plasma Science, Institute of Electrical and Electronics Engineers. 2017, Vol. 45, No. 8, P. 1880–1886. doi: 10.1109/TPS.2017.2686602.
- Artamonov V. S. Zashchita solnechnykh paneley v kosmose ot elektricheskogo proboya [Protection of solar batteries in space from electrical breakdown]. XI International Student Scientific Conference, Student Scientific Forum, 2019. 9 с. (In Russ.). Available at: https://scienceforum.ru/ 2019/article/2018017169?ysclid=lquiua4as9159647158 (accessed: 10.01.2024).
- Khasanshin R. K., Novikov L. S. [Changes in the transmission spectrum of K-208 glass under the influence of ionizing radiation and molecular fluxes.]. Poverkhnost′. Rentgenovskiye, sinkhrotronnyye i neytronnyye issledovaniya. 2014, No. 7, P. 83–87. doi: 10.7868/S0207352814070099 (In Russ.).
- [Scientific and technological infrastructure of the Russian Federation: official website]. Moscow (In Russ.). Available at: https://ckp-rf.ru/catalog/usu/73590/ (accessed 04.05.2023).
- Balashov S. V., Ivanov V. V., Maksimov I. A. et al. [The Methodology To Ensure Immunity Of The Sattelite Equipment Of Plasma From The Stationary Plasma Thrusters] Vestnik SibGAU. 2006, No. 1(8), P. 76–80 (In Russ.).
Supplementary files
















