Development of a methodology and design of a device for determining the Mach number of a supersonic flow
- Authors: Kozlov V.S.1, Kolga V.V.1, Volkova Y.Y.1
-
Affiliations:
- Reshetnev Siberian State University of Science and Technology
- Issue: Vol 25, No 3 (2024)
- Pages: 296-310
- Section: Section 2. Aviation and Space Technology
- Published: 15.11.2024
- URL: https://journals.eco-vector.com/2712-8970/article/view/639946
- DOI: https://doi.org/10.31772/2712-8970-2024-25-3-296-310
- ID: 639946
Cite item
Abstract
The paper presents the developed methodology and designed a device for determining the Mach number during supersonic gas outflow. An analysis of various methods for determining the Mach number was carried out, including measuring the pressure at the flow boundary, the use of shock waves, and the use of optical methods. A comparison was made of the accuracy of the readings when using the considered methods. Based on the results obtained, a technique for high-precision determination of the Mach number has been developed, including a combination of several independent measurement methods. A device has been designed that implements this measurement technique, and the results of experimental tests in a wind tunnel have been reviewed, including instrument readings, graphs and tables confirming the accuracy and reliability of the data obtained. Their accuracy and reliability are analyzed. Using the analysis, it is possible to ensure the selection of the most rational method for determining the Mach number at the initial stage of designing aircraft, such as airplanes, missiles, fighters, and UAVs. Accurate knowledge of the Mach number allows engineers to optimize the aerodynamic characteristics of the aircraft, ensure flight safety, improve engine efficiency and overall air transport performance. In addition, the Mach number is the most important criterion of similarity when modeling in aerodynamic research, which makes the developed methodology and device relevant not only for the design of aircraft, but also for a wide range of scientific and engineering research in the field of aeronautical technology. It is emphasized that the presence of a reliable method for determining the Mach number can significantly reduce the time and resources spent on testing and improving aircraft, and also contributes to the development of innovative technologies in the field of aviation and astronautics.
Full Text
Introduction
Testing of aircraft under aerodynamic loading is a common method of full-scale experiment, in which the studied model of the aircraft, which is a reduced copy of the designed product, is studied under simulated conditions close to operational ones. This approach allows, even at the design stage, to clarify the adopted design loads and evaluate the obtained results of the calculations performed and the rationality of the adopted design schemes and design solutions for the existing aerodynamic and strength effects that can lead to failures in the operation of the aircraft.
The Mach number is the main criterion for the similarity of supersonic flows and is used to calculate and design aircraft moving in a supersonic flow. Accurate determination of the Mach number ensures the trouble-free operation of supersonic aircraft.
Determining the Mach number is of decisive importance for choosing a rational shape and optimal strength model of the wing’s bearing surfaces, which allows achieving high aerodynamic quality in various aircraft flight modes.
An analysis of currently existing methods for calculating the Mach number allows us to select the optimal approach for the selected flow mode (or combination of modes during flight), and to justify the possibility of using existing calculation methods at the stage of experimental development of aircraft.
The aim of this research is to develop a methodology and design a device for determining the Mach number of a supersonic flow.
The study examines the main methods for determining the Mach number. These include measuring the pressure in a gas flow, determining the characteristics of compression shocks, optical measurement methods, etc. A comparative analysis of the capabilities and limitations of each method is carried out. Based on the data obtained, a method and device for high-precision measurement of the Mach number in a supersonic gas flow are developed.
To determine the Mach number, indirect measurement methods are usually used, based on the analysis of various physical effects in the gas (liquid) flow during its movement or interaction with an obstacle based on the measurement and analysis of other flow parameters that can be measured. For an isentropic flow, the Mach number can be found using the following relationships:
(1)
(2)
It is necessary to know the combination of parameters of the stagnant and moving fluid (temperature, density or pressure) included in each of these equations, measured experimentally. The initial parameters of the stagnant fluid p0 and T0, which remain stable throughout the isentropic flow field, are relatively easy to measure directly, for example, in the gas supply chamber of a wind tunnel (WT), where the flow velocity is relatively low. If we know the initial values (p0) of pressure and temperature(T0), using the equation of state p/ρ = RT, we can find the flow density ρ0.
As for static values when measuring flow parameters, it should be noted that there are currently no effective methods for directly measuring temperature.(Т). The flow temperature (Т) can be determined indirectly by measuring, for example, the local speed of propagation of sound waves in a gas (liquid) flow, which for a given gas depends only on its temperature. (а2 = kRT). But this method does not allow one to determine the speed of sound (and, consequently, the temperature) at a specific point in the flow, since the emitter and receiver of sound waves must be located at a certain fixed distance from each other. [1].
It is much easier to measure the density ρ in a compressible fluid flow using indirect methods based on the relationship between density and the optical parameters of the medium (refractive index, absorption or emission). Optical methods for measuring density associated with the refractive index make it possible to study the flow of gas (liquid) in disturbed regions of isentropic and non-isentropic flows.
Determination of Mach number by measuring total and static pressures
At supersonic speeds of the incoming flow, a direct compression shock is formed in front of the measuring nozzle, behind which the speed of the gas flow drops below the speed of sound. The nozzle measures the pressure in the gas flow, equal to the total pressure behind the compression shock. In this case, the pressure before the compression shock differs from the measured pressure by the amount of mechanical energy loss. These losses are characterized by the coefficient of recovery of the total pressure s, which is the ratio of the pressures during flow deceleration p02/p01 before and after the compression shock. In the case of a direct jump, this coefficient can be determined by the following formula :
(3)
Formula (3) allows us to determine the Mach number (M1) in the flow based on the measured pressure values before (p01) and after (p02) the shock wave. Due to the fact that the flow before the compression shock can be considered isentropic, the pressure p01 is taken to be equal to the stagnation pressure in the gas supply chamber in the wind tunnel.
Thus, to determine the Mach number, one of the measured pressures is the total pressure in the feed chamber in the wind tunnel. In this case, the measured pressure can be the total pressure behind the normal shock or the static pressure in the working section of the wind tunnel. To determine the Mach number of a subsonic flow, the static pressure in the gas flow is usually measured.
To measure total pressure p02 , nozzles in the form of a cylindrical tube with an opening facing upstream are often used. (fig. 1).
Рис. 1. Насадок для измерения полного давления в сверхзвуковом потоке
Fig. 1. Nozzles for measuring the total pressure in a supersonic flow
In order to measure the total pressure of the gas flow more accurately , the inlet opening of the nozzle is usually made significantly smaller than its outer diameter, so that the inlet opening is located completely behind the direct shock wave.
When measuring static pressure (p1) in a supersonic flow, special nozzles with a pointed conical or ogive head are used to reduce the intensity of compression shocks and improve the accuracy of flow characteristic measurements (Fig. 2, a, b). The receiving holes in them are located at a significant distance from the beginning of the cylindrical part and their axis is perpendicular to the direction of the undisturbed flow
Рис. 2. Насадки для измерения статического давления в сверхзвуковом потоке
Fig. 2. Nozzles for measuring static pressure in supersonic flow
To measure static pressure at supersonic speeds, a semi-wedge-shaped nozzle is often used (Fig. 2, c). The receiving hole in it is located on the flat side of the nozzle and the static pressure p1 is determined not immediately behind the compression shock, but behind the frontal disturbance wave, where pressure changes have a less effect on the measurement results and this error can be neglected.
In this case, to determine the Mach number, you can use the Rayleigh formula
(4)
By measuring the pressure at the critical point behind the normal compression shock (р02) and the static pressure in front of the shock wave in the gas flow (р1), we can determine М1.
Determination of the Mach number of a gas (liquid) flow by an optical method
Optical research methods have become widespread in the study of high-speed flows, when compressibility is affected. At high supersonic speeds, optical methods make it possible to obtain flow spectra and conduct studies that are virtually impossible to carry out using other methods. The main advantages of optical methods are the lack of inertia and the absence of the need to introduce mechanical devices into the flow to disturb it. When using spark light sources, optical methods can be used to photograph processes that occur within millionths of a second. Spark light sources allow one to obtain a time scan of the process in non-stationary flows in the form of a series of photographs of the flow, separated by very small time intervals.
Optical research methods are based on the relationship between the density of the moving medium and the optical properties of the gas flow. Three of the most important optical methods are shadow, schlieren and interferometric. These methods are based on the dependence of the speed of light on the density of the gas (liquid) medium which its rays pass through. The refractive index of rays (n), equal to the ratio of the speed of light (c) in a certain medium to the speed of light (c0) in a vacuum (n = c/c0), depends on the density of the medium being studied:
(5)
where n0 and ρ0 are respectively the initial values of the refractive index of the medium and the gas density of the flow under study.
From formula (5) it is evident that in a medium with a changing density the refractive index is also variable. This leads to a double effect when light rays pass through the medium under study. Firstly, there is a reversal of the shock wave front. This effect is used in the shadow and schlieren methods. Secondly, a phase shift is observed, which is different for rays with different characteristics. This phenomenon is the basis of the interferometric method.
The disturbed gas flow in the working part of the wind tunnel is an optically non-uniform flow, characterized, among other things, by non-uniform density and different refractive indices in the flow.
The physical picture of the gas flow around a point source of disturbances is as follows. The disturbance waves caused by a local source of disturbances are spherical waves of low intensity. They propagate at the speed of sound (а), forming a family of spherical waves with a radius from zero to аt over the finite time interval under consideration. When a local source of disturbances moves with a velocity V < а, spherical waves shift towards the source ahead of it. При этом источник возмущения находится внутри сферической волны (рис. 3, a). In this case, the disturbance source is located inside the spherical wave (Fig. 3, a). In the case where the velocity of the disturbance source is higher than the propagation velocity of the shock wave (V > a), it overtakes the waves, leaving them behind in the form of an expanding cone, the apex of which is the disturbance source (Fig. 3, b).
Рис. 3. Образование волн слабого возмущения при различной скорости движения тела: а) V < a; б) V > a, где V – скорость движения точечного источника; a – скорость звука
Fig. 3. The formation of waves of weak disturbance at different speeds of body movement:а) V < a; б) V > a, where V – the speed of movement of the point source; a – the speed of sound
The cone obtained as a result of the interaction of the oncoming flow with an obstacle is the envelope of spherical disturbance waves and is called the disturbance cone, or Mach cone. If this cone is conditionally cut by a plane passing through its axis, then we obtain straight lines OB and OB1, called disturbance lines (Mach lines), which are shock waves of infinitely small intensity. Угол µ, равный половине угла при вершине конуса, называется углом возмущений.The angle µ, equal to half the angle at the cone’s apex, is called the perturbation angle. This angle is related to the speed of the body and the speed of sound by the following relationship
from which
(6)
To do this the angle µ is measured with the required accuracy and then the Mach number (M) is calculated using formula (6).
More precisely, the M number can be determined by the angle of inclination of the shock wave on a wedge-shaped nozzle or cone, the apex of which is located at the studied point of the gas flow, and the axis is aligned with the direction of the flow velocity vector. If the angle at the apex Θ does not exceed a certain calculated limit value, then the flow is characterized by the occurrence of a rectilinear attached shock wave in front of the obstacle, the front of which is inclined at an angle b to the velocity vector V of the incoming flow (Fig. 4).
Рис. 4. Обтекание клина сверхзвуковым потоком газа:
µ – угол возмущения; β – угол наклона ударной волны; Θ – угол раскрытия конуса или клина
Fig. 4. Flow around a wedge with a supersonic gas flow:
µ – is the angle of disturbance; β – is the angle of inclination of the shock wave; Θ – is the angle of opening of the cone or wedge
In this case, to determine the Mach number (M), one can use the relationship between the Mach number, the shock wave front inclination angle β, and the cone opening angle or wedge angle Θ. For a wedge-shaped nozzle, this relationship is expressed by the equation
(7)
Using optical research methods, it is possible to photograph the oncoming flow near the wedge-shaped nozzle and obtain a light-shadow photograph, which will depict the shock wave line.
The shadow method is widely used to observe compression shocks. Fig. 5 schematically shows a shadow image of a compression shock with detailing of characteristic zones. The working part of the wind tunnel (WT) is illuminated by a parallel light stream. At a constant density of the medium the light rays passing the working part of the gas flow uniformly illuminate the screen. The compression shock causes optical non-uniformity in the flow field. This is due to the change in flow density in the longitudinal direction. Light rays deviate from the original direction causing uneven illumination of the E screen. Moreover within the compression shock the illumination has a lower intensity than behind the shock. A photograph of a compression shock is a dark band in the oncoming flow limited by a bright border with decreasing illumination [2–11].
Рис. 5. Визуализация скачка уплотнения:
a – схема метода; б – теневое изображение скачка уплотнения; 1 – граница скачка уплотнения; 2 – сверхзвуковой поток; 3 – зона пониженной освещенности; 4 – зона повышенной освещенности
Fig. 5. Visualization of the seal jump:
a – diagram of the method; b – shadow image of the seal jump; 1 – boundary of the seal jump; 2 – supersonic flow; 3 – low-light zone;4 – high-light zone
The main disadvantage of the shadow method is the low accuracy of the results of quantitative measurements of flow characteristics (including density distribution). The reason for this is that light rays after refraction from different points of the flow can hit the same place on the screen. Therefore, in practice, the Schlieren method or the interferometric method are more preferable for visual determination of density and pressure in a gas flow.
The Schlieren method is based on measuring the magnitude of the displacement of a light beam passing through an optically inhomogeneous medium from the initial velocity vector. In the case of a flat flow (laminar flow), this displacement is proportional to the density gradient.
The interferometric method involves dividing a monochromatic light beam into two coherent light streams (reference and working), which after passing a fixed distance are reunited and produce interference effects that can be measured. When light beams pass through a medium with a constant density, the interference fringes will be parallel to each other. If one of the light beams encounters a medium with a different refractive index, a shift in the light wave will occur. With the existing density gradient, the fringes are additionally deformed. The gas flow density is determined by the measured value of the shift and deformation of the light fringes.
Suggested solutions
To measure the Mach number in supersonic flows various experimental devices and practical methods can be used such as wind tunnels and stands, laser diagnostic devices, gas flow density measurement methods, etc.
However the process of developing new devices for studying supersonic flows and measuring the Mach number is complicated by a number of reasons:
- Complexity of test conditions. Supersonic flows are characterized by high speeds, extreme temperatures and intense dynamic loads, which require specialized and reliable devices for measuring the Mach number.
- Accuracy and reliability. Measuring the Mach number in supersonic flows requires high accuracy and reliability of results. The development of new devices involves extensive research and testing to ensure correct measurements.
- High costs. Developing new devices for measuring the Mach number in supersonic flows may require significant financial investments in research, development and production of specialized equipment.
Although the development of new devices for measuring Mach number in supersonic flows presents certain difficulties, ongoing research and technological developments in this area can lead to improvements in existing methods and the development of new, more efficient devices for measuring Mach number in the future.
When planning a natural experiment it is necessary to create conditions that are as close to real ones as possible and ensure the possibility of practical use of the obtained results. This requires reliable and accurate planning of the experiment [12].
First of all, it is a question of satisfying the laws of similarity. First of all, it is necessary to ensure strict geometric and dynamic similarity. In addition to geometric similarity, the equality of the Reynolds and Mach numbers must be maintained.
Before the development of the method and device for determining the Mach number of a supersonic flow began, a thorough patent and technical search was conducted. The purpose of the search was to identify existing technical solutions in this area, as well as to determine promising areas for the development of new methods and devices.
The search was carried out in the patent databases of leading patent offices, such as Russian Federal Service for Intellectual Property (Rospatent), the European Patent Office, and the United States Patent and Trademark Office. Patents for inventions related to methods and devices for measuring supersonic flow parameters including Mach number were considered.
An analysis of the search results showed that there are a number of solutions based on various physical principles of measuring the Mach number. The most common are methods based on measuring static and total pressure, using compression shocks, and optical methods. At the same time, existing devices implementing these methods have limitations in accuracy, measurement range, and operating conditions.
Thus, the patent search showed the relevance of developing new high-precision methods and devices for determining the Mach number of supersonic flows, taking into account the shortcomings of existing solutions. The data obtained during the search were used in the formation of the technical specifications for the design of a device for measuring the Mach number.
Description of the gas-dynamic stand and the work progress
The main element of the gas-dynamic stand is the device for determining the Mach number, shown in Fig. 6.
Рис. 6. Устройство для определения числа Маха сверхзвукового потока:
1 – приемник полного давления; 2 – приемник статического давления. Приемники давления закреплены на узле поворота, состоящего из 3 – звездообразной державки; 4 – редуктора; 5 – асинхронного двигателя РД-09 с короткозамкнутым ротором
Fig. 6. A device for determining the Mach number of a supersonic flow:
1 – full pressure receiver; 2 – static pressure receiver. The pressure receivers are mounted on a rotation unit consisting of: a 3 – star holder; 4 – gearbox; 5 – RD-09 asynchronous motor with a short-circuited rotor
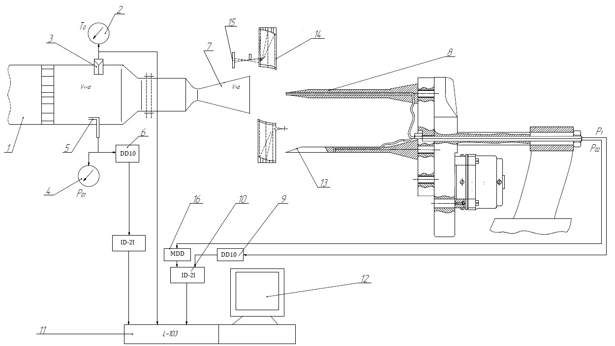
The work is carried out on a gas-dynamic stand, its diagram is shown in Fig. 7. Air from the high-pressure pump is fed to a controlled pneumatic reducer, where it is reduced to a specified value, and enters the gas supply chamber of the wind tunnel 1. The air condition parameters in the feed chamber are monitored in terms of temperature and pressure (T0 , p0) using the readings of: pressure gauge thermometer 2, connected to temperature sensor 3, and spring pressure gauge 4, connected to total pressure receiver 5. At the same time, the total pressure in the gas feed chamber p01 is recorded by the inductive pressure sensor DD-10 6. The experimentally studied supersonic nozzle 7 is fixed on the feed chamber flange. To measure the braking pressure behind the shock p02 in the supersonic flow of the working part of the wind tunnel, the total pressure receiver 8 is used, connected to the inductive pressure sensor 9 by means of a measuring cable. An electric signal proportional to the value of the measured pressure, through pressure sensors 6, 9 and amplifier 10, is fed to the connector of the analog-to-digital converter (ADC) 11 of the personal computer 12. In the ADC, the analog signal is converted into a digital code, which is entered into the data array of the machine’s memory.
Рис. 7. Газодинамический стенд:
1 – форкамера аэродинамической трубы; 2 – манометрический термометр; 3 – датчик температуры; 4 – пружинный манометр; 5, 8 – приемники полного давления; 6, 9 – индуктивный датчик давления; 7 – сверхзвуковое сопло; 10 – усилитель; 11 – аналоговый цифровой преобразователь; 12 – электронная вычислительная машина; 13 – клиновой насадок; 14 – оптический прибор; 15 – фотографическая пленка; 16 – датчик давления
Fig. 7. Gas dynamic stand:
1 – wind tunnel pre-chamber; 2 – pressure gauge thermometer; 3 – temperature sensor; 4 – spring pressure gauge; 5, 8 – full pressure receivers; 6, 9 – inductive pressure sensor; 7 – supersonic nozzle; 10 – amplifier; 11 – analog digital converter; 12 – electronic computer; 13 – wedge nozzle; 14 – optical device; 15 – photographic film; 16 – pressure sensor
When determining the Mach number using the optical method, a special nozzle 13 in the form of a wedge with an angle Θ = 20° is introduced into the field of the working part. A qualitative picture of the supersonic flow around the wedge is observed using the optical device IAB-451 14 and is recorded on the light-sensitive plate 15. The wedge nozzle also allows determining the static pressure p1 of the gas flow. For this purpose, the static pressure receiver is synchronized with the pressure sensor 16. Before the experiment, the pressure sensors are calibrated. During the calibration, the pressure controlled by the pressure gauge is supplied to the sensor and the voltage on the ADC connector is determined at the same time. The set of data corresponding to different pressure values is approximated by a polynomial of the 1st–3rd degree. The polynomial coefficients are used by the program when calculating the pressure based on the voltage values obtained from the pressure sensors during the measurement process [13–15].
Procedure for conducting the experiment
- To determine and record the critical dcr and exit section diameters da of the supersonic nozzle under study (see Fig. 7).
- To measure the opening angle of the wedge attachment 13. Check the sharp front edge for chips, cracks and nicks .
- To fasten the supersonic nozzle 7 to the mating flange of the gas supply chamber 1 .
- To fix the device with full pressure measuring nozzles and a wedge nozzle in the coordinate device.
- To connect pressure sensor 6 and spring pressure gauge 4 to full pressure nozzle 5, and sensor 9 to full pressure nozzle 8. Connect static pressure nozzle 13 to sensor 16.
- To bring the optical device IAB-451 14 to the investigated area of the working part to record the compression shock. Turn on the working instrument illumination .
- To prepare a photo recorder (camera, video camera) for work .
- The full pressure nozzle 8 is installed using a coordinate device along the axis of the incoming flow of the supersonic nozzle 7 in the immediate vicinity of its exit section. .
- To turn on the wind tunnel and use the reducer on the control panel to set the working pressure p01 in the gas supply chamber.
- After establishing the operating mode, record the braking pressure and temperature (p01, T0) in the feed chamber and the braking pressure behind the direct compression shock p02. Conduct a visual observation of the flow pattern around the pressure receiver
- To replace the full pressure nozzle 8 at the flow point under study with a wedge nozzle 13.
- To record the static pressure p1 and braking parameters in the gas supply chamber (p01,T0).
- To conduct a visual observation of the flow pattern around the wedge. Record the spectrum of the flow around the wedge on a light-sensitive plate.
Processing the results of the experiment
- Using the obtained values of the critical and exit diameters of the nozzle of the designed experimental setup from the tables of gas-dynamic functions, we determine the Mach number Ма and the velocity coefficient λа at its section, as well as the braking pressure in the gas supply chamber p01, corresponding to the calculated pressure of the gas outflow from the nozzle. The data are shown in Table 1.
Table 1
Nozzle characteristics
mm | mm |
|
|
| Pa |
|
14 | 28.7 | 0.238 | 3 | 0.027 | 3.75 | 1.965 |
- Based on the measured values of total pressures p01 and p02 and formula (3), we determine the Mach number:
- Using the values of static pressure p1 and total pressure behind the shock wave p02, we determine the Mach number using formula (4)
- Using the photograph (Fig. 8) we measure the inclination angles of the disturbance line µ and the compression shock β
Рис. 8. Фотография наклона линии возмущения и скачка уплотнения
Fig. 8. A photo of the slope of the disturbance line and the surge of the seal
- To determine the number M using the angle µ and formula (6):
- To determine the number M by the angles β and Θ using equation (7):
The measurement and calculation data are listed in Table 2.
Table 2
Results of the experiment
№ п/п | Method for determining the Mach number | Р01 | Р02 | Р1 | Р01/ Р02 | Р02/ Р1 | μ | sinμ | β | θ | Ма | Measurement error | ||
|
| Pa | Pa | Pa |
|
| degree |
| degree | degree |
| % | ||
Pneumometric method | ||||||||||||||
1 | By pressure ratio | 40 | 14 | – | 0.35 | – | – | – | – | – | 2.98 | 0.67 | ||
2 | By pressure ratio | – | 14 | 1.4 | – | 0.1 | – | – | – | – | 2.8 | 7.14 | ||
Optical method | ||||||||||||||
3 | By the angle of disturbance µ | – | – | – | – | – | 21 | 0.358 | – | – | 2.79 | 7.52 | ||
4 | By shock angleb and wedge angle Θ | – | – | – | – | – | – | – | 38 | 20 | 2.97 | 1.01 | ||
Analysis of the determination of the accuracy of measuring the Mach number of supersonic flow
It is advisable to use measurements of static pressure in the working part of the wind tunnel up to numbers M = 1.6–1.8. At high Mach numbers, the static pressure in the working section of the wind tunnel drops sharply, changing insignificantly further along the length of the working section of the tunnel. At the same time, the accuracy of determining the Mach number (M) decreases sharply. Determining the Mach number based on the results of measuring the total pressure behind the normal shock wave p02 at speeds slightly exceeding the speed of sound is not accurate enough due to the low difference in pressure before (p01) and after (p02) the shock wave. But with increasing Mach number, the losses in the shock wave increase. At M > 1.8, using p02 gives sufficient accuracy in determining the Mach number by this method.
Optical methods do not always make it possible to see the Mach lines. Instead, shock waves of very low, limited intensity are observed, formed, for example, by the sharp edge of a wedge nozzle. The value of the Mach number calculated from the angle of weak disturbances is somewhat less than its actual value, since the propagation speed of the observed weak waves somewhat exceeds the speed of sound and their envelope will be inclined to the direction of the velocity at an angle somewhat greater than μ.
Conclusion
As a result of the work, a method was developed and a device for measuring the Mach number of a supersonic gas flow was designed. The proposed approach is based on the use of point pressure sensors installed in a specially designed device along the flow under study. Experimental studies have shown that the accuracy of determining the Mach number using the developed device is 2–3 % in the Mach number range from 1.5 to 3.5. This is comparable to the accuracy achieved using traditional methods based on measuring total and static pressures. The advantage of the proposed method is the ability to locally determine the Mach number in various flow sections without disturbing its structure. This allows us to study the distribution of the Mach number in a limited space, which is important for analyzing complex supersonic gas-dynamic phenomena.
About the authors
Viktor Savelievich Kozlov
Reshetnev Siberian State University of Science and Technology
Email: kozlov@sibsau.ru
Cand. Sc., Associate Professor of the Department of Aircraft
Russian Federation, 31, Krasnoyarskii rabochii prospekt, Krasnoyarsk, 660037Vadim Valentinovich Kolga
Reshetnev Siberian State University of Science and Technology
Author for correspondence.
Email: kolgavv@yandex.ru
Dr. Sc., Professor, head Department of Aircraft
Russian Federation, 31, Krasnoyarskii rabochii prospekt, Krasnoyarsk, 660037Yana Yanovna Volkova
Reshetnev Siberian State University of Science and Technology
Email: yanavolkova111@yandex.ru
specialist of the ICT Directorate
Russian Federation, 31, Krasnoyarskii rabochii prospekt, Krasnoyarsk, 660037References
- Butenko V. A., Rylov Yu. P., Chikov V. P. [Experimental investigation of the characteristics of small-sizer nozzles]. Fluid Dynamics. 1976, Vol. 11, No. 6, P. 137–140.
- Voronin S. T. [Numerical simulation of supersonic gas flow in a conical nozzle with local plasma heading and experimental results]. Siberian Aerospace Journal. 2023, Vol. 24, No. 1, P. 309–324. doi: 10.31772/2712-8970-2023-24-2-309-324 (In Russ.).
- Rtisheva A. S. [Gas dynamic design and numerical study of supersonic circuit of wind tunnel]. Herald of the Bauman Moscow State Technical University. Series Mechanical Engineering. 2021, No. 1 (136), P. 68–84. doi: 10.18698/0236-3941-2021-1-68-84 (In Russ.).
- Rotermel A. R., Yashkov S. A., Sevchenko V. I. [Experimental study of aerodynamic characteristics in a supersonic wind tunnel ST-3 using a software and hardware complex]. Trudu MAI. 2021, No. 119. doi: 10.34759/trd-2021-119-06 (In Russ.).
- Rotermel A. R., Sevchenko V. I., Lizan V. M. [Modernization of the working part of the wind tunnel for tensometric measurements of aerodynamic forces in supersonic flow]. Trudu MAI. 2022, No. 127. doi: 10.34759/trd-2022-127-08 (In Russ.).
- Savishenko N. P., Apevalov I. V., Popov A. S. [Experimental studies of the aerodynamic characteristic of an unmanned aerial sciences]. News of the TulGU. Technical sciences. 2020, Vol 2, P. 143–150 (In Russ.).
- Pavlovskiy A. A., Soldatkin V. V., Soldatkin V. M. [Estimation of the spread of aerodynamic characteristics in multifunctional air pressure receiver]. Journal of Instrument Engineering. 2022, Vol. 65, No. 6, P. 398–405. doi: 10.17586/0021-3454-2022-65-6-398-405 (In Russ.).
- Versin A. A., Molchanov A. M., Monakhova V. P., Afanasyev V. A. [Development of a mathematical model of the of gas flow for the calibration stand of full and static pressure receivers]. Omsk Scientific bulletin. 2022, No. 3(183), P. 117–121. doi: 10.25206/1813-8225-2022-183-117-121 (In Russ.).
- Nguyen T. T., Sboev D. S., Tkachenko V. V. [Experimental set-up for the low speed with tunnel AT-3 of Center of aeromechanics and flight engineering MIPT]. Proceedings of MIPT. 2020, Vol. 12, No. 2, P. 161–176 (In Russ.).
- Vershinin I. D., Kovalenko A. N., Neburchilov S. A. [A mathematical model of a receiver for determining the Mach number and the direction of the flow velocity]. Uchenye zapiski TsAGI. 1986, Vol. XVII, No. 6, P. 116–121 (In Russ.).
- Petunin A. N., Ponomarev L. F. [Full and static pressure receiver with aerodynamic compensation for deterring the Mach number at high subsonic and supersonic flow velocities]. Uchenye zapiski TsAGI. 1999, Vol. XXX, No. 1–2, P. 84–87 (In Russ.).
- Klimov A. S., Simakova N. K. et al. Usroystvo dlya opredeleniya chisla Makha na letatel'nom apparate [A device for determining the Mach number on aircraft]. Patent RF, no. SU147185A1, 2005.
- Erashov G. F., Kozlov V. S. Laboratornyy praktikum po aerogazodinamike sverkhzvukovykh skorostey [Laboratory workshop on aerodynamics of supersonic speeds]. Krasnoyarsk, 2005, 67 p. (In Russ.).
- Drozdov S. M., Rtisheva A. S. [Numerical study on air flow in wind tunnel circuit]. Mat. mezhdunarodnoy. konferentsii “Sovremennye problemy teplofiziki i energetiki”. 2017, Vol. 1, P. 131–132. (In Russ.).
- Maksimov A. D., Shustov S. A. [On the efficiency of using the Navier – Stokes approximation in thermogasdynamic calculation of low – thrust liquid propellant rocket engines at low Reynolds numbers]. Vestnic of Samara University. Aerospace and Mechanical Engineering. 2022, Vol. 21. No. 1, P. 67–80. doi: 10.18287/2541-7533-2022-21-1-67-80.
Supplementary files











