Yang–Monti–Casale procedure for short bowel syndrome: preliminary geometric analysis
- Authors: Kosulin A.V.1, Podkamenev A.V.1, Lukina N.A.1, Avdovskaya A.K.1, Melnikova E.A.1, Ti R.A.1
-
Affiliations:
- Saint Petersburg State Pediatric Medical University
- Issue: Vol 15, No 4 (2024)
- Pages: 55-62
- Section: Original studies
- URL: https://journals.eco-vector.com/pediatr/article/view/643490
- DOI: https://doi.org/10.17816/PED15455-62
- ID: 643490
Cite item
Abstract
BACKGROUND: Currently autologic reconstructive surgery in the most significant approach in surgical therapy for enteral insufficiency due to short bowel syndrome. Possible application for short bowel surgery of widespread urologic Yang–Monti–Casale technique is an issue of interest. The technique includes cutting of small bowel segment antimesenteric border with a figured incision and second tubularization at an angle to the mesenterium fixation line which results in elongation and narrowing of the bowel segment.
AIM: To determine geometric requirements of small bowel segment for Yang–Monti–Casale procedure to treat short bowel syndrome.
MATERIALS AND METHODS: A mathematical model for resulting bowel segment after Yang–Monti–Casale procedure geometry dependency on original bowel length and width was observed. An object of the analysis was a cylindrical surface. Modeling assumptions were that the suface had no thickness and was unstretchable. Only surfaces with length more than width were taken into account. For establishing the dependency of bowel segment after procedure on original parameters a net of cutted with figured incise according the Yang–Monti–Casale technique cylindrical surface was considered. Bowel segment resulting width was computed as a half of the distance between the points that matched during the enteroplasty. Resulting length was computed as the ratio of the surface area and the resulting width.
RESULTS: Yang–Monti–Casale procedure provides significant bowel segment elongation and narrowing if original bowel length to width ratio is not more than 2,5:1. The target bowel width 20 ± 2 mm is achieveable if original length is 60–80 mm and original width is 30–65 mm.
CONCLUSIONS: Yang–Monti–Casale procedure may be considered as auxiliary technique for short bowel syndrome requiring bowel segment length 60–80 mm, width 30–65 mm, and length to width ratio not more than 2,5:1.
Full Text
BACKGROUND
After massive small bowel resection, the remaining segment undergoes a series of morphological and functional changes collectively known as intestinal adaptation [26]. From a macroscopic perspective, intestinal adaptation involves an increase in the length and width of the intestine. Favorable progression of this process can result in full enteral autonomy, defined as the body’s ability to absorb the required amount of nutrients without parenteral support [3, 10]. However, in cases where more than 75% of the intestine is lost [6, 19], enteral autonomy may not be achieved or only partially achieved. This leads to the development of short bowel syndrome (SBS), a condition characterized by intestinal failure, progressive malnutrition, and systemic disorders [2].
A key morphological feature of SBS is increased intestinal diameter [17]. While some researchers consider dilation to be a part of the intestinal adaptation process [14], others regard it as a pathological phenomenon [11]. Intestinal dilation is associated with poor prognoses [17], including an increased risk of small intestinal bacterial overgrowth (SIBO) [5] and septic complications [11]. Patients with dilated short bowels are candidates for autologous reconstructive surgeries [14, 21, 27], which aim to modify the configuration of the intestinal segment to increase transit time, reduce the luminal phase (not making contact with epithelium) of intestinal contents, and minimize the loss of intestinal wall tissue [1, 7, 19].
The most commonly used surgical techniques include longitudinal intestinal lengthening and tailoring (LILT) and serial transverse enteroplasty (STEP) [17]. Recently, STEP has begun to replace LILT [21, 27], likely due to the technical complexity of LILT, despite STEP’s less efficient use of the available intestinal wall. While both methods are reliable and reproducible, they have technical limitations, including specific requirements for the initial configuration of the intestinal segment [16, 20]. Alternative approaches to modifying a dilated intestine are either limited to small clinical case series (e.g., spiral intestinal lengthening and tailoring [SILT] [13], double barrel enteroplasty [25], transverse flap duodenoplasty [8]) or remain experimental (e.g., distraction enterogenesis [15, 18, 23]) or theoretical (e.g., spiral valve formation [24]). In the context of autologous intestinal reconstruction surgery [9, 22, 28], the Yang–Monti enteroplasty technique, particularly in its Casale modification, merits consideration [12]. This method, widely used in urology, involves incising the anti-mesenteric edge of a small intestinal segment with a patterned incision, followed by re-tubularization at an angle to the mesenteric attachment line. The resulting segment is both longer and narrower (Figure 1).
Fig. 1. Yang-Monti-Casale procedure
Рис. 1. Энтеропластика Yang–Monti в модификации Casale
The study aim was to determine the geometric parameters of the intestinal segment that make the Yang–Monti enteroplasty, in the Casale modification, suitable for the surgical treatment of short bowel syndrome.
The geometric analysis was aimed to:
- Establish the relationship between the length and width of the intestinal segment after enteroplasty and the initial dimensions of the segment, as well as the length of the transverse incision;
- Determine the length-to-width ratio of the segment that maximizes the effects of enteroplasty (lengthening and narrowing);
- Identify the values of the segment’s length and width at which enteroplasty produces an elongated segment with a width of 20 ± 2 mm compared to the initial dimensions.
MATERIALS AND METHODS
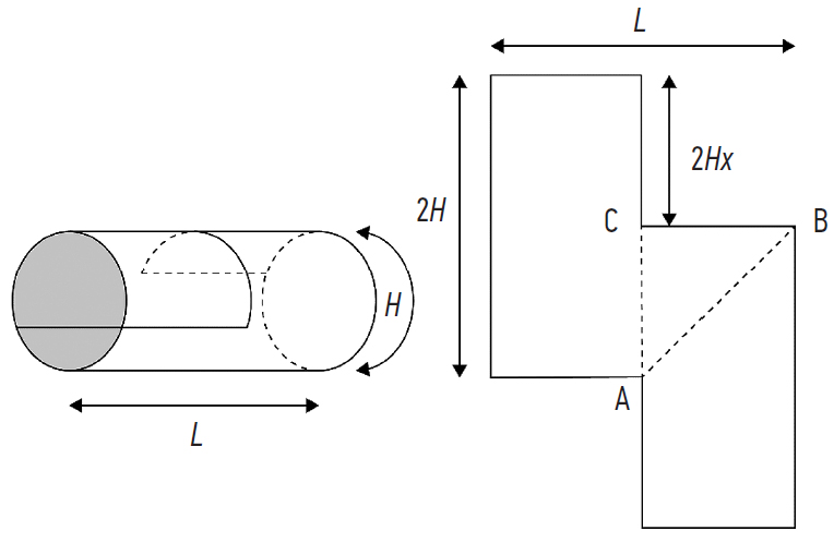
A cylindrical surface was used as the object of the geometric analysis. This surface was characterized by two parameters: length (L) and width (H), where H is defined as half the circumference of the cylinder. Within the mathematical modeling framework, the surface was assumed to have no thickness and to be inextensible. The reduction in surface area due to suturing was disregarded. Only surfaces where the length exceeded the width (L > H) were analyzed. The primary enteroplasty parameter was the length of the transverse incision (x), expressed as a fraction of the initial width of the intestinal segment.
To determine the relationship between the post-enteroplasty length and width of the intestinal segment (L'and H') and its initial dimensions, the unrolled cylindrical surface was analyzed. The surface was transversely cut along its middle with an incision of length H × x and two longitudinal incisions extending from the ends of the transverse incision to the edge of the cylindrical surface. The resulting width of the intestinal segment (H') was calculated as half the distance between points A and B, which are aligned during enteroplasty (Figure 2).
Fig. 2. Cylindrical surface net used in calculation
Рис. 2. Используемая в расчетах цилиндрическая поверхность и ее развертка
Based on the assumption that the surface area of the intestinal segment remains constant during enteroplasty, the resulting length (L') was calculated as the ratio of the initial surface area (L × H) to the resulting width (H').
To determine the length-to-width ratio at which enteroplasty is effective, the L:H ratio was analyzed for conditions where the length and width of the segment remained unchanged after enteroplasty (H' = H; L' = L), as well as for conditions where the length and width changed by a factor of 1.5–2.5 in increments of 0.5.
To identify the initial values of length and width for which the post-enteroplasty segment width would be 20 ± 2 mm, discrete values of L and H were considered in increments of 5 mm. Significant pairs of L and H were identified as those for which, when substituted into formulas (1) and (2) (described later), the resulting width H' fell within the specified interval. These pairs were further restricted by the condition that the initial length L was greater than the initial width H. For each significant L and H pair, the resulting length (L') was calculated.
RESULTS
The distance between points A and B on the unrolled and dissected cylindrical surface corresponds to the hypotenuse of the right triangle ABC. The leg AC has a length of 2H – 2H × x, and the leg BC has a length of 1/2 × L. Thus, the width of the intestinal segment after enteroplasty (H'), which is half the distance between points A and B, can be expressed in terms of L, H, and x using the formula:
(1)
The resulting length of the intestinal segment after enteroplasty (L'), assuming the constancy of the cylindrical surface area, can be calculated using the formula:
(2)
From formula (1), it follows that the resulting width (H') decreases as the relative length of the transverse incision (x) approaches 1. Given that the maximum clinically supported relative length of the transverse incision is 0.8 (80% of the circumference) [9], subsequent calculations assumed x = 0.8. Smaller values of x were disregarded.
From formula (2), it follows that the ratio L':L is equal to the ratio H:H', meaning that enteroplasty proportionally increases the length and decreases the width of the intestinal segment. The ratio L':L = H:H' was designated as the “effect of enteroplasty”.
By substituting the values H' = H and x = 0.8 into formula (1) and solving the resulting equation for the L:H ratio, the required length-to-width ratio of the intestinal segment, at which enteroplasty does not alter dimensional parameters, was calculated to be 3.92. From a practical perspective, enteroplasty is effective if the segment’s length exceeds its width by no more than four times. The dependence of the resulting parameters of the intestinal segment on the initial length, with a constant width of 4 cm, is illustrated in Figure 3.
Fig. 3. Dependency of result bowel segment parameters (L', H') on original length (L) with constant width (H = 4 cm). Enteroplasty is effective (L' > L) if L < 15,7 (Н × 3,92; arrows)
Рис. 3. Зависимость результирующих параметров сегмента кишки (L', H') от исходной длины (L) при константном значении ширины (H = 4 см). Энтеропластика эффективна (L' > L) при значениях L < 15,7 (Н × 3,92; отмечено стрелками)
Approximate values of the L:H ratio for specific discrete enteroplasty effect coefficients (1.5, 2.0, 2.5), obtained by substituting these coefficients into formula (1), are presented in Table 1.
Table 1. L : H ratio for certain discrete values of enteroplasty effect
Таблица 1. Значения соотношения L : H для некоторых дискретных величин эффекта энтеропластики
Enteroplasty effect / Эффект энтеропластики | Exact value L : H / Точное значение L : H | Average value L : H / Приближенное значение L : H |
1.5 | 2.54 : 1 | 2.5 : 1 |
2.0 | 1.83 : 1 | 2 : 1 |
2.5 | 1.38 : 1 | 1.5 : 1 |
Thus, enteroplasty demonstrates a significant effect (an increase in length and a decrease in width by at least 1.5 times) when the segment’s length exceeds its width by no more than 2.5 times.
By substituting discrete values of L and H into formulas (1) and (2), it was found that for initial segment lengths less than 60 mm or greater than 80 mm, as well as for initial widths less than 30 mm or greater than 65 mm, no values satisfying the specified conditions exist. The resulting lengths of the intestinal segment after enteroplasty, with a specified resulting width of H' = 20 ± 2 mm, for initial lengths of 60–80 mm and initial widths of 30–65 mm, are presented in Table 2.
Table 2. Result bowel segment length in preassigned result width 20 ± 2 mm for discrete original length and width values
Таблица 2. Значения результирующей длины сегмента кишки при заданной результирующей ширине 20 ± 2 мм для дискретных значений исходных длины и ширины
Width (H), mm /Ширина (H), мм | Length (L), mm / Длина (L), мм | ||||
60 | 65 | 70 | 75 | 80 | |
30 | – | – | 114 | 114 | – |
35 | – | – | 130 | 131 | 132 |
40 | – | 144 | 146 | 147 | 149 |
45 | – | 157 | 160 | 162 | 164 |
50 | 166 | 170 | 174 | 176 | – |
55 | 177 | 182 | 186 | 190 | – |
60 | – | 193 | 198 | – | – |
65 | – | – | 209 | – | – |
DISCUSSION
Our geometric analysis of the Yang-Monti enteroplasty modified by Casale, applied to short bowel syndrome (SBS), demonstrated that the method is effective when the segment length is 60–80 mm and the width is 30–65 mm.
The undeniable advantage of “standard” autologous reconstruction methods, such as longitudinal intestinal lengthening and tailoring (LILT) and serial transverse enteroplasty (STEP), lies in their flexibility regarding the maximum length and width of the intestinal segment included in the reconstruction zone, as well as the ratio of these parameters. However, LILT requires a minimum segment length of 40 cm [16], making it unsuitable in cases where the total intestinal length is insufficient or when reconstructing disconnected short segments. The Yang-Monti enteroplasty modified by Casale overcomes this limitation. If the intestinal segment length is excessive (exceeding 80 mm), it can be divided into multiple parts, followed by enteroplasty and the formation of a single intestinal tube, as demonstrated by the successful use of this approach in ureteral reconstruction [9, 22]. In contrast, STEP enteroplasty requires the intestinal segment to be dilated to at least 4 cm [20], whereas the Yang-Monti enteroplasty can be performed on narrower segments, with widths as low as 30 mm.
Thus, the Yang-Monti technique may be appropriate in clinical situations where performing LILT or STEP is either impossible or impractical, particularly in cases of insufficient intestinal dilation for STEP. Given the necessity of maximizing the efficient use of available intestinal tissue during complex reconstructive procedures — especially when multiple previously placed intestinal stomas are present [4] — this method can also be employed to reconfigure short intestinal segments before incorporating them into a continuous intestinal tube.
We were unable to find data on the use of the Yang–Monti enteroplasty modified by Casale with subsequent incorporation of the reconstructed segment into the digestive canal in either experimental or clinical settings.
Despite the relatively narrow range of conditions for applying the Yang–Monti enteroplasty modified by Casale in SBS, this technique, if its effectiveness is confirmed in in vivoexperimental studies, may be considered a valuable auxiliary method in autologous reconstructive procedures.
CONCLUSION
The Yang–Monti enteroplasty modified by Casale can be considered an auxiliary method for intestinal reconstruction in short bowel syndrome when the intestinal segment length is 60–80 mm, the width is 30–65 mm, and the length-to-width ratio does not exceed 2.5:1.
ADDITIONAL INFO
Authors’ contribution. All authors made a substantial contribution to the conception of the study, acquisition, analysis, interpretation of data for the work, drafting and revising the article, final approval of the version to be published and agree to be accountable for all aspects of the study.
Competing interests. The author declares that he has no competing interests.
Funding source. This study was not supported by any external sources of funding.
ДОПОЛНИТЕЛЬНАЯ ИНФОРМАЦИЯ
Вклад авторов. Все авторы внесли существенный вклад в разработку концепции, проведение исследования и подготовку статьи, прочли и одобрили финальную версию перед публикацией.
Конфликт интересов. Авторы заявляют об отсутствии конфликта интересов.
Источник финансирования. Исследование не имело спонсорской поддержки.
About the authors
Artem V. Kosulin
Saint Petersburg State Pediatric Medical University
Author for correspondence.
Email: hackenlad@mail.ru
ORCID iD: 0000-0002-9505-222X
SPIN-code: 7609-0708
MD, PhD, Associate Professor, Department of Operative Surgery and Topographic Anatomy named after F.I. Valker
Russian Federation, 2 Litovskaya st., Saint Petersburg, 194100Aleksey V. Podkamenev
Saint Petersburg State Pediatric Medical University
Email: podkamenev@hotmail.com
ORCID iD: 0000-0001-6006-9112
SPIN-code: 7052-0205
MD, PhD, Dr. Sci. (Medicine), Head, Department of Surgical Diseases of Childhood named after G.A. Bairov
Russian Federation, 2 Litovskaya st., Saint Petersburg, 194100Natalya A. Lukina
Saint Petersburg State Pediatric Medical University
Email: lukinanatalyaa@yandex.ru
ORCID iD: 0000-0002-8695-1645
SPIN-code: 3418-9927
Senior Laboratory Assistant, Department of Operative Surgery and Topographic Anatomy named after F.I. Valker
Russian Federation, 2 Litovskaya st., Saint Petersburg, 194100Alina K. Avdovskaya
Saint Petersburg State Pediatric Medical University
Email: avdovskaya.alina@gmail.com
ORCID iD: 0009-0004-0433-6967
SPIN-code: 7197-8855
Pediatric Surgeon, Surgical Department No 3
Russian Federation, 2 Litovskaya st., Saint Petersburg, 194100Ekaterina A. Melnikova
Saint Petersburg State Pediatric Medical University
Email: kea13doc@gmail.com
ORCID iD: 0009-0004-2443-0344
SPIN-code: 5508-2109
Assistant Professor, Department of Operative Surgery and Topographic Anatomy named after F.I. Valker
Russian Federation, 2 Litovskaya st., Saint Petersburg, 194100Roman A. Ti
Saint Petersburg State Pediatric Medical University
Email: sprut009@yandex.ru
ORCID iD: 0000-0003-4116-424X
SPIN-code: 6037-3751
Pediatric Surgeon, Operating Department, Perinatal center
Russian Federation, 2 Litovskaya st., Saint Petersburg, 194100References
- Bezhenar VF, Ivanova LA, Ivanov DO, Krasnogorskaya OL. Newborn baby needs operation: is it possible to reduce the risk of postoperative mortality? Pediatrician (St. Petersburg). 2023;14(4):85–92. EDN: GINHRL doi: 10.17816/PED14485-92
- Karpeeva YuS, Novikova VP, Khavkin AI. Short bowel syndrome: from presentation to treatment. Pediatric nutrition. 2021;19(6):75–85. EDN: ALMSZI doi: 10.20953/1727-5784-2021-6-75-85
- Mazurin AV, Vorontsov IM. Propedeutics of pediatric diseases. Saint Petersburg: Foliant; 2000. 1008 p. (In Russ.) EDN: QLSVXZ
- Mokrushina OG, Gurskaia AS, Skvortsova VA, et al. Intestinal failure: analysis of the results of a series of clinical observations. Pediatrics. Journal named after G.N. Speransky. 2022;101(4):165–172. EDN: PMWMMP doi: 10.24110/0031-403X-2022-101-4-165-172
- Novikova VP, Zech OM. Bacterial overgrowth syndrome in children. Pediatrician (St. Petersburg). 2010;1(1):М54–М59. (In Russ.) EDN: NVZVEP
- Filippov DV, Glushkova VA. Colectomy — an operation of despair or a necessary option in the treatment of patients with severe forms of inflammatory bowel disease in pediatrics. Children’s Medicine of the North-West. 2021;9(1):358–359. (In Russ.) EDN: IQVULI
- Khasanov RR. Bowel lengthening surgery for short bowel syndrome in children. Bashkortostan Medical Journal. 2017;12(4): 137–140. EDN: ZULLIT
- Alberti D, Righetti L, Bianchi A, et al. Transverse flap duodenoplasty (TFD): a new technique in autologous bowel reconstructive surgery. Pediatr Surg Int. 2018;34(5):567–571. doi: 10.1007/s00383-018-4245-1
- Bao JS, He Q, Li Y, et al. Yang–Monti principle in bridging long ureteral defects: Cases report and a systemic review. Urol J. 2017;14(4):4055–4061.
- Billiauws L, Thomas M, Le Beyec-Le Bihan J, et al. Intestinal adaptation in short bowel syndrome. What is new? Nutr Hosp. 2018;35(3):731–737. doi: 10.20960/nh.1952
- Boroni G, Parolini F, Stern MV, et al. Autologous intestinal reconstruction surgery in short bowel syndrome: Which, when, and why. Front Nutr. 2022;9:861093. doi: 10.3389/fnut.2022.861093
- Casale AJ. A long continent ileovesicostomy using a single piece of bowel. J Urol. 1999;162(5):1743–1745. doi: 10.1016/S0022-5347(05)68228-6
- Coletta R, Aldeiri B, Morabito A. Institutional experience with spiral intestinal lengthening and tailoring. Eur J Pediatr Surg. 2019;29(5):412–416. doi: 10.1055/s-0038-1660850
- Coletta R, Morabito A, Iyer K. Nontransplant surgery for intestinal failure. Gastroenterol Clin North Am. 2019;48(4):565–574. doi: 10.1016/j.gtc.2019.08.009
- Dubrovsky G, Huynh N, Thomas AL, et al. Intestinal lengthening via multiple in-continuity springs. J Pediatr Surg. 2019;54(1):39–43. doi: 10.1016/j.jpedsurg.2018.10.036
- Frongia G, Kessler M, Weih S, et al. Comparison of LILT and STEP procedures in children with short bowel syndrome — a systematic review of the literature. J Pediatr Surg. 2013;48(8):1794–1805. doi: 10.1016/j.jpedsurg.2013.05.018
- Hukkinen M, Kivisaari R, Merras-Salmio L, et al. Small bowel dilatation predicts prolonged parenteral nutrition and decreased survival in pediatric short bowel syndrome. Ann Surg. 2017;266(2): 369–375. doi: 10.1097/SLA.0000000000001893
- Huynh N, Dubrovsky G, Rouch JD, et al. Three-dimensionally printed surface features to anchor endoluminal spring for distraction enterogenesis. PLoS One. 2018;13(7):e0200529. doi: 10.1371/journal.pone.0200529
- Lauro A, Coletta R, Morabito A. Restoring gut physiology in short bowel patients: from bench to clinical application of autologous intestinal reconstructive procedures. Expert Rev Gastroenterol Hepatol. 2019;13(8):785–796. doi: 10.1080/17474124.2019.1640600
- Leung MWY, Chan IHY, Chao NSY, et al. Serial transverse enteroplasty for short bowel syndrome: Hong Kong experience. Hong Kong Med J. 2012;18(1):35–39.
- Muff JL, Sokolovski F, Walsh-Korb Z, et al. Surgical treatment of short bowel syndrome the past, the present and the future, a descriptive review of the literature. Children (Basel). 2022;9(7):1024. doi: 10.3390/children9071024
- Patil N, Javali T. Application of the “Yang–Monti principle” in children with iatrogenic ureteral injuries. J Pediatr Urol. 2021;17(4): 543.e541–543.e547. doi: 10.1016/j.jpurol.2021.04.022
- Rafeeqi TA, Thomas A-L, Salimi-Jazi F, et al. Internal plication for spring confinement to lengthen intestine in a porcine model. PLoS One. 2022;17(9):e0274612. doi: 10.1371/journal.pone.0274612
- Saeki I, Kurihara S, Kojima M, et al. A new surgical technique for short bowel syndrome. BMC Surg. 2022;22(1):375. doi: 10.1186/s12893-022-01823-5
- Shun A, Thomas G, Puppi J, et al. Double barrel enteroplasty for the management of short bowel syndrome in children. Pediatr Surg Int. 2021;37(1):169–177. doi: 10.1007/s00383-020-04767-0
- Tappenden KA. Intestinal adaptation following resection. JPEN J Parenter Enteral Nutr. 2014;38(1S):23S-31S. doi: 10.1177/0148607114525210
- van Praagh JB, Hofker HS, Haveman JW. Comparing bowel lengthening procedures: which, when, and why? Curr Opin Organ Transplant. 2022;27(2):112–118. doi: 10.1097/MOT.0000000000000957
- Xiong S, Zhu W, Li X, et al. Intestinal interposition for complex ureteral reconstruction: A comprehensive review. Int J Urol. 2020;27(5):377–386. doi: 10.1111/iju.14222
Supplementary files







