The nature of voltage in superconductors with dynamic intermediate-mixed state
- 作者: Antonov Y.F.1
-
隶属关系:
- Emperor Alexander I St. Petersburg State Transport University
- 期: 卷 5, 编号 1 (2019)
- 页面: 54-73
- 栏目: Original papers
- URL: https://journals.eco-vector.com/transsyst/article/view/11591
- DOI: https://doi.org/10.17816/transsyst20195154-73
- ID: 11591
如何引用文章
详细
Aim: to describe scientific achievement providing the essence of the phenomenon; to confirm reliability of existence of DC electromagnetic induction using direct evidence.
Methods: experimental research into magnetizing superconducting samples. Visualisation of intermediate and mixed state of superconductors and movement of quantised threads of magnetic flux, the beams of such threads. Development of mathematical theory on the basis of fractal geometry and functional analysis.
Results: The essence of the scientific discovery consists in the proof that the direct consequence of the formation of an intermediate-mixed state of superconductors and the movement of quantum magnetic fluxes threads, beams of such filaments and macroscopic normal zones is the phenomenon of direct current electromagnetic induction.
Conclusion: the discovery of DC electromagnetic induction has been made, superconducting topological electrical generators on the basis of DC electromagnetic induction have been built, that achieve high nominal parameters: 10−100 kA current, specific current load − 1 kA/kg.
全文:
TASK SETTING
Research into the structure and dynamics of intermediate and mixed state of superconductors in order to substantiate coexistence of intermediate and mixed states in I and II type low temperature superconductors, as well as in second generation high temperature superconductors. Theoretical substantiation of emergence of DC electromagnetic induction. Description of standard designs of superconducting topological generators and the results of their experimental study, including those in normal operation conditions.
INTRODUCTION
The phenomenon of AC electromagnetic induction, discovered by M. Faraday [1], mathematically described by J.C. Maxwell [2], is very well-known. The AC electromagnetic induction phenomenon underlies electrical machines and AC transformers operation. The so-called “DC” electrical machines are essentially the AC machines, equipped with external switches, e.g. commutator.
The nature of potential difference in superconducting units, being in dynamic intermediate-mixed state, has been a topic for a discussion for years. Thus, for instance, the Nobel prize laureate J. Bardeen proposed model raises doubts, and in accordance with this model, the potential difference in clips of superconductor arises as a result of voltage downturn caused by transport current flowing in it, as normal conduction electrons in a normal core of quantum thread perceives the movement of magnetic flux quantum as a moving magnetic flux. However, the potential difference in clips of superconductors emerges in absence of transport current as well. Furthermore, the quantum thread of magnetic flux (the synonyms are superconducting vortex, Abrikosov vortex) is a complex formation consisting not only of microscopic normal core, but also of non-decaying superconducting currents, flowing at the distance from the geometric centre equalling the London penetration depth λL.
There is yet one more inaccuracy made by another Nobel prize winner I. Giaever, who asserted that transformation of direct current in overlapping superconducting samples occurs due to superconducting electron tunnelling. In the experiments with overlapping thick (up to 5 mm) superconductors, separated by a thick (up to 4 mm) layer of electric insulation, the transformation of current takes place, which bears absolutely no relation to superconducting electron tunnelling.
The Dutch physicist J. Folger was the first to describe the principles of flux pump [3]. In the Netherlands, Germany, England, France, Switzerland, Japan, Canada, USA the test samples of flux pumps were introduced. The single machine unit made it possible to achieve the current of 2.5 kA. The disputable physical models and a number of semi-empirical formulas, which provide not quite correct explanation of flux pump performance principles. After first successes, the scientists and engineers reached the deadlock. The task to obtain a 10 kA current and above seemed unachievable. The main hindrance to creation of fundamentals of theory, calculation and design of flux pumps for 10 kA and above became insufficiently profound understanding of the performance principle. The absence of fundamental theory obstructed development of flux pumps and achievement of high nominal parameters, that would ensure their competitiveness in design of power supply systems for superconducting devices.
As to widespread opinion on flux pump performance principle, it can work only if there is a normal zone in the superconducting armature. As it is known, in flux pumps (or topological generators, according to our terminology), due to the presence of ferromagnetic units, magnetic fields are at 1 T level. Consequently, to ensure formation of a normal zone during manufacture of superconducting armatures, the superconductors with only low value of ~1 T of critical magnetic field were used. But there are indeed superconductors having critical magnetic field of 20 T and more. Thus, following the generally accepted understanding of their operation principles, while manufacturing topological generators, most of the superconductors were withdrawn from use, with those having the highest field and current critical parameters in the first place. The critical field and current values are interrelated. Therefore, the highest achievement in the earlier designed flux pumps was 2.5 kA current, despite forecast for tens of kiloamperes.
In summary, the essence of the problem was the principle of operation (in its initial interpretation), which, by the way, was expressed in the wrong name of the device, that is “flux pump”. To solve this problem, it was necessary to use the results of a theoretical research into intermediate and mixed states of I and II types superconductors, undertaking a comparative analysis of the relative experimental data.
QUANTIZATION OF MAGNETIC FLUX
The direct result of a strict phase coherence is the effect of quantization of magnetic flux. Being of fundamental significance, the quantization of magnetic flux is common, without any exception, for every superconductor of any geometrical form and connectedness. “Connectedness” is a topological notion [3]. A topological space is any set of Х, together with a collection t of subsets, which are simultaneously open and closed. This collection t of subsets is called “topology” in the set X. In this context, with regard to superconductors, the mathematical term “topology” is used predominantly for studying processes caused by change of “connectedness” of superconducting contours due to phase transitions.
This approach can be formally explained as follows. A massive superconducting sample, from a mathematical point of view, can be considered as topological space (to be more precise - subspace). According to the definition above, a topological space is a set X in which there is a topological structure. In this case a topological structure is a superconducting phase, i.e. the whole superconducting volume of a massive sample. - a set in which a certain number of subsets, open and closed at one time, are selected, i.e. a topological structure is set up. The set X is open and closed, just like the empty set . If X (i.e. the volume of a superconductor) does not contain any other sets, both closed and open at one time, then a topological space is connected. In a special case of a massive superconducting sample, provided that there is full Meissner–Ochsenfeld effect, we have a single-connected topological space. Any local interruption of superconductivity due to penetration of magnetic field into the sample, for instance, with creation of local macroscopic normal zone, intermediate state or in the form of separate quantum threads of magnetic flux, that is beams of such threads, changes the topology of space, i.e. connectedness.
It is known that stationary electrical states (in this case superconductivity) are determined by quantum conditions. Consequently, the current inductively fed into superconducting ring can acquire only discrete values. Because quantum levels are at extremely close distance from each other, the discrete values of the current are usually not detected by instruments.
To have a full understanding of magnetic flux quantization, instead of the ring the superconducting plate with a hole should be considered.
From the point of view of topology, both the ring and the plate with a hole are homeomorphic figures. Moreover, as geometrical hole in the superconducting plate, a “phase” hole can serve - the normal zone. It can be formed by externally applied magnetic field, the induction of which is above the critical value which is characteristic of this superconductor. Localisation of the normal zone is maintained by superconducting current, circulating around it. It means that the magnetic flux created by superconducting current, coincides in the normal zone with the external magnetic flux in its direction, whereas outside of the normal zone it has counter-direction, ensuring shielding of the rest of the superconducting plate against the external magnetic field. The average density of the current circulating around the hole (normal zone) where - the speed of Cooper pairs. The superconducting current circulating around the normal zone runs in the layer with a thickness equalling the London penetration depth λL.
Unlike the above-considered case of macroscopic hole in the form of the normal zone, the quantum thread of the magnetic flux represents a microscopic hole with a radius ξ, consisting of the normal phase, around which the non-decaying superconducting eddy current circulates. Its direction is the same as in the current circulating around the normal zone. This is where their similarity ends. The circulating current around the normal zone provides only a multiple value of the external magnetic flux of magnetic flux quantum, with the external magnetic flux penetrating the macroscopic hole. The superconducting eddy current of a quantised thread of the magnetic flux (vortex) creates a one quantum magnetic flux, which is spread in the area with a radius of λL. The magnetic flux of a quantised thread of the magnetic flux coincides in direction with the applied magnetic field. The volume of the superconductor is shielded from the external magnetic field by superconducting surface currents, running along the perimeter of the sample, and eddy currents as well. Their directions are mutually opposite.
The lines of phase boundaries of the magnetic flux, cluster (beam) of quantised threads of the magnetic flux, and the normal zone make the example of a static self similarity [5].
The fractal curve of the phase boundary of the cluster, the normal zone is built through generation of the line of the phase boundary of the magnetic flux’s quantised thread.
On the basis of the phenomenological theory of superconductivity of GLAG - Ginzburg V.L. (Nobel prize, 2015), Landau L.D. (Nobel prize, 1962), Abrikosov A.A. (Nobel prize, 2015), and Gorkov L.P. - which was supplemented with researches into penetration of magnetic field, structure and dynamics of intermediate and mixed states of serially produced technical low temperature superconductors with non-zero magnetometric demagnetisation factor, and finally second generation HTSPs, the phenomenon of direct current electromagnetic induction has been discovered. For this purpose, the following experiments were conducted:
- Visualisation of intermediate-mixed state of serially manufactured ribbon low temperature superconductors (Fig. 1);
Fig.1. Illustration of coexistence of intermediate-mixed states of low temperature superconductors
a - sample made of Nb+1.5 % Zr (by weight) alloy, disc without copper coating, diameter Ø 5 mm, thickness d = 25 µm; Т = 4.4 К (ТК = 9.2 К), В = 0.085 T; N = 1 – d/2а = 0.999; white formations are clusters of ferromagnetic particles in the points of magnetic flux penetration;
b - sample made of Nb+50 % Ti (by weight) alloy, copper coated disk, diameter Ø 5 mm, thickness d = 25 µm; Т = 4.4 К (ТК = 9.5 К), В = 0.3 T; N = 1 – d/2а = 0.999; dark formations are beams and separate quantised threads of magnetic flux;
c - sample made of Pb+1.89 % Тl (by weight) alloy, disc of diameter Ø 2 mm, thickness d = 1 mm, χ = 0.73; Т= 1.2 К, В = 0.0365 T; dark formations are domains of quantised threads of magnetic flux [6].
- Visualisation of intermediate and mixed states of 2nd generation HTSC (Fig. 2);
Fig. 2. Illustration of coexistence of intermediate and mixed states of HTSC
a – sample ribbon manufactured by SuperOx company; white formations are clusters of ferromagnetic particles in points of magnetic flux penetration;
b - sample ribbon manufactured by American Superconductor (AMSC); dark formations are beams and separate quantised threads of magnetic flux;
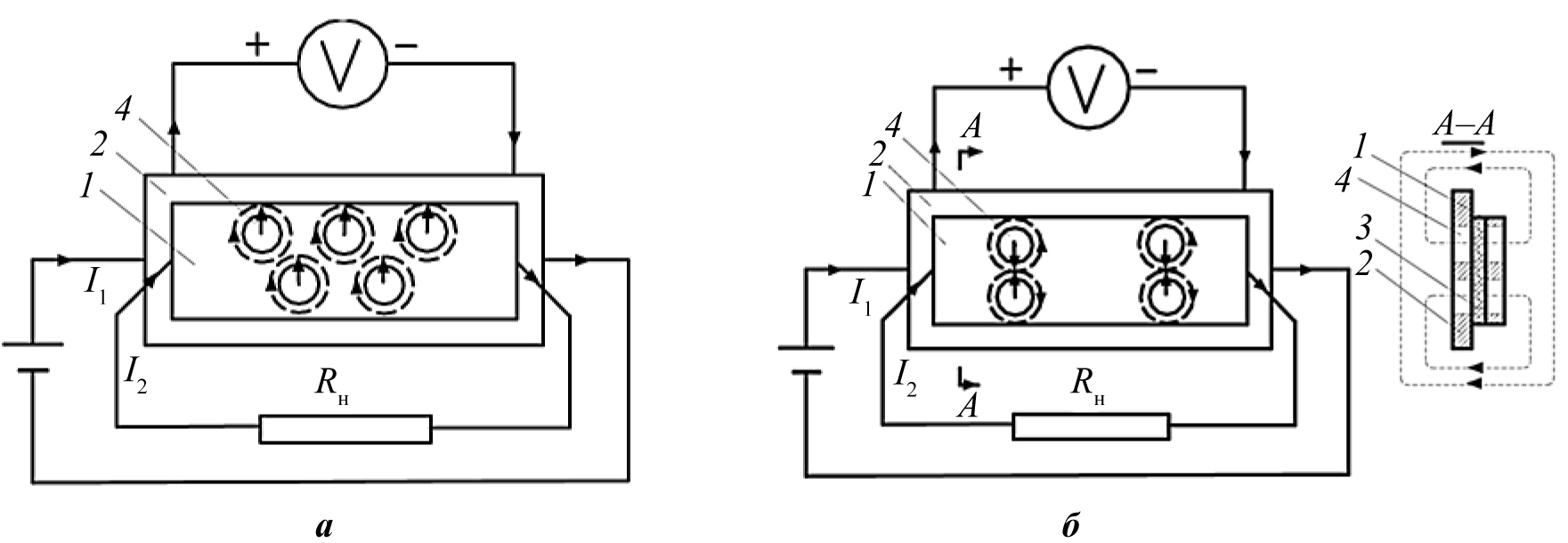
- Building and study of laboratory model of superconducting DC topological transformer based on the connected motion of quantum threads of magnetic flux in overlapped superconducting plates - foil, ribbons and films (Fig. 3).
Fig. 3. Superconducting DC topological transformer
а – stationary magnetic field В is applied perpendicularly to the surface of the pattern,
b – external magnetic field is not present.
1 – primary superconducting coil (layer, film, plate);
2 – secondary superconducting coil (layer, film, plate);
3 – insulator (oxide layer, fluoropolymer film, any insulating base);
4 – sign of quantum thread of magnetic flux.
Being universal, Faraday's law of induction for alternating current, however, excludes any possibility of transforming current without changing flux linkage, i.e. design of DC current transformer. In the device (Fig. 3) above, the current transformation is ensured by virtue of local transition of magnetic flux by moving quantum threads, with the absence of change of total flux linkage of the primary and secondary contours. The primary and secondary coils of the transformer are stretches of superconducting ribbons made of Nb+50 % Ti alloy (manufactured by VNIIKP company, Russia) without copper coating, removed with the help of Nitric acid.
The effect of direct current transformation is observed in the absence of magnetic field as well. Instead of the external magnetic field B the mixed state in the ribbons is created by transport current I1, flowing through the primary coil (Fig. 3b). Similar experiment, however conducted for other purpose, namely to prove tunnelling, was conducted by the Norwegian physicist I. Giaever [4] (Nobel prize, 1973). In his experiment, as the primary and the secondary coils of the transformer (Fig. 3) the tin films with the thickness of d < λL. (initial material of the films was I type superconductor, which due to small thickness d of the film, acquired properties of II type superconductor) were used. The films were separated with oxide layer of insulator with the thickness of 100 Å. This experiment with tunnelling superconducting electrons is a special case, because the biggest contribution to DC transformation is made by connected movement of quantum threads of the magnetic flux, which is present not only in the case of the thinnest superconducting films and thinnest superconducting insulating layer, but also in the case of application comparatively thick superconducting ribbons and thickened insulating pad. Moreover, DC transformation was identified in overlapping rather thick yttrium cermet plates (up to 5 mm), through thickened (up to 4 mm) insulator sandwiched between them. The yttrium cermet plates were high temperature superconductors (produced by IPS TsNIIchermet, Russia).
Both schemes in Fig. 3 can serve as the basis for building of various types of superconducting topological DC transformers.
Perpendicular to the ribbons, is the stationary magnetic field B applied, which is necessary to create mixed states in both ribbons. The direct current I1, flowing through the primary coil of transformer, causes quantum threads in both ribbons to move. As a result, at the secondary coil terminals voltage arises. In the stationary magnetic field with induction B= 0.1 T (Fig. 3a) and the current I1= 1 А at the terminals of the secondary coil, the constant voltage of V=0.5 mV is detected.
- Building of laboratory model of superconducting topological DC generator, which converts heat energy into electric one (Fig. 4).
Fig. 4. Superconducting topological generator converting heat energy into electric one
The applied field with magnetic induction B ensures emergence of mixed state in the superconducting plate. Heating (using constantan heater) of one of the margins of the plate (Fig. 4 −lower margin) leads to increase of density of quantum threads at the warm margin, which results in quantum threads density gradient occurrence across the superconducting plate. The equalisation of density of quantum threads takes place through their movement from the warm margin towards the cold one. The voltmeter connected to margins of the plate registers emergence of the voltage.
The testing of laboratory model (Fig. 4) convincingly demonstrated that electromotive force generated in the dynamic mixed state superconductor, is connected exclusively with moving of quantum threads, because in this device there is no transport current, and, consequently, there is no direct drop of voltage. In the experiment cold-rolled ribbon was used, made of Nb+1,5%Zr alloy (II type superconductor), 25 µm thick, 30 mm wide, with no copper coating, which had been removed by nitric acid. The ribbon was produced at VNIIKP (Russia). The superconducting plate is placed in the external magnetic field B, perpendicular to its surface. In the experiments described above (Fig. 3, 4) the superconducting plates are in stationary homogeneous magnetic field. Thus, the permanence of flux linkage with measuring contour is automatically ensured. The agreement with the law of DC electromagnetic induction is achievable if the quantum threads, emerging owing to the external magnetic field, are not identified with it, but are considered as self-standing magnetic formations.
In the experiment with B= 0.1 T, the constant voltage of V=0.5 mV was obtained. The polarity of electromotive force depends upon magnetic induction vector direction B. This device can be a prototype for a superconducting generator, which converts heat energy into electric one. The application of this scheme for application of the relevant generator is not practical, because placing of the heater in the cryogenic medium is energetically unjustified. However, the conducted experiment has a fundamental significance to prove induction of electromotive force exclusively through guided movement of quantum threads of magnetic flux.
The validity of such consideration is shown in the experiment with spiral generator with bevelled pole-teeth, in which the constancy of overall flux linkage in the measuring circuit is ensured (Fig. 5). In the absence of transport current, there is no direct drop of the voltage, thus the voltage at topological generator terminals is the result of movement of quantum threads of the magnetic flux, which leads to induction of constant electromotive force.
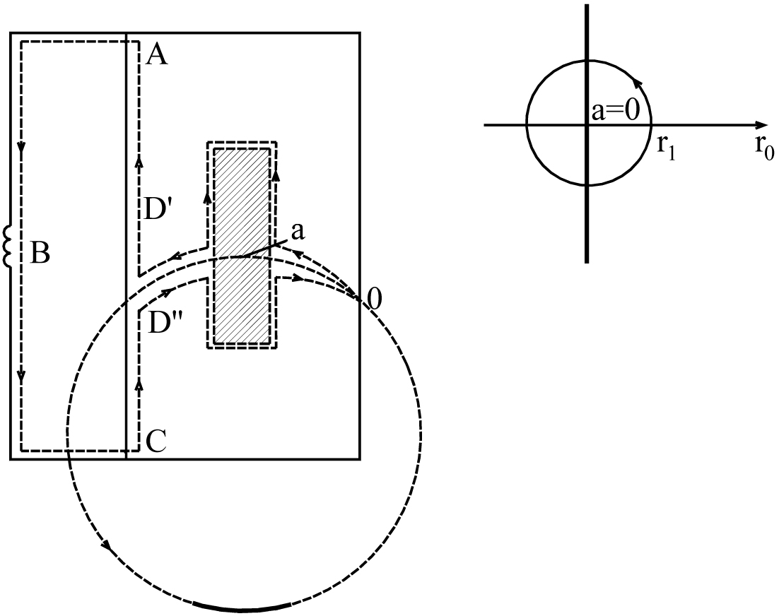
Fig. 5. The layout of superconducting topological electrical DC machine
TOPOLOGICAL MODEL
The main concepts of the topology of superconductors, required to analyse dynamics of intermediate and mixed states, are brought down to the following. Magnetic state of the superconductor determines its topology. Drop of voltage due to flowing of transport current, and generation of constant electromotive force in the absence of current are the result of the change of the superconductor’s topology (connectedness).
In order to provide a strict mathematical substantiation of the described physical interpretation of emergence of electromotive force and voltage drop above, let us consider a flat model of the topological device in Fig. 4. Let us assume that the measuring circuit is placed in the same plane as the superconducting plate. In the pattern’s plane, let us choose a piecewise smooth closed track (contour) with a carrier , where - set of real numbers.
Fig. 6. Flat topological scheme
Point a, coinciding with the centre of the magnet’s projection to the pattern’s plane, while moving finishes the path , the carrier of which (t) is also on the pattern’s plane and coincides with the circle of radius r. Here, the time t [0, + ∞).
Let us determine the index of point a relatively to contour , when it takes a set of positions {(kT)} k = 0, 1, 2, ..., where T – single rotation cycle of magnet:
As with t[0, T) the contour g homotopic to constant contour (i.e. it can be drawn to one point), then applying the Cauchy’s theorem, we have
,
consequently, j () = 0.
With t [T, 2T) the contour can be deformed into contour n, the carrier of which is the circle of single radius 1 > r / r1 (Fig. 7), whereby Q1 [0,2]. Then the index of the point a relatively to the contour
.
With t [n T, (n + 1)T]
.
Let 0 be magnetic flux, contained in the penetration zone, then applying the Cauchy's integral formula, we obtain
.
Thus, after the first cycle flux linkage with contour, enclosing the load, makesïy
With t = 2T , etc. It follows that the average electromotive force, induced in electrical circuit with loading, equals e = – f Ф0 , where f - cycle frequency. The direction of induced current is opposite to direction of bypass of carried on track g.
On the other side, let on the carrier of piecewise smooth track of the contour in question there be continuous vector function – electric field strength. Then, for any point z, belonging to penetration area of magnetic field, namely, normal zone, using Cauchy's integral formula, we can put down the following relation
.
As the point a with t [nT, (n +1)T) representing interest for us, lies in the internal component of connectedness, then
Taking into account j () = n , ( 1) = const, we have .
Thus knowing the value of vector of electric field strength on the carrier of the contour , we can determine its value in any point, lying in the area of penetration of magnetic field , and vice versa. It is where organic connection of two formulas for determination of electromotive force induction manifests itself. Namely,
.
So, regarding description of operation principle of superconducting topological electric machine, the topological representation provides answer to a crucial question: why in case of armature made of ordinary (e.g. copper) conductor, the topology of such armature does not change, and it does not perform its functions. It should be added: if the plate is superconducting, with no normal or intermediate-mixed zone created in it, and with no conditions for permanent phase conversions with changes of topology of circuits, then we will deal with a common case of Faraday’s alternating current electromagnetic induction. This is the essence of discovery of direct current electromagnetic induction, caused by permanent phase conversions, leading to change of topology of superconducting armature and loading, which, and it should be underlined, can be even non-superconducting.
To describe structure and dynamics of intermediate and mixed state of superconductors and the phenomenon of direct current electromagnetic induction, the topological method of description and analysis enables reasoning simply and in full coordination with nature of what happens. The topological method is the basis for creation of engineering theory and method of calculation of superconducting direct current topological electrical machines. And with acceptance of physically justified assumptions, the possibility arises to consider equivalent circuits with concentrated lumped parameters by virtue of classical electromechanics methods [3]. The topological method enables explaining the phenomenon of direct current electromagnetic induction in bismuth, which is not a superconductor, but it does have magnetoresistance [7].
PROVING DC ELECTROMAGNETIC INDUCTION NOVELTY AND RELIABILITY
For the first time, it was shown that the phenomenon of DC electromagnetic induction enables creating DC transformers and DC electric machines, without application of external switches, in contrast to M. Faraday’s AC electromagnetic induction law, which excludes possibility.
Despite DC electromagnetic induction in superconductors being of quantum-mechanical nature, however, unlike superconducting electrons tunnelling [6], in conversion of direct current through directed motion of quantum threads of magnetic flux, the macroscopic result is achieved, which allows creation of superconducting DC topological transformers from comparatively massive superconducting materials, which fosters achievement of high nominal parameters.
The fundamental nature of discovery is ascertained by discovery of DC electromagnetic induction in semiconductors.
The reliability of discovery is confirmed by direct proofs, that is by measuring constant electromotive force and constant current with standard instruments - oscillograph, voltmeter, and ammeter (Fig. 5, 6).
Fig. 7. Oscillogram displaying properties of superconducting topological generator.
1 – rotation frequency;
2 – voltage;
3 – current in superconducting solenoid being tested (Hall effect sensor displays)
Fig. 8. Characteristic curves of superconducting DC topological generator with superconducting load powering
1, 2, 3 – change of the current in superconducting load, including during transition of superconducting load into normal state on reaching the critical current;
4 – constant voltage.
FORMULA OF DISCOVERY
The discovery of a fundamental phenomenon of DC electromagnetic induction in substances having magnetoresistance, superconductors and semiconductors in the first place, creation of a new class of superconducting DC topological electrical machines and DC transformers, development and implementation of superconducting DC topological generators with record-breaking values of nominal parameters – 10 kA current (in case of multi-armature design−up to 100 kA), specific current load 1 kA/kg.
RADICAL CHARACTER
If superconducting load, located in cryogenic zone of the cryostat, is powered from conventional DC current sources, which are located outside the cryostat in the warm zone, the resistive input leads are required, which serve as thermal bridges from the outer environmental to the cryostat, and thus bring heat into the cryostat, which is not energy-efficient. The superconducting DC topological generator is placed in the cryostat in the direct proximity of superconducting load and therefore does not bring outside heat into the cryogenic zone. When using conventional DC warm sources together with resistive input leads, it is difficult to ensure a non-decaying current mode, while the superconducting DC topological generator in the passive mode (when turned off) shunts the superconducting load, converting it into a non-decaying current mode with a possibility of regulating of the 1 µA/s current, which is technically complicated to achieve with the help of DC warm sources.
The phenomenon of DC electromagnetic induction, caused by directed movement of quantised threads of the magnetic flux, allows partial pumping of the magnetic flux into the superconducting circuit, and it is therefore that the superconducting DC topological generators can operate in the flux pump mode. Due to this, there is a radical change in the technology of power supply in superconducting magnetic systems of various designation in stationary and rotating cryostats. As the superconducting DC topological generators have relatively small mass and sizes and in the flux pump mode they require conventional low-voltage small power electric motors for their drives, they can be efficiently applied in aircrafts, including those of space designation [3].
SCIENTIFIC AND PRACTICAL APPLICATION SPHERES
The phenomenon of DC electromagnetic induction is applied in:
- a new class of superconducting DC topological electrical machines and transformers with high values of nominal parameters –10 kА current (up to 100 kA in multi-armature design), specific current load - 1 kA/kg (Fig. 10, 11);
- brushless excitation systems of turbo generators and wind turbines with superconducting excitation winding. As the superconducting DC topological generators are high-current (10−100 kA), but low-voltage (up to 1 V) electrical machines, they can be used to initiate current, regulate and maintain the set value without decaying of current, and to normally output the current, however forcing of the excitation current is impossible, which requires high voltage of up to 1 kV, which is practically not required, because there are limitations to current change speed in the superconducting excitation winding of turbo generator or wind turbine [8];
- an automated system of autonomous power supply of superconducting magnets of particle channels (single stored magnet energy 1 MJ) for proton accelerator for 2х7 TeV;
- power supply sources for superconducting coils, including toroidal winding for the currents of up to 100 kA, thermonuclear reactors;
- power supply sources of superconducting electrophysical apparatuses, especially to undertake long-lasting experiments with high requirements to magnetic field stability;
- power supply sources of superconducting NMR, including MRIs with high resolution capacity for medical diagnoses;
- power supply sources for superconducting instruments and devices of experiments in ground-based laboratories and especially in space-based laboratories;
- a sensible diagnostic device to measure critical parameters of superconducting winding materials and contact joints.
Fig. 9. Main sample of a serial production
Fig. 10. Multifunctional experimental installation for research into superconducting DC topological electric machines and DC transformers
CONCLUSION
On the basis of the phenomenological theory of superconductivity and experimental data of magnetising of low temperature I and II type superconductors, as well as high temperature II generation superconductors, visualisation of structure and dynamics of intermediate and mixed states of superconducting samples with non-zero magnetometric rate of degaussing, the DC electromagnetic induction phenomenon has been discovered in substances, possessing magnetoresistant properties; the law of DC electromagnetic induction has been formulated, the adequate mathematical theory has been discovered with application of notions and methods of fractal geometry and functional analysis (topological spaces), a new class of superconducting DC topological electrical machines and DC transformers has been created, a series of multifunctional topological generators with record-breaking values of nominal parameters (10-100 kA current, specific current load - 1 kA/kg) has been built and tested in normal operation modes; on the basis of superconducting DC topological generators the brushless excitation systems for turbo generators and wind turbines having superconducting excitation winding of 20-300 MW, as well as autonomous power supply sources of 200 superconducting deviating magnets of particle channels of supercollider (2x7 TeV proton accelerator with single stored energy of superconducting deviating magnets - 1 MJ), precision power supply source of superconducting MRI for medical diagnosis with high resolution capacity, superconducting solenoid incorporated power supply source for superconducting electrophysical apparatuses for medical and biological researches in space laboratories conditions, have been designed and implemented.
ACKNOWLEDGMENT
This work was supported by the Russian Foundation for Basic Research (RFBR) within the framework of the scientific project of the office of the Russian Railways No. 17-20-04121.
作者简介
Yuri Antonov
Emperor Alexander I St. Petersburg State Transport University
编辑信件的主要联系方式.
Email: yuri-anto@yandex.ru
ORCID iD: 0000-0002-6910-1622
SPIN 代码: 2335-5765
Doctor of Technical Sciences, Professor of the Department "Electrical Engineering and Power Engineering"
俄罗斯联邦, 9 Moskovsky ave., St. Petersburg, 190031参考
- Faraday М. Experimental Researches of Electricity. London: Richard Taylor and William Francis, 1855. 588 p.
- Ландау Л.Д, Лифшиц Е.М. Электродинамика сплошных сред. – М.: Наука, 1982. – 620 с. [Landau LD, Lifshits EM. EHlektrodinamika sploshnyh sred. Moscow: Nauka, 1982. 620 p. (In Russ.)].
- Рудин У. Функциональный анализ. – М.–Л.: Мир, 1975. – 443 с. [Rudin U. Funkcional'nyj analiz. Moscow-Leningrad: Mir, 1975. 443 p. (In Russ.)].
- Гиавер И. Туннелирование электронов и сверхпроводимость // Успехи физических наук. – 1975. – №11. – С. 585–595. [Giaver I. Tunnelirovanie ehlektronov i sverhprovodimost'. Uspekhi fizicheskih nauk. 1975;(11):585-595 (In Russ.)]. doi: 10.3367/ufnr.0116.197508b.0585
- Мандельброт Б.М. Фрактальная геометрия природы. – М.: Изд-во Института компьютерных исследований, 2002. – 656 с. [Mandel'brot BM. Fraktal'naya geometriya prirody. Moscow: Izd-vo Instituta komp'yuternyh issledovanij, 2002. 656 p. (In Russ.)].
- Träuble H, Essmann U. Die Beobachtung magnetischer Strukturen von Supraleitern zweiter Art. Physica Status Solidi. 1967;20:95-111. doi: 10.1002/pssb.19670200108
- Данилевич Я.Б., Антонов Ю.Ф. Топологический генератор с магниторезистивным коммутатором из висмута // Электричество. – 1997. – № 11. – С. 41–46. [Danilevich YaB., Antonov YuF. Topologicheskij generator s magnitorezistivnym kommutatorom iz vismuta. Ehlektrichestvo. 1997;(11):41-46. (In Russ.)].
- Антонов Ю.Ф., Данилевич Я.Б. Криотурбогенератор КТГ-20: опыт создания и проблемы сверхпроводникового электромашиностроения. – М.: Физматлит, 2003 – 600 с. [Antonov YuF, Danilevich YaB. Krioturbogenerator KTG-20: opyt sozdaniya i problemy sverhprovodnikovogo ehlektromashinostroeniya. Moscow: Fizmatlit, 2003 600 p. (In Russ.)].
- Антонов Ю.Ф., Данилевич Я.Б. Сверхпроводниковые топологические электрические машины. – М.: Физматлит, 2009. – 368 с. [Antonov YuF, Danilevich YaB. Sverhprovodnikovye topologicheskie ehlektricheskie mashiny. Moscow: Fizmatlit, 2009. 368 p. (In Russ.)].
补充文件











