Linear Induction Motors without Longitudinal Edge Effect
- Authors: Solomin V.A.1, Solomin A.V.1, Chekhova A.A.1, Zamchina L.L.1, Trubitsina N.A.1
-
Affiliations:
- Rostov State Transport University
- Issue: Vol 5, No 2 (2019)
- Pages: 60-69
- Section: Original papers
- URL: https://journals.eco-vector.com/transsyst/article/view/15257
- DOI: https://doi.org/10.17816/transsyst20195260-69
- ID: 15257
Cite item
Abstract
Background: At high speeds of motion of the magnetic-levitation transport (MLT), linear induction motors (LIM) have a secondary longitudinal edge effect (SLEE). SLEE occurs when magnetic field of inductor interacts with the currents of the secondary element (SE) outside the MLT crew. SLEE reduces the efficiency of traction LIM. Therefore, the task of reducing the influence of SLEE is relevant.
Aim: Development and research of a linear induction motor without a secondary longitudinal edge effect.
Methods: To achieve this aim, new designs of linear induction motors have been proposed, which do not have a SLEE. The secondary element of the LIM (track structure of the MLT) is made of cylindrical conductive rods installed with the possibility of rotation. Traction LIM of the MLT equipped with two brushes that close the rods of the SE within the length of the inductor. When the MLT crew moves, the rods outside the inductor are not closed by brushes and there is no current in them. There will be no SLEE. Another method to solve this problem is using reed switches to close and open the rods of the secondary element.
Results: The possibility of increasing the efficiency of the LIM has been achieved.
Full Text
Introduction
Magnetic levitation transport (MLT) will enable construction of new corridors between the eastern and western parts of Russia, reduction of ride time of passenger and cargo transport through high speed. Magnetic levitation and vacuum transport (VMLT) can drastically change direction and intensity of cargo turnover in the world, which will encourage technical progress and economic growth of many countries. The issues relating to design and development of MLT are points of interest in industrially developed and even developing countries. In Russia, the issues and tasks relating construction of, research into and application of MLT are addressed by engineers and scientists of a number of organisations, including Emperor Alexander I St. Petersburg State Transport University (PGUPS), on the basis of which the Scientific Educational and Engineering Cluster “Russian Maglev” has been established, the Russian University of Transport (RUT-MIIT), Rostov State Transport University (RGUPS), as well as research institutes and industrial enterprises [1-7, 15]. For traction motor in MLT and VMLT the linear electrical drives are designed. The paper covers linear induction motors (LIM) which can have ways for closing of magnetic fluxes in longitudinal, transverse and longitudinal-transverse directions. Operation of high-speed MLT will require considerable material resources, and tasks to reduce their consumption are relevant. During operation of LIMs as traction motors in high-speed MLT, the secondary longitudinal edge effect (SLEF) arises, which reduces efficiency rate of MLT system.
AIM
The aim of the paper presented is development of new LIM designs that would be able to function without the secondary longitudinal edge effect and that would have increased efficiency rate. SLEF is especially noticeable at high-speeds, therefore it is required that the traction LIMs for MLT and VLMT should be improved.
LINEAR INDUCTION MOTOR DESIGN
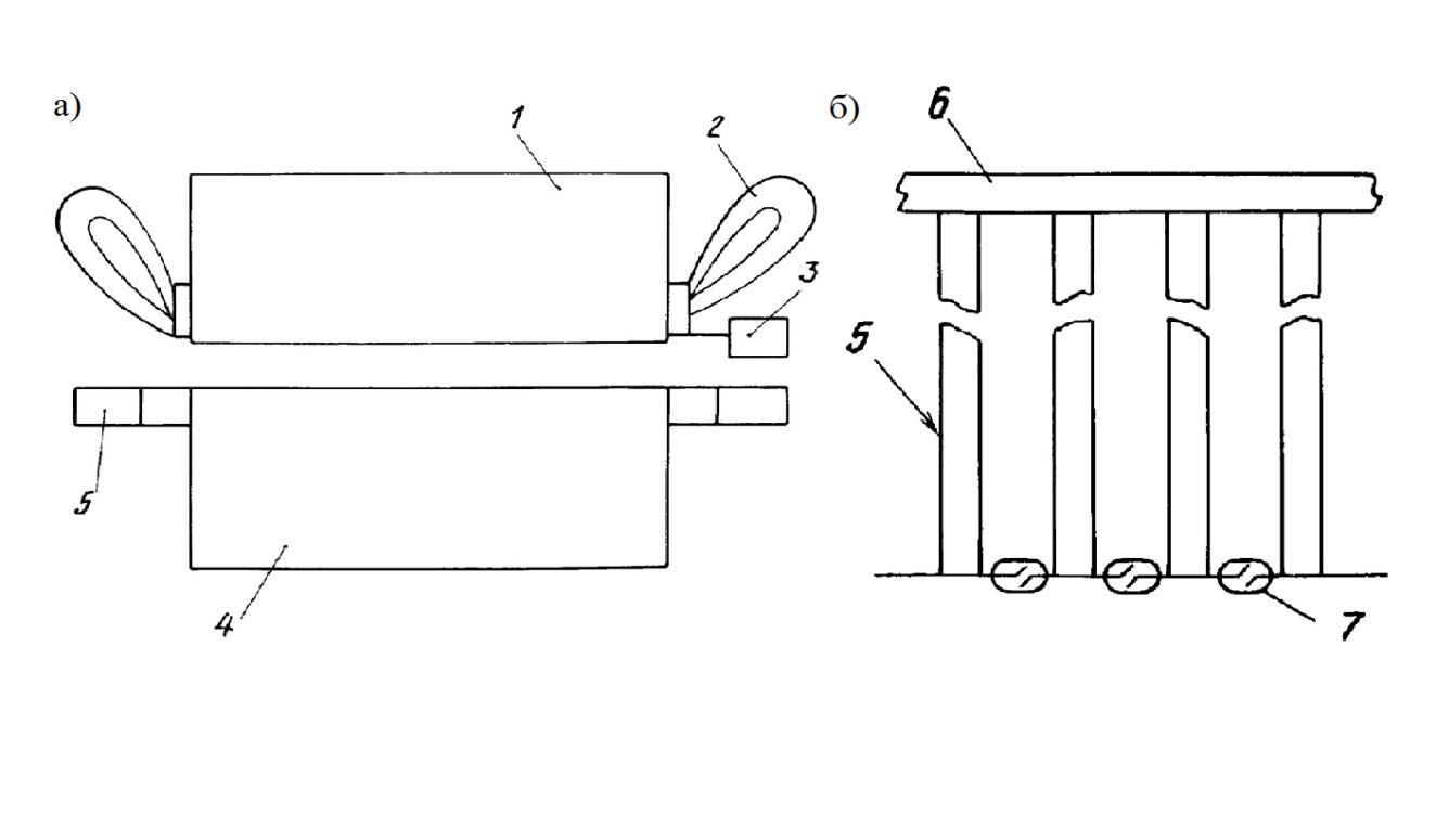
Research issues relating to the processes justified by final sizes of linear induction motors are to a greater or lesser extent touched upon in the works [8-19]. Still there are no publications dedicated to LIMs having no secondary longitudinal edge effect. The development of LIMs without SLEF rests on the idea about full absence of current in the electrically conductive part of the secondary element (SE) of the machine, located outside the area of inductor. Let us consider the first variety of LIM design. The secondary element (core) of LIM embedded, into the guideway of MLT, has a short-circuit winding, consisting of round conductive rods, oriented perpendicularly to the vehicle movement and installed rotatably. The main feature of this linear induction motor is that the winding becomes short-circuited only under LIM inductor which is located in the vehicle. The conductive rods under LIM are short-circuited by means of two carbon brushes located on both sides of the inductor core and being equal in length to it. The structural schematic of such a traction linear induction motor is shown in Fig. 1.
The linear induction motor has an inductor 1, consisting of the core and a three-phase winding. The inductor is fixed on the plate 2 made of non-conducting material (Fig. 1a). The secondary element (MLT guideway) consists of the core 3 of cylindrical conductive rods 4, located rotatably in the grooves of the core (Fig. 1, б). Within the length of LIM inductor, the rods 4 are closed by brushes 5 of conductive material. The brushes are placed on both sides of the inductor and are firmly connected by the plate 2. The ends of conductive rods 4 are located in the bearings 6 Fig. 1b).
The operation principle of the linear induction motor in question is following. When the three-phase current is fed to the inductor winding, the longitudinally travelling magnetic field is excited. The travelling magnetic field crosses the winding rods of the secondary, which are located under the inductor (Fig. 1b), and induces electromotive forces in them. The rods under the inductor are short-circuited by conductive brushes and form a short-circuited winding, as a result of which under the electromotive forces, the currents will flow in the rods, interacting with the travelling magnetic field. As a result, the traction force is created, that moves the inductor of LIM (MLT vehicle). While moving, the inductor (onboard of MLT) constantly changes its positioning, and the brushes open the rods, which are left behind the vehicle. There can be no currents in these rods, and so there will be no power losses, and thus the efficiency rate of traction LIM and MLT systems in general increase, reducing the operational costs of a new transport mode.
Fig.1. Linear induction motor with closing brushes, a) and secondary element winding, b).
1 – inductor with three-phase winding;
2 – plate made of insulation material;
3 – secondary element core;
4 – cylindrical conductive rods of secondary element winding;
5 – brushes made of conductive material;
6 – bearings.
The significant weaknesses of the LIM presented are the friction between the brushes and the rods and emergence of sparks in the brush-rod interface when the circuit is broken during the movement of the high-speed MLT vehicle. These weaknesses are not present in the second design variant of linear induction motor without SLEF, electrically conductive winding rods of the secondary element of which are closed by the common conductive bus on one side, and on the other side, between each pair of rods, there are magnetically controlled contacts (reed switches) electrically connected with the rods. The design of LIM is shown in Fig. 2.
The linear induction motor has the inductor 1 with ferromagnetic core and three-phase winding 2. The inductor of LIM is equipped with the permanent magnet 3 (Fig. 2a). The secondary element (guideway) consists of the ferromagnetic core 4 and the winding 5 (Fig. 2b). The winding of the secondary element consists of conductive rods 5, closed on one side by the common bus 6 (Fig. 2b). On the opposite side, between each pair of rods, there are magnetically controlled contacts (reed switches) 7 installed, that are electrically connected with the rods of the winding 5. The reed switches 7, located under the permanent magnet 3 (under MLT vehicle), are closed.
The second design variety of linear induction motor without SLEF functions as follows. The connection of the inductor to the source of a three-phase current leads to creation of the travelling magnetic field, crossing the rods of the windings of the secondary element and inducing the electromotive forces in them. The rods of the secondary element winding, located under the inductor, form a short-circuited winding, because the reed switches contacts under the magnetic field influence of the permanent magnet will be closed. Under the influence of the electromagnetic force, in the winding of the secondary element the currents will flow. Interaction of the travelling magnetic field with the currents in the winding of the secondary element creates traction force, moving the vehicle of MLT. As the vehicle moves, in the approaching parts of the secondary element under the influence of the permanent magnet field, the new reed switches contacts are closed, forming a short-circuited winding other part of the guideway of MLT, whereas in the escaping parts of the secondary element (“set free” from the inductor of LIM) the reed switch contacts are opened, and outside the inductor area (vehicle) the currents will not flow. The secondary longitudinal edge effect in this case will be fully absent. The short-circuited winding itself of the secondary element under the inductor of the travelling MLT vehicle is created without any friction, which increase efficiency rate of the linear induction motor.
SLEF INFLUENCE ON LIM PERFORMANCE
The currents in the conductive part of the secondary element of LIM flow under the influence of transforming electromotive force and electrodynamic force of “movement”. At low speeds of MLT the former has greater significance, whereas at high speeds it is the latter that is of greater significance. Based on theoretical considerations and experimental data, the relation has been obtained that enables calculation of electrical losses of power in the secondary element, emerging as the result of the secondary longitudinal edge effect
where – magnetic induction in the air gap in the centre of the inductor;
– cross section of the conductive part of the secondary element;
– electrical conductivity of the rods of the secondary element;
– velocity;
– air gap;
– current frequency;
– coefficient depending on electrical conductivity of the secondary element.
All units of measurement are given in SI, the result is expressed in kW.
Experimental studies carried out on the arc-type stator bench have shown that at speeds of 215 km/h, the 1.5 kW LIM through losses caused be SLEF had efficiency rate decreased by 12 %.
CONCLUSIONS
- The relation has been obtained enabling consideration of the influence of the longitudinal edge effect on the performance of the traction linear induction motors of MLT.
- Experimental researches undertaken confirmed great influence of the secondary longitudinal edge effect on efficiency rate and traction force of the linear induction motor.
- The designs of the linear induction motors proposed enable excluding the influence of SLEF and increasing efficiency rate of LIM and MLT in general.
About the authors
Vladimir A. Solomin
Rostov State Transport University
Author for correspondence.
Email: ema@rgups.ru
ORCID iD: 0000-0002-0638-1436
SPIN-code: 6785-9031
Doctor of Technological sciences, Professor
Russian Federation, Rostov-on-DonAndrei V. Solomin
Rostov State Transport University
Email: vag@kaf.rgups.ru
ORCID iD: 0000-0002-2549-4663
SPIN-code: 7805-9636
Candidate of Technological sciences, Associate Professor
Russian Federation, Rostov-on-DonAnastasia A. Chekhova
Rostov State Transport University
Email: ema@rgups.ru
ORCID iD: 0000-0002-3410-3687
SPIN-code: 8201-7660
Graduate
Russian Federation, Rostov-on-DonLarisa L. Zamchina
Rostov State Transport University
Email: ema@rgups.ru
ORCID iD: 0000-0001-5374-9443
SPIN-code: 8703-1347
Candidate of Technological sciences, Associate Professor
Russian Federation, Rostov-on-DonNadezda A. Trubitsina
Rostov State Transport University
Email: ema@rgups.ru
ORCID iD: 0000-0001-6640-8306
SPIN-code: 4192-0487
Candidate of Technological sciences, Associate Professor
Russian Federation, Rostov-on-DonReferences
- Антонов Ю.Ф., Зайцев А.А. Магнитолевитационная транспортная технология / под ред. В.А. Гапановича. – М: Физматлит, 2014. – 476 с. [Antonov YuF, Zaitsev AA. Magnitolevitatsionnaya transportnaya tekhnologiya. Gapanovich VA, editor. Moscow: Fizmatlit; 2014. 476 p. (In Russ)]. Доступно по: https://b-ok.org/book/2901328/800f1a/?_ir=1. Ссылка активна на: 03.02.2019.
- Зайцев А.А., Талашкин Г.Н., Соколова Я.В. Транспорт на магнитном подвесе / под ред. А.А. Зайцева. – СПб: ПГУПС, 2010. – 160 с. [Zaitsev AA, Talashin GN, Sokolova IaV. Transport na magnitnom podvese. Zaitsev AA, editor. St. Petersburg: PSTU; 2010. 160 p. (In Russ)]. Доступно по: https://search.rsl.ru/ru/record/01004907216. Ссылка активна на: 01.02.2019.
- Магнитолевитационный транспорт: научные проблемы и технические решения / под ред. Ю.Ф. Антонова, А.А. Зайцева. – М: Физматлит, 2015. – 612 с. [Antonov YuF, Zaitsev AA, editor. Magnitolevitatsionnyy transport: nauchnyye problem i tekhnicheskiye resheniya. Moscow: Fizmatlit; 2015. 612 p. (In Russ)]. Доступно по: https://b-ok.org/book/2910926/a2ce27. Ссылка активна на: 02.02.2019.
- Зайцев А.А., Морозова Е.И., Талашкин Г.Н., Соколова Я.В. Магнитолевитационный транспорт в единой транспортной системе страны / под ред. А.А. Зайцева. – СПб: НП-ПРИНТ, 2015. – 140 с. [Zaitsev AA, Morozova EI, Talashin GN, Sokolova IaV. Magnitolevitatsionnyy transport v edinoi transportnoi sisteme strany. Zaitsev AA, editor. St. Petersburg: NP-PRINT; 2015. 140 p. (In Russ)]. Доступно по: https://search.rsl.ru/ru/record/01008161609. Ссылка активна на: 03.02.2019.
- Зайцев А.А. О современной стадии развития магнитолевитационного транспорта и подходах к выбору специализации и физической основы высокоскоростного движения на направлении Москва–Санкт-Петербург // Бюллетень объединенного ученого совета ОАО «РЖД». – 2016. – № 4. – С. 26–33. [Zaitsev AA. O sovremennoy stadii razvitiya magnitolevitatsionnogo transporta i podkhodakh k vyboru spetsializatsii i fizicheskoy osnovy vysokoskorostnogo dvizheniya na napravlenii Moskva–Sankt-Peterburg. Byulleten' ob"yedinennogo uchenogo soveta of Russian Railways. 2016;4:26-33. (In Russ)]. Доступно по: https://elibrary.ru/item.asp?id=27472893. Ссылка активна на: 02.02.2019.
- Зайцев А.А. Магнитолевитационные системы и технологии // Железнодорожный транспорт. – 2014. – № 5. – С. 69–73. [Zaitsev AA. Magnitolevitatsionnye sistemy i technologii. Zheleznodorozhnyy transport. 2014;5:69-73. (In Russ)]. Доступно по: https://elibrary.ru/item.asp?id=21883966. Ссылка активна на: 03.02.2019.
- Антонов Ю.Ф., Зайцев А.А., Морозова Е.И. Исследование магнитодинамической левитации и электродинамического торможения грузовой транспортной платформы // Известия ПГУПС. – 2014. – № 4. – С. 5–15. [Antonov YuF, Zaitsev AA, Morozova EI. Study of magnetic dynamic levitation and electrodynamic braking of a cargo transport platform. Proceedings of Petersburg Transport University. 2014;(4):5-15. (In Russ)]. Доступно по: https://cyberleninka.ru/article/n/issledovanie-magnitodinamicheskoy-levitatsii-i-elektrodinamicheskogo-tormozheniya-gruzovoy-transportnoy-platformy. Ссылка активна на: 05.02.2019.
- Konyaev AYu, Bagin DN. Modeling an Electrodynamic Separator Based on a Linear Inductor. Russian Electrical Engineering. 2018;89(3):168-173. doi: 10.3103/S1068371218030100
- Sarapulov FN, Frizen VE, Shvydkiy YL, et al. Mathematical modeling of a linear-induction motor based on detailed equivalent circuits. Russian Electrical Engineering. 2018;89(4):270-274. doi: 10.3103/s1068371218040119
- Bakhvalov YuA, Gorbatenko NI, Grechikhin VV, et al. Design of optimal electromagnets of magnetic-levitation and lateral-stabilization systems for ground transportation based on solving inverse problems. Russian Electrical Engineering. 2017;88(1):15-18. doi: 10.3103/S1068371217010047
- Пашков Н.Н. Уравнение движения магнитнолевитационного подвижного состава // Транспортные системы и технологии. – 2015. – T. 1. – № 1. – С. 59–69. [Pashkov NN. The equation of motion of the magnetic rolling stock. Transportation Systems and Technology. 2015;1(1):59-69. (In Russ., In Engl.)]. doi: 10.17816/transsyst20151159-69
- Филиппов Д.М. Особенности моделирования магнитного поля в электромеханических узлах магнитнолевитационной транспортной системы методом вторичных источников // Транспортные системы и технологии. – 2015. – T. 1. – № 2. – С. 49–61. [Filippov DM. Features of the simulation of the magnetic field in the electromechanical units of a magnetic-levitation transport system by the method of secondary sources. Transportation Systems and Technology. 2015;1(2):49-61. (In Russ., In Engl.)]. doi: 10.17816/transsyst20151249-61
- Лапидус Б.М., Лапидус Л.В. Железнодорожный транспорт: философия будущего. М: Прометей, 2015. – 232 с. [Lapidus BM, Lapidus LV. Zeleznodoroznyi transport: filosofia buduchego. Moscow: Prometey; 2015. 232 p. (In Russ)]. Доступно по: https://elibrary.ru/item.asp?id=23731956. Ссылка активна на: 02.02.2019.
- Калнинь Т.К. Линейные индукционные машины с поперечным магнитным потоком. Рига: Зинатне, 1980. – 170 с. [Kalnin' TK. Lineynyye induktsionnyye mashiny s poperechnym magnitnym potokom. Riga: Zinatne; 1980. 232 p. (In Russ)]. Доступно по: https://ru.b-ok.cc/book/2760544/6d2e3d. Ссылка активна на: 03.02.2019.
- Соломин А.В. Линейные асинхронные тяговые двигатели для высокоскоростных поездов и их математическое моделирование. Ростов-на-Дону: РГУПС, 2008. – 204 с. [Solomin AV. Lineynyye asinkhronnyye tyagovyye dvigateli dlya vysokoskorostnykh poyezdov i ikh matematicheskoye modelirovaniye. Rostov-on-Don: RSTU; 2008. 204 p. (In Russ)]. Доступно по: https://search.rsl.ru/ru/record/01004131632. Ссылка активна на: 04.02.2019.
- Lim J, Jeong J-H, Kim C-H, et al. Analysis and experimental evaluation of normal force of linear induction motor for Maglev vehicle. IEEE Transactions on Magnetics. Institute of Electrical and Electronics Engineers (IEEE); 2017;53(11)1-4. doi: 10.1109/tmag.2017.2699694
- Ji W-Y, Jeong G, Park C-B, et al. A study of non-symmetric double-sided linear induction motor for Hyperloop All-In-One System (propulsion, levitation, and guidance). IEEE Transactions on Magnetics. 2018;54(11):1-4 doi: 10.1109/tmag.2018.2848292
- Lv G, Liu Z, Sun S. Analysis of torques in single-side linear induction motor with transverse asymmetry for linear metro. IEEE Transactions on Energy Conversion. Institute of Electrical and Electronics Engineers (IEEE); 2016;31(1):165-173. doi: 10.1109/tec.2015.2470561
- Yonezu T, Watanabe K, Suzuki E, Sasakawa T. Study on Electromagnetic Force Characteristics Acting on Levitation/Guidance Coils of a Superconducting Maglev Vehicle System. IEEE Transactions on Magnetics. Institute of Electrical and Electronics Engineers (IEEE); 2017;53(11):1-5. doi: 10.1109/tmag.2017.2697002
Supplementary files





