Stepper induction motors for electric drive
- Authors: Solomin V.A.1, Solomin A.V.1, Trubitsina N.A.1, Zamchina L.L.1
-
Affiliations:
- Rostov State Transport University
- Issue: Vol 7, No 1 (2021)
- Pages: 85-98
- Section: Original papers
- URL: https://journals.eco-vector.com/transsyst/article/view/61235
- DOI: https://doi.org/10.17816/transsyst20217185-98
- ID: 61235
Cite item
Full Text
Abstract
Aim: The goal is to present a new asynchronous principle of operation of stepper motors, based on the use of counter-rotating (or traveling) magnetic fields.
Method: A change in the degree of symmetry of one of these magnetic fields leads to the fact that the armature (rotor or secondary element) makes a precise discrete movement.
Result: The force moving the armature of a stepper induction motor is created as a result of the interaction of eddy currents in the armature with a rotating or traveling magnetic field. Stepper induction motors can rotate the rotor at a certain angle and discretely move flat or cylindrical electrically conductive armatures, which can be smooth and non-magnetic. A separate group of motors for a discrete electric drive is made up of two-coordinate linear stepping asynchronous machines, which also operate using the same counter-running magnetic fields both in the longitudinal and transverse directions.
Conclusion: The features of the design of such electric machines are presented, the values of the magnetic induction in different zones of a two-coordinate stepper motor are determined, the relations for calculating the steps of the armature in both the longitudinal and transverse directions are given.
Full Text
Введение
В последние годы шаговый электропривод получает все большее распространение в робототехнике, системах автоматики и телемеханики, в вычислительной и других областях техники. Технический прогресс, рост производительности труда повышают требования к точности позиционирования, к качеству и надежности работы шаговых электроприводов. Основную роль в дискретном электроприводе играют шаговые двигатели (ШД), определяющие качество его функционирования, что делает актуальной задачу разработки и создания более совершенных типов данных электрических машин, обладающих новыми свойствами и возможностями. В качестве ШД применяются, как правило, синхронные электрические машины, обязательным условием работы которых является использование роторов из ферромагнитных материалов, содержащих чередующиеся участки с различными значениями магнитной проводимости. Иными словами, роторы синхронных ШД всегда выполняются зубчатыми [1–4]. Синхронные ШД не способны осуществить дискретное перемещение гладких ферромагнитных и, тем более, немагнитных роторов, что является неустранимым недостатком таких электромашин. Этого недостатка не имеет разработанный шаговый двигатель, являющийся фактически асинхронным, новый принцип действия которого основан на использовании магнитных полей, вращающихся (бегущих) навстречу друг другу [5]. Использование в электрической машине двух и более встречно вращающихся (или бегущих) магнитных полей позволяет создать новые конструкции ШД для точного дискретного перемещения, которые для управления не требуют сложных блоков управления [6–14]. В статье приводятся сведения о различных видах шаговых асинхронных двигателей (ШАД) для дискретных приводов, подробнее рассмотрен двухкоординатный шаговый асинхронный двигатель.
Виды шаговых асинхронных двигателей
На индукторе ШАД располагаются, по меньшей мере, две обмотки, токи которых создают одинаковые симметричные вращающиеся (или бегущие) навстречу друг другу магнитные поля, пересекающие электропроводящий якорь (ротор или вторичный элемент в линейной машине) и наводящий в нем электродвижущие силы и токи. Взаимодействие вращающихся (или бегущих) магнитных полей с токами, ими индуктированными в якоре, приводит к созданию двух одинаковых механических усилий, действующих навстречу друг другу. Встречные механические усилия взаимно уравновешиваются и якорь (ротор или вторичный элемент) остается неподвижным. Если одно из встречно вращающихся магнитных полей индуктора сделать несимметричным (эллиптическим), например, путем отключения части катушек трехфазной обмотки индуктора ШАД, то равновесие механических усилий нарушится, и якорь начнет перемещаться и двигаться будет до тех пор, пока встречно направленные усилия снова не станут одинаковыми [5]. Равновесие усилий нарушается из-за того, что усилие, создаваемое в результате взаимодействия токов якоря с эллиптическим магнитным полем будет меньше усилия, возникающего при взаимодействии токов якоря с симметричным (круговым) магнитным полем. Якорь переместится точно на одно зубцовое деление индуктора и будет зафиксирован в новом положении. В этом случае встречно вращающиеся магнитные поля станут снова одинаковыми, но они будут эллиптическими. Для увеличения усилий электромагнитной фиксации якоря ШАД в новом положении коммутирующее устройство переключает катушки обмотки индуктора так, чтобы встречно вращающиеся магнитные поля снова стали симметричными (круговыми).
Новый принцип действия позволил разработать конструкции вращающихся ШАД c дискретными поворотами гладких, в том числе и немагнитных роторов. Перспективны для применения в дискретных приводах линейные асинхронные шаговые двигатели, у которых роль якоря может выполнять деталь (например, электропроводящий лист), подлежащая обработке или точному перемещению в технологическом процессе. При участии авторов созданы новые конструкции линейных ШАД. Линейные шаговые асинхронные двигатели позволяют регулировать в широком диапазоне величину точного дискретного перемещения электропроводящего вторичного элемента, обеспечивают дополнительно при шаговом движении точную поперечную ориентацию вторичного элемента. Для недопущения поперечного смещения вторичного элемента относительно индуктора линейного шагового асинхронного двигателя применен тот же принцип встречно бегущих магнитных полей. Система катушек обмотки индуктора ШАД при подключении к источнику напряжения создает одинаковые встречно бегущие магнитные поля, как в продольном, так и в поперечном движению вторичного элемента направлении. Коммутирующее устройство для совершения шага вторичного элемента изменяет степень симметрии одного из встречно бегущих магнитных полей только в продольном направлении. Симметричность магнитных полей, встречно бегущих в поперечном дискретному перемещению вторичного элемента направлении, реализуется автоматически.
Для ряда электрических приводов требуются цилиндрические шаговые двигатели. С этой целью разработаны цилиндрические шаговые асинхронные двигатели, Дискретное перемещение электропроводящего цилиндрического вторичного элемента, как по окружности, так и в осевом направлении, обеспечивают цилиндрические шаговые асинхронные двигатели, принцип действия которых основан на сочетании встречно вращающихся и встречно бегущих магнитных полей. Катушки трехфазной обмотки цилиндрического ШАД расположены по окружности и образуют ряды в осевом (продольном) направлении. Коммутирующее устройство (блок управления) подключает катушки обмотки ШАД к источнику напряжения таким образом, что создаются одинаковые встречно вращающиеся по окружности и встречно бегущие в осевом направлении магнитные поля. Нарушение симметрии встречно направленных магнитных полей приводит к нарушению равенства усилий, действующих на цилиндрический вторичный элемент. Это приводит к дискретному перемещению вторичного элемента по окружности или в осевом направлении.
Двухкоординатный линейный асинхронный шаговый двигатель
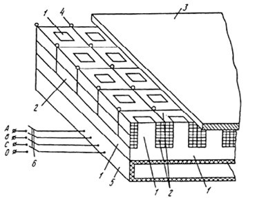
Двухкоординатное дискретное перемещение вторичного элемента позволяет расширить функциональные возможности и область применения шагового линейного асинхронного привода. Конструкция двухкоординатного ШАД содержит катушки многофазной обмотки, образующих ряды, как в продольном, так и в поперечном направлениях. Упрощенная конструктивная схема двухкоординатного линейного шагового асинхронного двигателя представлена на Рис. 1.
Рис. 1. Двухкоординатный линейный шаговый асинхронный двигатель: 1 – сердечник индуктора; 2 – катушки обмотки; 3 – электропроводящий вторичный элемент; 4 – шаровые опоры; 5 – коммутирующее устройство; 6 – рубильник; 0, А, В, С – обозначения выводов
На зубцах сердечника 1 индуктора двухкоординатного линейного ШАД размещены катушки обмотки 2, образующие ряды в продольном и в поперечном направлениях. Электропроводящий вторичный элемент 3 расположен над индуктором двигателя и лежит на шаровых опорах 4 (Рис. 1). Работой двухкоординатного линейного шагового асинхронного двигателя управляет коммутирующее устройство (блок управления) 5. Один вывод каждой катушки обмотки подключен к нулевому проводу источника напряжения, а второй вывод – при помощи коммутирующего устройства может подключаться к фазам А, В и С для дискретного перемещения вторичного элемента или его электромагнитной фиксации после совершения шага в новом положении. Подключенные коммутирующим устройством катушки обмотки индуктора ШАД образуют ряды как в продольном, так и в поперечном направлениях. Катушки обмотки каждого ряда имеют до середины один порядок следования, а после середины – противоположный порядок следования фаз. Один из вариантов подключения катушек обмотки 2 индуктора двухкоординатного линейного шагового асинхронного двигателя коммутирующим устройством к источнику напряжения изображен на Рис. 2. Вторичный элемент 3 на Рис. 2 обведен жирной линией. На Рис. 2 видно, что катушки обмотки индуктора двухкоординатного линейного шагового асинхронного двигателя выполнены сосредоточенными и охватывают по одному зубцу сердечника индуктора, как в продольном, так и в поперечном направлениях. Подключенные коммутирующим устройством к источнику трехфазного напряжения катушки обмотки образуют ряды в продольном и поперечном направлениях с чередованием фаз А, В и С.
В основе принципа работы двухкоординатного ШАД лежит использование встречно бегущих, как в продольном, так и в поперечном направлениях, магнитных полей. Изменяя программу коммутирующего устройства, можно осуществлять дискретное перемещение вторичного элемента по двум координатам. Предусмотрено и регулирование величины шагов вторичного элемента двигателя.
Рис. 2. Вариант схемы подключения катушки обмотки двухкоординатного ШАД к источнику напряжения: 2 – катушки обмотки; 3 – вторичный элемент
Магнитное поле ШАД
Двухкоординатный ШАД можно считать модификацией традиционного линейного асинхронного двигателя, поэтому электромагнитные и электромеханические процессы в них сходны. Следовательно, принимая традиционные для линейного асинхронного двигателя допущения, а именно: ширина индуктора является бесконечно большой; индуктор имеет шунтирующие концевые участки, длина ℓ которых бесконечно велика; магнитное поле принимаем плоскопараллельным; магнитная проницаемость стали магнитопровода равна бесконечности μст = ∞; магнитная проницаемость равномерного зазора равна μ0 = 4π×10-7 Гн/м, можно использовать одномерную модель двустороннего ШАД, изображенную на Рис. 3. Второй элемент в зазоре отсутствует.
Приведенная расчетная модель при соответствующем подборе величины эквивалентного зазора может быть использована для описания одностороннего ШАД. Зоны 1, 4 и 5 соответствуют участкам индуктора, не содержащим проводники с током. Зоны 2 и 3 – активные. В зоне 2 проводниками с током создается поле, бегущее слева направо, т.е. в положительном направлении координатной оси х. В зоне 3 – поле, бегущее справа налево. Каждая активная зона имеет длину ℓ. Зона 5 имеет длину ntz1, где n – 0, 1, 2…. При n = 0 зона 5 отсутствует. На Рис. 3 g – электрическая проводимость среды; d – величина воздушного зазора; X0 – координата начала зоны 2, изменяемая дискретно на величину шага, кратную tz1.
Рис. 3. Расчетная модель ШАД в продольном направлении
На основании данных теоретических исследований линейных асинхронных двигателей, приведенных в [15], используя принцип суперпозиции для первых гармоник магнитных полей, применительно к ШАД распределение магнитного поля по длине индуктора выглядит следующим образом.
Магнитная индукция в зоне 1:
(1)
Магнитная индукция в зоне 2:
(2)
Магнитная индукция в зоне 3:
(3)
Магнитная индукция в зоне 4:
(4)
Магнитная индукция в зоне 5:
(5)
В выражениях 1–5 знак «плюс» соответствует чередованию выводов катушек обмотки индуктора в порядке А, X, B, Y, C, Z, C, Z, B, Y, A, X; знак «минус» – в порядке А, X, B, Y, C, Z, Z, C, Y, B, X, A.
В выражениях 1–5 согласно [15]:
(6)
где
Для двустороннего ШАД магнитная индукция вычисляется на плоскости симметрии воздушного зазора, для одностороннего – на поверхности индуктора.
Расчетная модель для двухкоординатного ШАД в поперечном направлении будет аналогичной модели, представленной на Рис. 3.
Полученные соотношения для определения магнитной индукции в различных зонах двухкоординатного ШАД в режиме идеального холостого хода (при отсутствии вторичного элемента) могут послужить основой для создания методики проектирования нового типа шаговых двигателей.
Расчет шагов двухкоординатного линейного ШАД
Рассмотрим вариант двухкоординатного шагового асинхронного двигателя (Рис. 1). Каждая катушка трехфазной обмотки индуктора охватывает по P=V×T зубцов сердечника, где V=1, 2, 3. … – число зубцов на сторону катушки в продольном направлении; Т=1, 2, 3, … – число зубцов на сторону катушки в поперечном направлении. Катушки обмотки индуктора, подключенные к коммутирующему устройству, образуют прямоугольник, содержащий, по меньшей мере, пять продольных и пять поперечных первоначальных рядов, причем катушка, входящая в любой из продольных рядов, входит в какой-либо из поперечных рядов. Каждая катушка содержит по N секций, а коммутирующее устройство для совершения шага выполнено с возможностью отключения, по меньшей мере, одной секции последней катушки первоначального ряда. В каждом первоначальном ряду возможно расположение подряд двух и более катушек, подключенных к одной фазе, количество которых равно G. Группы из G катушек располагаются на зубцах сердечника индуктора ШАД, отстоящих друг от друга на М зубцовых делений (М=1, 2, 3, …). Катушки обмотки, подключенные к разным фазам источника напряжения, располагаются на зубцах индуктора, отстоящих друг от друга на К зубцовых делений (К=1, 2, 3, …).
Для совершения шага вторичного элемента в продольном направлении коммутирующее устройство отключает, по меньшей мере, по одной секции в последних катушках каждого продольного первоначального ряда, а, по большей мере, по 2×N×(G–1). Минимальная величина шага вторичного элемента в зубцовых делениях:
(7)
Максимальна величина шага при G не равном единице:
(8)
Если G = 1, то:
(9)
В общем случае при отключении от источника напряжения L катушек (L=0, 1, 2, …, 2×(G-1)) в конце каждого продольного первоначального ряда и V секций в каждой катушке, предшествующей упомянутым ранее (V=0, 1, 2, … , (N-1)), величина продольного шага вторичного элемента составит:
(10)
Для устойчивой электромагнитной фиксации вторичного элемента ШАД в новом положении после совершения шага в продольном направлении коммутирующим устройством от источника напряжения отключаются, по меньшей мере, первая катушка первоначального ряда, а, по большей мере, 2(G-1) катушка, считая от начала каждого продольного ряда. К источнику напряжения подключаются другие катушки обмотки индуктора таким образом, что создаются новые ряды (продольные и поперечные) по структуре и свойствам аналогичные первоначальным рядам, катушки обмотки каждого из которых образуют до середины ряда прямой, а после середины – противоположный порядок следования фаз. Каждый новый продольный ряд катушек сдвинут относительно соответствующего первоначального ряда на величину совершенного вторичным элементом перемещения, т.е. на целое число зубцовых делений.
Для совершения шага вторичного элемента в поперечном направлении и последующей его электромагнитной фиксации в новом положении последовательность операций с поперечными рядами катушек полностью аналогична операциям для выполнения шага в продольном направлении.
Минимальное дискретное перемещение вторичного элемента ШАД в поперечном направлении:
(11)
Максимальный шаг вторичного элемента в поперечном направлении:
(12)
Если G=1, то
(13)
Общее выражение для расчета дискретного перемещения вторичного элемента ШАД в поперечном направлении:
(14)
Полученные соотношения (7–14) справедливы при выполнении одинаковыми секций катушек обмотки двухкоординатного шагового асинхронного двигателя.
Конструкция двухкоординатного линейного ШАД позволяет реализовать и плавное перемещение вторичного элемента в продольном и поперечном направлениях. Для плавного перемещения вторичного элемента в продольном направлении следует изменять ток в цепях секций катушек обмотки индуктора, образующих продольные ряды. Изменение величины тока должно производиться в 2G катушках, считая от конца каждого продольного ряда. Таким образом, можно осуществить перемещение вторичного элемента ШАД в продольном направлении на сколь угодно малую величину. Для плавного перемещения вторичного элемента на сколь угодно малую величину следует регулировать (уменьшать) ток в 2G катушках, считая от конца каждого поперечного ряда катушек обмотки индуктора.
Определим величину дискретных перемещений вторичного элемента двухкоординатного линейного шагового асинхронного двигателя в продольном и поперечном направлениях для конкретного случая. Например, катушки трехфазной обмотки индуктора ШАД выполнены так, что P=V×T=1×1=1; N=2; G=2, как в продольном, так и в поперечном направлениях; M=1 в продольном направлении и М=2 в поперечном направлении; K=2 в продольном направлении и K=1 в поперечном направлении.
Минимальный шаг вторичного элемента в продольном направлении для данного ШАД в соответствии с формулой (7) Smin = 1/2 зубцового деления.
Максимальный шаг вторичного элемента в продольном направлении в соответствии с (8) Smax=2×(1-1)×(2-1) + 1×(2×2 – 1) + (2-1) + 1×(2-1)/2 = 4×1/2 зубцовых делений индуктора ШАД.
В поперечном направлении минимальный шаг вторичного элемента ШАД в соответствии с выражением (11) Smin=1/2 зубцового деления.
Максимальный размер дискретного перемещения вторичного элемента ШАД в соответствии с соотношением (12) Smax=2×(2-1)×(2-1) + 1×(2×2-1) + (1-1) + 1×(2-1)/2=5×1/2 зубцовых делений индуктора ШАД.
Изменяя способы переключения катушек обмотки индуктора двухкоординатного шагового линейного двигателя, можно реализовать большое число вариантов дискретного перемещения вторичного элемента как в продольном, так и в поперечном направлениях. Если вторичный элемент выполнен из немагнитного материала, то его перемещение может осуществляться бесконтактно (на магнитном подвесе). Заметим, что левитация (магнитная подвеска) вторичного элемента возможна в собственном магнитном поле индуктора ШАД.
Выводы
- Использование встречно бегущих магнитных полей позволило создать шаговые асинхронные двигатели с новым принципом действия. Новый тип шаговых асинхронных двигателей позволяет в ряде случаев объединить силовой двигатель с рабочим механизмом.
- Обеспечена высокая точность дискретного перемещения гладких, в том числе и немагнитных якорей (роторов и вторичных элементов) с надежной электромагнитной фиксацией их в новом положении после совершения шага.
- Достигнута возможность точного дискретного бесконтактного перемещения электропроводящих листов и деталей по двум координатам, в том числе и на магнитном подвесе в собственном магнитном поле индукторов линейных ШАД.
Авторы заявляют, что:
- У них нет конфликта интересов;
- Настоящая статья не содержит каких-либо исследований с участием людей в качестве объектов исследований.
About the authors
Vladimir A. Solomin
Rostov State Transport University
Author for correspondence.
Email: ema@rgups.ru
ORCID iD: 0000-0002-0638-1436
SPIN-code: 6785-9031
Doctor of Technological sciences, Professor
Russian Federation, Rostov-on-DonAndrej V. Solomin
Rostov State Transport University
Email: vag@rgups.ru
ORCID iD: 0000-0002-2549-4663
SPIN-code: 7805-9636
Candidate of Technical Sciences, Associate Professor
Russian Federation, Rostov-on-DonNadejda A. Trubitsina
Rostov State Transport University
Email: ema@rgups.ru
ORCID iD: 0000-0001-6640-8306
SPIN-code: 4192-0487
Candidate of Technical Sciences, Associate Professor
Russian Federation, Rostov-on-DonLarisa L. Zamchina
Rostov State Transport University
Email: ema@rgups.ru
ORCID iD: 0000-0001-5374-9443
SPIN-code: 8703-1347
Candidate of Technological sciences, Associate Professor
Russian Federation, Rostov-on-DonReferences
- Чиликин М.Г. Дискретный электропривод с шаговыми двигателями / под ред. М.Г. Чиликина. – М.: Энергия, 1971. – 624 с. [Chilikin MG. Discrete electric drive with stepper motors. Moscow: Energiya; 1971. 624 p. (In Russ.)].
- Осипов О.Ю., Осипов Ю.М., Щербинин С.В. Мультикоординатные электромехатронные системы движения: монография. – Томск: Томский гос. ун-т систем управления и радиоэлектроники, 2010. – 320 с. [Osipov OUu, Osipov UuO, Shcherbinin SV. Multi-coordinate electromechatronic motion systems: monograph. Tomsk: Tomsk state. University of Control Systems and Radioelectronics; 2010. 320 p. (In Russ.)].
- Кенио Т. Шаговые двигатели и их микропроцессорные системы управления. – М.: Энергоатомиздат, 1987. – 200 с. [Kenio T. Step motors and their microprocessor control systems. Moscow: Energoatomizdat; 1987. 200 p. (In Russ.)].
- Kenjo T, Sugawara A. Stepping Motors and Their Microprocessor Controls. Oxford University Press. 2 ediction, 1994, 279 p.
- Соломин В.А. Шаговые асинхронные двигатели // Электричество. – 2009. – № 2. – С. 36–40. [Solomin VA. Step induction motors. Electricity. 2009;2:36-40 (In Russ.)].
- Капля В.И., Пан А.Г., Дягилева Т.В. Алгоритм вычисления минимального времени одного такта работы шагового двигателя // Инженерный вестник Дона. – 2015. – № 2 [Kaplya VI, Pan AG, Diaghileva TV. Algorithm for calculating the minimum time of one cycle of the stepping motor. Engineering Bulletin of the Don. 2015;2. (In Russ.)].
- Моисеев А.А. Оптимальное управление при дискретных управляющих воздействиях // Автоматика и телемеханика. – 1991. – № 9. – С. 123–132. [Moiseev AA. Optimal control for discrete control actions. Automation and telemechanics. 1991;9:123-132. (In Russ.)].
- Athani VV. Stepper Motors: Fundamentals Applications and Design. New Age International. 1997. 201 p.
- Красовский А.Б. Способ определения закона управления разомкнутым шаговым электродвигателем // Наука и образование: научное издание МГТУ им. Н.Э. Баумана. – 2015. – № 3. – С. 320–330. [Krasovsky AB. Method for determining the control law of an open stepping motor. Science and Education: scientific publication of MSTU im. N.E. Bauman. 2015;3: 320-330 (In Russ.)].
- Губанова А.А., Гузаревич А.С., Таридонов Н.Е. Система управления шаговым двигателем // Электроника и электротехника. – 2018. – № 2. – С. 41–47. [Gubanova AA, Guzarevich AS, Taridonov NE. Stepper motor control system. Electronics and Electrical Engineering. 2018;2:41-47. doi: 10.7256/2453-8884.2018.2.26014 (In Russ.)].
- Постников В.А., Семисалов В.В. Исследование динамических режимов шаговых и вентильных двигателей малой мощности на базе моделей обобщенной синхронной машины // Электричество. – 2002. – № 5. – С. 53–60. [Postnikov VA., Semisalov VV. Investigation of dynamic modes of small-power stepping and valve motors on the basis of generalized synchronous machine models. Electricity. 2002;5:53-60 (In Russ.)].
- Постников В.А., Семисалов В.В. Компьютерное моделирование динамических процессов в системах с электрическими шаговыми двигателями // Авиационное и космическое приборостроение. – 2003. – № 4. – С. 2–11. [Postnikov VA, Semisalov VV. Computer modeling of dynamic processes in systems with electric stepping motors. Aviation and Space Instrumentation. 2003;4:2-11. (In Russ.)].
- Постников В.А., Семисалов В.В. Сравнение динамических характеристик маломощного шагового электропривода при использовании различных моделей и компьютерном моделировании // Авиационное и космическое приборостроение. 2004. – № 1. – С. 9–16. [Postnikov VA. Semisalov VV. Comparison of the dynamic characteristics of a low-power step electric drive using various models and computer modeling. Aviation and Space Instrumentation. 2004;1:9-16. (In Russ.)].
- Постников В.А., Семисалов В.В. Исследование устойчивости шагового электропривода на базе системы «Трехфазный транзисторный инвертор напряжения – шаговый двигатель» // Авиационное и космическое приборостроение. – 2005. – № 5. – С 40–48. [Postnikov VA, Semisalov VV. Investigation of the stability of a stepping electric drive based on the system "Three-phase transistor voltage inverter - stepping motor". Aviation and Space Instrumentation. 2005;5:40-48. (In Russ.)].
- Партс И.Р. Теоретические и экспериментальные исследования индукционных машин с разомкнутым магнитопроводом: монография. – Таллин: Валгус, 1972. – 246 с. [Parts IR. Theoretical and experimental research of induction machines with an open magnetic circuit. Tallinn: Valgus; 1972. 246 p. (In Russ.)].
Supplementary files






