The efficiency of the control method of “changing the points of crossing or overtaking of freight trains on the railway section”
- Authors: Groshev G.M.1, Sugorovsky A.V.1, Sugorovsky A.V.1
-
Affiliations:
- Emperor Alexander I Petersburg State Transport University
- Issue: Vol 2, No 3 (2016)
- Pages: 47-56
- Section: Original papers
- URL: https://journals.eco-vector.com/transsyst/article/view/7629
- DOI: https://doi.org/10.17816/transsyst20162347-56
- ID: 7629
Cite item
Full Text
Abstract
An important place in the operational management of traffic on the basis of plan formation, train schedule, technical regulations on the use of vehicles and railway infrastructure is operational control operational regulation.
To date, not enough research which would allow to evaluate the effectiveness of dispatch adjustment techniques in areas in the nodes and marshalling yards, given the nature of their work and infrastructure development.
Goal: to prove the effectiveness of the control method of "Changing the points of crossing or overtaking of freight trains in the area".
Method: simulation.
Since the simulation of station processes enables a comparison of idle time between operations on options: using the adjustment of intake and without its application, we investigated the feasibility and practical significance of its application, based on the goal of reducing the magnitude of the idle time between operations.
Results: it was found that the application of the dispatch of the impact of the Change points of crossing or overtaking of freight trains in the area," the total delay in waiting for service is less than an average of 60% than without using it.
Practical significance of the research: the research results will contribute to improving the efficiency of the dispatching regulation and maintenance in the areas.
Research and define the operational and economic efficiency of application of the adjusting dispatching of methods in areas at the nodes and marshalling yards will increase the effectiveness of Supervisory regulation, as a result, each of the independent participants will receive a specific economic benefit.
Keywords
Full Text
Введение
Важное место в оперативном управлении перевозками на основе плана формирования, графика движения поездов и технических норм использования перевозочных средств и инфраструктуры железных дорог занимает оперативное диспетчерское регулирование эксплуатационной работы [1, 2, 3].
К настоящему времени недостаточно исследований, которые в полной мере позволяли бы оценить эффективность применяемых диспетчерских регулировочных приёмов на участках и в узлах с учетом специфики их работы и развитости инфраструктуры [4, 5].
В данной статье методом имитационного моделирования обоснована эффективность реализации диспетчерского приёма «Изменение пунктов скрещения или обгона грузовых поездов на железнодорожном участке» на однопутном участке. При моделировании учтена неравномерность поступления поездов с внешней сети, для чего используются методы теории вероятностей [6, 7].
1. Описание реализации приема «Изменение пунктов скрещения или обгона грузовых поездов на железнодорожном участке»
На железнодорожных участках при решении вопроса о том, какой из двух приближающихся к станциям поездов задержать, а какой пропустить без остановки, как и при выборе станции скрещения или обгона, диспетчер должен не только обеспечить минимум задержки поездов, но и сопоставить ожидаемый от применения регулировочных мер результат с действующим графиком и сменным планом, не допустить срыва поездов с графика по проследованию. При этом необходимо запланировать рациональное использование имеющихся регулировочных резервов для повышения участковой скорости.
На рисунке 1 представлен пример изменение схемы и пунктов скрещения [1].
Рис. 1. Фрагмент графика движения поездов
На рисунке штриховыми линиями изображен план пропуска поездов на участке при переносе скрещения поездов № 2627 и 2654 со станции 9 на станцию 10. Изменение решения данной частной конфликтной ситуации позволяет диспетчеру в зоне двух перегонов выиграть всего 1 мин; изменение решения следующей конфликтной ситуации – скрещения поездов № 2627 и 2604 на станции 11 с его переносом на станцию 12 – увеличивает выигрыш до 23 мин; а изменения в пропуске поездов 2629, 2604 и 2606 между станциями 5—Е позволяют выиграть еще 21 мин за счет ускорения продвижения поезда № 2629. В результате общий выигрыш увеличился с 1 до 44 мин.
Этот пример показывает эффективность данного регулировочного мероприятия.
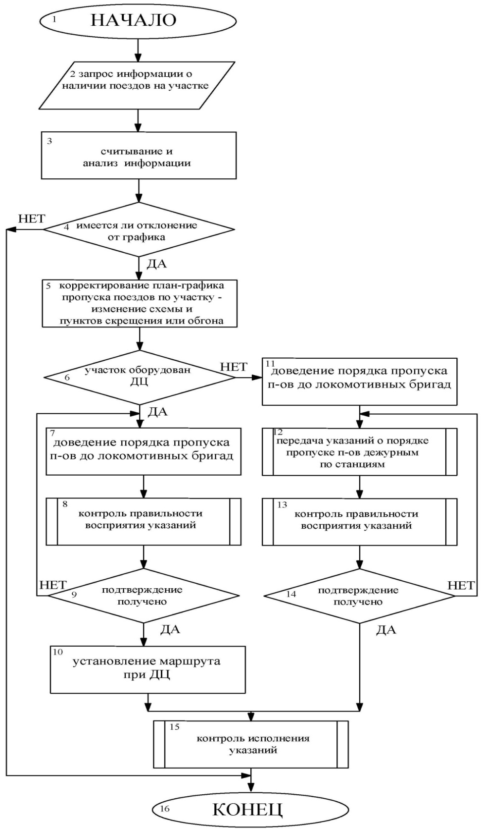
Алгоритм реализации приёма «Изменение пунктов скрещения или обгона грузовых поездов на железнодорожном участке» представлен на рисунке 2.
Рис. 2. Алгоритм реализации приёма «Изменение пунктов скрещения или обгона грузовых поездов на железнодорожном участке»
2. Имитационное моделирование реализации приема диспетчерского регулирования «Изменение пунктов скрещения или обгона грузовых поездов на железнодорожном участке»
Имитационное моделирование выполнено с использованием специализированного программного комплекса «Моделирование работы транспортных систем» (AwroraW), разработанного в ПАО «Ленгипротранс» для определения количественных параметров основных устройств (числа путей, парков, параллельных ходов в горловинах, бригад, обслуживающих поезда, локомотивов, грузовых фронтов и др.), а также для определения пропускной и перерабатывающей способности станционных комплексов с возможностью выявления узких мест, вызывающих задержки и снижающих скорость продвижения транзитных вагонопотоков.
Основным принципом работы программы имитационного моделирования является последовательное составление графика занятия основных элементов транспортной системы в режиме реального времени с интервалом, равным 1 минуте, на 30 смежных суток, отличающихся друг от друга только временем поступления поездов с внешней сети. За каждые расчетные сутки определяется суммарное время задержек поездов перед каждым обслуживающим устройством и в целом по рассматриваемой транспортной системе.
Во-первых, в программе создаётся модель транспортной системы с соответствующим её техническим состоянием (количество сортировочных систем, число путей в парках и т.п.) и технологическим обеспечением (число бригад осмотрщиков вагонов, количество локомотивов и т.п.). Далее в созданной модели транспортной системы посредством логических цепочек описывается технология работы, базирующаяся на типовом технологическом процессе её работы [8, 9, 10, 11, 12].
В объектную модель включены следующие
- устройства: главный путь, чётный/нечётный перегон, боковые пути;
- и категории: грузовые поезда чётного и нечётного направлений.
Графики занятия основных элементов разъезда (типичные сутки) без применения приёма и с его использованием приведены на рисунках 3 и 4 соответственно.
Рис. 3. График занятия основных элементов разъезда (типичные сутки) без применения приёма «Изменение пунктов скрещения или обгона грузовых поездов на железнодорожном участке»
Рис. 4. График занятия основных элементов разъезда (типичные сутки) с применением приёма «Изменение пунктов скрещения или обгона грузовых поездов на железнодорожном участке»
В результате экспериментов с моделью определены суммарные задержи в ожидании обслуживания за каждые сутки в течение года без применения приёма «Изменение пунктов скрещения или обгона грузовых поездов на железнодорожном участке» и с его использованием. На рисунке 5 представлены графики изменения этих задержек.
Рис. 5. Графики изменения средних суммарных задержек в ожидании обслуживания в течение года без применения приёма «Изменение пунктов скрещения или обгона грузовых поездов на железнодорожном участке» и с его использованием
Из рисунка 5 видно, что благодаря применению диспетчерского приёма суммарные задержки в ожидании обслуживания меньше в среднем на 60% чем без его использования.
Заключение
В настоящей статье обоснована эффективность реализации диспетчерского приёма «Изменение пунктов скрещения или обгона грузовых поездов на железнодорожном участке», с использованием имитационного моделирования.
В результате экспериментов с моделью установлено, что благодаря применению диспетчерского воздействия «Изменение пунктов скрещения или обгона грузовых поездов на участке» суммарные задержки в ожидании обслуживания меньше в среднем на 60% чем без его использования.
About the authors
Gennady M. Groshev
Emperor Alexander I Petersburg State Transport University
Author for correspondence.
Email: spbgroshev@gmail.com
Doctor of technical Sciences, Professor, Professor of the Department «Management of operational work»
Russian FederationArtyom V. Sugorovsky
Emperor Alexander I Petersburg State Transport University
Email: c123945@yandex.ru
Candidate of Technical Sciences, Senior Lecturer of the Department «Railway stations and units»
Russian FederationAnton V. Sugorovsky
Emperor Alexander I Petersburg State Transport University
Email: gthdsq555@yandex.ru
Assistant of the Department «Management of operational work»
Russian FederationReferences
- Грошев Г. М. Пособие поездному диспетчеру и дежурному по отделению / Г. М. Г рошев, В. А. Кудрявцев, Г. А. Платонов, А. Д. Чернюгов. - М.: Транспорт, 1992. - 368 с.
- Ефименко Ю. И. Железнодорожные станции и узлы. Дополнительные разделы / Ю. И. Ефименко, С. И. Логинов, П. К. Рыбин,
- М. В. Стрелков, А. В. Сугоровский; под ред. Ю. И. Ефименко. - Спб.: ПГУПС, 2014. - 144 с.
- Campagna A. The Rail and Road Freight Transport in the Co-Modality Approach / A. Campagna // Proceedings of the Workshop on Multimodal Transport and ICT: Result and Recommendations // INTERREG IIIC Project Port-Net, 2006. - p.78-86.
- Сугоровский Ан. В. Обоснование целесообразности применения методов и приёмов организации работы с вагонопотоком на сортировочной станции // Известия Петербургского университета путей сообщения, 2013. - Вып. 2 (35). - С. 74-81.
- Сугоровский А. В. Развитие информационных технологий для повышения эффективности регулирования вагонопотоком // Транспортные системы и технологии, 2015. - № 2 (2). - С. 26-37.
- Galvez-Fernandez C. Verteilte Ansatz zur Lösung zeitabhängige Probleme der multimodalen Verkehrsnetze / C. Galvez-Fernandez, D. Khadraoui, H. Ayed, Z. Habbas, E. Alba // Fortschritte in Operations Research, Hindawi Publishing Corporation, 2009. - 15 p.
- Грошев Г. М. Имитационное моделирование оперативного регулирования на сортировочной станции / Г. М. Грошев, А. В. Сугоровский // Вестник транспорта Поволжья, 2013. - № 6 (42). - С. 10-15.
- Сугоровский А. В. Подготовка исходных данных для ввода в имитационную модель функционирования пассажирской технической станции // Известия петербургского университета путей сообщения, 2010. - № 1. - С. 11-21.
- Сугоровский А. В. Методы рационализации работы с вагонопотоком на сортировочной станции // Вестник транспорта Поволжья, 2013. - №3 (39). - С. 44-53.
- Ioannou Petros A. Intelligent freight transportation / Petros A. Ioannou // CRC Press Publ., 2008. - 342 p. ISBN: 13:978-0-8493-0770-6.
- Multimodal network design and assessment / Brands T. // 11th TRAIL Congress research, November, 2010. - pp. 1-5.
- Грошев Г. М. Диспетчерское регулирование на сортировочной станции / Г. М. Грошев, А. Г. Котенко, Ан. В. Сугоровский, М. М. Магомедов // Железнодорожный транспорт, 2016. - №2. - С. 47-54.
Supplementary files








