Combination traction and lateral stabilisation system for magnetic levitation transport
- Authors: Solomin A.V.1
-
Affiliations:
- Rostov State University of Railway Transport
- Issue: Vol 3, No 4 (2017)
- Pages: 107-126
- Section: Original papers
- URL: https://journals.eco-vector.com/transsyst/article/view/8021
- DOI: https://doi.org/10.17816/transsyst201734107-126
- ID: 8021
Cite item
Abstract
The problems of improvement of modern types of transport and creation of new ones are important and topical for the human society development. One of the most promising and environmentally-friendly modes of transport is the high-speed maglev transport, moving at speeds of approximately 500 km/h.
Objective. Justification of linear induction motor, development and research of various constructions of this type of motors.
Methods. Description of linear induction motor with longitudinal and transverse magnetic flux for combined traction and lateral stabilisation system of maglev transport, having increased lateral stabilisation forces. The mathematical modelling of magnetomotive force (MF) in the air gap of traction linear motor of this type has been conducted. To analyse the MF the assumption has been made about even distribution of magnetic induction in the air gap in transverse direction and its sinusoidal longitudinal direction, making it possible to develop new mathematical model of MF distribution in the air gap of linear induction motor with longitudinal and transverse magnetic flux
Results. The developed mathematical model for calculation of MF on traction linear machine will enable increasing accuracy of traction and lateral stabilisation combined system forces for maglev transport. The same relates to mutual location of inductor to the secondary element. All this proves the successful ten-year commercial operation experience of magnetically suspended train carrying passengers from an airport to Shanghai, P.R. China.
The values of traction and lateral stabilisation forces of linear induction motor with longitudinal and transverse magnetic flux is greatly influenced by the character of current distribution in the secondary element. The character itself is influenced by MF distribution in the air gap.
Full Text
Introduction
Development of transport in the Russian Federation, which has a vast territory and a good geographic location, is of great strategic importance. Realisation of new transport routes, connecting West with East and North with South of this country, and creation of transport corridors in its territory, connecting European and Asian countries for transportation of goods and passengers, will enable solving many geopolitical and economic issues. To achieve this goal, it is necessary not only to improve the existing transport modes, but also to create conceptually new, high-speed ones. Today’s high-speed transport modes cannot respond to new challenges.
Magnetic levitation transport can have its own niche in creation of transport infrastructure of the number of countries, including Russia. The problems related to creation of maglev transport have been tackled by Russian scientists and engineers for over 10 years already. These scientists work at transport universities, in scientific and research organisations. The development of this mode of transport is paid much attention to in JSC “RZD”, which supports researches aimed at studying various aspects of this problem, including by means of financial help. And the results of these studies are described in detail in various serious publications [1−8]. The best-known research results are those obtained by Emperor Alexander I St. Petersburg State Transport University scientists [1−7].
To practically implement high-speed maglev transport systems, it is necessary to solve a number of scientific and technical problems, with the traffic safety being one of them. Magnetically suspended trains traffic safety is a crucial problem comprising a large number of aspects. One of them is improvement of dynamic properties of maglev transport by means of ensuring its transverse stabilisation relatively to the guideway. Rostov State Transport University (RGUPS) has development a linear induction motor (LIM) with longitudinal and transverse magnetic flux. Apart from traction forces, LIM with longitudinal and transverse magnetic flux (LTMF) is capable of achieving lateral stabilisation forces [9]. Transverse stabilisation forces automatically emerge themselves when lateral displacement of the vehicle takes place, suspended in the magnetic field, without any extra devices and location sensors. LIM with LTMF functions on the basis of magnetic fields flowing towards each other. A number of results of researches of LIM with LTMF at RGUPS has been published in [10, 11]. The motion and transverse dynamics of maglev transport is very topical which is indicated by researches being carried out at the Russian University of Transport (MIIT) [12].
Construction schemes and peculiarities of combined traction and lateral stabilisation system performance
One of the constructions making it possible to create traction and lateral stabilisation forces for maglev transport, is described in the [13]. The increase of traction force in combined traction and lateral stabilisation system is ensured by LIM with LTMF [14].
LIM with LTMF [14] has toothless (smooth) active zones in its motion direction that helps increase sinusoidal distribution of magnetic flux in the air gap and the traction force value of LIM.
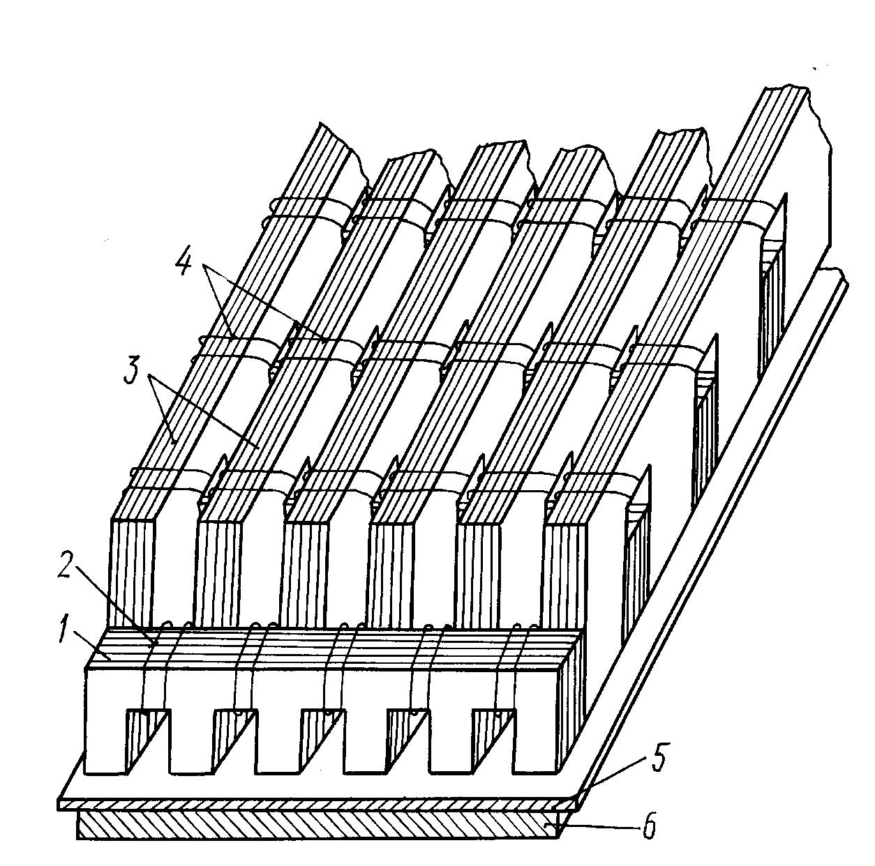
To improve magnetic field distribution transversely to the motion direction, the LIM with inductor has been developed (fig. 1), the magnetic system of which is arranged by transversely placed cores 1, bearing winding coils 2. Transversely laminated cores are connected by longitudinally laminated cores 3. The longitudinally laminated cores are made up by two slant cores, the limbs of which are inserted into grooves of transverse cores. On the longitudinal cores, the winding coils are placed 4. Polyphase winding is divided into two parts, with one of them place on the transverse cores and the other on the longitudinal ones. The secondary element is composite.
Fig. 1. Linear induction motor with longitudinal and transverse magnetic flux: 1 - transversely laminated core; 2, 4 - winding; 3 - longitudinally laminated core; 5 - electroconductive bus; 6 - ferromagnetic base
The electroconductive part 5 of the secondary element is laid over the reverse magnetic conductor 6. Toothless inductor structure of this LIM with LTMF ensures equal transverse distribution of magnetic flux in the air gap, thus making it possible to enhance lateral stabilisation forces.
The working principle of LIM, the schemes of which can be seen in the fig. 1, 2, are the same with the magnetic fields flowing towards each other.
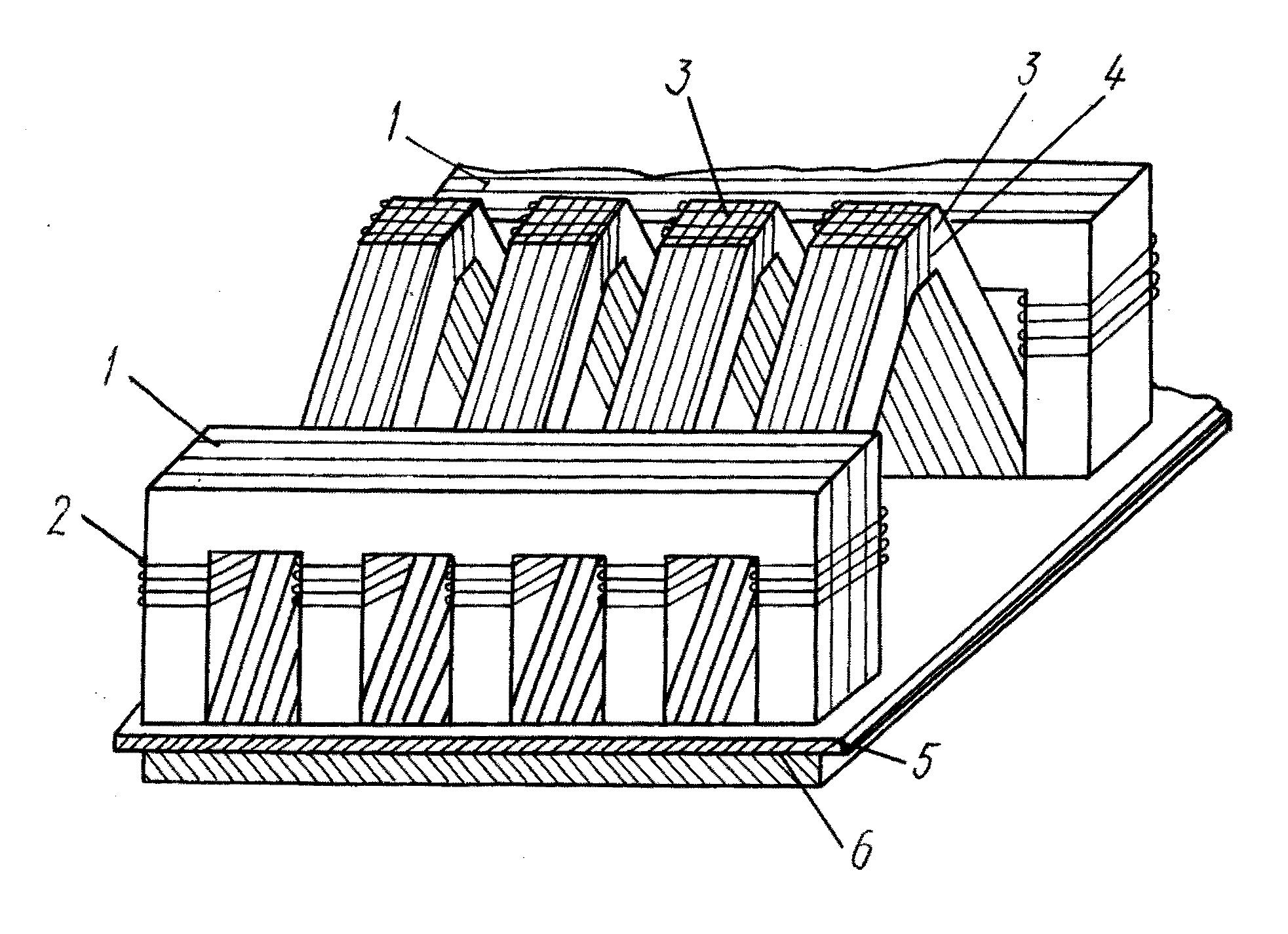
New construction of LIM with LTMF [16] for combined traction and lateral stabilisation systems enables increasing lateral stabilisation forces owing to the fact that during vehicle lateral displacement, a part of the inductor is placed above the short-circuited winding which is placed on both sides of the guideway. In this case, transverse magnetic fluxes interact with core currents and not with whirling fluxes in the bus. As a result, transverse stabilisation forces grow, and the lateral dynamics of maglev transport improves too.
Fig. 2. Linear induction motor with longitudinal and transverse magnetic flux: 1 - transversely laminated core; 2, 4 - winding; 3 - longitudinally laminated core; 5 - electroconductive strip; 6 - ferromagnetic base
LIMs with LTMF enable realising high speeds even at industrial electric power supply. Therefore, one of the most promising fields of these motors’ application is high-speed maglev transport running at speeds 350–500 km/h. LIM with LTMF are not sophisticated, but are highly reliable. In this respect, the topical task is to develop their theoretical base and calculation methods.
Mathematical modelling of magnetomotive force distribution of LIM with LTFM
For electromagnetic calculation of LIM and determination of its integral properties, it is obligatory to develop machine mathematical models, considering machine magnetomotive force (MF) distribution in the air gap and in the conductive part of the secondary element. Linear induction motors with longitudinal and transverse short-circuited magnetic flux have open magnetic system, and there are longitudinal and transverse end effects occurring during their performance, which strongly influence LIM traction properties. Therefore, it is important to consider end effects during operation. In order to take into account the influence of longitudinal and transverse end effects, a linear induction motor is represented in the form of two calculation models, which display magnetomotive forces distribution in two mutually perpendicular directions. This method of analysis of the MF for the linear induction motor with a longitudinal and transverse magnetic flux has been used at RGUPS. We use this approach to determine the magnetomotive force in the LIM, the designs of which are intended for use on a promising high-speed magnetic levitation transport.
The calculation model of LIM in the longitudinal direction is shown in the fig. 3 in the form of linear motors’ inductors alternating with each other. The intervals between the inductors are the longitudinal end effect zones. The zone can be taken as . It is seen from the fig. 3 hat in the longitudinal direction the MF changes evenly (sinusoidally) with the period l. We suppose that in the longitudinal end effect zones equals zero.
Fig. 3. Calculation model and MF longitudinal distribution of LIM: a) machine basic zones: 1 - inductor; 2 - air gap; 3 - electromotive part of the SE; 4 – reverse magnetic yoke; b) longitudinal distribution of MF
Let us analyse the model of linear induction motor in the transverse direction (fig. 4). The scheme of MF transverse distribution indicates that the machine is formed by 6 similar linear motors, which function in unison. Therefore, it is sufficient to calculate only one LIM and the results obtained can be multiplied by 6.
Let us analyse LIM with LTMF, having the structure shown in the fig. 1.
Fig. 4. Calculation model and transverse distribution of MF of linear induction motor with transverse and longitudinal flux: a) cross section of LIM; b) MF distribution
For analysis of MF distribution, LIM is divided into zones 1−24. Let us make use of the number of assumptions allowing us to obtain analytical solution of the task. We suppose that:
- magnetic permeability of the yoke is infinite;
- yoke electric conductivity is equals zero;
- inductor current is focused on infinitely thin layer on the surface of teeth facing the SE;
- inductor current generates sinusoidal running wave of MF in the direction of the x axis;
- current density constituents on the y axis in the SE equal zero.
For this construction of LIM with LTMF in accordance with calculation models (fig. 3, 4), taking into account the taken assumptions, MF values have been obtained for all transverse zones analysed.
In accordance with the assumptions taken and the calculation models (fig. 3, 4), and a number of transformations for LIM with LTMF, it has been stated that MF of this motor is a periodic function with the period on the x axis and with the period on the z axis which is set as follows:
where
q - number of grooves per pole and phase;
wc - number of windings in the coil;
m - number of phases;
Iф - inductor phase current;
- winding coefficient for current fundamental harmonic;
- pole division of in the inductor;
a, b - transverse sizes of the core.
Considering the construction of the inductor of LIM with LTMF, after a number of transformations, we will represent as double Fourier series
where n - integer, positive, odd number - order of the harmonic constituent of MF on the z axis, where the period of fundamental harmonic is
2L = 4(a + b);
n - any integer number - order of the harmonic in the x axis;
nл - coefficient considering MF distribution in the zone of coil end.
Coefficient considering MF distribution in the zone of coil end of traction LIM with LTMF is determined as follows
where nк - coefficient considering the number of poles of LIM.
The received idea of magnetomotive forces of LIM with a longitudinal and transverse magnetic flux in the form of double Fourier series is valid for machines with any number of poles. The proposed approach to determine the distribution of the magnetomotive force makes it possible to combine the real models of linear induction motors with a longitudinal and transverse magnetic flux with the complex structure of the magnetic inductor systems to the calculated mathematical ones that make it possible to calculate the magnetic field of the LIM.
Conclusion
A range of constructions of linear induction motors with longitudinal and transverse magnetic flux has been analysed, in terms of their relevance for application for future maglev transport as a combined traction and lateral stabilisation system.
The method has been suggested to analytically determine magnetomotive force, making it possible to analyse its distribution in the air gap at any construction of LIM inductor with longitudinal and transverse magnetic flux for maglev transport.
The mathematical models for new constructions of inductors of LIM with LTMF, which enables finding MF distribution in the air gap between inductor and the secondary element, and determine interconnections between parameters and sizes of linear machines and MF value, which will increase the accuracy of calculations during the design of motors for maglev transport.
About the authors
Andrey V. Solomin
Rostov State University of Railway Transport
Author for correspondence.
Email: vag@kaf.rgups.ru
Ph. D., Cand. Sci. (End.) Associate Prof
References
- Антонов Ю.Ф. Магнитолевитационная транспортная технология: монография / Ю.Ф. Антонов, А.А. Зайцев и др.; под ред. В.А. Гапановича -М.: ФИЗМАТЛИТ, 2014. - 476 с.
- Зайцев А.А. Транспорт на магнитном подвесе: моногр. / А.А. Зайцев, Г.Н. Талашкин, Я.В. Соколова. - СПб.: ПГУПС, 2010. - 160 с.
- Антонов Ю.Ф. Магнитолевитационный транспорт: научные проблемы и технические решения / Ю.Ф. Антонов, А.А. Зайцев. - М.: ФИЗМАТЛИТ, 2015. - 612 с.
- Зайцев А.А. Магнитолевитационный транспорт в единой транспортной системе страны: моногр. / А.А. Зайцев, Е.И. Морозова, Г.Н. Талашкин, Я.В. Соколова. - СПб.: НП-Принт, 2015. - 140 с.
- Зайцев А.А. О современной стадии развития магнитолевитационного транспорта / А.А. Зайцев // Железнодорожный транспорт. - 2016. -№ 12. - С. 62-65.
- Зайцев А.А. Магнитолевитационные транспортные системы и технологии / А.А. Зайцев // Железнодорожный транспорт. - 2014. - № 5. -С. 69-73.
- Антонов Ю.Ф. Исследование магнитодинамической левитации и электродинамического торможения грузовой транспортной платформы / Ю.Ф. Антонов, А.А. Зайцев, Е.И. Морозова // Изв. ПГУПС. - 2014. - Вып. 4 (41). - С. 5-15.
- Лапидус Б.М. Железнодорожный транспорт: философия будущего / Б.М. Лапидус, Л.В. Лапидус. - М.: Прометей, 2015. - 232 с.
- Соломин А.В. Линейный асинхронный двигатель для высокоскоростной транспортной системы на магнитной подвеске / А.В. Соломин // Вест. РГУПС. - 2004. - № 4. - С. 41-44.
- Соломин В.А. О рациональном взаимном расположении индуктора и вторичного элемента тягового линейного асинхронного двигателя для высокоскоростного транспорта / В.А. Соломин, А.В. Соломин, Л.Л. Замшина // Вест. РГУПС. - 2009. - № 2. - С. 120-123.
- Соломин В.А. Усилия поперечной самостабилизации тягового линейного асинхронного двигателя / В.А. Соломин, А.В. Соломин, Л.Л. Замшина, А.Л. Быкадоров // Вестн. РГУПС. - 2012. - № 1. - С. 71-74.
- Пашков Н.Н. Уравнения движения магнитнолевитационного подвижного состава / Н.Н. Пашков // Транспортные системы и технологии. -Вып. 1 (1), 2015. - С. 59-69. - URL: http://www.transsyst.ru/razdel-2-3-pashkov.html (дата обращения 27.05.2017).
- Соломин В.А. Система боковой самостабилизации высокоскоростного экипажа с магнитной левитацией / В.А. Соломин, В.Н. Носков, М.Ю. Пустоветов, Н.С. Флегонтов // Магнитнолевитационные транспортные системы и технологии. МТСТ'13. Труды 1-й Междунар. науч. конф. Санкт-Петербург, 29-31 окт. 2013 г. - под ред. Ю.Ф. Антонова. - СПб.: PUDRA, 2013. - С. 66-67.
- А.с. СССР № 868942, МПК 41/04. 1981.
- А.с. СССР № 801198, МПК 41/04. 1981.
- Пат. Россия № 2518915, МПК Н 02 К 41/025. 2014.
Supplementary files







