Measuring the acoustic signals parameters of the defect simulator of power transformers
- Authors: Cheremisin V.T.1, Kuznetsov A.A.1, Volchanina M.A.1, Gorlov A.V.1
- 
							Affiliations: 
							- Omsk State Transport University (OSTU)
 
- Issue: Vol 6, No 4 (2020)
- Pages: 161-171
- Section: Original papers
- URL: https://journals.eco-vector.com/transsyst/article/view/54402
- DOI: https://doi.org/10.17816/transsyst202064161-171
- ID: 54402
Cite item
Full Text
Abstract
Background: The article describes a device for simulating defects for use with acoustic control systems for high-voltage transformers.
Aim: experimental research of a mobile device for imitation of power transformer defects; determine the parameters of impulses simulating various insulation defects
Methods: development of technical means for imitation of insulation defects; experimental research; determination of parameters of signals simulating defects.
Results: a block diagram of a device for imitating defects is shown; experimental studies of the device for imitating defects were carried out; the power of pulses simulating various defects in the insulation of high-voltage transformers was calculated.
Conclusion: The proposed device generates high-voltage pulses that simulate various defects in the insulation of high-voltage transformers. The parameters of acoustic signals are given.
Full Text
ВВЕДЕНИЕ
При диагностировании силовых трансформаторов в системе электроснабжения железных дорог используется достаточно большое количество методов электрического и неразрушающего контроля. Применение акустических методов позволяет выполнить локацию мест возникновения и наличия дефектов изоляции при работе силовых трансформаторов [1–3]. Применение средств акустического контроля существенно повышает достоверность и быстродействие применяемого в настоящее время хроматографического метода контроля растворенных газов в трансформаторном масле.
Проведенный анализ отечественной и зарубежной литературы выявил наличие большого количества работ, посвященных методам и способам диагностирования высоковольтного оборудования [5–15].
Недостатками применяемых акустических метолов при контроле трансформаторов и другого высоковольтного оборудования является распознавание вида контролируемого дефекта и локация места его положения.
При помощи метода акустического контроля возможна регистрация частичных разрядов (ЧР), регистрация их количества в единицу времени, регистрация амплитуд, формы сигналов и других параметров. По каждому событию возможен визуальный анализ, подтверждающий наличие именно ЧР и их параметров. Кроме того по разности времени прихода сигналов к датчикам акустической антенны, установленных на корпусе трансформатора, возможно установление координат предполагаемого места возникновения ЧР.
РАЗРАБОТКА ТЕХНИЧЕСКИХ СРЕДСТВ
Для устранения указанных выше недостатков было предложено использование устройства имитации дефектов в маслонапоненном оборудовании [1]. При использовании устройства имитации дефектов в методике акустического контроля измерения параметров акустических сигналов выполняются в одинаковых условиях на имитаторе и контролируемом оборудовании. Снижаются дополнительные погрешности, вызываемые влиянием окружающей среды и возможные изменения коэффициентов усиления измерительного тракта в различные интервалы времени при проведении контроля.
Структурная схема устройства имитации дефектов представлена на 
Рис. 1.
Рис. 1. Структурная схема устройства имитации дефектов. БП – блок питания; ЭК – электронный коммутатор; ГТИ – генератор тактовых импульсов; ВТ – высоковольтный трансформатор; СЦАД – система цифровая акустико-эмиссионная диагностическая; П – преобразователь акустический; ЭР – электрический разрядник; БМ – бак маслонаполненный.
Устройство вырабатывает высоковольтные импульсы, имитирующие различные дефекты изоляции высоковольтных трансформаторов. Электронный коммутатор (ЭК) подает на высоковольтный трансформатор (ВТ) постоянное напряжение с задержкой, формируемой конденсатором в его составе. На электрический разрядник (ЭР) поступают высоковольтные импульсы с частотой, вырабатываемой генератором тактовых импульсов (ГТИ) в интервале от 0 до 10 кГц. Электрический разрядник может работать в различных средах – воздух или трансформаторное масло.
ЭКСПЕРИМЕНТАЛЬНАЯ ЧАСТЬ
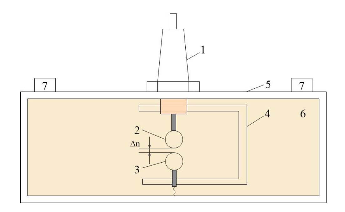
На Рис. 2 показана схема расположения электрического разрядника в 
масляном баке. Для дозирования мощности разряда выполнялось регулирование постоянного напряжения БП и расстояние между электродами ЭР – ∆n при помощи регулирующего механизма на кронштейне 4.
Рис. 2. Схема расположения электрического разрядника в масляном баке. 1 – изолятор; 2, 3 – электроды; 4 – кронштейн; 5 – корпус маслонаполненного бака; 6 – трансформаторное масло; 7 – преобразователь акустический.
Корпус имитатора дефектов выполнен из стали и к нему подключен один из электродов разрядника ЭР и нулевой потенциал БП. Колебания звуковой волны воспринимают четыре акустических преобразователя П, представляющих собой акустическую антенну.
Схема расположения преобразователей акустических и электрического разрядника на верхней крышке устройства приведена на Рис. 3.
На Рис. 3 приведены следующие параметры устройства: L0=8 см – расстояние от акустического преобразователя АП0 до электрического разрядника; L1 =18 см – расстояние от акустического преобразователя П1 до электрического разрядника; L2=28 см – расстояние от акустического преобразователя АП2 до электрического разрядника; L3=23 см – расстояние от акустического преобразователя П3 до электрического разрядника.
Рис. 3. Схема расположения преобразователей акустических и электрического разрядника
Рис. 4. Сигналы от четырех акустических преобразователей
Акустические преобразователи АП0 – АП3 располагали на верхней крышке устройства имитации дефектов на различном расстоянии L0 – L3 от ЭР. При помощи системы акустической типа СЦАД-16 были зарегистрированы импульсы различной мощности при различной частоте следования, представленные на Рис. 4–6 .
На Рис. 4 показаны сигналы от четырех АП. Сигнал представлен двумя областями: высокочастотный импульс 1 при возникновении электрического разряда и низкочастотные колебания корпуса отраженных волн – 2. Из рисунка так же хорошо видна разность времен прихода (РВП) 
Т0 – Т3 для преобразователей с разными координатами L0 – L3. При этом изменяются мощность электрического разряда, имитирующего дефект. Электрические разряды пропадают при выходном напряжении БП U = 3 В и усиливаются до максимального значения при Uп  = 15 В.
На Рис. 5–6 показаны сигналы, различной мощности, сформированные при изменении выходного напряжения на БП.
Рис. 5. Сигнал от акустического преобразователя (U = 6 В; f = 50Гц; kу = 20; отсч. АЦП = 2024; Tк = 1012 мкс)
Рис. 6. Сигнал от акустического преобразователя (U = 12 В; f = 50Гц; kу = 20; отсч. АЦП = 2024; Tк = 1012 мкс)
Мощность импульса, ограниченного временным окном T = 60 мкс определялась по формуле:
(1)
Число отсчетов АЦП для указанного окна составляло 120 ед.
Для двух сигналов приведенных на Рис. 5, 6 были получены значения P6 = 26,9 ед.; P12 = 62,8 ед. соответственно. Таким образом, можно сделать вывод, что эти параметры можно использовать для оценки мощности разрядов диагностируемого оборудования.
Рис. 7. Временной сигнал акустического импульса и его спектр (U = 12 В; f = 100Гц; kу = 20; отсч. АЦП = 2024; Tк = 1023 мкс)
Совместное использование имитатора дефектов со средствами контроля позволит с большей достоверностью распознавать тип дефекта и его мощность.
Таблица. Измеренные параметры акустических сигналов
| Напряжение U, В | Частота  | Размах амплитуд, ед. | Средняя частота акуст. импульсов  | Мощность импульса  | 
| 3 | 50 | 86 | 217 | 12,1 | 
| 6 | 149 | 223 | 26,9 | |
| 9 | 283 | 209 | 43,3 | |
| 12 | 414 | 201 | 62,8 | |
| 3 | 100 | 94 | 325 | 16,7 | 
| 6 | 168 | 313 | 30,1 | |
| 9 | 502 | 218 | 82,4 | |
| 12 | 747 | 207 | 103,2 | 
РЕЗУЛЬТАТЫ
Приведена информация по разработке и экспериментальным исследованиям устройства имитации дефектов изоляции высоковольтных трансформаторов. Показаны осциллограммы с формой импульсов для различной мощности электрических разрядов. Приведены количественные значения сигналов, измеренные акустическим методом, имитирующие дефекты с различной мощностью.
ВЫВОДЫ
Применение представленного устройства позволит сопоставлять сигналы, измеренные на высоковольтном оборудовании с сигналами имитатора, что позволит повысить достоверность контроля и принятия правильных решений об их техническом состоянии.
Авторы заявляют, что:
- У них нет конфликта интересов;
- Настоящая статья не содержит каких-либо исследований с участием людей в качестве объектов исследований.
About the authors
Vasiliy T. Cheremisin
Omsk State Transport University (OSTU)
														Email: eps@omgups.ru
				                	ORCID iD: 0000-0002-4576-2223
				                	SPIN-code: 7843-0765
																		                								
Заведующий кафедрой "Подвижной состав электрических железных дорог"
Russian Federation, 644046, Omsk, pr. Marksa, 35Andrey A. Kuznetsov
Omsk State Transport University (OSTU)
														Email: kuznetsovaa.omgups@gmail.com
				                	ORCID iD: 0000-0002-1815-4679
				                	SPIN-code: 5259-0531
																		                								
Doctor of Technical Science, professor
Russian Federation, 644046, Omsk, pr. Marksa, 35Maria A. Volchanina
Omsk State Transport University (OSTU)
							Author for correspondence.
							Email: kuznetcova994@gmail.com
				                	ORCID iD: 0000-0003-3757-5580
				                	SPIN-code: 2130-4637
																		                								
PhD student
Russian Federation, 644046, Omsk, pr. Marksa, 35Anton V. Gorlov
Omsk State Transport University (OSTU)
														Email: anton.gorlov@mail.ru
				                	ORCID iD: 0000-0002-8413-6612
				                																			                								
PhD student
Russian Federation, 644046, Omsk, pr. Marksa, 35References
- Кузнецов А.А., Кузьменко А.Ю., Кузнецова М.А., Симаков А.В. Определение пороговых значений при диагностировании изоляции высоковольтного оборудования методами регистрации частичных разрядов. // Омский научный вестник. – 2019. – №2(164). – С. 30–35. [Kuznetsov AA, Kuzmenko AYu., Kuznetsova MA, Simakov AV. Opredelenie porogovih znachenii pri diagnostirovanii izoliacii visokovoltnogo oborudovaniya metodami registracii chastichnih razriadov. Omskii nauchiy vestnik, 2019;2(164):30-35. (In Russ.)]. Доступно по: http://vestnik.omgtu.ru/images/stories/arhiv/2019/pmt/2_164_2019/30-35.pdf. Ссылка активна на: 07.12.2020.
- Taha IBM, Dessouky SS, Ghaly RNR, Ghoneim SSM. Enhanced partial discharge location determination for transformer insulating oils considering allocations and uncertainties of acoustic measurements. Alexandria Engineering Journal; 2020, 12 p. [Internet]. [cited 2020 Dec 07]. Available from: https://www.sciencedirect.com/science/article/pii/S1110016820304282.
- МУ 1.3.3.99.0038-2009 Диагностика силовых трансформаторов, автотрансформаторов, шунтирующих реакторов и их вводов. Методические указания ОАО «Концерна Росэнергоатом» № 126, 2009. – 73 с. [Diagnostika silovykh transformatorov, avtotransformatorov, shuntiruiushchikh reaktorov i ikh vvodov. Metodicheskie ukazaniia OAO “Kontserna Rosenergoatom”. 2009:126:73 (In Russ.)]. https://files.stroyinf.ru/Data2/1/4293724/4293724794.pdf
- Markalous SM, Tenbohlen S, Feser K. Detection and location of partial discharges in power transformers using acoustic and electromagnetic signals. IEEE Transactions on Dielectrics and Electrical Insulation. 2008;15:1576-1583 [Internet]. [cited 2020 Dec 07]. Available from: https://ieeexplore.ieee.org/document/4712660.
- Шахнин В.А., Чебрякова Ю.С., Мироненко Я.В. Статистические характеристики частичных разрядов как диагностические признаки состояния изоляции высоковольтного оборудования // Контроль. Диагностика. – 2015. – № 2. – С. 59–65. [Shakhnin VA, Chebryakova YuS, Mironenko YaV. Statisticheskie harakteristiki chastichnih razriadov kak diagnosticheskie priznaki sostoyaniay izoliacii visokovoltnogo oborudovaniya: Kontrol. Diagnostika, 2015; 2: 59-65. (In Russ)]. Доступно по: http://www.td-j.ru/index.php/archive/529-059-065/. Ссылка активна на: 07.12.2020.
- Strachan SM, Rudd S, McArthur SDJ, et al. Knowledge-based diagnosis of partial discharges in power transformers. IEEE Transactions on Dielectrics and Electrical Insulation. 2008;15:259-268 [Internet]. [cited 2020 Dec 07]. Available from: https://www.researchgate.net/publication/3341015_Knowledge-based_diagnosis_of_partial_discharges_in_power_transformers.
- Вдовико В.П. Характеристики частичных разрядов и их применение в оценке качества электрической изоляции высоковольтного оборудования // Электро. Электротехника, электроэнергетика, электротехническая промышленность. – 2005. – № 5. – С. 23–26. [Vdoviko VP. Kharakteristiki chastichnykh razryadov i ikh primenenie v otsenke kachestva elektricheskoi izolyatsii vysokovoltnogo oborudovaniya. Elektro. Elektrotekhnika, elektroenergetika, elektrotekhnicheskaya promyshlennost, 2005;5:23-26. (In Russ.)]. Доступно по: https://readera.org/read/142173958. Ссылка активна на: 07.12.2020.
- Ермаков Е.Г. Методика измерения частичных разрядов в изоляции силовых трансформаторов // Научно-технические ведомости Санкт-Петербургского государственного политехнического университета. – 2009. – № 2(78). – С. 47–52. [Ermakov EG. Metodika izmereniya chastichnykh razryadov v izolyatsii silovykh transformatorov. Nauchno-tekhnicheskie vedomosti Sankt-Peterburgskogo gosudarstvennogo politekhnicheskogo universiteta, 2009;2(78):47-52. (In Russ.)]. Доступно по: https://engtech.spbstu.ru/userfiles/files/volume/N2_78_2009.PDF Ссылка активна на: 07.12.2020.
- Максудов Д.В., Федосов Е.М. Методы селекции сигналов частичных разрядов // Вестник Уфимского государственного авиационного технического университета. – 2009. – № 2 (12). – С. 138–143. [Maksudov DV, Fedosov EM. Metody selektsii signalov chastichnykh razryadov. Vestnik Ufimskogo gosudarstvennogo aviatsionnogo tekhnicheskogo universiteta, 2009;2(12):138-143. (In Russ.)]. Доступно по: http://journal.ugatu.ac.ru/index.php/Vestnik/article/view/1241/1078. Ссылка активна на: 07.12.2020.
- Lopez-Roldan J, Tang T, Gaskin M. Optimisation of a sensor for onsite detection of partial discharges in power transformers by the UHF method. IEEE Transactions on Dielectrics and Electrical Insulation; 2008;15:1634-1639 [Internet]. [cited 2020 Dec 07]. Available from: https://ieeexplore.ieee.org/document/4712667.
- Карандаев А.С., Евдокимов С.А., Девятов Д.Х., и др. Диагностирование силовых трансформаторов методом акустической локации частичных разрядов // Вестник Магнитогорского государственного технического университета им. Г.И. Носова. – 2012. – №1(37). – С. 105–108. [Karandaev AS, Evdokimov SA, Devyatov DH., et al. Diagnostirovanie silovykh transformatorov metodom akusticheskoi lokatsii chastichnykh razriadov. Vestnik Magnitogorskogo gosudarstvennogo tekhnicheskogo universiteta im. G.I. Nosova, 2012; 1(37): 105-108. (In Russ.)]. Доступно по: http://vestnik.magtu.ru/images/data_base/2012_1/%D0%92%D0%B5%D1%81%D1%82%D0%BD%D0%B8%D0%BA_2012_1_%D1%81_105-108.pdf Ссылка активна на: 07.12.2020.
- Фазуллин С.Р. Диагностика силовых трансформаторов методом измерения частичных разрядов // Теория и практика высоких технологий в промышленности. Сборник статей международной научно-практической конференции. – 2017. – С. 96–98. [Fazullin SR. Diagnostika silovykh transformatorov metodom izmereniia chastichnykh razriadov. Teoriia i praktika vysokikh tekhnologii v promyshlennosti. Sbornik statei mezhdunarodnoi nauchno-prakticheskoi konferentsii, 2017:96-98. (In Russ.)]. Доступно по: Ссылка активна на: https://docplayer.ru/78608179-Teoriya-i-praktika-vysokih-tehnologiy-v-promyshlennosti.html 07.12.2020.
- Bartnikas R. Partial discharges their mechanism, detection and measurement. IEEE Transactions on Dielectrics and Electrical Insulation. 2002;9:763-808 [Internet]. [cited 2020 Dec 07]. Available from: https://ieeexplore.ieee.org/document/1038663
- Поляков Д.А., Шамганов Э.Б., Никитин К.И., Терещенко Н.А. Анализ эффективности регистрации частичных разрядов с использованием индуктивных и емкостных датчиков // Промышленная энергетика. – 2019. – № 12. – С. 30 – 35. [Polyakov DA, Shamganov EB, Nikitin KI, Tereshchenko NA. Analiz effektivnosti registratsii chastichnykh razriadov s ispolzovaniem induktivnykh i emkostnykh datchikov. Promyshlennaia energetika, 2019;12:30-35. (In Russ.)]. Доступно по: http://www.promen.energy-journals.ru/index.php/PROMEN/article/view/1321. Ссылка активна на: 07.12.2020.
- Давиденко И.В., Овчинников К.В. Идентификация дефектов трансформаторов по анализу газов, растворенных в масле // Электротехника. – 2019. – № 4. – С. 48–54. [Davidenko IV, Ovchinnikov KV. Identifikatsiia defektov transformatorov po analizu gazov, rastvorennykh v masle. Elektrotekhnika, 2019;4:48-54. (In Russ.)]. Доступно по: https://www.elibrary.ru/item.asp?id=37246280. Ссылка активна на: 07.12.2020.
Supplementary files
 
				
			 
					 
						 
						 
									
 
  
  
  Email this article
			Email this article  
		















