Регулируемый линейный асинхронный двигатель с короткозамкнутой обмоткой для магнитнолевитационного транспорта
- Авторы: Соломин В.А.1, Соломин А.В.1, Бичилова А.А.1, Замшина Л.Л.1, Трубицина Н.А.1
-
Учреждения:
- Ростовский государственный университет путей сообщения
- Выпуск: Том 3, № 2 (2017)
- Страницы: 93-95
- Раздел: Статьи
- URL: https://journals.eco-vector.com/transsyst/article/view/7996
- DOI: https://doi.org/10.17816/transsyst20173293-95
- ID: 7996
Цитировать
Полный текст
Аннотация
Регулируемый линейный асинхронный двигатель с короткозамкнутой обмоткой для магнитнолевитационного транспорта
Полный текст
В Ростовском государственном университете путей сообщения (РГУПС) разработан новый тип тяговой машины для магнитнолевитационного транспорта – линейный асинхронный двигатель, у которого обмотка вторичного элемента (ВЭ) выполнена короткозамкнутой с возможностью плавного изменения ее сопротивления. ЛАД с короткозамкнутой обмоткой ВЭ обладает такими же пусковыми и регулировочными возможностями, как и асинхронный двигатель с фазной обмоткой якоря. По мнению авторов, может оказаться эффективным сочетание частотного регулирования магнитнолевитационным транспортом с управлением путем
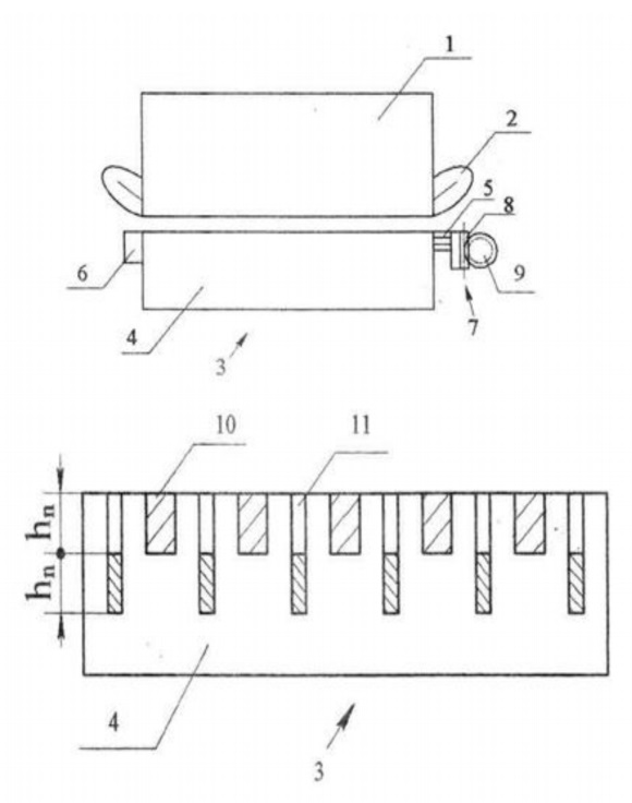
Рис. 1. Регулируемый ЛАД и его вторичный элемент изменения сопротивления короткозамкнутой обмотки ВЭ ЛАД соответственно при высоких и низких скоростях движения.
Регулируемый линейный асинхронный двигатель с увеличенным пусковым усилием схематически показан на рис. 1. Индуктор содержит 1 трехфазную обмотку 2, а в сердечнике 4 вторичного элемента 3 кроме основных пазов 10, в которых расположены стержни 5 основной короткозамкнутой обмотки ВЭ, выполнены дополнительные пазы 11 для размещения пусковой обмотки ЛАД. Стержни 12 пусковой короткозамкнутой обмотки размещены в нижних частях дополнительных пазов для увеличения эффекта вытеснения тока при пуске двигателя. Для увеличения пускового тягового усилия подвижный элемент замыкает только стержни пусковой обмотки. При «глубоком» расположении стержней 12 эффект вытеснения тока значителен, что позволит повысить пусковое тяговое усилие двигателя. По мере разгона ЛАД подвижный элемент замыкает частично одновременно стержни основной и пусковой обмоток ВЭ, а затем в номинальном режиме пусковая обмотка размыкается, а основная полностью закорачивается, что повышает КПД линейного двигателя.
Об авторах
Владимир Александрович Соломин
Ростовский государственный университет путей сообщения
Автор, ответственный за переписку.
Email: ema@kaf.rgups.ru
Россия
Андрей Владимирович Соломин
Ростовский государственный университет путей сообщения
Email: vag@kaf.rgups.ru
Россия
Анастасия Алановна Бичилова
Ростовский государственный университет путей сообщения
Email: ema@kaf.rgups.ru
Россия
Лариса Леонидовна Замшина
Ростовский государственный университет путей сообщения
Email: ema@rgups.ru
Россия
Надежда Анатольевна Трубицина
Ростовский государственный университет путей сообщения
Email: ema@rgups.ru
Россия
Дополнительные файлы




