Adjustable squirrel-cage linear induction motor for magnetic levitation transport
- Authors: Solomin V.A.1, Bichilova A.A.1, Zamshina L.L.1, Trybitsina N.A.1
-
Affiliations:
- Rostov State Transport University
- Issue: Vol 3, No 4 (2017)
- Pages: 127-149
- Section: Original papers
- URL: https://journals.eco-vector.com/transsyst/article/view/8022
- DOI: https://doi.org/10.17816/transsyst201734127-149
- ID: 8022
Cite item
Abstract
The article deals with linear induction motor (LIM) with a squirrel-cage winding of the secondary element (SE), which functions as the armature of the machine. Linear location of squirrel-cage winding of the secondary element of LIM allowed suggesting a number of options for the regulation of the winding resistance of SE.
Objective. Development and research of LIM with adjustable winding resistance of the secondary element for magnetic levitation transport, and the study of the properties of adjustable LIM.
At the modern level of development of the electrical engineering, asynchronous electric drive and magnetic levitation transport, the primary method of changing the frequency rotation of motor and speed of linear motion of high-speed transport vehicles is frequency control. Frequency control allows changing the frequency of rotation of the machine and linear speed of LIM smoothly and in broad diapason. The high cost of static electronic converters of high power limits the large-scale application of frequency control. The increase of the current frequency also leads to lower torque and traction.
Results. According to the authors, the application of the adjustable linear induction motors with variable resistances of short-circuited windings of the secondary elements will allow to expand the range of control of LIM, intended for high-speed magnetic levitation transport with the realisation of large traction, including the start (starting the vehicle) by means of current displacement in the groove of the secondary element of the LIM.
Conclusion. The linear induction motors of this type, as well as the calculation of the magnetic field in the groove of the secondary element, and evaluation of the influence of the current displacement on the starting and controlling features of the machine are considered.
Full Text
Introduction
Every year the transport development issues get more and more topical. Magnetic levitation transport is to take its special place in the creation of a future transport system of the Russian Federation. In recent years, Russian specialists have dealt with the problems related to creation and practical application of magnetic levitation transport. The development of this mode of transport draws great interest of JSC “RZD”, which supports researches aimed at studying various aspects of this problem. The serious approach to creation of maglev transport is indicated by a large number of scientific publications, some of which have a fundamental feature [1−8]. The best known research results are those obtained in development of theoretical and experimental studies of maglev transport by specialists and scientists of Saint Petersburg, and the first place, by Emperor Alexander I St. Petersburg State Transport University scientists [1−7].
Maglev transport speed control issues will always be among the most significant ones. In the near future, it is most obvious that linear induction motor (LIM) will be used as the primary maglev transport traction machine type. For over 10 years, China has been deploying maglev train with linear induction motors. Frequency control is undoubtedly viewed as the main way to operate maglev transport with LIM. Frequency control, ignoring high costs of static frequency and voltage converters, does not ensure achievement of significant starting impulse and sufficient traction power at low speeds.
Purpose
The purpose of this study is development and research of adjustable LIM with short-circuited winding for maglev transport.
At Rostov State Transport University (RGUPS) a new type of traction machine for maglev transport has been developed – linear induction motor with the short-circuited secondary element winding with a possibility to smoothly change its resistance [9]. Linear induction motor with the short-circuited secondary element winding has the same starting and controlling possibilities as the phase winding linear induction motor does. As to the experts, it might prove efficient if we combine frequency control with operation by virtue of change of short-circuited winding of the secondary element resistance at low and high speeds.
Construction and work of the adjustable LIM
The secondary element with short-circuited winding may be located in the maglev transport guideway or may be installed in the vehicle. In terms of control of traction force and speed of train, both options are equally suitable.
RGUPS has developed adjustable LIM with short-circuited windings placed in the secondary element [10−14]. The main peculiarity of these linear induction motors is that the possibility of control of short-circuited winding resistance in the secondary element, which is ensured by linear construction of LIM inductor and its secondary element. In the groove of the core of the secondary element of LIM the insulated conductors are placed, constituting the winding bars of the SE, short-circuited on the one side by general conductor bus, and short-circuited by a movable element on the other side. It needs to pointed out that powerful LIMs with phase rotors, by virtue of slip rings and brushes, may generate power of hundreds and even thousands amp. These powerful currents may be generated by short-circuited windings of the SE in adjustable LIM.
Inductors of traction LIMs of this type may have any structure. As a result of movement of LIM locking dog, the number of short-circuited conductors of the SE is changed, with its resistance controlled. A number of LIM structures with the SE winding resistance control is described in the monograph [15] and in the article [16].
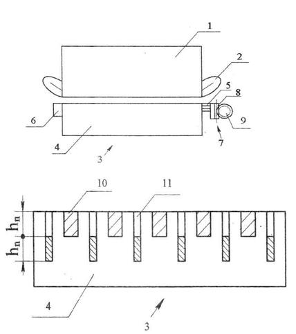
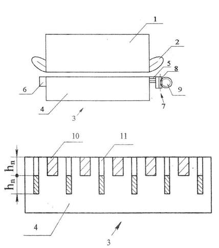
The adjustable LIM with enhanced starting impulse [10] is schematically shown in the fig. 1. The inductor has a three-phase winding, whereas the SE core, apart from main grooves 10, in which winding bars of the main short-circuited winding of the SE, has three additional grooves 11 organised in it for the LIM starting winding to be placed therein. Short-circuited winding bars are placed in the lower parts of the additional grooves for enhancement of the current displacement effect during the start. The principle of the work of the demonstrated adjustable LIM: when a three-phase winding of the inductor is connected to a voltage source, a travelling magnetic field is excited, crossing the winding bars of the secondary element and inducing electromotive forces (EMF) in them. To increase the starting traction force, the movable element, with the help of the drive mechanism, only closes the starting winding bars located in the lower parts of the additional grooves. Under the action of EMF, a current will flow through the starting winding bars, which, when interacting with the travelling magnetic field, will create a starting traction force.
Fig. 1. Adjustable LIM and its secondary element: 1 – inductor; 2 – inductor winding; 3 – secondary element; 4 – secondary element core; 5 – conductors of short-circuited winding of the secondary element; 6 – bus; 7 – locking dog; 8 – tooth rack; 9 – pinion; 10 – grooves for main winding bars of the second element; 11 – grooves for starting winding bars
With a deep location of the narrow bars in the grooves, the current displacement effect will sharply manifest, the resistance of the short-circuited starting winding will increase, which makes it possible to significantly increase the starting traction force of the motor.
So, with the motor accelerating, the movable element moves and partially locks simultaneously starting and main winding bars of the SE. Then, in the nominal mode, the starting winding opens and the main is completely short-circuited. In the nominal mode, the adjustable LIM runs with minimum power losses in the short-circuited winding of the SE and with high energy conversion efficiency.
Magnetic field and current displacement in the groove of the secondary element of LIM
Arranging short-circuited winding bars of LIM SE as separate, insulated conductors, short-circuited by common bus on the one side and on the other − by locking dog, which contains conductive and insulating sections, enables closing conductors of bars during its movement. It becomes possible to short-circuit separate conductors located at any level on the height of the groove. The possibility of obtaining the so-called partially filled groove of the LIM SE. The new tasks on calculation of the LIM SE magnetic field and counting influence of current displacement on the parameters of SE winding in the adjustable LIM.
The calculation model of the secondary element groove for this case is shown in the fig. 2. It is seen that each two lower insulated conductors 1 are short-circuited by locking dog 3 in the SE grooves. Direction of the locking dog 3 movement is pointed by an arrow (fig. 2). The conductors 1 which are short-circuited by locking dog 3 are shaded.
In the process of the speed control in the direction of its decrease by increasing the resistance of the short-circuited winding, the glide increases and a current is displaced into the groove, similar to the starting regime.
During the analysis, the following assumptions have been made:
the magnetic conductivity of the SE steel core of the adjustable LIM is infinitely big;
- the length of the groove is infinite;
- magnetic power lines are perpendicular to the walls of the SE groove;
- conductors which make the core of the SE winding have the infinitely thin insulation;
Orthogonal coordinates (fug. 2b) contains the axis z, directed along the groove, axis x, oriented transversely, and the axis y, directed upwards. With the assumptions made, we may say that the intensity of the magnetic field will change only on the z coordinate. The magnetic field intensity equation will be one-dimensional.
Fig. 2. Short-circuiting the conductors in the groove during movement of the locking dog from the bottom upwards: a) winding fragment; b) groove; 1 – conductors of the core; 2 – bus; 3 – locking dog
(1)
General equation solution (1) is known from mathematics
where
The constants of integration С1 and С2 are determined on the basis of Kirchhoff's circuit laws (Total current law)
where – current flowing in the groove of the SE winding;
– core length element.
Generally, when the movable element short-circuits the parts of the conductors of the SE winding in the adjustable LIM (fig. 2), the level of short-circuiting will be determined by coefficient lying within
Then the boundary conditions will be with and with
With these boundary conditions the constants of the integration С1 and С2:
The magnetic field intensity in the groove of the SE of LIM will make
Current density in the groove of the SE is determined by the equation
Taking into account that and we obtain
The intensity of the electric field in the groove of the LIM SE
Electromagnetic power, flowing into the groove, where the current runs, and transmitted through the air gap from the LIM inductor
where – length of the active part of the bar, lying in the groove.
The power loss for a partially short-circuited winding bar of the SE equals the real part of the electromagnetic power
, (2)
where – current vector squared modulus.
The resistance of conductors in the closed part of the short-circuited winding of the secondary element to the direct current
If then introducing the designation – relative depth of current penetration in the groove of the SE, and putting in (2), we obtain
,
where – resistance of the closed part of SE core to the AC.
The coefficient considering the increase if active resistance of closed conductors of the SE core of LIM
.(3)
The imaginary part of the electromagnetic power entering the groove of the winding of the secondary element of LIM is reactive power where X is the inductive resistance of the short-circuited part of the winding bar of the SE of the adjustable LIM.
Reactive power flowing into the closed part of the core
Inductive resistance of the closed part of the SE core without taking into account current displacement in the groove
Taking into account that and we obtain
where – inductive resistance of the short-circuited part of the core of the SE winding considering current displacement in the groove.
Coefficient considering decrease of the inductive resistance in the closed part of the SE core with current displacement in the groove
(4)
To take into account the influence of the process of current displacement on the parameters of short-circuited winding of the LIM SE with different location of the locking dog (fig. 2) on the basis of the relations (3) and (4), the programme for calculation of coefficients of active resistance increase and inductive resistance decrease of the SE winding. The results of the calculation for specific variation of construction of adjustable traction linear inductor motor for maglev transport are shown in the fig. 3, 4.
Fig. 3. Coefficients of active resistance increase when locking dog moves upwards
Fig. 4. Coefficients of inductive resistance decrease when locking dog moves upwards
Conclusion
The curved lines (fig. 3, 4) indicate that with the increase of the number of the short-circuited conductors in the grooves of the SE when the locking dog moves upwards, the coefficient of active resistance rises, whereas the coefficient of the inductive resistance falls down to short-circuited winding of the secondary element of LIM.
If then taking into account the current displacement in the groove with changes from 0 to 5, the coefficient increased only by 0,82 %, whereas the coefficient decreased by 0,29 %; with values of active and inductive resistances remain almost the same in the value, and are not dependent on the current displacement in the groove, which can be ignored during LIM calculations.
A different situation is observed when the quantity of short-circuited conductors in the grooves of the SE increases: at and changes from 0 to 5 the coefficient increased by 362 %, and the coefficient decreased by 67 %. Here the current displacement effect in the groove of the SE (surface effect) largely influences the active and inductive winding resistances of the secondary element of adjustable LIM. It is seen from the calculation data (fig. 3) that active resistance of short-circuited SE winding increases especially sharply, and this is should be taken into account while calculating starting and controlling properties of the motor.
About the authors
Vladimir A. Solomin
Rostov State Transport University
Author for correspondence.
Email: ema@kaf.rgups.ru
Dr. Sci. (Eng.), Professor
Russian FederationAnastasia A. Bichilova
Rostov State Transport University
Email: ema@kaf.rgups.ru
Graduate student
Russian FederationLarisa L. Zamshina
Rostov State Transport University
Email: ema@rgups.ru
Can. Sci. (Eng.), Associate Prof.
Russian FederationNadezhda A. Trybitsina
Rostov State Transport University
Email: ema@rgups.ru
Cand. Sci. (Eng.), Associate Prof.
Russian FederationReferences
- Антонов Ю.Ф. Магнитолевитационная транспортная технология / Ю.Ф. Антонов, А.А. Зайцев; под ред. В.А. Гапановича. - М.: ФИЗМАТЛИТ, 2014. - 476 с.
- Зайцев А.А. Транспорт на магнитном подвесе / А.А. Зайцев, Г.Н. Талашкин, Я.В. Соколова; под ред. А.А. Зайцева. - СПб.: Петербург. гос. ун-т путей сообщения, 2010. - 160 с.
- Магнитолевитационный транспорт: научные проблемы и технические решения / под ред. Ю.Ф. Антонова, А.А. Зайцева. - М.: ФИЗМАТЛИТ, 2015. - 612 с.
- Зайцев А.А. Магнитнолевитационный транспорт в единой транспортной системе страны / А.А. Зайцев, Е.И. Морозова, Г.Н. Талашкин, Я.В. Соколова. - СПб.: НП-Принт, 2015. - 140 с.
- Зайцев А.А. О современной стадии развития магнитнолевитацион-ного транспорта / А.А. Зайцев // Железнодорожный транспорт. - 2016. -№ 12. - С. 62-65.
- Зайцев А.А. Магнитнолевитационные транспортные системы и технологии / А.А. Зайцев // Железнодорожный транспорт. - 2014. - № 5. -С. 69-73.
- Антонов Ю.Ф. Исследование магнитодинамической левитации и электродинамического торможения грузовой транспортной платформы / Ю.Ф. Антонов, А.А. Зайцев, Е.И. Морозова // Изв. ПГУПС. - 2014. -Вып. 4 (41). - С. 5-15.
- Лапидус Б.М. Железнодорожный транспорт: философия будущего / Б.М. Лапидус, Л.В. Лапидус. - М.: Прометей, 2015. - 232 с.
- Асинхронный двигатель с разомкнутым магнитопроводом индуктора. Авторское свидетельство СССР № 1104619. 1984.
- Линейный асинхронный двигатель. Пат. РФ № 2348099. 2009.
- Линейный асинхронный двигатель. Пат. РФ № 2343621. 2009.
- Линейный асинхронный двигатель. Пат. РФ № 2349018. 2009.
- Линейный асинхронный двигатель. Пат. РФ № 2391762. 2010.
- Линейный асинхронный двигатель. Пат. РФ № 2396680. 2010.
- Линейный асинхронный двигатель. Пат. РФ № 2400909. 2010.
- Соломин А.В. Математическое моделирование линейных асинхронных двигателей для тяговых и тормозных устройств высокоскоростного транспорта: моногр. / А.В. Соломин. - Ростов н/Дону: РГУПС, 2008. -204 с.
- Соломин А.В. Регулируемый линейный асинхронный двигатель / А.В. Соломин // Электротехника. - 2004. - № 12. - С. 31-34.
Supplementary files







