Параметры запреградного выступа при непробитии керамического бронежилета
- Авторы: Денисов А.В.1, Цуриков С.Г.2, Котосов А.А.3, Жуков И.Е.2, Демченко К.Н.1, Сабонис И.И.1
-
Учреждения:
- Военно-медицинская академия им. С.М. Кирова
- 5-й Испытательный центр войсковой части 09703
- Филиал Военной академии материально-технического обеспечения
- Выпуск: Том 21, № 4 (2019)
- Страницы: 95-100
- Раздел: Статьи
- Статья получена: 17.02.2020
- Статья опубликована: 15.12.2019
- URL: https://journals.eco-vector.com/1682-7392/article/view/20679
- DOI: https://doi.org/10.17816/brmma20679
- ID: 20679
Цитировать
Полный текст
Аннотация
Исследуются особенности формирования тыльной деформации бронепанели как основного механизма развития заброневой травмы человека, защищённого бронежилетом, при его непробитии с применением современной исследовательской методики – высокоскоростной видеосъёмки. Анализ боевой патологии современных военных конфликтов показал, что попадание поражающего элемента в защищенное бронежилетом тело военнослужащего может приводить к получению им ранения, отличающегося по ряду показателей от «классической» огнестрельной травмы. Эти повреждения в зарубежной литературе принято называть тупой травмой позади брони, в отечественных источниках – заброневой локальной контузионной травмой. Закрытая травма этой этиологии может проявляться как в виде повреждений кожи и подкожной клетчатки с формированием кровоизлияний, так и в ушибах внутренних органов, сопровождающихся в тяжелых случаях разрывами печени и легких с развитием жизнеугрожающих осложнений – напряженного пневмоторакса, внутрибрюшного кровотечения и т.п. Показано, что конструкция современных бронежилетов позволяет эффективно противостоять их пробитию большинством пуль патронов современного стрелкового оружия, однако не может полностью нивелировать величину ударного импульса, переданного через броню на защищаемый объект. Выявлены различия в физических процессах формирования тыльной деформации, которые могут приводить как к прямой деформации бронежилета в случае «мягкой» брони на основе баллистических тканей, так и к деформации с разрушением в «жёсткой» броне, изготовленной из керамической композиции. С помощью высокоскоростной видеосъёмки процесса воздействия поражающего элемента на бронепанель были визуализированы во времени особенности динамики поведения защитной композиции. Проведена оценка основных амплитудно-временных параметров процесса формирования тыльной деформации (выпучины), соответствующего 2-му пику давления в желатиновых блоках и вызывающего локальный удар, характеризующий развитие в объекте защиты временной полости, непосредственно влияющей на степень тяжести именно заброневой локальной контузионной травмы. Доказано, что анализ характеристик последующего процесса движения самой бронеплиты, приводящего к действию на торс «распределённого» удара, позволяет оценить возможную силу удара всей бронепанели по объекту защиты и спрогнозировать его биологические последствия в виде заброневой тупой травмы.
Полный текст
Введение. Конструктивные решения, используемые в современных бронежилетах, позволяют не только эффективно противостоять их пробитию большинством пуль патронов современного стрелкового оружия, но и значительно рассредоточивать энергию, переданную боеприпасом броне для её разрушения и деформации, уменьшая тем самым величину импульса, действующего на защищаемый объект. Физические процессы формирования тыльной деформации могут иметь различную природу и приводить как к прямой деформации бронежилета в случае непробития тканевой («мягкой») брони, так и к деформации с разрушением в «жёсткой» броне (бронепанели) [9]. Однако в некоторых случаях у участка деформации бронематериала (чаще запреградного выступа) сохраняется достаточный потенциал для того, чтобы привести к повреждениям подлежащие ткани и органы груди, которые проявляются преимущественно симптомами закрытой травмы. Эти повреждения в зарубежной литературе принято называть тупой травмой позади брони (behind-armor blunt trauma – BABT), в отечественных источниках – заброневой локальной контузионной травмой (ЗЛКТ) [6].В докладе об испытаниях материалов бронежилетов армией Соединенных Штатов Америки (США) «Фаза II» [11] дается развернутая характеристика использования керамических материалов в бронежилете. «…Керамические материалы успешно использовались в средствах индивидуальной бронезащиты (СИБ) для того, чтобы максимально устранить действие поражающих факторов стрелкового оружия. Они предпочтительнее для СИБ ещё и потому, что они легче, чем более традиционная броня, сделанная из металлических сплавов. Свойства, которые способствуют эффективности керамической брони, включают её высокую твердость, низкую плотность, достаточную эластичность и необходимую прочность на сжатие. Однако как автономный (самостоятельный) элемент керамика не была бы особенно хороша из-за её низкой прочности при растяжении, лабильной реакции и высокой чувствительности даже к малым дефектам технологического происхождения, таким как поры и трещины. Следовательно, керамику целесообразно использовать в сочетании с другими материалами, такими как полимеры и металлы, для того чтобы сформировать многослойные составные объекты с целью обеспечения их высоких прочностных характеристик для предохранения груди человека от травмы».
Типичная керамическая бронепанель современного композитного бронежилета представляет собой плотный слой карбида бора или карбида кремния, поддерживаемый слоем полимера и/или металла, при этом снаружи она обертывается в плотнотканую баллистическую структуру (например, кевлар). Керамический слой разрушает поражающий элемент (пулю, осколок) и максимально рассеивает его кинетическую энергию. Слой полимерного состава и/или металлического сплава обеспечивает эластичность и герметичность, а также распределяет напряжения деформации от воздействия снаряда на большую область контакта [1].
В 1999 г. в Оксболе «Danish Army Combat School» под эгидой Североатлантического блока были проведены масштабные исследования заброневой травмы груди [12, 13]. В качестве подопытных животных были использованы свиньи. На испытание были представлены бронежилеты, стоящие на вооружении армий Дании, Франции, Соединенного Королевства и США. Так, датские и французские перспективные бронежилеты полностью исключали пробитие 7,62×51-мм пулями, в то время как бронежилеты Великобритании и США выдержали и более высокоэнергетические воздействия– 12,7-мм патроны снайперской винтовки. Всего было испытано три фрагмента защитной структуры бронежилета, конфигурации которых показаны на рисунке 1, каждый на группе из восьми свиней. Локализация воздействия находилась в правой боковой области грудной клетки животного в середине восьмого ребра. Приборное обеспечение включало измерение давления и ускорения грудной стенки, а также необходимые физиологические исследования [10] за полчаса до эвтаназии, что предусмотрено требованиями нормативно-правовых документов о порядке проведения экспериментальных работ с применением животных [3].
Рис. 1. Три фрагмента бронежилета (G1, G2, G3), используемые для испытаний по проверке гипотезы пиковой ударной нагрузки грудной клетки животных [12]
Данная серия испытаний была разработана для того, чтобы выяснить истинную причину заброневого ранения груди, отделив влияние первичного высокочастотного и краткосрочного пика давления ударной волны (УВ) от воздействия вторичного пикового давления перемещения (сжатия), предположительно вызванного деформацией тыльной поверхности бронежилета. Теоретически первый фрагмент брони (типичный бронежилет) при обстреле должен был вызывать воздействие в виде крутого первого пика давления и более пологого продолжительного второго пика давления перемещения (G1). Второй образец брони должен был иметь только второй пик давления(G2), а третий должен иметь только первый пик (G3).
Однако на практике характеристики заброневого воздействия оказались не совсем такими, как ожидалось. На рисунке 2 показано, что фрагмент брони G1 снизил второй пик, но также снизился и первый пик давления УВ. Фрагмент брони G2 значительно снижает как первый, так и второй пик давления, но по ходу испытаний не были получены результаты, в которых первый пик был бы меньше второго пика давления. Фрагмент брони G3, обеспечивающий воздействие на объект защиты только первого пика УВ и потребовавший решения сложной инженерной задачи по обеспечению необходимой жесткости (бесконечной ригидности), значительно ограничивал только результирующую деформацию тыльной поверхности.
Рис. 2. Средние значения первого и второго пикового давления для каждого из трёх фрагментов брони G1, G2, G3 [12]
Все участвовавшие в испытании животные получили ранения, однако нормировать последние оказалось достаточно трудно. Типичный критерий травмы, используемый при автомобильной травме согласно сокращенной шкале травм (Abbreviated Injury ScaleAIS), не оказался достаточно конкретным, чтобы чётко разграничить ранения в каждой серии опытов, проведенных в Оксболе. Испытуемые животные имели травмы 2–3 уровней по AIS [2], однако методика измерения посмертной массы лёгких животных, используемой И.Е. Жуковым [5] и J.C. Sarron, C. Destombe [12], оказалась более точной мерой определения степени тяжести ранений для данных экспериментов.
Таким образом, результаты поведённых испытаний в Оксболе показали более высокую летальность для большинства исследованных групп животных из-за наличия серьёзных травм грудной клетки и лёгких по причине жесткой керамической брони, имеющей поверхностную плотность 24 кг/м2даже при наличии подушки из пены (амбушюра). Хотя записи давления и ускорения были неполными, достоверно установлено, что величина первого пика давления в тканях объекта защиты превышала 30 МПа при длительности фазы от 0,3 до 0,4 мс.
Цель исследования. Изучить механизмы развития заброневой травмы груди человека, защищённого бронежилетом, при его непробитии с использованием современных исследовательских технологий.
Материалы и методы. Для выяснения механизма формирования заброневой травмы при непробитии керамической брони нами проведён следующий эксперимент. Производился обстрел подвешенной на резиновых стропах керамической панели (грудной секции) из 7,62-мм снайперской винтовки Драгунова (СВД) патроном с легкой пулей со стальным сердечником (ЛПС) со скоростью контакта около 828 м/с. Съёмка процесса воздействия поражающего элемента (ПЭ) на бронепанель была реализована с помощью комплекса высокоскоростной видеосъёмки «Phantom Miсro M310» фирмы «Amеtеk» (США). Обработка видеоматериалов осуществлялась c использованием прикладного программного обеспечения Phantom Camera Control v. 2.5 [4].
Результаты и их обсуждение. Установлено, что нарастание запреградного выступа (тыльной деформации) до максимального значения происходит за 0,5 мс, а спад выступа – за 1,3 мс (рис. 3). В целом на процесс удара запреградного выступа по объекту защиты может быть затрачено не более 2 мс. При этом следует ожидать, что пиковое значение давления в объекте защиты будет иметь продолжительность фазы сжатия от 0,3 до 0,4 мс.
Рис. 3. Фрагменты видеосъёмки нарастания и убывания запреградного выступа (деформации) в бронепанели
Последующее за «ударом выступа» перемещение всей керамической бронепанели в пространстве в направлении удара наблюдалось в период времени от 2 до 22 мс от момента удара пули по бронепанели (рис. 4).
Рис. 4. Перемещение керамической бронепанели в направлении удара после убывания запреградного выступа, при выстреле из СВД
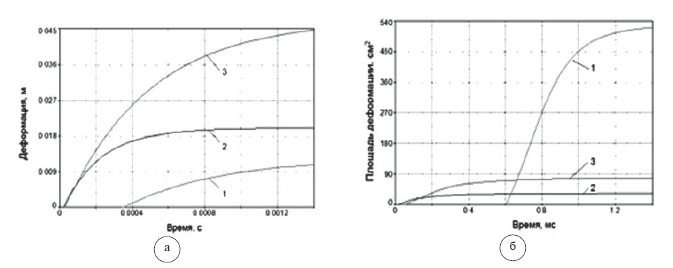
Формируемый запреградный выступ (рис. 5) при непробитии керамической бронепанели (кривая 1) ПЭ боеприпаса имеет при относительно небольшой высоте большую площадь поверхности по сравнению как с тканевой бронёй, усиленной стальной вставкой (кривая 2), так и с арамиднокомпозитным бронематериалом (кривая 3).
Рис. 5. Параметры формирования запреградного выступа во времени: а – кривые деформации; б – кривые площади деформации. 1 – нарастание запреградного выступа при непробитии керамической бронепанели; 2 – нарастание запреградного выступа при непробитии бронешлема, усиленного стальной пластиной, выстрел из 9-мм пистолета Макарова (ПМ) в лоб; 3 – нарастание запреградного выступа при непробитии арамиднокомпозитного бронешлема, выстрел из ПМ в лоб
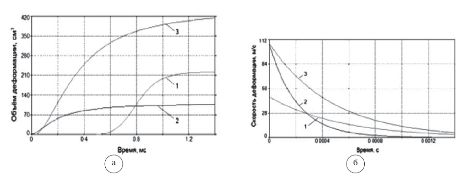
Кроме того, формируемый запреградный выступ (рис. 6) при непробитии керамической бронепанели (кривая 1) имеет относительно невысокую скорость и меньшее промежуточное значение объёма, чем образуемый в арамиднокомпозитном бронешлеме (кривая3), но большее значение, чем в тканевом бронешлеме, усиленном стальной пластиной (кривая 2).
Рис. 6. Параметры формирования запреградного выступа во времени: а – кривые объёма; б – кривые скорости деформации. 1 – нарастание запреградного выступа при непробитии керамической бронепанели; 2 – нарастание запреградного выступа при непробитии бронешлема, усиленного стальной пластиной, выстрел из ПМ в лоб; 3 – нарастание запреградного выступа при непробитии арамиднокомпозитного бронешлема, выстрел из ПМ в лоб
Скорость перемещения керамической бронепанели в направлении удара при выстреле из СВД изменялась в пределах от 1,25 до 2,25 м/с (рис. 7). В свою очередь расчётное ускорение торможения будет изменяться в пределах от 40 до 20 м/с2. Зная массу керамической бронепанели, несложно рассчитать возможную силу удара бронепанели по объекту защиты при отсутствии амортизационного подпора.
Рис. 7. Перемещение и скорость керамической бронепанели в направлении выстрела из СВД при условии её непробития
Для сравнения полученных нами результатов приведем данные, представленные в работе В.И. Байдака [1], посвященной регистрации параметров удара в желатиновых блоках, защищённых фрагментом бронежилета 2 класса защиты, при выстрелах по нему из ПМ. Для изучения образующихся волн давления проводилось исследование на имитаторах мягких тканей– 20% желатиновых блоках размерами 20×20×28 см, на фронтальной поверхности которых устанавливалось30 слоев баллистической ткани на основе арамидных волокон. Ударная скорость пули 9-мм патрона ПМ составляла 315–319 м/с. Сферические пьезоэлектрические преобразователи давления устанавливались на расстояниях от 4 до 10 см.
Показано, что в момент удара пули о бронежилет в подлежащих мягких тканях возникают два пика ударного давления: Р1, имеющий ударно-волновуюприроду, и Р2, имеющий гидродинамическую природу. Для первого пика характерна большая максимальнаяамплитуда – 7288 кПа, практически мгновенное (~4 мкс) нарастание давления и чрезвычайно малая продолжительность во времени, составляющая 0,05–0,2 мс. По данным М.В. Тюрина [8], В.П. Панова [7], в это время развития временной полости (вмятины) в подлежащих мягких тканях еще не происходит.
Практически сразу же после затухания первого пика имеет место развитие второго импульса ударного давления. Последний импульс более низкочастотный с существенно меньшей амплитудой (798 кПа) и более длительный (15 мс и более). Характер развития второго пика давления зависит от вида применяемого бронежилета и от величины энергии пули в момент соударения с преградой. В случае контакта пули с тканевым бронежилетом развитие этого низкочастотного импульса ударного давления начинается практически сразу же после высокочастотного и имеет длительность до 10 мс при расстоянии 4 см. При ударе пули в бронежилет с титановыми или керамическими бронепанелями развитие второй фазы кривой давления запаздывает на 5–6 мс. Снижение скорости пули и, соответственно, энергии ударного взаимодействия ее с бронежилетом приводит к увеличению этой задержки ещё на 3–4 мс.
Заключение. Эксперимент по изучению механизма формирования заброневой локальной контузионной травмы при непробитии керамической брони, проведённый с помощью высокоскоростной видеосъёмки воздействия ПЭ на бронепанель, позволил визуализировать во времени особенности динамики поведения защитной композиции. Оценены амплитудно-временные параметры процесса формирования тыльной деформации (выпучины), соответствующего2-му пику давления в желатиновых блоках и вызывающего локальный удар, характеризующий развитие в объекте защиты временной полости, непосредственно влияющей на степень тяжести ЗЛКТ. Кроме того, анализ последующего процесса движения самой бронеплиты, приводящего к «распределённому» удару по торсу, позволяет оценить возможную силу удара бронепанели по объекту защиты при отсутствии амортизационного подпора.
Об авторах
А. В. Денисов
Военно-медицинская академия им. С.М. Кирова
Автор, ответственный за переписку.
Email: vmeda-nio@mil.ru
Россия, Санкт-Петербург
С. Г. Цуриков
5-й Испытательный центр войсковой части 09703
Email: vmeda-nio@mil.ru
Россия, Санкт-Петербург
А. А. Котосов
Филиал Военной академии материально-технического обеспечения
Email: vmeda-nio@mil.ru
Россия, Пенза
И. Е. Жуков
5-й Испытательный центр войсковой части 09703
Email: vmeda-nio@mil.ru
Россия, Санкт-Петербург
К. Н. Демченко
Военно-медицинская академия им. С.М. Кирова
Email: vmeda-nio@mil.ru
Россия, Санкт-Петербург
И. И. Сабонис
Военно-медицинская академия им. С.М. Кирова
Email: vmeda-nio@mil.ru
Россия, Санкт-Петербург
Список литературы
- Байдак, В.И. Концептуальные основы создания средств индивидуальной защиты. Ч. 1. Бронежилеты / В.И. Байдак [и др.]. – М.: Межакад. издание «Вооружение. Политика. Конверсия», 2003. – С. 180–218.
- Грачёв, И.И. Разработка стенда для оценки контузионной травмы головы при непробитии общевойскового шлема/ И.И. Грачёв, А.А. Котосов [и др.]. – П.: Изд-во ПАИИ, 2013. – 306 с.
- Директива 2010/63/EU Европейского парламента и совета Европейского союза по охране животных, используемых в научных целях. – СПб.: Rus-LASA «НП объединение специалистов по работе с лабораторными животными», рабочая группа по переводам и изданию тематической литературы, 2012. – 12 с.
- Ж уков, И.Е. Использование высокоскоростной видеорегистрации для оценки параметров тыльной деформации при непробитии шлема поражающим элементом / И.Е. Жуков, А.А. Котосов, А.В. Миляев // Сб. докл. XIV междунар. науч. конф. «Новейшие тенденции в области конструирования и применения баллистических материалов и средств защиты». – Ялта, 2015. – С. 20–24.
- Жуков, И.Е. Об использовании модели Т. Лобделла в инженерных расчётах / И.Е. Жуков [и др.] // Вопросы оборонной техники. – 2015. – Серия 16, вып. 3–4. – С. 72–78.
- Озерецковский, Л.Б. Раневая баллистика: история и современное состояние огнестрельного оружия и средств индивидуальной бронезащиты / Л.Б. Озерецковский, Е.К. Гуманенко, В.В. Бояринцев. – СПб.: Калашников, 2006.– С. 209–217.
- Панов, В.П. Оптимизация конструкции бронежилета для обеспечения безопасности личного состава: дис. … канд. мед. наук. / В.П. Панов. – СПб., 2001. – 127 с.
- Тюрин, М.В. Морфофункциональная характеристика тупой травмы грудной клетки, защищенной бронежилетом: дис.… канд. мед. наук / М.В. Тюрин. – Л., 1987. – 146 с.
- ATC (U.S. Army Aberdeen Test Center). 2008. Test operations procedure (TOP) 10-2-210: Ballistic testing of hard body armor using clay backing. Aberdeen Proving Ground, Md.: Aberdeen Test Center.
- Mayorga, M. Thoracic Response to Undefeated Body Armor/ M. Mayorga [et. al.] // 1 Neuilly-sur-Seine. «North Atlantic treaty organization, research and technology organisation». – France, 2010. – Р.
- NRC (National Research Council). Phase II report on review of the testing of body armor materials for use by the U.S. Army. – Washington, D.C.: National Academies Press, 2010. – Р.
- Sarron, J.C. Physiological results of NATO BABT experiments / J.C. Sarron [et. al.] // Personal Armour Systems Symposium.– Colchester, U.K., 2000. – Р.
- Sarron, J.C. Displacements of thoracic wall after 7.62 non penetrating impact / J.C. Sarron [et al.] // Presentation to the NATO BABT Task Group. – Copenhagen, Sarron, 2001. – Р.
Дополнительные файлы








